заявка
№ US 0001395394
МПК B24B53/07

Страна
US
Как управлять
интеллектуальной собственностью
Чертежи 
2
Реферат

Формула изобретения

Letters Patent, is: 35 1. In meebanism for truing and dressing grinding wheels, the combination of a grinding wheel, means for rotatinz said grinding wheel, a normally quiescent rotary abrading pencil positioned with its axis of rotation ,10 presented toward said grinding wheel, me,,tns for causing reciprocation bet een "v said grinding wheel and said rotary abracling pencil, and a, fly-wheel for said rotary ,ibrading pencil, said rotary abradiin-g pe n45 cil and s,,tid fly-wheel rotated solely by said ,crrinding wheeli - 2. In mechanism for truing and dressing grindinu wheels, the combina@tion, with a (rl.indin; w@.eel, a normally quiescent rol@,ary positioning saia 50 ,ibi@ading pencil, means for i-otary abrading pencil with its end coactin (y -%@, , ith saidigi-inding wheel, rfieans for reei5rocating said griiiding wbeel to poss beyond said rotary abradin- pencil and where,5 5 by to rotate said norma]71@ quiescent rotary abrading pencil solely by contact of the i-ot,,iting grinding wheel with said rotar@ abrading pencil, and a fly-wheel for said rotary abrading pencil a.rranged to maintain 60 effective rotation of said rotary abrading I)encil between the times of cessation and reiiewal of rot,,tting force applied to said rotai,y abrading pencil by said grinding Nyheel. ob 3. In inechanism for truing and - dressing g rindirig -%vheels, the co -mbinatiop., With a g rinding wheel, of a rotiry tbrading plrt p resented with its axis of rot,,ttion toward t he grinding surface, of said grinding wheel, s aid rotary abrading part being norii-ially 7 0 q tiieseent, and a fly-wheel acting on said rot ary abrading part to maintain. its rotation, s ai(-l rotary a'brading part an.c@,said fly-wheel r otated so'lely by the grinding surface being tr ea@ted, 7 6 4. in mechanism for triiing and'dressilig g rindiiag wlieels, the combin,,ttiop with a g rinding Nvheel, of i rotary abrading pencil of harder aiid coarser texture than the textu re of the grii-iding ivheel being treated, s o m eans for present-n- said i@otai-y al)rading p encil with its axis of .-ot,,ition tc)wird said g rinding surf,,ice for end-coi-it,,ct between th e elid of stid rotary -,brac'[,-n(- pencil at o ne side of its ixis of rotation a-,id sai(i grindin g surface, and a fly--,@,heel for said rotary a brading pencil to m,-intaiii a-tic-t equ,@ilize r ota'Lion thc-,reof. 5. In meel-ianism for 'Lriiing ancl dressing grinding ivheels, the c()mbiriation, -.,-vitli a SC grindinii-liecl, of a rota,i,.IT abi@adiiig - ,,)encil i)rovide@ ivi-tli aii ax-,,,II '-bore, meiiis ior presenting the end of sa-id rotary ,ibi,tding pencil at one side of said bore '@lo t,q-e grinclinstirface of lzlie -rindiiig wheel, anct ,t fly- gt ivgeel for said'rot,'try abradiiig said rotary abr,,iding pene,il aiid saici flI.T-wlaeel being D-ormally quiescent and tet@-,tec-, solely by said grindihg surface. 6. in mechaiiism for truinv and dressing loe@ grinding-vvlieels, the combixiatioiil, wi'-h a grinding wl.ieei, 6f a rotary abm, dip.g p,-neil, a sha'Lt't-lherefor, a caslng. a be,,iring i)r said shaft in said casinff and a fli7--wlieel in said t7l I d casing on said shaft, said fly-whee't having i ct rim received abotit said beariiig. T. In mechanism f or truing aiid 'ressing grinding -wheels, 'che combination of a grinding ivl-ieel, a tail-center, a norrD-,@illy aii;eseent rot,-, ry abrading pencil, f, fly-- wlieel therefor, and means for adjtistiiig s,-,id rotary abrading pencil and said fly-wheel about 't,-I-ic- axis of said tail-center and axially to-wprd and fr om said grinding wheel, said rotary a brading pencil and said fly-",heel rotated il g s olely by said grinclin(y ivhe@i, S. In mechaltism for triiiiig ,tnd dressing g rinding wheels, the combinatioli of a grind@ng wheel, a normally quiescent rot-,ti,y abrqdin u pencil, a fly-wheel tl-ierefor, ar@d means 1 20 fo ; positioning said rotary abrlding pencil w ith its axis of rotatiori at an Icute angle to a plane perpendicular to the Ixis of rota tion of said grinding@ wheel, said rotary a bradng pencil and said fly-whee@-@ rotated 1 26 s olely by said grinding v,,heel. 9. In mechanism for truing and dressing g rinding wheels, the combination of a grindin g wheel, a tail-center, ,t normally quiescent rotary abrading pencil, a fly-wheel 130

1,395,394 therefor, means for positioning said rotary abrading pencil with its axis of rotation at an acute angle to a plane perpendicular to to the axis of rotation. of said grinding wheel, and means for adjustin(-y said rotary abrading perreil and said fly-w&el about tlie axis of said tail-center and axially to@vai-d and f rorn sdid grinding wheel, said rotary abrading pencil and said fly-wheel rotated io solely by said grinding wheel. 10. In mechanism for truing and dressing grinding wheels, the combination of ,t casin comprising a barrel, a shaft in said a rotary abrading pericil secured to 15 said shaft and located beyond the end of said barrel, a-flywheel on said shaft, and an inclosure about said fly-wheel. 11. In mechanism for truing and @dressiiig grinding wheels, the combination of a casing 20 comprising An elongated barrel, a shaft therein, a rotary abradingpen@il secured to said shaft and located within the cylindr-ical projection of said barrel, a clamp-bearing arranged to be, clamped about s-.iid barrel 25 in various positions lengthwise of said barrel, attaching means for said clamping means, and a connection between said attachino- means and said clamp-bearing locating the axis of said clamp-bearing at an angle to said at-taching means. 30 12. In mechanism for truing and dressing grinding wlieels, the combination 6f a cascomprisin(-r an elongated'barrel, a shqft Ing tilerein a rot@ry abi-ading pencil secured to said shaft and located within the cylindrical 35 projection 6f s,,tid barrel, a clamp-beai-in(Y arrancred to be clamped about said barrel in various positions len--thwise of said birrel, an attac ng clamp for said clamping means, and twisted connection betw@-en 40 said clamp and said clamp-bearing locatiilg the axis of said clamp-bearing at an aiigle to said clampIn testimony whereof, I have hereunto signed. my name in the presence of two sub-, 45 scribing witnesses. EDWARD R. CONNERS. In presence ofJ. E. AfoLoNFY, C. J. HECKEIRT.

Описание

[1]

.U,SN, T,E, D@ S "6"'A T E S P A@, 7 E N 0 F F I C E. B. COITIT-ERS, 0-.@l, CINCINNATI, OEEIC,: ASSIGNOR TO THE TR'UING MACHINE AND TDOL,COMPAITR, 01' CUTOiNNAT--r, OHIO,, A 07- O.Me, NEURANISY- FOR TRUING AND DRESS114G Gr..rNDINC4- WHEELIZ;. 3 E@D r,, 3 9 ZL' Specificittion of Letters Paten". Pateuted Application:aled OctobeT 7,1920. To a'il qvaom it may o&ncem,, Be it known that 1, EDwAm-) R. CONNU,.Ps, a citizen of the United St,@)te-., re'siding iit Cincinnati iii,the county of -TIamilton ftnd State o'c 6hio, have invented certain new ancl usefulImprovements in Mechaiaism -for Truing and Dressinp-, @Grinding-Wheels, of which the followirig is a specific@ition. M7 inventi6n relates to mechanism.for 10 wheels, such as -ri, ,iding or pol.- or polishing is on grindin'g. usual means ereto re eirployed in tru15 ing and dressing operations has been a diaMond tool,- compris,.ng a diamond made to contact the arindin surface of the grinding 9 wheel, but diamonds have bl-come v@ry scarce and very expensive. 20 . It is the objqct of my invention to provicle means to disp@nse with the use of amonds for these p-Lirposes. My pr6sent inver@tion is an improveirien.t on the inventions shown, described and 25 claimed in my copeiiiiirig a,n licatiohs for T.Petter's Patent of the Ui L&Istates, Serial No. - 199,889, filed November 2, 1017, and Serial No. 366,970, filed March 18, 1920, both for devices for truing and drossing trinding 36 wheels, and is an elaboration of the invention shown, described and claimed in by copeiiding application f6r. patent on improvements in mechanism for truirg and dressing grinding wheels, Serial No. 415,402,. filed 35 October 7; 1920. It is the object of my present invention to. provide novol means comprisino@ a rotary abradi.-ag part- so positioned thacits axis of rotation is presented - toward the grinding 40 wh,-,el with which it coacts so as to be rotatively actuated by the grinding surface of the grinding wlieel, and- furtlier, to provide means 'uhe@efor -!or maint,,tining the --rotary ,fnovement imparted, thereto; futther, to p or 45 vide,-tiovel pe'sitioni@g means for a d6vice af tl)is chiractei@; ahd, fu-rther, toprovide an ,,ibr,Lding stub or p--ncil arranged for havini@ e'nd contact with ihe grinding su@face of the gi@indinc, -%viieel bei-ng trueet or d.ressed, 50 ind r-qea3lS @otated by said grinding surface for maiitaining rotation O' the rotary abradin@,r part. The i'rivent4@or@ will be fui-ther 7@,aadily ur.derstood from ti o followlr.'g descriptioii- ane,, claims, and frolw, the drawings, ir- wh@.c--q 55 latter: Figure i is a plan vi,3w o@ mv improved device'applied,to a grindiiic, mi@hire havin g a reciprocating carriage !or the gTi@-idin g wheel. 6 0 Fig. 2 is an end vew cf thp same, pal-tly b roli:en away for bett'er illus@ratio-n of parts. Fig. 3'is a plan view nay improveC,-' devi ce applied to a grin4ii-ri,-, inachine having a reciprocating carriage for the work. 6 5 Fig. 4 is an end view of the same, p,,trtly b roken away. Fig. .5 is an enlai,oe(i pl -aii vie-4i, of my imp roved- device sbow@'i in ec)iinection -v-,,ith a - grinding wheel to be trued or dressecl, the 7 C , la tter partly brokc-.n awa37. Fig. 6 is a perspective vie-t.7 of my im. - p roved dei7ice, showir2g the same mourtecl fo r truing and dressing a gri.-Iding wheel, p artly brokeii, a%vay, and pprtly in cross7 1. sectioii o-@i the Iiiie 6-6 o-r' T@'ig. anc'L, l@ig. 7 is n axial see@-' a ion oi -Lny improved device 'Laken on the line @-7 o L Fig. 6, ana showing the device in positiori- o'L use. My invention is applicable 'o machines 80 e niploying a grindii@g, wheel car@iage, or .1 k carriage, and in other relations than w o th a@ ,herein particu'arly shown and des cribed, for instance, in a relat-jloii in conneeti on with, a machine of the character shown 8 5 a nd described ir@ my 9@foreslid ec@p@endina appl ication, Serial No. 415,402, i'iled October 7, 1920. A machine eniploying a gi-indin.g wheel c arria(re is one in,-v7iiieh the grinding 7ei,-el9 0 is caused to have movements in reverse aireeti ons,along the work being ground, and a m aebini3 employing a work carriage is one in w hi@h the worl@: is caused to nave movem ents in reverse directions length-,vise of the 9 5 a xis of rotation oT- the grinding wheel. M@ invention is exemplified as appli-d to a machine of 'Lhe for-riier.type in Figs..,@, anC@, 2, and to a machine of the latter type in Fi gs. 3 ancl 4. 1 00

[2]

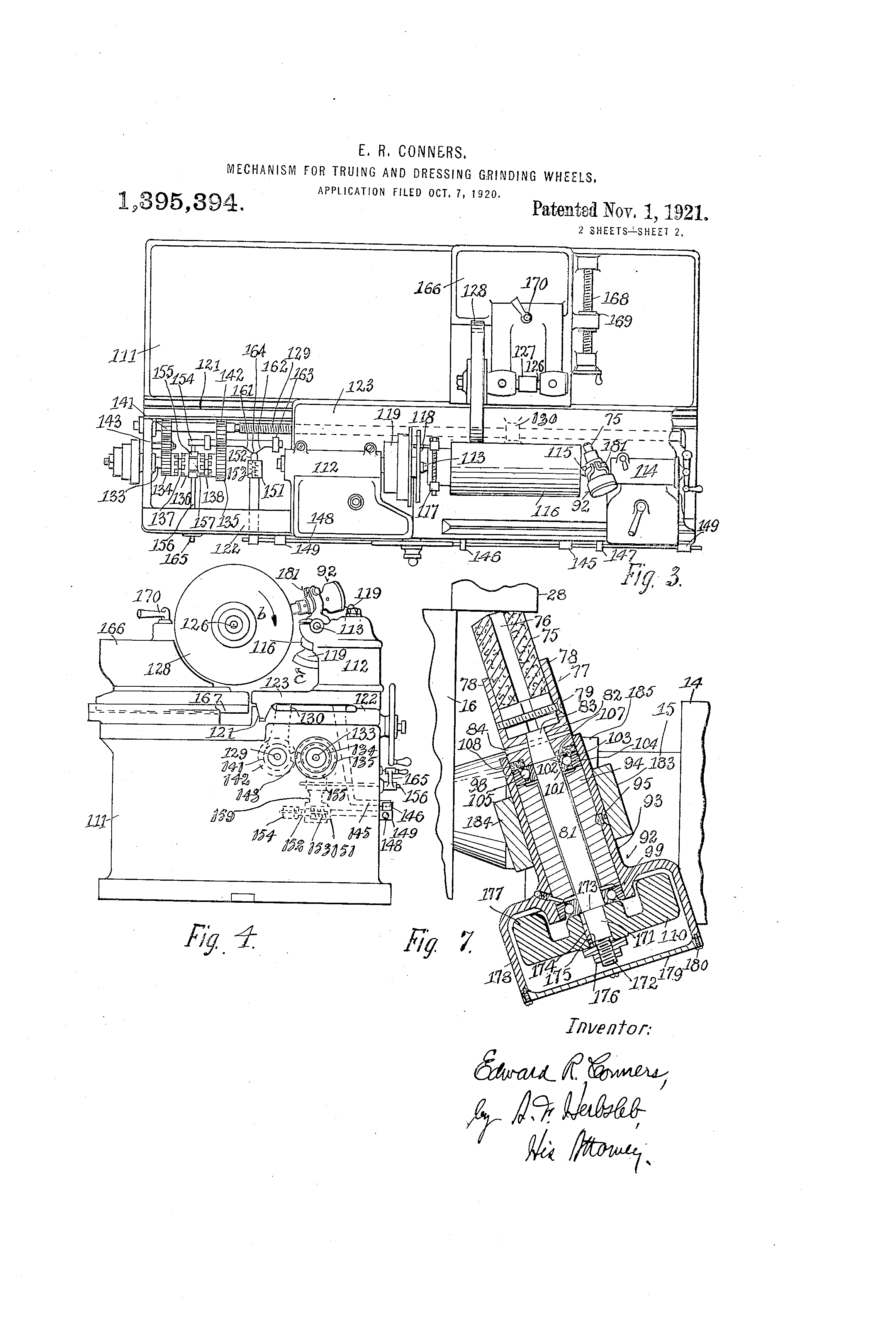
Refei-rii,ig to- Figs. I and 2, 11 represents the machii-ie fraiiie, and has thereon a headstock 12 comprising a h6ad-center 13, and a tail-stock 14 coinprisir.Lg ' a tail-center 1-5, 9, suitable wellknown mcaiis being provided for causing approach and recession betweeii the head-stock and tail-stock according to the lengtli of - work, and for moviiig the tailcenter aicially for suppoi-tir@k - @lhe piece of -wo'rk. The work is represented a ' s a heavy shaft 16 between said centers. Suitable means are provided for clamping the work to the head-spindle on which the @ead-center is loca'u-ed, as by a. clam- p 1'( eztending from I the f ace-plate I 8, fas't-I oii the liead-spindle. The heaa-spindle is rotatbd by a s itable I 9 @i belt passing about ,t, scep pulley, i:ast on the head-spindle. The fra@ic-, has guidevie@ys 21, 22, thereon, 26 alo-Lig which - carriao;e 23 is ,trraiiged to slide leng'6hwise of the Frses of the head snd tail spindles. The carriqg@e has thereon a shaft 26 -arranged to be suitabll,7 driven, as b3@ a, belt reec--Lved about a,, pulley 27 iost oii 2- E- said sha'it, the shail'6 siso haviii@ releasably cloi, . riped thereon, a grindiiig wheel 28 which during tho gri,-iding operatiop- @-,aoves with the ca@riage, the periphery of tiie griilding wheel in the presc-nt insti@nce coactiiig wiih-, ;@lie surface of the rotatinp-, vork for grincling or polishiiig the latter. Suitable means - .r@-, provided for the ipovemeiit of the car@.iage lei@Kbwise of the work, exemplified ag 29, journ,,iled in suitcomprislinn@ a screw-i able bearings on the frame and having threaded connection ,,vi-th the carriage by zneans of a --o.ut 30 fast on tl-ie carriage. The screw-rod is arrq@ngedtr, be rota,ted in opposite directions by a shaft 33 having gf-,ars 34,35, normally loose thereoii, a ciutchcollar 36 having suit,,tble spliiic -an - key connectioti -with said sh,,tft. The clutch-collar is located between said gears, the 8aid gears and said clutch-collar having thecoac4u-ing teeth of clutches 371 38, thereon. Gears 41, 42, are fixed to sgid screw-rod. The gear 35 meshe,- with the gear 42. -'I'he gear 34 meshes with an intermedi-ate' -gear 43, which -in turyt meshes with the gear 41. ba Wlieii the clu'uch 37 is in engageinent, the screw-rod rotates in one direction, and -when the clutel-i 38: i-s in engagement, the screwrod rotates in the opposite direction, whereby the carriage is arrange-d to be moved 55 lengthwise of tli@e work-support in opposite directions. Means are provided @-or automatically reversiiig the movemer,.t of the' carripge, accomplished, for instaiiee, by providin'g a 60 carriage with a tappet-lu- 45 arranged to enga,o;e tappets 46; 47, resl@(etively adjustably sectired to a tappet-bar 48, slidi@ble in bearings 49 on the frame. The ad4ustments niay be made by reaching -uhi,ou,gh the front of 65 the machine-f rame, wiiieh may b-a opeii. A socket-piece 51 is on the tappet-bar and has a finger 52 extending therefrom. The finger is pressed outwardly by a spring 53 in the socket of the socket-piece against a, slidebar 54. 70 A f-ork 55 is fixed to a rock-shaft 56. aiid is received in an 'aniiular gi-cove 57 in tl-le clutch"collar 36. The slide-bar isaxticulated with 9@, 59 of the fork 55. The sli.de-),,at is provided. wi'L@h oppositely in- 76 clined faces 61 and 62, with which the fingei- coacts to push the slide-b:ir loiigthwi e in its bearing 63, when the fivger is moved off the apex-face 64 of the slide-bar into engagement witl-,i eitli.er inclined face of the, 8o tappet-b,@tr, the spring pressiniz the fin er along the inclined face for i-mparting a tile quick end-wise m-ovement to slide-bar and a quick engagement a-qd disengagement of the respective clutche@@,@. 85 7@T'hen the carriagei moves the tappet-bar in one di-rection, 'b-he clutch 27 -,,Vill be-come disengaged q@nd the clutch 38 engaged, -whereas, v7hen the tappet7bar moves in the opposite d;.rectioii, a@ L-everse relati-OR in @the clutches go -will take place. Stoppage of movement of the carriage is iccomplished by means of a hand-!ever 65 fast on the rock-shaft 56, by means 6f -,,-i@,hich @.he clutch-collar is positioned ior disengaoing both clutches, in 95 which relatibn thE) -nger 52 rests on t'h.- flattened ap;.ex of the slide-bar. It is @necessary in or er t obtain contind 0 uously true, accurate and desirable gi@inding, that the gtindi'ng wheel be mai-ntained in 100 proper griiidiil-g cond;.tio'n, that is to say, true and -hard. The grinding.wheol m,,ty in c@oui-se of- opei@,9,tiol'i become out of true, 'Chat is to say, its periphery or grinding@ sur.face will for instar,,ee De longei@ be a perfect cyl- 105 inder, when stich form is employed, or -',h-, grinding surface may in whole or in part become -oolished or substantially inactive for grindino@ by having it@s cavities filled -@vith the Tnaterial being grouiid, for init',ance, 110 metal, or witb- refus6 or airt, or having the graifis of the granular . griliding s-arface dulled, in eit@ , her or any of which cases it is necess-,iry to repair the grinding surface. o'L the grind.iiig wheel. 115 For accom.plishing this, or for continuously niaintaining the Prinding wheel in trued and dressed colidition, I provide a rotary ti,uing and dressing abrading part, prefei@ably of @ 4"exture much harder than the I'@20 texture oi' the'grinding wheel to be trued or dressed, qnd o@ a texture preferably coa,-Izer than the texture o-' said gririding *Iieel, aiid composed for instance of carboriindum. The said rotarv a'- rading part is exemplified 225 as . a rotary abrading stub or pencil, preferably provided 'With an axial bore, and so preseiited to the rotating grinding face, thl'@t ro.@ taiy.rnotion is imparted to -the abrading!@,t-ub or pencii, which latter is preferably ar-

[3]

ranged to make substantial encl conta.et with the o@rinding'surface, and is preferably present@d to-,Y'ard the abrading surf ace, so that its axis is at an anale at one side f a right angle to the axis @f rotation of tohe grinding -",Iieel, or to 'the vertical plane in which said i@iglit ar@gle is located. The movement between the contact or impin(ying portion of the rotary abradil@g 10 stub or I)encil and the grincling surface is preferably a swirling movement -at the line of contact, due for instance to the variations of distance al6ng said line of contact from the axis of rotation of the abrading pencil. i5 The motion between the contacting line of the ibrading pencil and the contactin@ line of -tlie ai-indi@ng surface is a differential motic,n, resulting in a wipin,g eitect of the abradinstub or penc;l upo'n the- grinding 20 stirface, for iv or draiving out the ipilig fri'lliding offal from the cavities or pores o-f the grinding surface, and acting, tliroughout a -portion of its contact-line, - on the g@ains of the Lyranular Lr rinding surface 25 witli a motion @everse to - tlie direction of g,rinding motion of the grindint surface iil)on the ivork, for sharpenino, t , e arains of the grinular grinding surface. I prefer th,,Lt the rotary abradin pencil 30 ,@liall have a bore coincident witli its axis o,f rotation so that the rotary abrading pencil at and adjacent to its axis of rotation shall be free. of contact witli the grindin(r @vheel. The rotary abrading pencil is 35 of comp,,Lratively small diameter with relation to the diameter of the grinding wlieel, and is arranged to make substantial end contact with stid arinding wheel in such inanner that this endcontact shall prefer40 ably be at one side oi-ily of said axis of rotation, whereby the end contact stirface of the rotary abradin- pencil is subst,tntially f i,usto-conical. I ftii-tlier provide means wliereby relative 45 mox,emeiit lengthwise of the axis of the grin(ling ivlieel takes place between the i-otary abr',tding stub or pencil tnd the .gl,ill(ling ivlieel dliring the ttuing or dressing operation, ind I preferably provide 50 ii)eans, wlileli may be employed if desired, wbereby the @grinding wlieel may be di-essed (iiiring the ,-@indin@ operation. I I)refer to provide means Nvhereb the r y g i-otary movement imparted to the ab adin 55 still) oi@ I)encil by the rotiiting grinding wlieel is niaintaidied effectively betnveen interv,tls of contact between the rotary ,tl)ra(lin(, stub or pejicil and the grinding ivlie(@l so tlitit, ivlien contact is aaaln made Z" 60 I)eti%@een said pencil and s,,tid wlieel after i iioi-tie,iit,iry cessation of stich contact, the i-ot,ition of the abi,a(linsttib oi@ pencil 1)(@ in-ith sufficient force iind speed to act effe(-tl%,ely withatruingandgrindingfunction 65 111)()ii the ,-i-in(lin(y wheel, and for again 8 rece iving additional rotation from the grinding wheel without interruption of the rotar y movement,of the'abrading stub or penc il. , Referring again to Figs. 1 and 2, means 70 are @ provided for adjustilig the distance betw een the grindino, wheel and the work, exe mplified as acco@aplished' b mounting the bearings of th'e shaft of t @e grinding ,vhe el on a slide 66 adjustable crosswise 75 of the carriage on guides 67, as by means of an a.djtisting screw 68, journaled to the carri age, and havinLD- threaded connection with the slide by m@ans of a nut 69 fixe(- to the slide. A clamp-bolt TO oecures tie 80 parts in a(Ijusted positions. E xemplifying my imp,roved device as applied to a grinding machine having a workcarri ,,ige, and referring'to Figs. 3 and 4, parts are shown similar to those in Figs. 85 1 and 2, -@vith the clifference that the work is mounted on a carriage so as- to move lengt liwise in opposite clirections with relation to the grinding wheel, which isstationarily locateu, but having adjustment to and go from the work by being mounted on a slide to mov e transversely to the direction of re r ocating moveriient of the work-carriage. cip in this exemplification the parts are design ated by reference nurhera.1s, similar to 95 the numerals applied to the parts in Figs. I and 2, @ut raised to the serips 100, the scre w having connection -with the workea ia ei for moving the work-cari@iage r r le tj@ ng w se of the axis of rotation of the ioo arinding -wheel, and the tappet-bar being @per@ted by the work-earriaoe. The rotary abradinp-, stub or peiicil, hereinaf ter called.% peneil, of my;improved device is designated by the numeral 75. Its bore is IL05 sliown at 76. The bore is preferably small compared -",ith the diameter of the pencil. The abrading pencil is shown releasably secured in t chtieli: 77, provided witli relatively compressible jaws 78, -,)ressed toward eacli 110 other by means of a se-rew 79 for clamping the abrading pencil bet-",een said ja-%vs. The chuck is fixed to a shaft 81, as by being rovided ivith a taper socket 82, the shaft Eaving a ttiper end 83 received in the socket, 115 a taper pin 84 passinf througli the walls of the socket and slia t to hold the parts securely together in centered relation. The sh,,ift is received in a casing 92, part of which is sho-,vn is it barrel 93. A bush- 120 ing 94 is located in the barrel, and is fixed tlierein by means of a set-scre-%v 95. Ballbearings 98, 99, are located It the respective ends of the biishin- these ball-bearings tl being combined ridial and end-thrust bear- 125 ir'gs aiid each comprising an innei, ring 101, having an annular ball-gi-ooN,e 102 therein, and an outer ring 103, liaving ,in outer endthrust roove 104. The latter rings are oppositef3,, disposed, and the construction is 130

[4]

such that end movements of the shaft are e inner rin gs a,re fixed to the prevented. Th shaft 81. Balls 105 @ire loc,,tted between the rings of the respective bearinus. The chuck has an inward annular exten:Sion 107, which bears against the inner ring of the ballbearing adjacefit to the rotary abrading pencil. An absorbent washer 108, for instance of felt, is located between the chuc@ io and the ball-bearing adjace'nt thereto. The shaft also carries a. fly.-wheel 110 secured thereto, as by means of providing the shaft with a reduced end 171, having a threaded end l't2. The fly-wheel has ,t cen15 tral hole throiigh which,tbe redticed ena of the shaft is received, the fly-wheel impinging the annular shotilder 173 on the shaft. A IKey 174 in the shaft is received in a slot 175 in the fly-wheel for holding the parts 20 against relative rotation. A nut 176 clamps the fly-7heel in place. The fly-wheel has a heavy rim 17T, whicii projects inwardly to surround the ball-bearing adjacent thereto, placidg said ball-bearing in the cup of said 25 fly-ivheel to place s-@iid ball-bearing in the line of radial stresses of said fly-wheel, to provide ease and smoothness of runnirio, of the rotary abradin- pencil. The fl@-' wheel maintains effective rotation of the ro30 tary abrading pencil between intervals of contact in the triiinor di-essing operltion. The barrel is provided with an enlarge, ment 178, forming i c-Lip received over the fly-wheel, a cover-plate 179, being p@efer 35 ably releasably secured to the cup as b @erews 180, in order to inclose the fly-whe in the cup and to f orm a closed cover or casing for,the fly-wheel, the shaft and its be,,Lrings, so as to hold the same free of 40 contact by the water 6r other lubricant which may be used in connection with the griirlding operation. The casing is secured relatively to the grinding wheel, as by providing a clamp 45 bear n 'y 181 received about the barrel, ,-L bolt 182 beina received throiigli ,i liole in one of the win-s 183 of s-,iid clampbearing and having threaded en ',@ement with the win(, 184 of s,,tid el-,imp-te' @ll ing, the clamp-bear50 ing surrounding. the b,,irrel and the bolt clamping tl-ie b,,irrel firmly in siid bearin Ir The clamp-bearina is provided with ,in affix-ing part 185, shown as a clatp abotit the tailcenter and comprising ,t jaw 186 hav6 5 ing @n inner recess 187, and an arm 188, iri whicli latter ,t set-screw 1.89 is tlireaded. The set-screw is arranged to impin@,e the tailcenter and clamp the tail-center between it and theconverging walls of the ja@iN,. 60 Tbei-e is a connection between the clampbeai-ina and the clamp for pi,esentin(r the clamp-bearing and conseqiient'.Iy the f),iri@el and ibra(ling pencil in angtilai- relition to the gi,inding stirface of the griiiding wheel 65 tn(I preferably at an angle to the -axis of rotation of the grind wheel at one side of a, right angle or i' tl e vertical plane in which said ri,@ht angle is located. This connection is shown as a twisted shank 190. The abrad-ing pencil may also be present- 70 ed toward the grinding wheel so. that its axis of rotation is radial to the grinding wheel, as shown in Figs. 2 and 4, or as a chord to the circle of the_ grindino, wheel. TI-ie position of the barrel in the- clamp! 75 bearing may also be adjusted lengthwise of the barrel, and the position of the barrel. pencil and clamp-bearino,, may be' adjusted about the axis of the tail-spindle, so that the abrading end of the ,ibradino@,pencil 80 will make contact with the grindiii(Y -wheel when presented with its axis of rot'@ation in a chord to the circle of the grindin-- wbeel, either. above or below said ra@@l-al line, These adjustriaents may further determine 85 the firmness of contact between the rotarv abriding pencil and the grinding -%vheel. ' Different degrees of fineness of truin(r or dressing are obtained by the. vlrious relations stated. A positioning of the rotary go abrading pencil so that its axis of rotation is proximate to a line' radial to the axis of i-otation of the ,rinding@ wheel and at right 4in(,Ylses to the latter ,ixis, will result in a . res ng of the grinding wheel witb a finer 95 surfa@e, whereas, if the rotary abradino, pencil is positioned with its @txis of rotation describing a ebord to the circle of the grindwheel or at ,in angle to the side of sai(I lng right an(,,Ie, or the vertical plane in -wbich 100 said rilylit angle is located, the grinding siir'face-will be trued or dressed with a coarser s urface, the degree of coarseness depending on the degree whi@h,- the axis 'of rotation of the abrading pencil departs 105 from a radial @osition. The grinding wheel is instanced as r6- tating in the, directio-n of the arrow b, the work as rotating in the direction of the arrow c, rotation being imparted to the abr,,id- 110 in(@ pencil by the orinding -wheel in the direction 6f the arrow a. The rotary abradin- pencil' is norm,,illy quiescent. The grind'l'ng wheel is preferibly reciprocated during the truing 0'r dress- 115 ing operation, so as to pass beyond the rotar3, ,tbr,,iding pencil; in eaeh direction of its reroc,(iting movement. The, movement of tie grinding surface of -the cri-inding wheel arid the contact therewith of the end of the 120 ,tbradino, I)encil, imparts rotation to the rotary ab@,,idincr pencil. The fly-wlieel niaintains this r@tation effectively betii-een the time the grinding wheel passe,-, be@yond the i,otary abi,adinu pencil and the tiine' that the 125 grindin(r wheel next malces contact witli siid pe'@n'cil, so tbat, when said contact is made, the i@otary al)rading I)encil is rotatin(t witli force for effective ti@iiin(r an(I (Iressing action on the grin(ling wheel, ftirtlier ro- 130

[5]

tative force being applied to the abrading pencil by such contact. The rotation,of the rotary abrading pencil is equalized and maintaided by the fly-wheel. The rotation of the rotary abrading pencil is also relidered@even or uniform by the fly-wheel. .A,lv improved device is such that a great saviiig in the -,vheel is accom 10 the grinding - Elislied by the abrading pencil drawin or 1-usbin- the foreigp, substances out o e recesses L@ or ppres in the, grinding sur with a sivirling motion, .tncl presentin 15 dei-ice to the al-indina ii-heel which el nates the danger of gouging into the grindin(r surface. A Aviping movement is imparted between @Lhe impinging surfaces of the abrading pen20 cil .@nd the arindin(y ",heel at the points L' of impingement, tliei-e beina a differential movement bet-@veen s,,iid contact surfaces at the poii-its of contact which acts efj'ectively to clean and sharpen the grinding glirface. 25 The ti@uin- and clressing functiops may if clesired take 1.)Iace during the grid-ding, as the -rindin@ -%vheel may be causecl to come iii contact with the abrading peiicil at each reciprocating movement of the grinding 30 wheel while performing its grinding T'Unetions. I'l-aving thus fully described my invention, wbat I claim as new, and desire to secure@ by

Как компенсировать расходы
на инновационную разработку
Похожие патенты