заявка
№ SU 989209
МПК F16H33/02

Рекуперативная гидравлическая передача и регулятор подачи гидромашины

Авторы:
БЕЛЮК СТАНИСЛАВ ПЕТРОВИЧ
Номер заявки
3263383
Дата подачи заявки
18.03.1981
Опубликовано
15.01.1983
Страна
SU
Как управлять
интеллектуальной собственностью
Чертежи 
3
Реферат

[3]

Формула изобретения

1

Изобретение относится к общему машиностроению, а именно к рекуперативным гидравлическим передачам транспортных средств и регуляторам подачи объемных гидромашин.

Известна рекуперативная гидравлическая передача, например самоходной машины, содержащая по меньшей мере две объемные гидромашины, вал первой из которых, имеющей связанные ю между собой регулирующий орган и регулятор подачи, кинематически связан с маховиком, а вал второй - с трансмиссией , а также распределители , сливную гидролинию, фильтр и радиатор, is причем гидромашины гидравлически сообщены собой через распределители Г 1 1.

Известен также регулятор подачи 20 гидромашины, имеющей регулирующий орган , содержащий корпус, в котором размещены золотник управления регулирующим органом гидромашины, подпружиненный двумя пружинами и связанный посредством одной из них через толкатель с копиром, плунжер, причем копир связан с регулирующим органом гидромашины зубчатой передачей , гидроцилиндр изменения подачи, жестко связанный с регулирующим органом , сообщен с золотником управления 2.

Недостатком известной передачи является сложность управления, что в целом, особенно в критических (аварийных ситуациях), снижает ее надежность и, следовательно, долговечность , а недостатками известного регулятора - конструктивная сложность и невозможность вывода подачи насоса в ноль, что снижает эффективность управления гидромашиной.

Цель изобретения - повышение надежности и долговечности передачи, а также повышение эффективности управления гидромашины.

Указанная цель достигается тем, что в рекуперативной гидравлической передаче, например самоходноймашины , содержащей по меньшей мере две объемные гидромашины, вал первой из которых, имеющей связанные между собой регулирующий орган и регулятор подачи, кинематически связан с маховиком , а вал второй - с трансмиссией , а также распределители, сливную гидролинию, фильтр и радиатор, примем гидромашины гидравлически сообщены между собой через распределители , вторая гидромашина также снабжена регулирующим органом и свяэанными с ним регулятором подачи,гидромашины соединены между собой по замкнутому контуру через распределители , ветви замкнутого контура соединены между собой через распределители , вал второй гидромашины соединен с трансмиссией через дополнительно установленную реверсивную механичес кую передачу, а оба регулятора подачи каждой гидромашины связаны с ветвями замкнутого контура через следящий клапан.

Кроме того, в каждой ветви замкнутого контура установлено по два распределителя , жестко связанных между собой, причем каждый распределитель выполнен двухпозиционным и гидроуправляемым , входы и выходы каждого распределителя соединены между собой через дополнительно установленный термоуправляемый дроссель, а фильтр и радиатор подключены через pacпpeдeлиteли к ветвям замкнутого контура.

А регулятор подачи машины снабжен автономным источником питания, моментным гидромотором, двумя жестко связанными между собой трехпозиционными распределителями, копир выполнен с двойным профилем и жестко связан с ротором моментного гидромотора , статор которого размещен в секторе копира, причем моментный гидромотор подключен к автономному источнику питания и сливной гидролинии через первый трехпозиционный распределитель, а гидроцилиндр подключен к золотнику управления через второй трехпозиционный распределитель .

Кроме того, регулятор снабжен гйдроцилиндром Нулевой подачи, соединенным с регулирующим органом ги

Ромашины и подключенным через дополнительный двухпозиционный клапан к автономному источнику питания и сливной гидролинии.

Указанный регулятор подачи может быть использован как в гидропередачах замкнутого типа, так и в гидропередачах разомкнутого типа с различными типами объемных гидромашин.

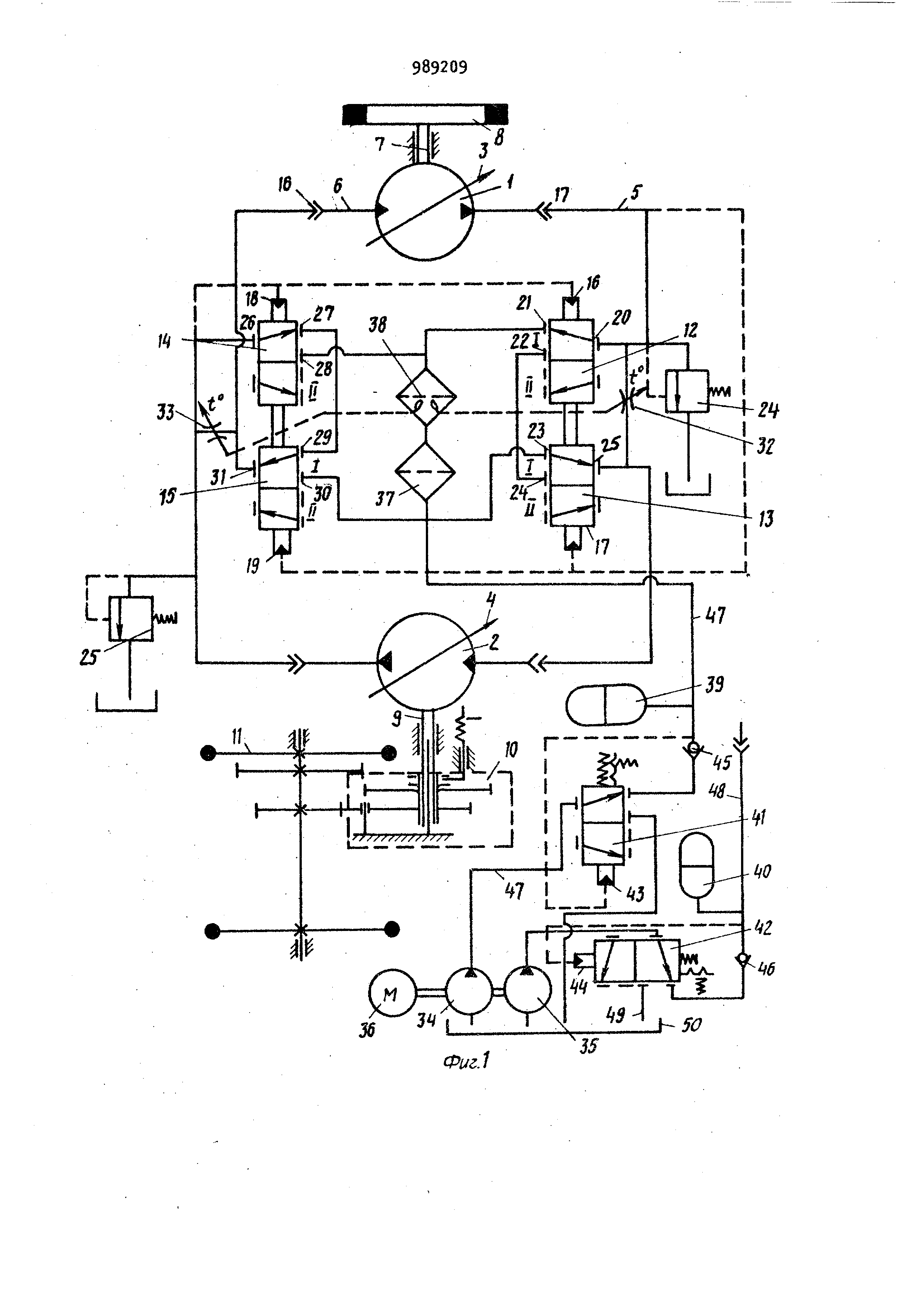
На фиг. 1 приведена схема предложенной передачи; на фиг. 2 - принципиальная схема регулятора подачи; на фиг. 3 конструкция механизма копира; на фиг. 4 - разрез А-А на

фиг. 3.

Рекуперативная гидравлическая передача и регулятор подачи гидромашины содержит гидромашину 1 и 2 с регуляторами 3 и подачи, связанные между собой ветвями 5 и 6 замкнутого контура. Вал 7 гидромашины 1 жестко связан с маховиком 8, а вал 9 гидромашины 2 соединен через реверсивную механическую передачу 10 с

трансмиссией 11 самоходной машины. В каждой ветви 5 и 6 замкнутого контура установлены по два двухпоз ционных распределителя .12-15, причем каждая пара распределителей 12, 13 и

I, 15 жестко связаны между собой. Распределители 12-15 имеют гидравлические полости 16-19 управления.

Распределитель 12 имеет вход 20 и выходы 21 и 22, распределитель 13

имеет входы 23, и выход 25, распределитель 14 имеет вход 2б и выходы 27 и 28, а распределитель 15 входы 29 и 30 и выход 31. Причем между входом 20 и выходом 25 распределителей 12 и 13 установлен термоуправляемый дроссель 32, а между входом 26 и выходом 31 - термоуправляемый дроссель 33.

Передача снабжена насосом З подпитки и автономным источником 35 питания (насосом) управления, соединен ными с приводным, двигателем,Зб радиатором 37, фильтром 38, гидроаккумуляторами 39 и 40, двухпозиционными клапанами 41 и 42 с полостями 43 и 44 управления, обратными клапанами 45 и 46. Насос 34 подпитки связан гидролинией 47 подпитки через двухпозиционный клапан 41, обратный

клапан 45 со входами 23 и 30 распределителей 13 и 15 и через радиатор 37, фильтр 38 с выходом 28 распределителя 14, входом 21 распределителя 12, причем к гидролинии 7 подпитки между обратным клапаном 5 и радиатором 37 подключен гидроаккумулятор 39.

Автономный источник 35 питания подает рабочую жидкость через гидролинию 8, двухпозиционный клапан Ц2 и обратный клапан б в гидролинию управления , к которой подключен гидроаккумулятор 0, в то же время истомник 35 питания двухпозиционный клапан k2 подключен через сливную гидролинию 19 к гидробаку 50, также через двухпозиционный клапан k к гидробаку 50 подключен насос 3 подпитки . Для предохранения передачи от перегрузок в ее ветви 5 и 6 установлены предохранительные клапаны 51 и 52 Каждый регулятор 3 и подачи гидромашин 1 и 2 подключен к ветвям 3 и 4 замкнутого контура передачи. На фиг. 2 схематично показано подключение регулятора 3 гидромашины 1 к ветвям 5 и 6 замкнутого контура через следящий клапан 53 с полостями 5 и 55 управления, причем эти полости подключены к ветвям 5 и 6 замкнутого контура. Выход 27 распределителя 1 подключен ко входу 29 распределителя 15, а выход 22 распределителя 12 подключен ко входу 2 распределителя 13. Каждый регулятор подачи, например регулятор 3 гидромашины 1, содержит корпус 56, в котором разме а ,ен золотник 57 управления регулирую щим органом 58 гидромашины 1, пружины 59 и 60, плунжер 61 и толкатель 62. Золотник 57 кинематически связан через толкатель 62 пружину 59, рычаг 63 толкатель б с копиром 65, имеющий сектор 66, причем копир 65 связан с регулирующим органом 58 гидромашины 1 зубчатой передачей 67. Копир 65 жестко связан с ротором 68 моментного гидромотора б9, статор 70 которого размещен в .секторе 66 копира 65.

Гидроцилиндр 71 изменения подачи кинематически связан с регулирующим органом 58 гидромашины 1, с которым также связан гидроцилиндр 72 нулевой подачи.

Золотник 57 управления кинематически связан через толкатель 73 пружины 60 рычаг 7 с тягой 75, которая связана с управляющим органом самоходной машины (не показан). Моментный гидромотор б9 подключен к автономному источнику 35 питания и сливной гидролинии через первый трехпозиционный распределитель 76, а гидроцилиндр 71 подключен к золотнику 57 через второй трехпозиционный распределитель 77t причем первый и второй распределители 76 и 77 жестко связаны между собой.

Гидроцилиндр 72 подключен через дополнительный двухпозиционный клапан 78 к гидролинии управления и сливной гидролинии 9. Золотник 57 регулятора 3 подключен через следящий клапан 53 к ветвям замкнутого контура и сливной гидролинии +9.

Рекуперативная гидравлическая передача работает следующим образом.

Приводной двигатель 36, вращая насосы 3 и 35, создает в замкнутом контуре и гидролинии 8 управления рабочее давление. При достижении заданного давления в гидролинии подпитки и в гидролинии , что обусловлено полной зарядкой гидроаккумулятороа 39 и kQ, насосы 3, 35 разрушаются через клапаны k} и Ц2 в гидробак 50, а необходимый уровень давления fe системе поддерживают гидроаккумуляторы 39 и lO.

Начальная зарядка махови ка 8 происходит при первом торможении самоходной машины.

Самоходная машина разгоняется до нужной скорости, одновременно включается реверсивная механическая передача 10 и приводится во вращение гидромашина 2, работающая в режиме нулевой подачи, причем в этом положении гидроцилиндр 72 нулевой подачи соединен через клапан 78 с гидробаком 50. В аналогичном положении находится регулятор 3 гидромашины 2, но гидромашина не вращается.

При включении режима торможения одновременно включаются дополнительный двухпозиционный клапан 78 и распределители 76 и 77 У гидромашины 2, и аналогичные элементы у гидромашины 3, что обеспечивает работу гидромашины 1 в насосном режиме, а гидромашины 3 - в моторном.

При этом раскручивается маховик 8, а регулирующие органы гидромашин 1 и 2 находятся в положении, обеспечивающем наибольший рабочий объем дл насоса и наибольшую скорость вращения для мотора. Давление, развиваемое гидромашиной 2 в ветви 6, передается через клапан 53 в золотник 57 управления регулятора 4, что обеспечивает удержание регулирующего органа гидромашины в положении, обеспечивающем наибольшую подачу, в то же время регулятор 3 гидромашины 1 обеспечивает удержание рабочего объема гидромашины 2 в наименьшем значении. В начальный момент работы энергия маховика равна нулю, а самоходной машины - максимальная. Поэтому давление , развиваемое гидромашиной 2, увеличивается , что обеспечивает при достижении его определенного значения сжатие пружин 59 золотника 57 регулятора 4 и через механическую связь, образованную рычагом 63, толкателем 6 и через копир б5 обеспечивает снижение рабочего объема тидромашйну 2. При этом регулятор 3 гидромашины 1 обеспечивает увеличение ее рабочего объема. По мере передачи энергии маховику 8 происходит Снижение давления в ветви 6, при этом регулятор k гидромашины 2 обеспечивает увеличение ее рабочего объема, а регулятор 3 гидромашины 1 обеспечивает снижение ее рабоче-зо го объема. Кинематическая энергия самоходной машины понижается, а энер гия маховика увеличивается. При снижении скорости машины до определенной величины рекуперативная передача отключается. При этом регуляторы 3 и гидромашин 1 и 2 выводят обе гидромашины в нулевую подачу. Процесс разгона самоходной машины аналогичен, за исключением того, что гидромашина 1 работает в насосном режиме, а гидромашина 2 - в моторном . Защита передачи от перегру .зок осуществляется предохранительными клапанами 51 и 52. Управляющий орган самоходной машины (не показан) позволяет задавать .необходимый режим эффективности торможения (разгона). Для этого управляющий орган через тягу 25 и рычаг 7 воздействует на пружину 60, которая передает усилие на золотник 57 управления и через толкатель 62 управляет предварительной затяжкой пру жины 59. Таким образом, более эффективное управление передачей при помощи регу лятора обеспечивает повышение надежнести предложенной рекуперативной гидравлической передачи самоходной машины. Формула изобретения 1. Рекуперативная гидравлическая передача, например самоходной машины , содержащая по меньшей мере две объемные гидромашины, вал первой из которых, имеющей связанные между собой регулирующий орган и регулятор подачи, кинематически связан с махоа вал второй - с трансмиссией, виком, а также распределители, сливную гидролинию , фильтр и радиатор, причем гидромашины гидравлически сообщены между собой через распределители. отличающаяся тем, что, с целью повышения надежности и долговечности , вторая гидромашина также снабжена регулирующим органом и связанным с ней регулятором подачи, гидРомашины соединены между собой по замкнутому контуру через распредели тели , ветви замкнутого контура роедкнены между собой через распределители , вал второй г идромашины соединен с трансмиссией через дополнительно установленную реверсивную механическую передачу, а оба регулятора подачи гидромашины связаны с ветвями замкнутого контура через следящий клапан. 2. Передача по п. 1, о т л и ч а ющ а я с я тем, что в каждой ветви замкнутого контура установлено по два распределителя, жестко связанных между собой, причем каждый распределитель выполнен двухпозиционным и гидроуправляемым, входы и выходы каждого распределителя соединены между собой через дополнительно установленный термоуправляемый дроссель, а фильтр и радиатор подключены через распределители к ветвям замкнутого контура. 3. Регулятор пбдачи гидромашины, имеющей регулирующий орган, содержащий корпус, в котором размещены золотник управления регулирующим органом гидромашины, подпружиненный двумя пружинами и связанный посредством одной из них через толкатель с копиром, гшунжер, причем копир связан с регулирующим органом гидромашины зубчатой передачей, гидроцилиндр изменения подачи, жестко связанный с регулирующим органом, сооб-щен с золотником управления, отличающийся тем, что, с целью повышения эффективности управления, он снабжен автономным источником питания , моментным гидромотором, двумя жестко связанными между собой трехпозиционными распределителями, копир Жёстко связан с ротором моментного . гидромотора, статор которого размещен в секторе копира, причем MOMeHtный гидромотор подключен к автономному источнику питания и сливной гидролинии через первый трехпозиционный распределитель, а гидроцилиндр подключен к золотнику, управления

через второй трехпозиционный распределитель .

. Регулятор по п. 3, о т л и чающийся тем, что он снабжен

гидроцилиндром нулевой подачи, сЬединенным с регулирующим органом гидромашины и подключенным через дополнительный двухпозиционный клапан к автономному источнику питания и к

сливной гидролннии.

Источники информации, принятые во внимание при экспертизе К Авторское свидетельство СССР 1Г 598782, кл. F 16 Н 33/02, 1976.

2. Авторское свидетельство СССР If 850917, кл. F Ok Ъ 9/08, 1979.

Л

/:

L.

Zf

.

4

та

V/ /X// /X x I

/wv/ xv//

rv Jf

I

0

I I

J.

LJS

C3

t.

Ю Г

5

-w

7 L.1

L ,-,.„., I - , .-..-, „„ „ t. л

r:r - j. 656 фцг,г

/|-/

Описание

[1]

(5) РЕКУПЕРАТИВНАЯ ГИДРАВЛИЧЕСКАЯ ПЕРЕДАЧА И РЕГУЛЯТОР ПОДАЧИ ГИДРОМАШИНЫ

[2]

Как компенсировать расходы
на инновационную разработку
Похожие патенты