заявка
№ SU 962410
МПК E01C19/34

Трамбовка

Авторы:
ВЛАСОВ ВЛАДИМИР НИКИФОРОВИЧ
Номер заявки
3249214
Дата подачи заявки
05.01.1981
Опубликовано
30.09.1982
Страна
SU
Как управлять
интеллектуальной собственностью
Чертежи 
4
Реферат

[2]

Формула изобретения

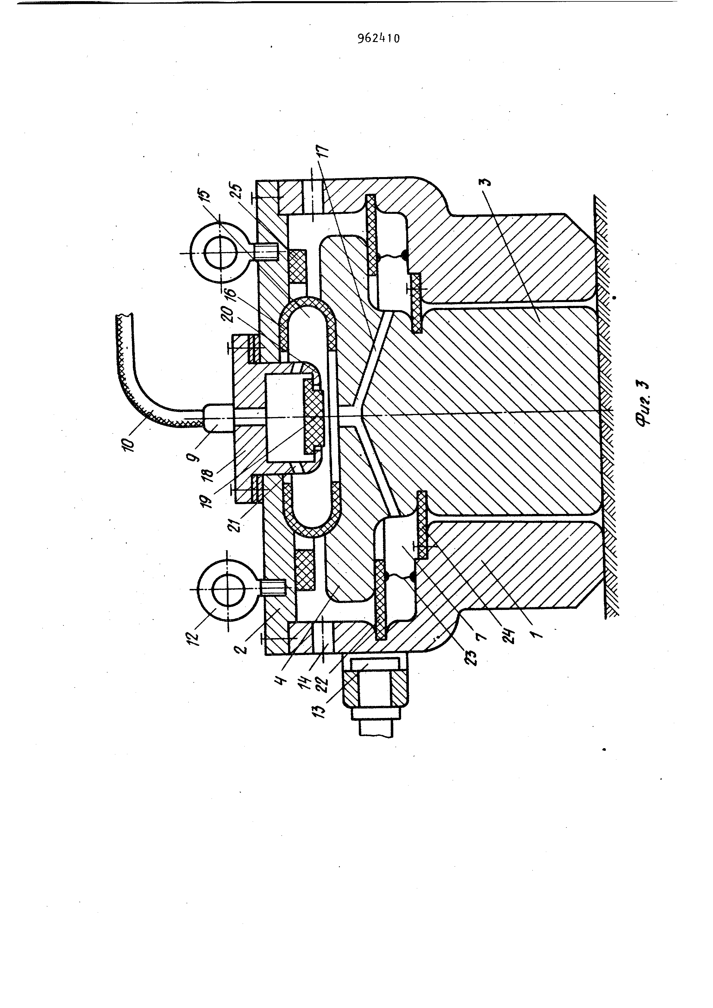
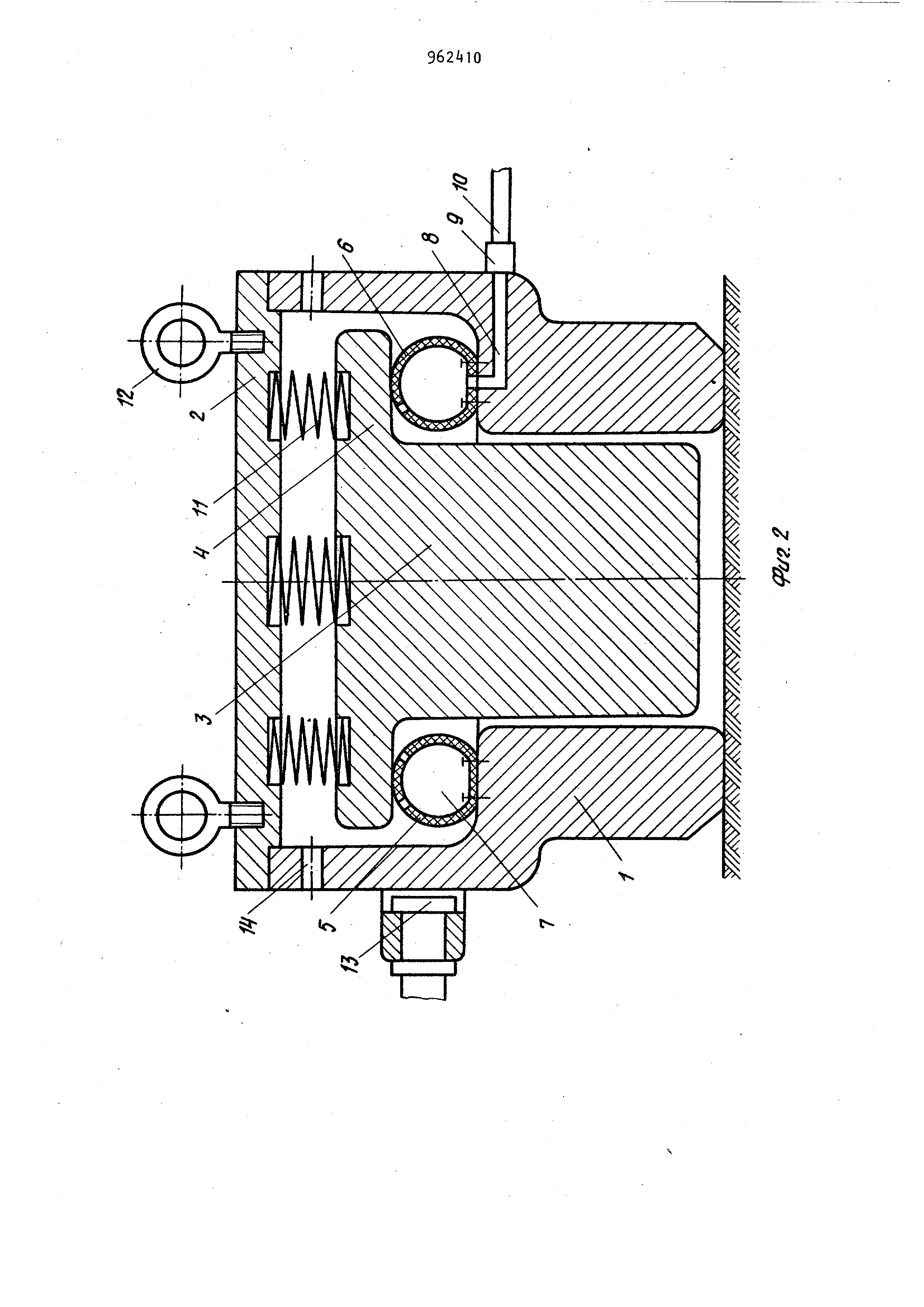
Изобретение относится к. строитель ным машинам и может быть использовано в качестве рабочего органа машин предназначенных для уплотнения грунта при возведении различных сооружений , при прокладке дорог, для уплотнения бетона и других материалов . Известно устройство для уплотнения грунта, включающее силовой ци линдр и трамбующий башмак, причем силовой цилиндр выполнен составным из секций, внутри одной из которых установлен поршень с возможностью перемещения, а трамбующий башмак пр креплен к торцу нижней секции f 1 . Недостатками такого устройства являются громоздкость конструкции, сложность изготовления,обусловленная необходимостью выдерживания прецизионной точности в размерах пневмопривода поршневого типа, а также невозможность создания такого типа машин, обладаюьцих достаточно большой ударной мощностью., Также .известна трамбовка для уплотнения грунта, включающая трамбующий башмак и рабочую пружину, размещенную между верхней-и нижней оправками , а также шток и привод с кривошипно-шатунным механизмом, на валу которого установлен дебаланс 2J. Известное устройство также обладает рядом недостатков, к числу которых следует отнести его работу в безударном режиме, при котором не обеспечивается достаточная глубина уплотнения обрабатываемой среды , а также сложность конструкции и, следовательно, недостаточная ее надежность. Наиболее близкой к предлагаемой является пневматическая ручная трамбовка , включащая рабочий орган, выполненный в виде двух концентрически расположенных ступенчатых ударных тел: наружного, имеющего полость, 3.. закрытую сверху крышкой, и внутрен него с верхним пояском, помещенного в этой полости, силовую камеру, сообщенную.через впускной клапан с источником энергоносителя, и возвра ную пружину t 3J. Недостатками указанного устройства являются его малая производительность и низкая эффективность; вызванная тем, что SKOHONMчески оправдано изготовление машин подобного типа только малых типоразмеров При увеличении размеров таких трамбовок с целью повышения их мощности и производительности, неизбежно воз никают значительные трудности, сопряженные с изготовлением пневмоцилиндра привода возвратно-поступательного движения значительных диаметров . При возросших ударных нагрузках выполненные с прецизионной точностью поверхности цилиндра и по ня будут интенсивно истираться и бы ро выйдут из строя, также как и сое динительные элементы ударных масс. Цель изобретения - повышение эффективности действия за счет увеличения ударной мощности и упрощение конструкции. Поставленная цель достигается тем, что в трамбовке, включающей ра бочий орган, выполненный в виде двух концентрически расположенных ступенчатых ударных тел: наружного, имеющего полость, закрытую сверху крышкой, и внутреннего с верхним пояском помещенного в этой полости силовую камеру, сообщенную через впускной клапан с источником энергоносителя , и возвратную пружину, последняя установлена между крышкой и верхним торцом внутреннего ударного тела, а силовая камера выполнена в виде кольцевой манжетыклапана , расположенного между внутненней ступенью наружного ударного тела и пояском внутреннего ударного тела. Возвратная пружина выполнена пневматической в виде упругой манжеты , размаценной между крышкой и верхним торцом внутреннего ударного тела, с образованием между ниг« камеры . Силовая камера и камера, образованная крышкой и верхним торцом внутре ннего ударного тела, сохэбщены между собой калиброванными кан лами , выполненными во внутреннем ударном тепе. 4 % -. На фиг. 1 показана трамбовка в начале рабочего цикла, вертикальный разрез5 на фиг. 2 - то же,.в положении выхлопа энергоносителя из силовой камеры, на фиг. 3 трамбовка с пружиной в начале рабочего цикла, вертикальный разрез на фиг, k то же, в положении выхлопа энергоносителя из силовой камеры. Устройство состоит из наружного ударного тела 1, в полости которого закрытой крышкой 2 помещено внутреннее ударное тело 3, выполненное с верхним пояском 4. Между пояском k и внутренней ступенью наружного ударного тела 1 помещена кольцевая эластичная манжета-клапан 5. имеющая ряды выхлопных отверстий 6, выполненная , например, тороидальной формы , полость которой представляет собой силовую камеру 7, сообщенную с источником энергоносителя, например сх атого воздуха, калиброванным каналом 8, выполненным в наружном ударном теле 1, через штуцер Э и шланг 10. Между крышкой 2 и верхним торцом внутреннего ударного тела 3 размещены возвратные пружины 11,а на самой крышке 2 укреплены ремболты 12, служащие для подъема устройства при переводе его в транспортное положение, перемещения трамбовки во время работы по уплотняемой среде предусмотрены водила , 13. Выхлоп энергоносителя при его выходе из силовой камеры 7 по отверстиям 6 осуществляется через выхлопные отверстия И, выполненные в стенках наружного тела 1, а также через зазор между ним и внутренним ударным телом 3. Для еще большего увеличения ударной мощности в качестве возвратной , пружины может быть использована пнев матическая камера 15 (фиг, 3 и 4) , образованная упругой манжетой 16, помещенной между крышкой 2 и верхним торцом внутреннего ударного тела 3, сообщенная калиброванными каналами 17, выполненными во внутреннем ударном теле 3, с силовой камерой 7 и имеющая активную рабочую площадь, меньшую, чем у силовой камеры 7. При таком конструктивном выполнении трамбовки для ее питания энергоносителем в крышке 2 установлена клапанная коробка 18, содержащая клапан 19, удерживаемз1й зацепным элементом 20 и взаимодействующий с седлом , выполненным на верхнем торце внутреннего ударного тела 3, а в сте ках клапанной коробки 18 выполнены перепускные отверстия 21. При этом силовая камера 7 образована с помощью плоской манжеты-клапана 22, имеющей ограничители 23 ее хода, и кольцевого уплотнительного элемента 2, вставленного по окружности во внутреннее ударное тело 3 и прикрепленное к внутренней ступени наружного ударного тела 1. Для предохранения крышки 2 от непосредственного контакта с верхним торцом внутреннего ударного тела 3 под ней укреплены амортизирукхчие элементы 25. В обоих описанных примерах конкретного выполнения предлагаемой трамбовки предусматривается, что мас сы наружного 1 и внутреннего 3 УДарных тел должны быть равными. Устройство работает следующим образом . Трамбовку, с помаиью водил 13 при цепленную к самоходному шасси, и под нятую с помощью подъемного устройства-крана , установленного на этом же шасси (не показано) за ремболты 12, перемещают на участок поверхности грунта (бетона и т.д.) и опускают на эту поверхность, после чего подсоединяют шланг 10. к штуцеру 9 и к источнику энергоносителя, например сжатого воздуха, и начинают подавать сжатый воздух в устройство, который по калиброванному каналу 8 (фиг. 1 и 2) поступает в силовую камеру 7. Под давлением сжатого воздуха , поступающего в силовую камеру 7 манжета-клапан 6 начинает изменять форму своего сечения: от элипса с го ризонтальной длинной осью - к форме круга, увеличиваясь в размере по ве тикальной оси. В результате наружно ударное тело 1 начинает ускоренно двигаться -вниз, сжимая пружины 11, и наносит удар по уплотняемой среде (грунту) своей боковой поверхностью В свою очередь внутреннее ударное тело 3 либо после совершения удара наружным ударным телом 1, либо до него, в зависимости от соотношения масс этих ударных тел, начинает под действием давления в силовой камере 7, преодолевая сопротивление воз вратных пружин 11, подниматься ввер до тех пор, пока не откроются вы лопные окна 6 в манжете-клапане 5 обработанный сжатый воздух не начнет выходить в атмосферу через выхлопные отверстия И или через кольцевой зазор между ударными телами. После разрядки силовой камеры 7 внутрённее ударное тело 3 начинает под действием своей массы, а также сжатых возвратных пружин 11 ускоренно двигаться вниз и к концу своего хода производит удар бойковой поверхностью по уплотняемой среде. При движении вниз внутреннее ударное тело 3 нижней поверхностью своего пояска Ц входит в контакт с манжетой-клапаном 5 и начинает сжимать ее, пока не перекроются выхлопные отверстия 6, силовая камера 7 вновь герметизируется и давление в ней повышается. При этом в начале цикла наружное ударное тело 1 под действием сжатых возвратных пружин начинает подниматься вверх до тех пор, пока давление в силовой камере 7 не начнет преодолевать упругость возвратных пружин 11 , после чего движение наружного ударного тела ; 1 вверх прекращается и оно под действием нарастакнцего давления в силовой камере 7 начинает ускоренно двигаться вниз. Цикл повторяется. Манк ета-клапан 5 может быть выполнена и другой конструктивной формы , например в виде плоского кольца 22(фиг. 3 и 4) с ограничителями 23ее хода ее уплотнительной части. Работа трамбовки при этом не изменяется . Для того, чтобы оба ударных тела 1 и 3 производили уплотнение обрабатываемо среды с равной удельной ударной нагрузкой, массы этих тел должны быть одинаковыми, также как и площади их бойковых поверхностей. Для увеличения ударной мощности возвратная пружина может быть выполнена пневматической, как показано на фиг. 3 и . В этом случае трамбовка работает аналогичным образом, только с той разницей, что сила воздействия пневматической пружины почти на всем пути расширения пневматической камеры 1i) изменяется незначительно , так как давление в камере 15 поддерживается почти постоянным. Для еще большего увеличения мощности в пневматической камере.может быть установлен клапан 19, например, в клапанной коробке 18 с зацепным элементом 20. В этом случае сжатый воз7 дух сначала поступает в клапанную к робку 18 и через перепускные отверстия 21 - в пневматическую камеру 15j откуда -по калиброванным каналам 17-8 силовую камеру. 7. Под да ствием создаваемого, в силовой камере 7 давления ударное тело 3 движет ся вверх, сжимая пневматическую камеру 15, но при этом давление в последней йе повышается, так как ежатый воздух из нее перетекает по каналам 17 в силовую камеру 7. При движении ударного тела 3 вве еще до начала выхлопа сжатого возду ха из силовой камеры 7, седло клапана , выполненное на верхней торцовой поверхности ударного тела 3, подходит к клапану 1У и впуск сжато го воздуха в силовую камеру 7-пре кращается. После этого уплотнительная кромка манжеты-клапана 22 в результате натяжения ограничителей 23 хода, отрывается от нижней поверхности пояска 4, силовая камера 7 разгерметизируется и сжатый воздух из нее выхлопывается в атмосферу через отверстия 1, Вследствие пере крытия каналов 17 клапаном 19 сжатый воздух из камеры 7 в момент вых па бесполезно не стравливается в ат мосферу, а давление в камере 15 не снижается. Последнее приводит к более энергичному движению ударного тела 3 вниз, а ударного тела 1 вверх , что и обуславливает увеличение энергии единичных ударов, их ча стоты и, следовательно, повышение м ности трамбовки. Для предохранения крышки 2 наруж ного ударного тела 1 от прямого уда ного воздействия верхнего торца внутреннего ударного тела 3 между ними помещены амортизирую1чие элементы 25, которые в период соударения сжимаются, накапливая энергию, и при обратном ходе ударных тел сообщают им эту энергию. Предлагаемое изобретение обеспечивает возможность оказывать воздей ствие на уплотняемую среду с высокой эффективностью за счет применения больших ударных импульсов, так как трамбовки могут быть различных типоразмеров. Высокая энергия ударов позволяет производить уплотнение грунта на большую глубину. Формула изобретения 1.Трамбовка, включающая рабочий орган, выполненный в виде двух концентрически расположенных ступенчатых ударных тел: наружного, имеющего полость, закрытую сверху крышкой, и внутненнего с верхним пояском, |помещенного в этой полости, силовую 1камеру, сообщенную через впускной |клапан с источником энергоносителя, и возвратную пружину, отличающаяся тем, что, с целью повышения эффективности действия за счет увеличения ударной мощности и упрощения конструкции, возвратная пружина установлена между крышкой и верхним торцом внутреннего ударного тела, а силовая камера выполнена в виде кольцевой манжеты-клапана, расположенного между внутренней степенью наружного ударного тела и пояском внутреннего ударного тела, 2.Трамбовка по п. 1, отличающаяся тем, что силовая камера и камера, образованная между крышкой и верхним торцом внутреннего ударного тела, сообщены между собой калиброванными каналами, выполненными во внутреннем ударном теле. 3.Трамбовка по пп, 1 и 2, о тл .и чающая ся тем, что она снабжена установленной на крышке клапанной коробкой, содержащей клапан с зацепным элементом и седлом, выполненным на верхнем торце внутреннего ударного тела. k. Трамбовка по пп. 1-3, отличающаяся тем, что наружное и внутреннее ударные тела выполнены с равной массой и имеют равные площади их бойковых поверхностей. Источники информации, принятые во внимание при экспертизе 1.Авторское свидетельство СССР № 48079, кл. Е 01 С 19/3, 1973. 2.Авторское свидетельство СССР № 277819 кя. Е 01 С 19/23, 1969. 3.Патент Германии № 488179, «л. 19 С 19/36, опублик. 1930.

N

й 1; й Х9 йг {5 ййййч ;з

.ff

Д7

17

tpae.V

Описание

[1]

(5) ТРАМБОВКА

Как компенсировать расходы
на инновационную разработку
Похожие патенты