заявка
№ SU 787139
МПК B22D17/22

Пресс-форма для изготовления моделей

Авторы:
ЛЕХОВИЦЕР ВИКТОР АЛЕКСАНДРОВИЧ МЕРКУЛОВ ВЯЧЕСЛАВ МИХАЙЛОВИЧ ШНИТМАН ЛЕВ ИСААКОВИЧ
Все (5)
Номер заявки
2648554
Дата подачи заявки
24.07.1978
Опубликовано
15.12.1980
Страна
SU
Как управлять
интеллектуальной собственностью
Чертежи 
2
Реферат

[10]

Формула изобретения

т

&ud Г noStfuyrrtff

50

Описание

[1]

I

[2]

Изобретение относится к литейному производству, а именно к прессформам для изготовления выплавляемых моделей отливок, и может быть использовано в промьшшенности для получения точных отливок сложной формы по выплавляемым моделям, например , отливки крупногабаритной тонкостной обечайки с полыми поднутренними фигурными приливами-фланцами, расположенными на боковой поверхности обечайки.

[3]

Известны пресс-формы с вьадвижными металлическими стержнями, расположен- ными параллельно или под углом к плос-: кости разъема пресс-фор 1Ы 1 .

[4]

Известные пресс-формы позволяют изготовить выплавляемые модели отлирок с отверстиями и .полостями различной формы, но без поднутрения полостей , препятствующего извлечению стержня из модели. В них также нельзя изготовить выплавляемую модель отливки тела вращения с близко расположенными друг к другу наклонными отверстиями или полостями, оси которых пересекаются между собой на незначительном удалении от поверхности модели (потому, что выступающие из модели элемент / стержней и стержневого механизма не размещаются в зоне перюсечения осей отверстий, наталкиваясь друг на друга).Кроме того, модели отливок, например обечаек, у- которых на наружной поверхности имеются приливы с поднутрением полостей , оси которых не параллельны направлению разъема пресс-формы, невозмЪжно изготовить в известных

[5]

10 пресс-фоЕ 1ах ( из-за невозможности извлечения модели из пресс-формы без поломки поверхностей приливов).

[6]

Необходимо иметь отдельные пресс15 и для изготовления звеньев модели в виде гладких секторов и для изготовления звеньев модели в виде отдельных приливов различной формы, что увеличивает потребное количест20 во отдельных пресс-форм и затраты на их изготовление, а сборка составной модели из большого количества отдельных звеньев увеличивает трудо емкость получения модели и снижает

[7]

25 точность расположения поверхностей фигурных приливов на модели отливки (в связи с чем в отливке приходится предусматривать специальные припуски на приливах-фланцах для sut последующей обработки) .

[8]

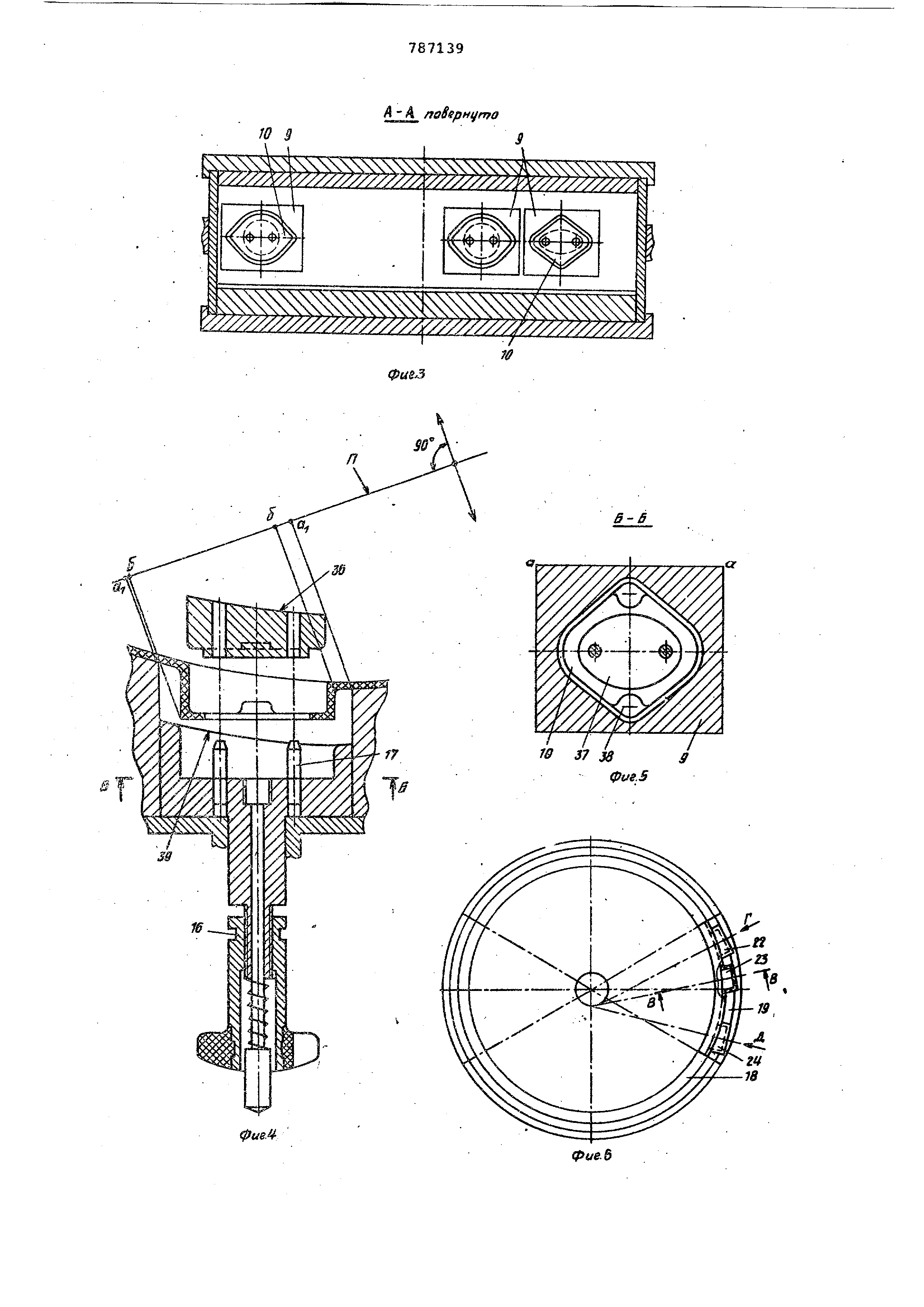
30 Известны также пресс-формы специально предназначенные для изготовления выплавляемых моделей отливок полых тел вращения с поднутрением полостей, содержащие полуформы-матрицы и составные стержни со стержневым механизмом. Стержневой механизм известной пресс-формы выполнен в виде двух фигурных конусных втулок с наклонными пазами, а составной стержень для поднутрений выполнен в виде вставок с прямыми и секторными лепестками, установленнымив пазах фигурных втулок. Фигурные втулки выполнены с возможностью аксиального перемещения относительно оси симметрии пресс-форгйы при замыкании полуформ в осевом направлении и своими наклонными пазами перемещают в радиальном направлении прямые и секторные лепестки составного стержня, формообразующего в модели отливки полость с поднутрением {J2. Однако известная ПЕ есс-форма не позволяет изготовить, модель отливки с поднутрением полостей, оси симметрии которых расположены под различными углами к направлению разъема пресс-формы, а тем более полостей с поднутрением в наклонных фигурных приливах, расположенных по окружности модели отдивки, например крупногабаритной тонкостенной обечайки. Целью изобретения является обеспе чение изготовления максимально укруп ненных звеньев составной выплавляемо модели отливки тела вращения сложной формы с поднутрением боковых полостеП , оси симметрии которых непараллельны направлению разъема пресс-форм например звена сектора модели отливк крупногабаритной тонкостенной -обечай ки с несколькими польвии с поднутрением фигурньэ и приливами на наружной поверхности сектора, которые располо жены как в непосредственной близости друг к другу, так и разнесены в окружном и осевом направлении, при этом оси, по крайней мере, двух приливов на секторе модели пересекаются или перекрещиваются между собой,т.е. цел изобретения - расширение номенклатур изготовленных моделей. Цель достигается тем, что в njjecc форме, содержащей две разъемные полу форМы, полость между цилиндрическими рабочими поверхностями которых форми pydT стенку модели, механизм замыкания полуфррм, составные стержни с ме ханизмом их перемещения, подкладную плиту и кролику с впрыскным отверстие составные стержни выполнены в виде внешней вставки-ползуна { с внутренней фигурной рабочей поверхностью), несущей соосно установленную в ней и выполненную съемной внутреннюю вставку (с наружной фигурной рабочей поверхностью), внешняя вставка-ползу размещена а направляющем пазе внешн е секторной полуформь подвижно в направлении оси фигурного прилива модели, формируемого полостью между вставками при замыкании внешней вставки через внутреннюю на гладкую рабочую поверхность внутренней секторной полуформы и замыкании полуформ в радиальном направлении по цилиндрическим , поверхностям разъема полуформ. Кроме того, поаеречные размеры вставки-ползуна выбраны из условия, чтобы проекция выходного сечения направляющего паза (т.е. проекция линии пересечения поверхностей паза с цилиндрической рабочей поверхностью внешней полуформы) на плоскость, перпендикулярную направлению разъема полуформ , перекрывала проекцию формообразуемого прилива на ту же плоскость. При этом криволинейная торцовая поверхность внешней вставки вокруг ее рабочей полости выполнена по радиусу рабочей цилиндрической поверхности внешней полуформы и располагается заподлицо с ней (при замыкании стержня и полуформ), а криволинейная торцовая поверхность внутренней вставки выполнена по радиусу рабочей Цилиндрической поверхности внутренней полуформы. Выполнение составных стержней в В5аде вставки-ползуна, несущей соосно ycтaнoвлeннsпo внутреннюю вставку, с возможностью мещения вставок в направлении оси прилива до упора в рабочую поверхность внутренней секторной полуформы при замыкании стержня и полуформ обеспечивает точность размеров и формы наружной и.внутренней поверхностей приллвов укрупненного сектора модели. Размещение вставок-ползунов в направляющих пазах внейшней секторной полуформы обеспечивает точность расположения приливов по дуге окружности укрупненного сектора модели и точность угла наклона осей приливов. Выполнение внутренней вставки съемной относительно внешней вставки-пЬлзуна и размещение ее внутри внешней вставки (без жесткой связи с внутренней полуформой).обеспечивает размещение внутренних вставок в-полостях наклонных приливов, расположенных в непосредственной близости друг к другу , а также обеспечивает разъем стержней (вставок) и извлечение внутренних вставок из поднутренных полостей наклонных приливов, разнесенных к краши укрупненного сектора модели. Выбор поперечного размера ка;хдой вставки-ползуна (поперечных размеров направляющего паза) из условия, чтобы проекция выходного сечения паза на плоскость, перпендикулярную направлению разъема полуформ, перекрывала проекций) формируемого прилива на ту же плоскость, обеспечивает разъем полуформ и извлечение укрупненногосектора модели из пресс-формы без повреждения наружных поверхностей и приливов, которые (в результате удаления мебта их расположения к краям сектора и наличия угла наклон оси приливов к направлению разъема пресс-формы и значительного вылета над наружной цилиндрической поверхностью сектора) формируются вставками глубоко внутри направляющих па зов. Выполнение торцовой поверхности внешней вставки по радиусу и заподл цо с внутренней рабочей поверхностью внешней полуформы обеспечивает точность стыка наружной поверхности мо дели вокруг прилива с остальной наружной поёерхностью модели даже при значительном увеличении поперечных размеров направляющего паза, а выполнение торцовой поверхности внутренней вставки по радиусу цилиндрической поверхности внутренней полуформы обеспечивает прилегание встав ки к полуфО5 е при залагкании стержня . Для упрощения конструкции прессформы поперечное сечение направляющих пазов выполнено в виде прямоугольника или окружности, выталкиватель съемной вставки размещен в поло штоке внешней вставки, а для соос- ной установки внутренней вставки внешняя вставка снабжена базирукнцимк элементами в виде двух установочных пальцев, жестко закрепленных на тор це ее внутренней поверхности. На фиг. 1 изображена пресс-форма вертикальный разрез; На фиг.2 - то я вид в плане на фиг.З - разрез А-А на фиг.2; на фиг.4 - пресс-форма, частичный горизонтальный разрез по оси составного стержня в разомкнутом положении и положение плоскости П, перпендикулярной направлению азъема пресс-формы; на фиг.5 - разрез Б-В на фиг.4; на фиг.6 - пример изго товляемого укрупненного сектора модели обечайки и схема составной моде ли (тонкими линиями), вид в плане; на фиг.7 - вертикальный разрез В-В на фиг.б; на фиг.8 - вид по стрелке Г- на фиг.6; на фиг.9 - вид по стрел ке Д на фиг.б. Пресс-форма состоит из внутренней секторной полуформы 1, снабженной боковыми планками 2, внешней секторной- полуформы 3 с механизмом замыкания полуформ в виде откидных болтов 4 и гаек 5, подкладной плиты 6, крыш ки 7 с впрыскньм отверстием 8 и сос1тавных стержней однотипной конструк ции , содержгицих внешнюю и внутреннюю фигурные вставки 9 и 10. Внешняя вставка. 9 с охватывающей фигурной рабочей поверхностью выполн на в виде ползуна и размещена в скво ном направляющем пазе 11 внешней полуформы , закрытым с внешней стороны краткой 12. Через отверстие крышки проходит полый шток вставки-ползуна с-подпружинеккьп выталкивателем 13 и гайкой 14. В прорези крышки установлен замок 15 в виде откидной серьги, входотдий в кольцевую канавку 16 гайкк. Внутренняя вставка выполнена съемной и свободно установлена на пальцах 17, закрепленных на внутреннем торце рабочей полости внешней вставки , а фигурная (охватываемая) рабочая поверхность внутренней вставки соосна рабочей поверхности внешней вставки. Составная вьаплавляемая модель 18 отливки крупногабаритного тонкостей |ного тела вращения сложной фЪрмы типй обечайки состоит, например, из шести отдельных укрупненных звеньев. Укрупнеккое звено модели представляет собой сектор 19 модели с соосными наружной и внутренней поверхностями вращения 20 и 21 {образующими тонкую стенку модели) с произвольным расположениеги не менее двух-трех полых с поднутрением фигурных .приливов-фланцев 22-24, оси которых не параллельны друг другу, т.е. пересекается или перекрещиваются между собой (фиг.6), Каждый прилив представляет собой . полый выступ с фигурными наружной и соосной с ней внутренними поверхностями 25 и 26 (ось которых являет- ся осью прилива). По торцу прилив закрыт дснышком-фланцем 27 с местными утолщениями 28 и центральным отверстие 29 (фиг. 7), например, в виде овала 30 (фиг.В) или окружности 31 (фиг.9). Полость внутри прилива открыта в направлении оси обечайки и прднутрена относительно отверстия 29 в донышке-фланце. Секторные полуформы снабжены цилиндрическими поясками 32 и 33, служащими поверхностями разъема полуформ в радиальном направлении/проходящем через середину дуги Сектора. Направлению разъема не параллельна ось, по крайней мере, одного стержня , а в конкретном примере - не параллельны оси всех стержней, Рабочие цилиндрические поверхности 34 и 35 полуформ при замыкании полуформ 3 радиальном направлении образуют полость, формирующую тонкую стенку сектора модели. Вставка-ползун, несущая внутреннюю вставку,, может перемещаться с помощью гайки по направляющему пазу вдоль оси фop a pyeмoгo прилива до упора торца 36 внутренней вставки в поверхность внутренней полуформы. В этом замкнутом положении стержня полость между фигурными рабочими поверхностями вставок формирует прилив сектора модели совместно с донышком 27, ч йотором выступ 37 на торце внутренней вставки прижатый к торцу внешней вставки формирует отверстие, а торцовые выемки 38 вставки формируют местные утолщения на донышке. Криволинейная торцовая рабочая поверхность 39 вставки-ползуна вокруг рабочей полости выполнена по радиусу рабочей поверхности внешней полуформы. Секторные полуформы 1 и 3 устанав лийают на подкладную плиту 6, замыкают в радиальном направлении с помо щью откидных болтов 4 и гаек 5 и накладывают крышку 7. -Поворотом гайки 14, удерживаемой замком 15, перемещают вставку 9 совместно со вставкой 10 по пазу 11 до упора поверхности вставки 10 и повер ность. 34 полуформы 1, т.е. замыкают на нее составной стержень. Также замыкают и остальные стержни. Через впрыскное отверстие 8 подае ся модельная масса в полость,образованную рабочими поверхностями 34 и 35 полуформ и боковыми планками 2 и сообщающиеся с ней -фигурные полости между вставками 9 и 10 составньк стер;:шей. После застывания модельной массы пресс-форму раскрывают: снимают с подкладной плиты 6, снимают крышку 7 и освобождают откидные болты 4,что .позволяет отделить внутреннюю полуформу 1. Затем с помощью гаек 14 перемещают вставки-ползуны 9 в исходное положение fза габариты приливов , при этом выталкиватель 13 сни мает внутреннюю вставку 10 с пальцев 17 и выталкивает ее из полости прилива. Так как поперечное сечение а-а вставки-ползуна выбрано из опре деленного условия, то проекция а выходного сечения направляющих пазов 11 на плоскость П, перпендикуляр ную направлению разъема полуформ, перекрывают проекции б-б соответству квдих приливов на ту же плоскость и изготовленный укрупненный сектор 19 модели свободно извлекается из внеш ней полуформы 3 (без повреждения по верхностей приливов). Возможность обеспечения из указа ного выше условия выбора поперечных размеров вставок-ползунов Jvifi наибо лее разнесенных в окружном направле нии приливов, имеющих значительный вылет, устанавливает пределы максиMaj® Hp возможному укрупнению отдель ных звеньев (количество которых при наиболее благоприятных условиях малый вылет приливов, малые- углы между осями приливов и направлением разъема пресс-фор ы или наличие благоприятных уклонов и т.д. - може быть уменьшено до двух, т.е. в прес форме изготовляют секторы модели с центральным углом 180 , котоЕ ае сты куются между собой в диаметральной плоскости). Поэтому в каждом конкретном случае количество отдельных укрупненных секторов модели, из которых собирается замкнутая составная модель отливки , может быть различным, но в 3-4 раза меньшем, чем при изготовлении составной модели из неукрупненных звеньев-секторов с одним приливом. Так как в общем случае геометрическая форма приливов и их мест располо .:сения .На секторах модели различны , то потребное количество секторных пресс-форм равно количеству укрупненных секторов модели, составляющих модель отливки, а при тождественности формы всех секторов достаточно иметь одну пресс-форму. На специальном сборочном приспособлении-кондукторе из изготовленных в пресс-формах укрупненных секторов модели собирается составная выплав-г ляемая модель отливки путем сочленения секторов по боковым (радиальным ) плоскостям стыка по известной технологии (пайко-проплавлением, склеиванием и т.д.). Полученную выплавляемую составную модель используйт для изготовл-ения отливки обечайки известными способами. Таким образом, предлагаемая конструкция пресс-формы с составными стержнями, состоящими из внешней вставки-ползуна, несущей съемную внутреннюю вставку, их размещение в наклонных пазах секторной полуфор .мы и выбор поперечного сечения паза из условия перекрытия проекции формообразуемого прилива на плоскость , перпендикулярную направлению разъема полуформ, обеспечивает разъем полуформ и составных стержней и извлечение укрупненного звена-сектора модели отливки тела вращения сложной формы. Изготовление укрупненных звеньевсекторов составной модели с несколькими полыми с поднутрением фигурными приливами-фла-нцами на секторе уменьшает суммарную трудоемкость изготовления звеньев модели и трудоемкость сборки составной модели (за счет соответствукядего уменьшения количества отдельных звеньев в.результате их укрупнений), а также уменьшает потребное количество пресс-форм для изготовления отдельных элементов модели (за счет их совместного изготовления в пресс-форме для укрупненного звена), чтоснижает затраты на изготовление оснастки и повышает точность взаимного расположения приливов-фланцев на укрупненном секторе модели. , Формула изобретения 1. Пресс-форма для изготовления моделей отливок с поднутрданием, содержащая две разъемные полуформы с механизмом их замыкания, составные стержни с механизмами их перемещения и вытaJ lкивaтeлями, о т л и ч а ю щ а я с я тем, что, с целью расширения номенклатуры изготовленнь х моделей, стержни или по крайней мере , один из них выполнен в виде внешней вставки с фигурной поверхно стью, несущей внутреннюю вставку с рабочей поверхностью и взаимодействующую с поверхностью внутренней луформы, размещен во внешней по пуформе с возможностью аксиального пе ремещения относительно оси формообразуемого стержнем прилива, при это полуфор ш выполнены в виде разъемны в радиальном направлении соосных се торов с цилиндрическими поверхностями разъема. 2. Пресс-фос 1а по п. 1, о т л и чающаяся тем, что внешняя вставка выполнена в виде ползуна с прямоугольным поперечным сечением и размещена в сквозном направлякнцем пазе полуформы, проекция выходного сечения которого на плоскость, перпендикулярную направлению разъема полуформ, перекрывает проекцию фигурной рабочей поверхности внешней вставки на ту же плоскость. - 3. Пресс-форма по п.1, о т л и чающаяся тем, что внешняя Lf вставка снабжена элементами базирования внутренней вставки, например, « в виде двух-установочных пальцев, жестко.закрепленных на торце охватывающей поверхности. 4.Пресс-форма по п.1, отличающаяся тем, что выталкиватель съемной внутренней вставки размещен в штоке внешней вставки, вьтолненного полым. 5.Пресс-форма поп.1, отличаю ,щаяся тем, что торцовая рабочая поверхность внешней вставки выполнена по радиусу, равному радиусу рабочей цилиндрической поверхности внешней полуфоралы, а расположена заподлицо с этой поверхностью в рабочем положении. 6.Пресс-форма По п.1, о т л и чающаяся тем,.что замыкающаяся на внутреннюю полуформу торцовая поверхность внутренней вставки выполнена по радиусу, равному радиусу рабочей цилиндрической поверхности внутренней полуформы, Источники информации, принятые во внимание при экспертизе 1.Авторское свидетельство СССР W 472749, кл. В 22 О 17/22, 1973. 2.Авторское свидетельство СССР fj 474395, кл. В 22 D 17/22, 1973.

[9]

Как компенсировать расходы
на инновационную разработку
Похожие патенты