заявка
№ SU 692765
МПК B65H29/00

Приемное устройство для листовой печатной машины

Авторы:
БОСАК ВЛАДИМИР ЕМЕЛЬЯНОВИЧ
Номер заявки
2309044
Дата подачи заявки
04.01.1976
Опубликовано
25.10.1979
Страна
SU
Как управлять
интеллектуальной собственностью
Чертежи 
2
Реферат

[4]

Формула изобретения

Описание

[1]

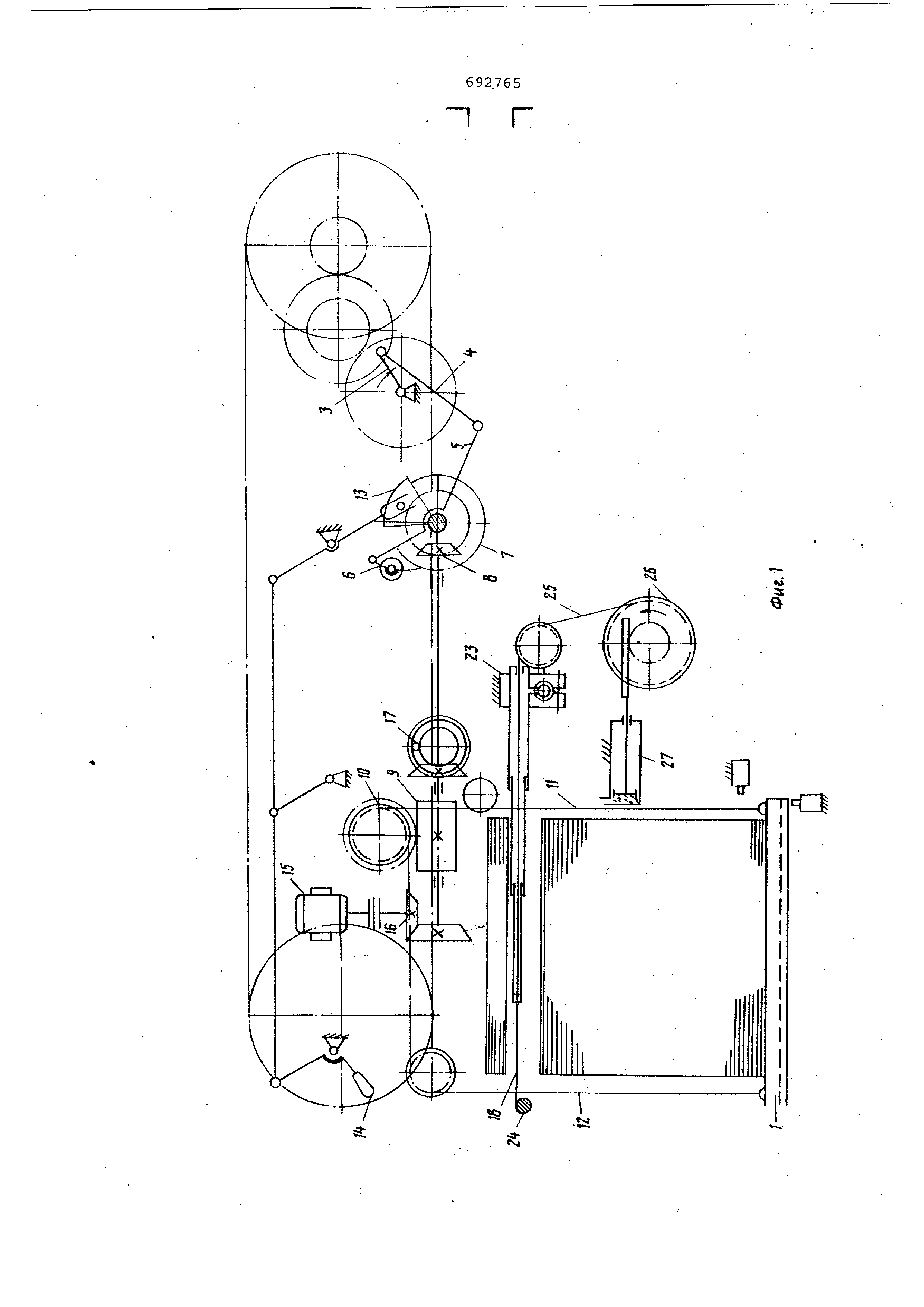
(54) ПРИЕМНОЕ УСТРОЙСТВО ДЛЯ ЛИСТОВОЙ ПЕЧАТНОЙ МАШИНЫ И регулируется поворотом горки 13, осуществляемой рукояткой 14. Для быстрого подъема или опускания основного стола 1 служит электр двигатель 15, связанный через коническую зубчатую передачу 16 с валом червяка 9. Ручной привод основного стола 1 осуществляется при помощи съемной смежной рукоятки 17 путем поворота через коническую передачу вала червяка 9. Вспомогательный стапельный стол выполнен в виде ряда телескопически трубок 18. Трубки 18 состоят из стальной основы 19 плотно уложенных и закрепленных на ней брусочков пос тила 20, изготавливаемых из легкого материала, например, пластмассы и стягивание в верхней части упругим элементом - тросиком 21, выполняющим функцию пружины. Регулировка необходимой силы натяжения тросика 21, обеспечивающей горизонтальное положение трубок 18 в период кх пер мещения, осуществляется винтом 22. В рабочем положении трубки 18 выдвинуты и опираются на заднюю 23 и переднюю 24 неподвижные опоры. Крайние трубки (или стержни) 18 сое динены гибкой связью 25 с механизмо их привода, который может быть механическим 26 или пневматическим 27 Перемещайся, назад каждая из трубок 18 своим заплечиками (на чертеже не изображены) захватывает предьщущую обеспечивая концентричное их размещение в исходном положении. На ведущем валу для каждого из стержней установлены диски 28, кото вместе с неподвижными направлягацими 29 обеспечивают точное позицировани передних концов трубок 18 на опору 24. Процесс снятия стапеля во время работы устройства осуществляется следующим образом. Основной стол 1 с запечатанным стапелем бумаги сначала несколько опускается, освобояодая место для i вспомогательного стола. Включение механизма опускания может быть осущ ствлено вручную или автоматическисамим столбм путем нажатия на коне ный, включатель. Затем через синхронизатор осуидествляется подача воздуха в герметичную полость телескопических трубок 18, в результате чего они по циклу вьщв|1гаются и устанавливают врабочее положение, образуя вспомогательный стол для выводных листов оттисков. После достижения трубками 18 необходимого крайнего положения подача сжатого воздуха автоматически прекращается . Затем производится удале--; ние стапеля отпечатанной бумагой со столом, установка нового стола и его ускоренный подъем в верхнее положение . Выключениемеханизма подъема стола осуществлется автоматически в тот момент, когда он своими планками 2 подойдет к стапелю. Телескопические трубки 18 разгружаются и, находясь в свободном состоянии/они не касаются ни бумаги, ни столаУ, При помощи включаемого пневмопривода 27 возвращаются в исходное положение , располагаясь концентрично одна в одной с задней стороны стапеля . В печатных машинах предлагаемое устройство способствует устранению потерь времени, связанных с- останов-кой машины при снятии стапеля отпечатанной бумаги, и исключает повреж- дение укладываемых листов. Формула изобретения Приемное устройство для листовой печатной машины, содержащее основной и вспомогательный столы с индивидуальными приводами, о т л и ч а ю щ е ё с.я тем, что, с целью повышения качества укладки листов в стапель путем исключения их смятия, основной стол имеет пазы, расположенные параллельно нап эавлению вывода листов, а вспомогательный стол образован рядом телескопических стержней и установлен в пазах основного стола, причем привод последнего электрически связан с приводом вспомогательного стола. Источники информации, принятые во внимание -при экспертизе 1. Патент ГДР № 65570, . кл. 15 D -28/09, 1972

[2]

692.765

[3]

- 1 Г

Как компенсировать расходы
на инновационную разработку
Похожие патенты