заявка
№ SU 593299
МПК H03F3/217

Двухтактный тиристорный усилитель мощности

Авторы:
СОКОЛОВ СТАНИСЛАВ АЛЕКСАНДРОВИЧ
Номер заявки
2082135
Дата подачи заявки
25.10.1974
Опубликовано
15.02.1978
Страна
SU
Как управлять
интеллектуальной собственностью
Чертежи 
3
Реферат

[2]

Формула изобретения

.1

Изобретение относится к радиотехнике и может испол1 зо йаться в радиотехнических устройствах различного назначения и, в частности, в усилителях следящих привопов.

Известен двухтактный тиристорный усилител, мошностИв содержащий два выходных симистора соединенных последовательно относительно источника переменого напряжения и управляемых от источника противсзфазных сигналов, а также сигналь сые тиристорные оптроны, при этом место соединения выходных симисторов является выходом усилителя l.

Опнако, известшлй усилитель мощност из-за высоких значений сквозных токов обладает низкими КПД и надежкостью.

Мель изобретения - увеличение КПД за счет снижения сквозных токов.

Для этого каждый выход источника противог})аа(1ых сигналов подключен к управляюпюму входу выходного симистора ссютветствующехчз плеча через последовдтельнб соединенные оптически управ-

ляемый вентиль, управляющий светоднод, сигнальный и запрещающий тиристорные оптроны, в каждом плече параллельно выходиомусимистору включен датчик контроля, выход которого соединен с управляющим входом запрещающего тирнсторного оптро1Ш прот юопапожного плеча, при этом коммутационный вход каждо1х оптически управляемого вентиля связан с упргшляю- щим светодиодом противоположного плочй.

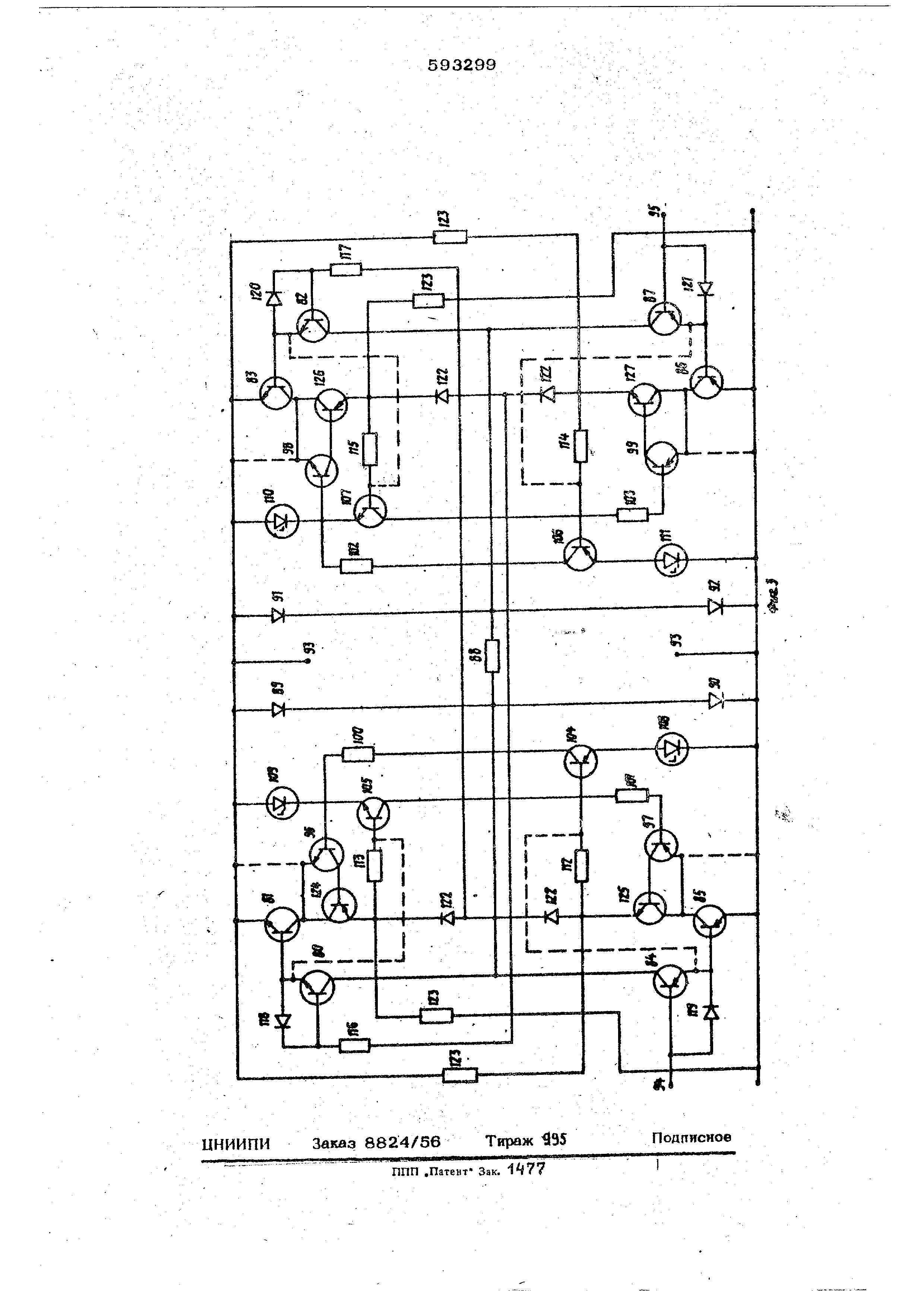
На фиг 1 изображен предлагаемый усилитель, структурная электрическая схема} ia фи. 2 - двухтактный тирис- торный мостовой усилитель мощности, вариант реализаиии; на фиг, 3 - то же, вариант роапизйнии на транзисторах.

Двухтактный ткрнсторный уснлитолт. мощности (фиг. 1) содержит два выходных симистора 1 и 2, соодннсигных последовательно относитет но источники 3 ременного напряжения и управдгяомых от источш1ка -1 про1лто4 азных сишплоп, л также сигндльиьк тнристориыо oitrpoitw 5 и 6, при этом место ссхшипеиия пы-2 - выход уси .хоаных снмисторов лнтеля. Eibixofl источ1тка 4 пропшофазных сигналов подключен к управляющему входу пылойного снмистора 1 через после« floi;im en}..HO соединешшю оптически управ- П5юмый вентиль 7, -управляющий светодиод 8, сигнал1Л{ый пфисторный опт рои 5 и запрещающий тиристорный оптрои 9. Другой выход источника 4 прот1шофг53 1Ых сигналов подключен к управляющему входу выходного симистора 2 через последовательно соединенные оптически управляеьгый вентиль 1О, управляюлшй светоаиод И, сигналы&ш тиристориъш оптрок 6 и запрещающий тиристорный оптрок 12. Параллельно выходному симистору 1, включен датчик 13 KOHTpojjH, выход которого соединен с управляющим входом запрещающего ти-(.тристорного оптрона 12, Параллельно выходяому слмнстоиу 2 включен датчик 14 контроля,, выход которого соединен с упр (: 1 ;1яющим вхоп.ом запрещающего тиристорпого oHTpoEia 9. Коммутациониьхе входы ог5тнческк у равляемых вентилей 7 и 10 связаны с управпшощими светодиодамп 11 и 8 соответственно. Усшпггель работает следующим образом . В исходном положении импульсы не поступают от источника 4 противофазных сигналоВг поэтому сигнальные тиристораые оптроны 6 и 5 выключены, закрыты .и выходные симисторы 1 и 2. Через нагрузку ток не протекает. При поступлении импульсов положител ной полярности от источника 4 по оптически управляемомувентилю 7 и управля ющему светодиоду 8 протекает ток,.под действием которого включается сигнальный тирнсториый оптрон 5; при этом оп тически упраиляемъш вентиль 7 шунтирует входную цепь управления противоположного плеча. Поскольку выходные CHMiiicTopb 1 и 2 выключены, к юс элект родам анод - катод прилоисено напряжение .питания, под действием которого протекающий через датчики 13 и 14 кон сроля ток создает условия для включе- чения запрещающих тиристорных оптронов 9 и 12. В результате выходной симистор 1 включится и через нагрузку по течет ток. в следующий полупериод выходной симистор 1 включается отрицательным импуш.сом источника переменно го напр5гжеиия,. при этом выходной си- мистер 2 закрыт. 5 9 При смене полярности источника 4 противо(1 аз1йых сигналов включается выходной симистор 2, а выходной симистор 1 выключен, поскольку оптически управляемый веетиль Ю шунтирует входную цепь гфотивоположного imeMti, а для запрещающего тиристорного оптрона 12 созданы условия для включения. Изменяй угол включения выходных симистор ОБ 1 и 2s можно регулировать напряжение и ток в нагрузке усилителя/ В изобретении используются два способа формирования сигнала управления выходными симисторами. I, Формирование сигнала управления независимо от состояния элементов силового каскада достигают подключением к управл51ющей цепи (последовательно . соединенным управляющим диодам) логической схемы запрета, представляющей собой тфиемник (тиристор) оптронаг включение которого происходит одновременно с подачей управляющего импульса в противоположный канал управления. |. Формирование сигнала управления в функции состояния элементов силового каскада достигают реализацией логической схемы совпадения, представляющей собой последовательно соединенные две пары встречно-параллельно включенных тиристоров сигнальных и запрещающих оптронов. Включение выходного симистора происходит только при одновременном включении тиристоров сигнального и запрещающего оптронов. Диод запрещающего оптрона контролирует состояние одного из выходных симисторов усилителя мощности. Пример Тиристор 1ый усилите ль мощности (фиг. 2) содержит в каждом из плеч выходные тиристоры 15 18 , 3 одной диагонали нагрузку 19, в другой диагонали источник 2О переменного напря ения, источники 21 и 22 противофазных сигналов управления, управляющий электрод каждого выходного тиристора 15 - 18 связан через последовательно соединенные огранич1шающие резисторы 23 - 26, соответстве1гно тиристоры 27 - 34 сигнальных оптронов и тиристоры 35 - 42 запрещающих оптронов с анодом соответствующего выходного тиристора; между полюсами источников 21 и 22 противофазных сигналов управления в одну параллели.ную цепь соответственно включены 1о ;лопопптельнч соединенные управлякицш пполы -ЧЗ-ЗО, 5 5 тиристоры 27 - 34 сигнальных оптронов противополои кых плеч усилителя и управ ляющие светодиоды 51 и 52 управляв- мого 53 и 54. В другую параллельную цегаь включен коммутацион ый вход (приемник) оптически управляемого вентиля 53 и.54, связанного с управляющим ,светодиодом 5 2 противополо ного илеча, управляющие диоды 55 «- 62 тиристоры 37 - 4О запрещающих оптронов связаны одним из полюсов через резисторы 63-7 Q с катодом выходного тирис тора 15-18 и другим полюсом зткуправля , щие диоды подключены через зашЕщадощие диоды71 78 к аноду выходного тир ЕСгара 15-18 смежного .плеча. Для устранения шунтирования датчиков (диоды ) установлены отсекающие диоды 79. Схема работает следующим образом. В исходном положении импульсы не поступают от источников 21 и 22 противофазных сигналов управления, поэтому все тиристоры - 34 сигнальнььч оптронов выключены, закрыты и силовые тиристоры 15 18. Через нагрузку 19 ток не протекает. При действии положительной полярности импульса источника 21 по управляющим лиодам 43 - 46 сигнальных ткртс-торных оптронов и светодяоду 51 оптически управляемого вентиля протекает ток, под действием которого включаются тиристоры 32 и 33 сигнальных оптронов и управляемый вентиль 54, шунтир тощий входную цепь управления протшзоположного канала. Поскольку тиристоры 16 и 17 выключены, на их электродах анодкатод появляется напряжение, под дей ствием которого через управляющие диоды 57 и 59 запрещающих оптронов, защищающие диоды 73 и 7 5и резисторы 65 и 67 протекает ток, включающий тиристоры 35 и 41 запрещающих оптронов. В результате тиристор 15 включается положительным импульсом, а тиристор 18 - отрицательным и через нагрузку 19 протекает ток. В следующий полупериод положительной полярности импульса источника 21 включаются тиристоры 28 и 34 сигнальных оптронов и тиристоры 36 и 42 запрещающих оптронов, В результате тиристор 15 включается отрицательным импульсом, а тиристор 18 положительным и через нагрузку 19 протекает ток другой полярности. Управляемый вентиль 54 в этот полупернод при той жо полярности источника пита90 НИИ шунтирует входную цепь противополож гого канала упр шленик. Изменяя угол вк/почения кыходн5 1 ; тнристороа, можно регулировать нап.ряжегп.ш в нагрузке 19. При реверсе, т.е, при действии положите;jbiiofl полярности импул11са нсточкика 22 шунтируется входная цепь канапе источника 21 а регулирование напряжением в нагрузке осуществляется тиристора1ДЕ 16 ,и 17. Использованием дополнителтьных апе- „ MeirroB - сигнальных, октронов , оптичес ,кк у}фавляемых вентилей и. занрещающих опгронов с определёнными связяг-. между ними (применением логическгс схем запрета и совпадения) предлагаемый двухтактный тирнсторкый усилитель „выгодног отличается от известног-о так как кс шючд5отся cjiBO3f bie TOIW в плечах усилителя мощнос я и ложяые срабатывания од-: повременно двух каналов управления. В резу шта-ге повьииается помехоустойчивость по входу при малой МОЩ 1ОСТК хШравления , повышается КПД устройс.Шй и его надежность. Отсутствие в схеме усилителя сигнапьн ых и транс форматоров огвечает требовй ия fvffiKpoминнатюризанни радиоэлектронной аппаратуры . Л р и м 8 р 2 . Усклиа-елъ мощности (фиг. 3) содержит две пары составные транзисторов разной проводимости: И-р-И 80, 81 и 82, 83 и р - И .- Р 84, 85 И 86, 87, нагрузку 88, обратные диоды 89 - 92, источник 93 питания я источники 94 и 95 управляющих сигналов . Между коллектором траггзистора каждого шшча и нагрузкой включены дополч нктельно установленные первые транзисторы . 96-99, база которых связана че рез дополнительно устаноолен1гые после довательно соединенные резисторы 1ОО- ЮЗ, вторые транзисторы 104- 107 и фиксирующие диоды (стабилитроны) 108- ill с эмиттерами транзисторе противоположного TRiJa проводимости, а база вторых транзисторов 1О4 - 107 соединена через дополнительные ограничивающие резисторы 112 - 115 с нагрузкой и коллекторами раскачивающих транзи стерев той же стойки. Блзы ссхзтавнЫя транзисторов - проводимости подключень через рописторы 116 и 117 К коллекторам раскачиппющнх трян.зи- сторов р-п-р - npono/inмости прот гаоПШ1ОЖНЫХ плеч „Диоды 1.1В - 121 предназначены для улуч 1/|-м( .1яп1 } 1пия тракoHCTCf )on J Для устранения .шунтирсмвания датчиков (трлизисторы 1О4 1О7). ус- тановлень отсекающие диоды 1.22. Через резисторы 123 осуществляется запитывание датчиков контроля состояния плеч усилителя..s

Меиаду коллектором составного транзистора каждого плеча и нагрузкой може быть установлен третьи дополнительные транзисторы 124- 127 прот1тоположного типа проводимости по сравнению с транзисторами 81, 83, 85 и 87, причем база третьих дояолиител15ных транзисторов подключена к коллектору первого дополнительного транзистора, который при этом выбирается маломо1 1ным и эмичтер которого можно подключить к эмиттеру транзисторов 31, 83, 85 и 87. В случае применения связи, указанно на фиг. 3 пунктиром, отсекающие диоды 122 не/ став5 тся. ..у

Ус1(литель мощности работает следующим образом.

Предположим, что составные транзисторы 8О, 81 и 86, 87 закрыты, а составные транзисторы 82, 83 и 84, 86 включены соответствующими напряжениями источников 94 и . 95 управляющих сигналов и на базы транзисторов 97, 105 и 98, 106 подано напрянсение открывающей полярности, поэтому последние также находятся во включенном состоянии. Транзисторы 96, 104 и 99, 1О7 закрыты. К нагрузке 88 приложено полное напряжение источника 93 пита-ния . При изменении полярности напряжения источников 94, 95 управляющих сигналов составные транзисторы 82, 83 и 84, 85 остаются некоторое время вклк ченными зй счет рассасывания неосновных носителей в области базы, а на составные транзисторы 8О, 81 и 86, 87 подано напряжение сткрьшающе{) полярности . Однако транзисторы 96, 1О4 и 99, 107 закрыты, и только после того, как транзисторы 82, 83 и 84,85 закроются, на базы транзисторов 96, 104 и 99, 107 подается напряжение открывающей полярности и последние включаются Транзисторы 97, 1О5 и 98 1О6 закрываются одновременно с транзисторами 82, 83 и 84, 85. К нагрузке 88 прикладьшаотся полное напряжение источника 93 питания и ток в нагрузке меняет нлправлсч ие. При изменени полярности импрдасония источников 94

И 95 управляющих сигналов в аналогичном положении, оказываются составные транзисторы 82, 83 и 84, 85 и транзисторы 97, 105 и 98, 1О6 На транзисторах 96 - 99 реализуются схемы совпадений (схемы И), осуществляющие логические оперший умножения. На транзисторах 1О4 - 1О7 реализуется .схема контроля состояния коммутирующих элементов стоек мостового усилителя мощности.

Таким образом, в частном случае предложенного технического решения вклк ченяе коммутирующего элемента одной стойки возJ,южно только при разомкнутом другом коммутирующем элементе той же стойки. Такая последовательность включения транзисторов позволяет исключить сквозные токи.

Формула изобретения

Двухтактный тиристорный усилитель мощности ,содержащий два выходных си- мистора, соединенных последовательно относительно источника переменного напряжения и управляемых от источника противофазных сигналов, а также сигнальные тиристорные оптромы, пр этом мест соединения выходных симисторов является выходом усилителя, отличающийся тем, что, с целью увеличения КПД за счет снижения сквозных токов, каждый выход источника противофаэных сигна/юв подключен к управляющему входу выходного симистора соответствующего плеча через последовательно соединелй ные оптически управляемый вентиль, управляющий светодиод, сигальный и запрещающий тиристорные оптроны, в каждом плече параллельно выходному симистору включен датчик контроля, выход которого соединен с упр.шляющим входом запрещающего тиристорного оптрона противоположного плеча, при этом кол мутационный вход каждого оптически управляемого рентиля связан с управляющим светодиодом противополоЖ1юго плеча.

Источники информации, принятые во внимание при экспорти:зе 1. Гольц М. Е. Автомптизированные электроприводы постоянного токп с щиротно-имаульсными преоб ааовпт(.ч1ями. М , Энергия, 1972, с. 30 (прототип),

Описание

[1]

(54) ДВУХТ/ЖТНЫЙ ТИРИСТОРНЫЙ УСИЛИТЕЛЬ МОЩНССТИ

Как компенсировать расходы
на инновационную разработку
Похожие патенты