заявка
№ SU 575468
МПК F28F27/00

Дросселирующее устройство

Авторы:
МЕРКУЛОВ ВЛАДИСЛАВ ИВАНОВИЧ ГОРОХОВ ГЕОРГИЙ ПЕТРОВИЧ СТРОКИН ЮРИЙ НИКОЛАЕВИЧ
Все (4)
Номер заявки
2176321
Дата подачи заявки
01.10.1975
Опубликовано
05.10.1977
Страна
SU
Как управлять
интеллектуальной собственностью
Чертежи 
4
Реферат

[12]

Формула изобретения

А-А

Фиг.З

ФигЛ

ea Sa i Фиг.6

B-8

ФигЛ

r-r

Фиг. 8

д-д

Фиг.9

. S

с Фиг.Ю

Описание

[1]

1

[2]

изобретение относится к теплообменной аппаратуре и может быть использовано для устранения межвитковой пульсашга в прямотрубных парогенераторах.

[3]

Известны дросселирующие устройства для теплообменных аппаратов, содержащие корпус н размещенный в нем пакет плоских дисков со сквозными отверстиями 1.

[4]

Однако эффективность дросселирования таких устройств недостаточна.

[5]

Цель изобретеотя «- повышение эффективности дросселиррв-ани,я

[6]

Это достиг аетс,ят&м, что между дисками . расположены: втулки, в -реле которых выполнены каналь, последовательно соединенные между собой через отверстия в дисках. Каждая втулка состоит из трех шайб, например, соединенных при помощи контактной или диффузионной сварки, а каналы в каждой втулке образованы сквозными отверстиями в центральной шайбе и прорезями в крайних шайбах; диски имеют толщину на порядок меньшую линейного размера выполненных в них | отверстий,

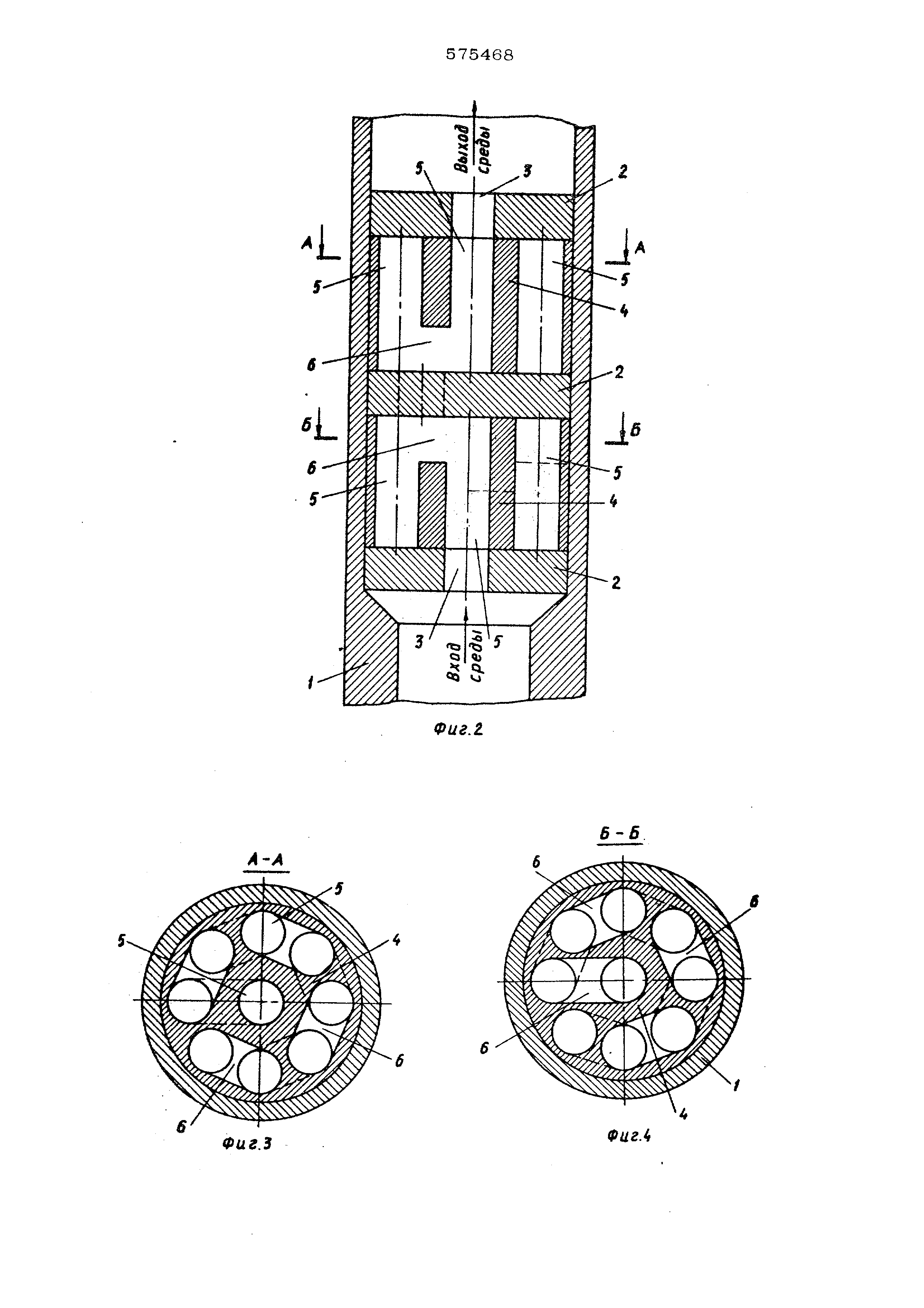
[7]

На фиг. 1 изображена схема движения дросселируемой среды; на фиг. 2 - предлагаемое устройство, общий вид; на фиг, 3 разрез А-А фиг. 2; на фиг. 4 -разрез Б-Б фиг. 2| на фкг. 5 - дросселирующее устройство с втулками, имеющими сквозны отверстия, и соединительными каналами в теле дисков, общий вид; на фиг. 6 - то же с втулками, выполненными каждая из трех плоских шайб; на фиг. 7 - разрез В-В фиг. 6; на фиг. 8 - разрез Г-Г фиг. 6; на фиг. 9 - разрез Д-Д фиг. 6; на фиг. 10 дроссельный элемент, общий вид; на фиг. вид А фнг. 10. Дросселирующее устройство представляет собой корпус 1 с размещенным в нем пакетом дисков 2 со сквозными отверстиями 3; между дис;с ми установлены втулки 4j в теле которых выполнены каналы 5, соедине1шые последовательно между собой пазами 6 для прохода среды.

[8]

Предлагаемое устройство работает следующим образом.

[9]

Рабочая среда из напорного коллектора (на фигуре не показан) проходит через отверстие 3 в первом по ходу среды диске и попадает в первый канал 5, выполненный Эр втулке 4 (на фиг. 6 втулка представле}Ш в виде трех дисков: центрального 7 и двух крайних 8) , затем через паз 6 - в последующий канал втулки и после прохожде ния всех каналов первой втулки через oTiверстие 3 в последующем диске среда про ходит каналы во второй втулке и т. д. Гидравлические потери (сопротивление) в данном дросселирующем устройстве обуслов ливаются местными потерями при нарушении , нормального течения потока, вызванном резким изменением направления движегшя среды. Требуемое гидравлическое сопротивление устройства достигается набором необходимого количества поворотов за счет чис ла каналов в одной втулке и соответствующего количества втулок и дисков. В связи с более полным использованием внутреннего объема, занимаемого дросселем для создания гидравлического сопротивлени описанная конструкпия имеет повышенную эффективность по сравнению.с существующими т.е. позволяет аибо уменьшить габариты др оосепирующегоустройства при сохранении требуемых перепадов и минимальных проходных сечениях, либо при сохранении габа ритов и Требуемого перепада - увели ить значение проходного сечения. В свою очередь увеличение проходных сечений повышает стабильность гидравличес кой характеристики дросселя за счет умень шения влияния перетачек через зазоры, обусловливаемые допусками на изготовлени деталей. Кроме того, увеличение проходных сеений уменьшает вероятность засорения росселирующего устройства. Применение в данной конструкции двух-г рех унифицированных деталей простой конигурации позволит при изготовлении внедить высокопроизводительные методы, наример штамповку, и применить специальые сборочные автоматы. Формула изобретения 1.Дроссел{фующее устройство для теплообменного аппарата, содержащее корпус и размещенный, в нем пакет плоских дисков со сквозными отверстиями, отличающееся тем, что, с целью повыше ния эффективности дросселирования, между дисками расположены втулки,, в теле которых выполнены каналы, последовательно соединенные между собой через отверстия.в дисках , 2.Устройство по п, 1,0 т л и ч а ющ е е с я тем, что каждая втулка состоит из трех плоских шайб, например, соединенных при помощи контактной или диффузионной сварки, а каналы в каждой втулке образованы сквозными отверстиями в центральной щайбе и прорезями в крайних шайбах, 3.Устройство по п. пД и 2, ; о т п и - чающееся тем, что диски имеют толщину, на порядок меньшую линейного размера выполненных в них отверстий. Источники информации, принятьш во внимание при экспертизе: 1. Авторское свидетельство № 246216, кл. F 16 К 18/00, 1968. 2

[10]

6

[11]

Фиг.2.

Как компенсировать расходы
на инновационную разработку
Похожие патенты