заявка
№ SU 557993
МПК B66F9/19

Сталкиватель груза вилочного погрузчика

Авторы:
ПОШИВАК АЛЕКСАНДР МИХАЙЛОВИЧ ЧЕХ ЯРОСЛАВА АЛЕКСЕЕВНА ДЗЮБАН ВЛАДИМИР ОНУФРИЕВИЧ
Все (5)
Номер заявки
2171795
Дата подачи заявки
16.09.1975
Опубликовано
15.05.1977
Страна
SU
Как управлять
интеллектуальной собственностью
Чертежи 
2
Реферат

[19]

Формула изобретения

VV/ Vy// V/// Vy/x y7/X V/// V//A W/ANV//A V//X V7/AK 77X XVA

Уиг.г

А- А,

У иг. 3

Б-6

1-S

3,

10

Vus.ff

иг.4

Описание

[1]

(54) СТАЛКИВАТЕЛЬ ГРУЗА ВИЛОЧНОГО ПОГРУЗЧИКА

[2]

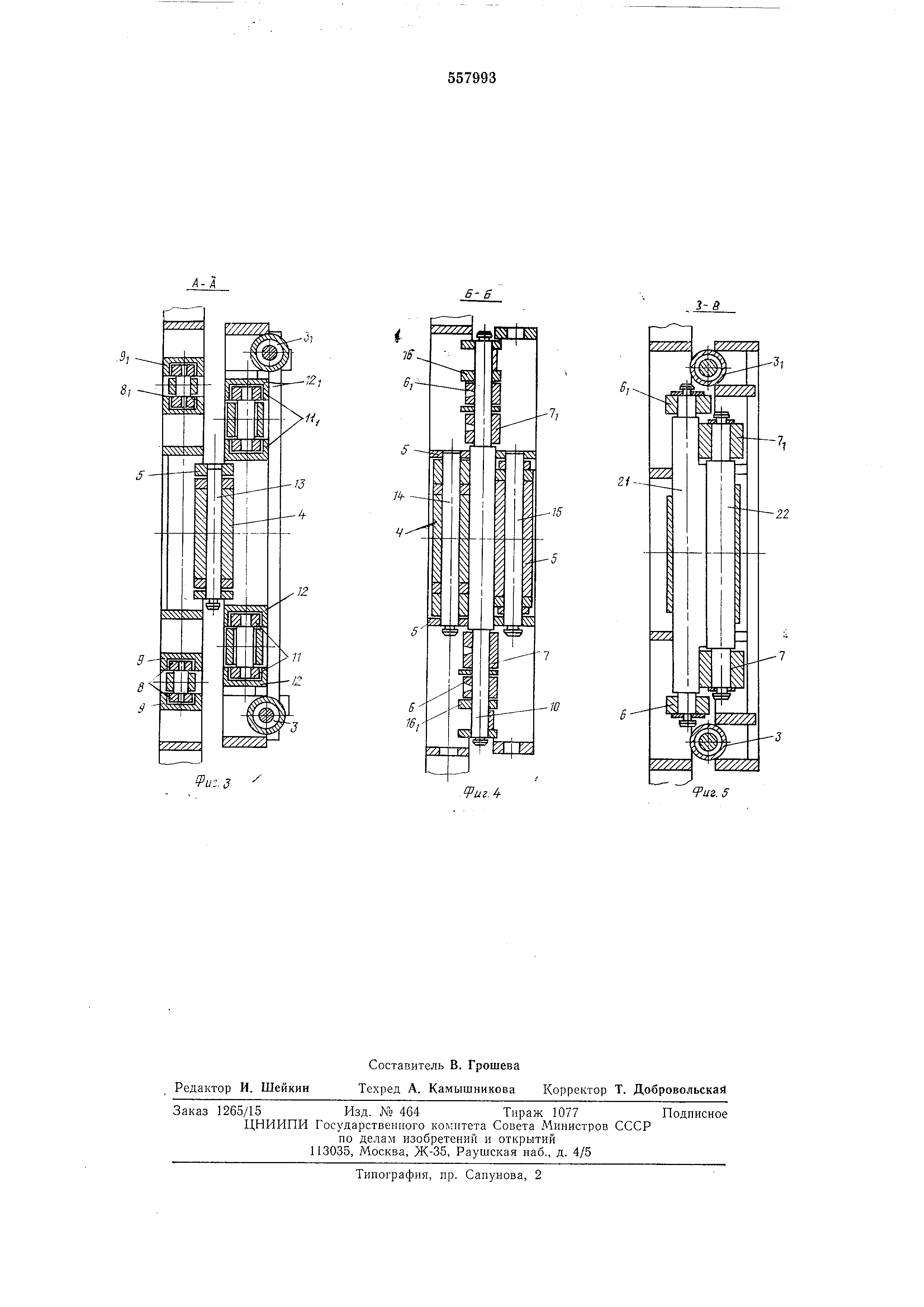
к которым по обе стороны присоединены спаренные передние рычаги 6 и 6i и задние 7 и 7i соответственно. Верхние концы рычагов 6 II 6i при помощи катков 8 и 8 установлены в направляющих 9 и 9i стал.кивающей плиты 2, а пх нижние концы щар«ирно соединены с нижними концами задних рычагов 7 и 7i осью 10. Верхние концы рычагов 7 и 7i посредством катков II и 111 установлены в направляющих 12 и 12i основания 1. Центральные рычаги 4 и 5, выполненные .свар1ными, шарнирно соедииены между собой осью 13. Передний центральный рычаг 4 закреплен на сталкивающей плите осью 14, а задний центральный рычаг 5 соединен с основанием 1 осью 15.

[3]

На основании 1 закреплены также корпуса силовых цилиндров 3 и Зь а их штоки присоединены к шарнирно установленным по обе стороны иа оси 10 толкателям 16 и 16i. Толкатели 16 и 16i служат для сообщения начальной скорости сталкивающей плите 2 в начальный момент сталкивания, выполнены они сварными и снабжены упором 17 переднего хода и упором 18 заднего хода.

[4]

Для уменьшения трения между .пластиной 19 сталкивающей плиты 2 и толкателями 16 и 16i последние снабжены катками 20 и 20i соответственно.

[5]

Центральный передний рычаг 4 соединен с подвижно установленными в сталкивающей плите 2 рычагами 6 и 6i осью 21, а центральный задний рычаг 5 соединен с подвижно установленными в основании 1 задними рычагами 7 и 7i осью 22, при этом ось 21 выполнена с выфрезеровками под рычаги 7 и 1, что обеспечивает уменьщение длины сталкивателя в сжатом положении.

[6]

Для сталкивания груза с вилок погрузчика подают рабочую жидкость в поршиевую полость силовых цилиндров 3 и Зь штоки которых действуют на толкатели 16 и 16i, поворачивая их относительно оси 10, толкают посредством катков 20 и 20i и пластины 19 сталкивающую плиту 2. ТоЛКаиие это происходит до тех пор, иока толкатели 16 и 16i не упрутся упорами 18 и 18i соответственно в рычаги 6 и 6i.

[7]

Вследствие того, что усилие в начале толкания толкателями 16 и 16i передается прямо

[8]

на сталкивающую плиту 2, его действия значительно эффективны, чем если бы это усилие передавалось через рычаги 6 и 6i системы .

[9]

Далее, когда груз находится в движении, а угол наклона силовых цилиндров увеличивается , толкатели 16 и 16i выводятся из взаимодействия с рычагами 6 и 6i, и дальнейшее перемещение сталкивающей плиты 2 осуществляется под действием усилий силовых цилиндров 3 и Зь передаваемых рычагами 6 и 6ь

[10]

При подаче рабочей жидкости в штоковые полости силовых цилиндров 3 и 3i происходит

[11]

сжатие рычажиой системы.

[12]

Силовые цилиндры 3 и Зь действуя иа толкатели 16 и 16ь сначала поворачивают их относительно оси 10 до упоров 17 и 17i и, действуя иа рычаги 6 и 6ь возвращают систему в сн ;атое положение. Сталкивающая плита занимает исходное иоложение, а рычаги 6 и 6i и 7 и 7ь а также оси 21 и 22, соединяющие эти рычаги, частично перекрывают друг друга.

[13]

.

[14]

Формула изобретения

[15]

Сталкиватель груза вилочиого погрузчика, содержащий основание, навешиваемое на каретку грузоподъемника, и сталкивающую плиту , перемещаемую силовыми цилиндрами посредством рычажной системы, рычаги которой связаны с основаиием и сталкивающей илитой, отличающийся тем, что, с .целью

[16]

увеличения сталкивающего усилия в начальный момент сталкивания груза, сталкиватель снабжен толкателем, выполненным с упорами переднего и заднего хода и катком, причем толкатель шарнирно соединен с рычагом, связанным со сталкивающей плитой, кроме того каждый силовой цилиндр одним концом закреплен на основании, а другим связан с толкателем . Источники информации, принятые во внимание при экспертизе:

[17]

. Патент США № 3458075, кл. 214-514, 1969.

[18]

2. Патент США № 3516641, кл. 254-122, 1970.

Как компенсировать расходы
на инновационную разработку
Похожие патенты