СМЕННОЕ ОБОРУДОВАНИЕ ДЛЯ НАКЛЕЙКИ ГИДРОИЗОЛЯЦИИ СООРУЖЕНИЙ ТИПА ТОННЕЛЕЙ
Изобретение относится к гидроизоляции инженерных сооружений типа тоннелей, сооружаемых
открытым способом. Известно сменное оборудование для наклейки
гидроизоляции типа тоннелей, возводимых при открытом способе работ, монтируемое
на транспортной машине, включающее приводное устройство, направляющие и
рабочий орган для наклейки рулонного материала , содержащий смонтированные в кожухе
барабан, инфракрасные излучатели, прижимной механизм.
Цель изобретения - повышение степени механизации и создание возможности наклейки
гидроизоляции на вертикальных стенках , на горизонтальных поверхностях перекрытия и лотка. Для этого оборудование выполнено со съемной стрелой, на которую установлен с
возможностью перемещения рабочий орган для наклейки рулонного материала.
Для наклейки гидроизоляции на вертикальных стенах стрела может быть выполнена
Г-образной формы и установлена с возможностью вертикального подъема посредством силового цилиндра. ляющие для перемещения по ним каретки, на которой монтирован рабочий орган для приклеивания
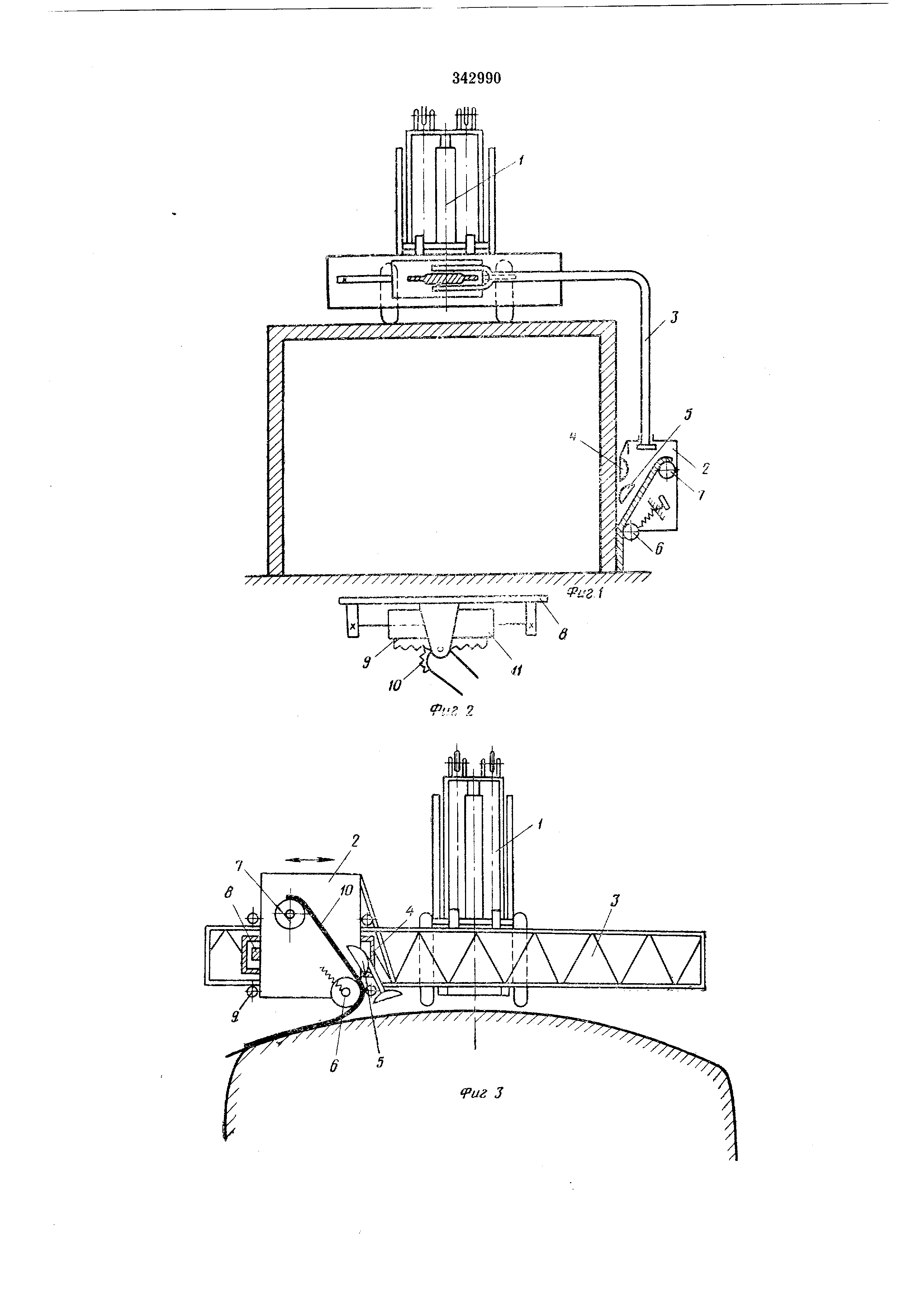
рулонного материала. На фиг. 1 изображена схема оборудования
для гидроизоляции вертикальных поверхностей; на фиг. 2 - схема поворотного устройства
для прижатия каретки к изолируемой вертикальной поверхности;
на фиг. 3 - схема оборудования для гидроизоляции горизонтальных наклонных поверхностей . Сменное оборудование для гидроизоляции вертикальных поверхностей (фиг. 1 и 2) включает
автопогрузчик 1, каретку 2, Г-образную стрелу 3, нагреватели 4 и 5, прижимное устройство
6, рулон 7, раму 8, рейку 9, зубчатый сектор 10, гидродомкрат 11.
Сменное оборудование для гидроизоляции горизонтальных ил наклонных поверхностей
(фиг. 3) содержит автопогрузчик 1, каретку 2, стрелу о, нагреватели 4 и 5, прижимное
устройство 6, рулон 7, направляющие 8, катки 9, гидроизоляционный материал 10.
Оборудование для гидроизоляции вертикальных поверхностей работает следующим образом.
всрхпости барабаиол прижимного устройства 6. Изолируемая поверхность предварительно
прогревается нагревателем 4. Стрела 5 выполнена в виде одноплечего рычага
Г-образной формы, поворачиваемого в 5 плане гидроцилипдром /7. Прижатие каретки
2 к вертикальной поверхности осуществляется тем же гидроцилиндром, закрепленным
иа раме о, присоех инепнои к подвижной раме автопогрузчика.10
Оборудование для гидроизоляции горизонтальных п наклонных поверхностей и лотка
работает следующим образом. Гидроизоляционный материал 10, сматываясь
с рулона 7, проходит под нагревате-15 ле.м 5 и, нагреваясь, прижимается к изолироемой
поверхности барабаном прижимного устройства 6. Изолируемая поверхность предварительно
нагревается нагревателем 4. При криволиней- 20 ных поверхностях каретка устройством 6 опирается
на изоляционный материал и, перемещаясь по направляющим 8 стрелы 3, прижимает
изоляцию к изолируемой поверхности. Предмет изобретения
1. Сменное оборудование для наклейки гидроизоляции сооружений типа тоннелей, воз25
водимых при открытом способе работ, монтируемое на транспортной машине, включающее
приводное устройство, направляющие и рабочий орган для наклейки рулонного материала
, содержащий смонтированные в кожухе барабап, инфракрасные излучатели, прижимнои
механизм, отличающееся тем, что, с целью повьиления степени механизации, оно
выполнено со съемной стрелой, на которую установлен с возможностью перемещения рабочий
орган для наклейки рулонного материала . 2. Сменное оборудование по п. 1, отличающееся
тем, что, с целью возможности наклейки гидроизоляции на вертикальных стенах.
его стрела выполнена Г-образной формы и установлена с возможностью вертикального
подъема посредством силового цилиндра. 3. Сменное оборудование по п. 1, отличающееся
тем, что для возможности наклейки гидроизоляции на горизонтальные поверхности
перекрытия и лотка, его стрела выполнена в виде горизонтальной рещетчатой балки,
имеющей направляющие для перемещения по ним каретки, на которой монтирован рабочий
орган для приклеивания рулонного материала .