заявка
№ SU 26476
МПК G07F13/02

Автомат для отпуска жидкости

Авторы:
Петров М.Н.
Номер заявки
88513
Дата подачи заявки
15.05.1931
Опубликовано
31.05.1932
Страна
SU
Как управлять
интеллектуальной собственностью
Чертежи 
1
Реферат

[14]

Формула изобретения

Описание

[1]

Изобретение касается автомата для отпуска жидкости, снабженного подвижными мерниками различного объема и клапанными штоками, укрепленными на коромыслах, на которых подвешены также упорные стержни, предназначенные для приведения автомата в действие при нажатии ими на соответствующие жетоны. В предлагаемом автомате упорные стержни подвешены на коромыслах каждого мерника с целью открывания сливного клапана лишь одного мерника при одновременном поднятии рукояткой всех мерников .

[2]

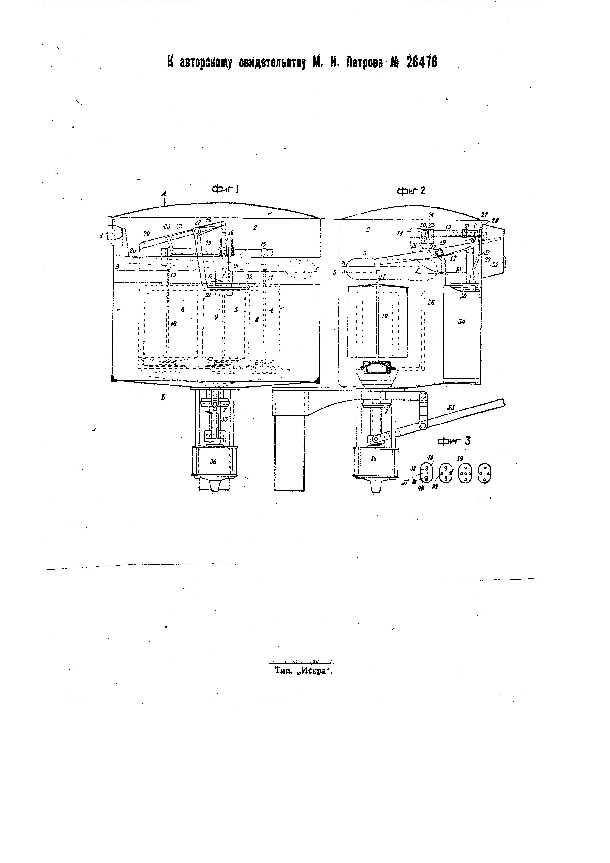
На схематическом чертеже фиг. 1 изображает вид автомата для отпуска жидкости -спереди; фиг. 2 - то же, разрез по линии АБ на фиг. 1; фиг. 3 - вид марокжетонов .

[3]

В предлагаемом автомате жидкость поступает через отверстие / в сосуд 2, в котором уровень поддерживается поплавковым клапаном - линия .. В сосуде находятся мерники #, 5 и 5, соединенные с ним общим сливом 1, Через середину мерников проходят соответственно штоки 8у 9 та 10, снабженные снизу клапанами, а сзерху пружинами 11, 12 и 13, закрывающие отверстия мерников давлением вверх. Опоражнивание мерников происходит при подъеме их рукояткой 33 выше уровня жидкости. Штоки S, 9 н /О прикреплены к коромыслам /5, f6 к 17, снабженным на другом конце стержнями 37, 38 и 39, предназначенными упираться в жетоны при открывании клапана. Если против соответствующего стержня приходится отверстие в жетоне , то при подъеме мерника клапан не открывается.

[4]

При подъеме мерников стержень 26 давит на рычаг 20, укрепленный на валу 18, на который насажена с трением втулка 19, снабженная пальцем 27, нажимающим пружину 28. Последняя посредством вилки 29 отводит выбрасыватель 30 с планкой 32, вследствие чего жетон проваливается в ящик 34.

[5]

Для обнаруживания подделки имеется контрольный стержень 40, подвешенный на пальце втулки 19, для которого в каждой марке имеется отверстие, при чём при отсутствии такового стержень, встретив препятствие, замкнет ток сигнального звонка 25 касанием укрепленного на втулке 19 пальца 23 с контактной пластинкой 2/ рычага 20, путем поворота втулки J9 на валу / при непопа

[6]

стержня 40в надлежащее отверстие жетона.

[7]

Для наблюденияпредназначено стекло 35.

[8]

Предмет изобретения.

[9]

1.Автомат для отпуска жидкости с подвижными мерниками различного объема и клапанными штоками, укрепленными на коромыслах, на которых подвешены также упорные стержни, предназначенные для приведения автомата в действие при нажатии ими на соответствуюц ие жетоны, отличающи ся тем, что упорные стержни 37,38 и 39 подвешены на коромысслах /5, /7 каждого мерника, с.целью осуществления путем сжатия пружин V/, 12 и 13 открывания сливного клапана лишь одного мерника при одновременном поднятии всех мерников рукояткой 33.

[10]

2.Форма выполнения aBTJMaTa поп. 1, отличающаяся тем, что с целью сбрасывания использованных жетонов в нем

[11]

применен соединенный j п6д0тавко или мерников стержень 26, служащий для выдвигания из-под жетона планки 32 путем нажатия им на соединенный с последней при помощи той или иной передачи рычаг 20.

[12]

3.Форма выполнения автомата nd п. 2, отличающаяся тем, что рычаг 20 укреплен на валу 18, на который насажена с трением втулка 19, снабженная пальцем 27, предназначенным для отведения сочлененной с планкой 32 вилки 29, путем нажатия пальцем 27 на соединенную с последней пружину 28.

[13]

4.При автомате по п п. 1 - 3 применение подвешенного на пальце втулки 19 контрольного стержня 40, предназначенного для замыкания цепи сигнального звонка касанием укрепленного на втулке 19 пальца 23 с контактной пластиной 21 рычага 20, путем поворота втулки 19 на валу 18 при непопадании стержн 40 в надлежащее отверстие жетона.

Как компенсировать расходы
на инновационную разработку
Похожие патенты