заявка
№ SU 229994
МПК A22B5/16

УСТРОЙСТВО ДЛЯ СНЯТИЯ ШКУР С ТУШ ЖИВОТНЫХ

Авторы:
Салтыков А.Н.
Номер заявки
1169213/28-13
Дата подачи заявки
03.07.1967
Опубликовано
30.06.1979
Страна
SU
Как управлять
интеллектуальной собственностью
Чертежи 
1
Формула изобретения

Устройство для снятия шкур с туш животных, содержащее два подвесных наклонных пути для подвешивания туш с помощью роликов за задние ноги и два двухцепных транспортера, один из которых снабжен скалками и предназначен для фиксации передних ног, а другой служит для фиксации шкур, отличающееся тем, что, с целью устранения соприкосновения скалки транспортера с поверхностью туши и ликвидации таким образом ее загрязнения, оно снабжено механизмом для фиксации туш на подвесных путях после снятия шкур, состоящим из укрепленной над наклонными участками подвесных путей пары двуплечих рычагов, жестко связанных между собой, одни концы которых имеют упоры для роликов с тушей, другие подпружинены, а на выносном кронштейне в контуре транспортера для фиксации передних ног смонтирован двуплечий рычаг, одно плечо которого выполнено из двух шарнирно соединенных подпружиненных частей, причем этот двуплечий рычаг связан системой блоков и тросом с подпружиненными концами пары двуплечих рычагов и укреплен с возможностью поворота от нажима скалки транспортера с освобождением при этом пары двуплечих рычагов, удерживающих ролики с тушей на наклонных участках подвесных путей.

Описание

[1]

Известны устройства для снятия шкур с туш животных, состоящие из двух подвесных наклонных путей для подвешивания туш с помощью роликов за задние ноги и двух двухцепных транспортеров, один из которых имеет скалки и служит для фиксации туш за передние ноги, а другой предназначен для фиксации шкур.

[2]

Для устранения соприкосновения скалки транспортера с поверхностью туши и предупреждения таким образом ее загрязнения в предлагаемом устройстве имеется механизм для фиксации туш после снятия шкур, в который входят пара двуплечих рычагов, жестко связанных между собой, и Г-образный двуплечий рычаг. Пара двуплечих рычагов смонтирована над наклонными участками подвесных путей на кронштейнах. На одном конце этих рычагов имеются упоры для роликов с тушей, а другие концы подпружинены.

[3]

Двуплечий рычаг установлен на выносном кронштейне в контуре транспортера для фиксации туши за передние ноги. Одно плечо рычага выполнено из двух шарнирно соединенных подпружиненных частей. Этот рычаг связан системой блоков и тросом с подпружиненными концами пары двуплечих рычагов, и укреплен с возможностью поворота от нажима скалки транспортера с освобождением при этом пары двуплечих рычагов, удерживающих ролики с тушей на наклонных участках подвесных путей.

[4]

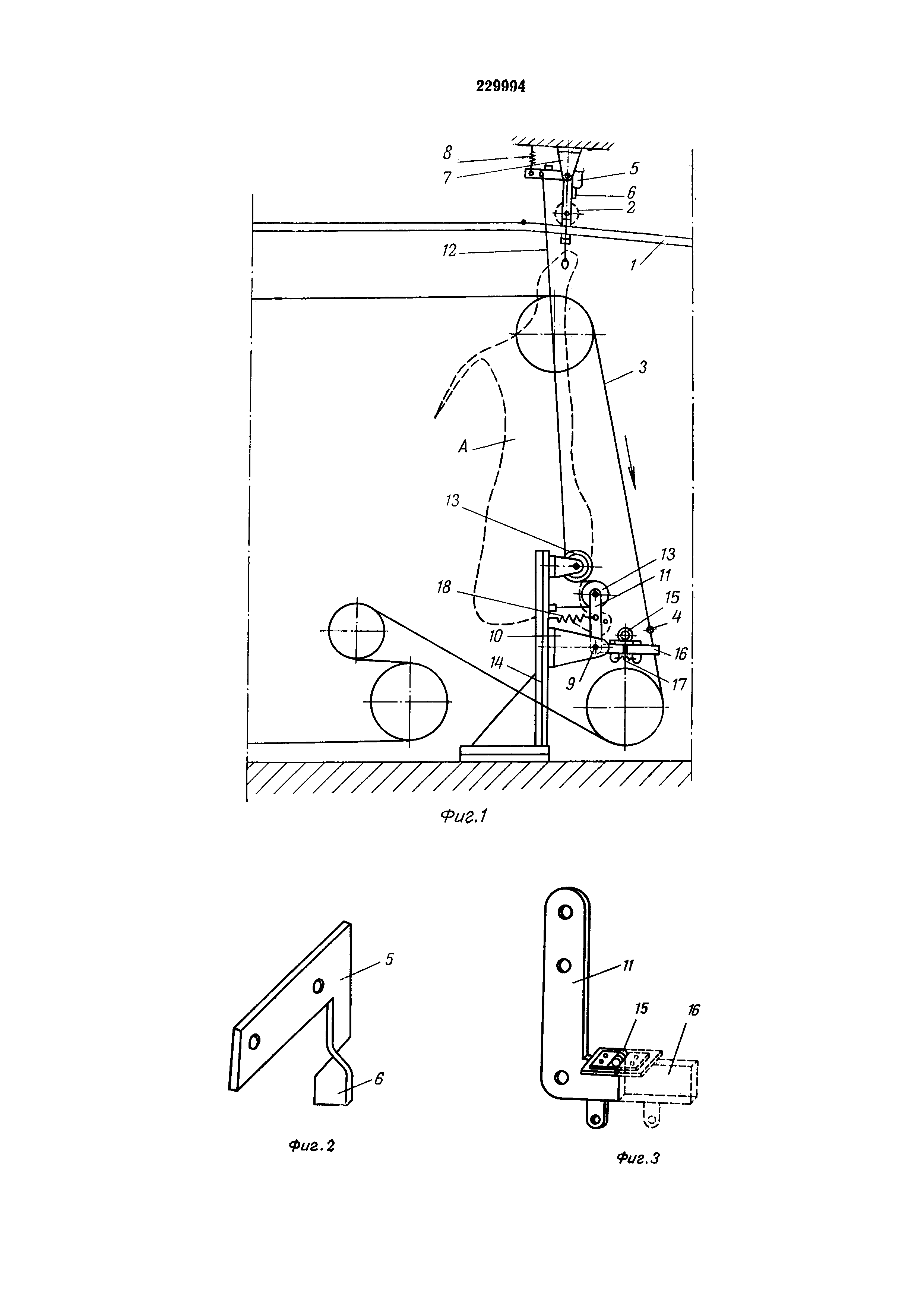
На фиг. 1 изображено предлагаемое устройство; на фиг. 2 - рычаг с упором для ролика (вариант выполнения); на фиг. 3 - двуплечий рычаг с составным плечом (вариант выполнения).

[5]

Предлагаемое устройство состоит из двух подвесных наклонных путей 1 с роликами 2 для подвешивания туш за задние ноги, двухцепного транспортера 3 со скалками 4 для фиксации туши за передние ноги, двухцепного транспортера с крюками для фиксации забелованных концов шкур (на чертежах не изображен) и механизма для фиксации туш животных на наклонных подвесных путях после механической съемки шкур. Механизм фиксации содержит пару двуплечих рычагов 5, жестко связанных между собой и имеющих Г-образную форму. Одни концы этой пары выполнены с упорами 6 для роликов с тушей, представляющими, например, повернутые на 90° концы. Рычаги установлены на наклонных участках подвесного пути на расстоянии 300-700 мм от начала уклона. Эта пара рычагов установлена с помощью оси на кронштейне 7. Другие концы рычагов снабжены пружиной 8, удерживающей их в горизонтальном (исходном) положении. Кроме того, механизм содержит установленный на оси 9, закрепленной на выносном кронштейне 10, двуплечий Г-образный рычаг 11.

[6]

Гибкий трос 12 одним концом прикреплен к подпружиненным концам рычагов 5, а другим - к системе блоков 13, которая в свою очередь соединена с Г-образным рычагом 11. Кронштейн 10 прикреплен к стойке 14.

[7]

Горизонтальное плечо рычага 11 составлено из двух частей, связанных шарнирной петлей 15. В горизонтальном (исходном) положении концевая часть 16 удерживается пружиной 17, а рычаг 11 - за вертикальное плечо пружиной 18. Такое выполнение рычага 11 обеспечивает беспрепятственный проход скалки при обратном ходе двухцепного транспортера 3.

[8]

Предлагаемое устройство работает следующим образом.

[9]

Подвешенная с помощью роликов за задние ноги туша во время перемещения по подвесным путям фиксируется за передние ноги к скалке 4 транспортера 3 и закрепляется концом шкуры за крюк транспортера фиксации туш.

[10]

В результате разности скоростей транспортера для фиксации туш за передние ноги и транспортера для фиксации забелованных концов шкур происходит съемка шкуры с туши. После этого последняя подходит к механизму фиксации ее, роликами упирается в упоры 6 и останавливается. При дальнейшем движении скалки 4 с нее автоматически сбрасываются фиксирующие передние ноги крюки.

[11]

Причем фиксация роликов упорами 6 обеспечивает положение туши, при котором скалка не касается туши, т.е. не происходит загрязнения мяса. Двигаясь далее, скалка нажимает на горизонтальное плечо рычага 11 и отклоняет его вниз. Одновременно с рычагом отклоняется вниз и блок 13, натягивая трос 12. Под действием последнего рычаг 5 поворачивается вокруг оси, освобождает ролики 2, и туша скатывается по наклонному участку подвесного пути.

Как компенсировать расходы
на инновационную разработку
Похожие патенты