заявка
№ SU 216019
МПК F01K7/38

КОНДЕНСАЦИОННАЯ ПАРОВАЯ ТУРБИНА С РЕГУЛИРУЕМЫМИ ОТБОРАМИ

Авторы:
Бузин Д.П. Рабинович А.В. Тхор П.Е.
Все (4)
Номер заявки
1025875/24-6
Дата подачи заявки
03.09.1965
Опубликовано
17.07.1968
Страна
SU
Как управлять
интеллектуальной собственностью
Чертежи 
1
Формула изобретения

1. Конденсационная паровая турбина с регулируемыми отборами, содержащая воспринимающие импульсы в зависимости от электрической и тепловой нагрузок регуляторы, например, регуляторы скорости и давления отборов, и сервомоторы, воздействующие на исполнительные механизмы части высокого давления и части низкого давления, отличающаяся тем, что, с целью повышения экономичности, на линиях связей регуляторов с сервомоторами установлен переключатель для обеспечения работы турбины как по электрическому, так и по тепловому графикам с фиксированным пропуском пара в часть низкого давления.

2. Турбина по п. 1, отличающаяся тем, что, с целью повышения надежности работы, переключатель снабжен преобразовательными элементами, например дросселями, для отключения связи между регуляторами и сервомотором части низкого давления и установления заданной неравномерности регулирования.

3. Турбина по пп. 1 и 2, отличающаяся тем, что, с целью увеличения жесткости фиксации, в сервомоторе части низкого давления предусмотрен механический или гидравлический упор.

Описание

[1]

Известные паровые конденсационные турбины с регулируемыми отборами пара работают с различными изменяющимися в широком диапазоне пропусками пара через ступени части низкого давления (ЧНД), расположенные между камерой отбора и конденсатором. При этом регуляторы скорости и давления, управляющие регулирующими органами частей высокого давления (ЧВД) и низкого давления, обеспечивают независимое изменение тепловой и электрической нагрузок.

[2]

Однако при таких режимах, наряду с выработкой электроэнергии на тепловом потреблении, в турбинах происходит конденсационная выработка электроэнергии на потоке пара, проходящем через ступени ЧНД в конденсатор, и соответственно имеют место значительные потери вследствие отдачи тепла пара, поступающего в конденсатор, охлаждающей воде.

[3]

В предлагаемой конденсационной турбине с регулируемыми отборами пара, наряду с указанными режимами работы, возможен еще такой режим, когда пар через ступени ЧНД для выработки электроэнергии не пропускается, при этом регулирующие органы ЧНД фиксируются в неизменном положении. Пропуск пара через ступени ЧНД постоянен (может быть минимально допустимым) и определяется условиями охлаждения ступеней ЧНД или другими причинами. Расход пара в отбор обеспечивает регулятор, воспринимающий импульс в зависимости от тепловой нагрузки, например регулятор давления, управляющий регулирующими органами ЧНД. Выработка электроэнергии определяется величиной теплового потребления.

[4]

Такой режим называется работой по тепловому графику, режимы, возможные в известных конденсационных турбинах, - работой по электрическому графику.

[5]

При работе турбины по тепловому графику экономичность повышается, так как вследствие того, что парораспределительные органы ЧНД фиксируются в положении минимального открытия, а не управляются регуляторами давления и скорости, как в турбинах старого типа, в конденсатор проходит меньшее количество пара. При этом через конденсатор может пропускаться меньшее количество охлаждающей воды, что в свою очередь повышает экономичность вследствие экономии электроэнергии, расходуемой на собственные нужды.

[6]

Режим работы по тепловому графику позволяет уменьшить конденсационную способность конденсатора и иными способами, например, пропусканием через него охлаждающей воды повышенной температуры.

[7]

Конструкция предлагаемой турбины делает возможным переход с теплового графика на электрический и обратно воздействием на специально предусмотренные переключатели с остановом турбины и на ходу, под нагрузкой. При переходе с теплового графика на электрический регулирующие органы ЧНД выводятся из фиксированного положения, и регуляторы автоматически управляют регулирующими органами ЧВД и ЧНД, изменяющими пропуск пара в турбину и конденсатор. При переходе с электрического графика на тепловой обеспечивается неподвижное состояние регулирующих органов ЧНД и автоматическое управление регулирующими органами ЧВД, определяющими пропуск пара в турбину. При нормальной работе парораспределительные органы ЧВД управляются только от регулятора, воспринимающего импульс в зависимости от изменения тепловой нагрузки, при сбросах нагрузки на них воздействует регулятор скорости.

[8]

Таким образом, турбина отличается высокой экономичностью работы по тепловому графику, и независимым выбором величин тепловой и электрической нагрузок.

[9]

При переходе на тепловой график вследствие фиксации регулирующих органов ЧНД в неподвижном состоянии значительно увеличивается неравномерность регулирования давления в отборе, поскольку при этом регулятор, воспринимающий импульс от изменения тепловой нагрузки, может управлять только парораспределительными органами ЧВД.

[10]

Для поддержания требуемой неравномерности и повышения качества регулирования при работе турбины по любому режиму в регулирующем устройстве установлены дроссели (или иные преобразовательные элементы) переключателя. Один из дросселей осуществляет разрыв связей между всеми регуляторами и сервомотором ЧНД (или только регулятором, воспринимающим импульс от изменения тепловой нагрузки и сервомотором ЧНД), фиксируемым в заданном положении. Два дросселя изменяют характеристики связей между регулятором давления и сервомотором ЧВД, устанавливая требуемую неравномерность.

[11]

Без изменения характеристик связей давление в отборе при работе по тепловому графику и при изменении количества потребляемого пара может достигнуть недопустимых значений.

[12]

На фиг. 1 и 2 приведены два варианта предлагаемого устройства.

[13]

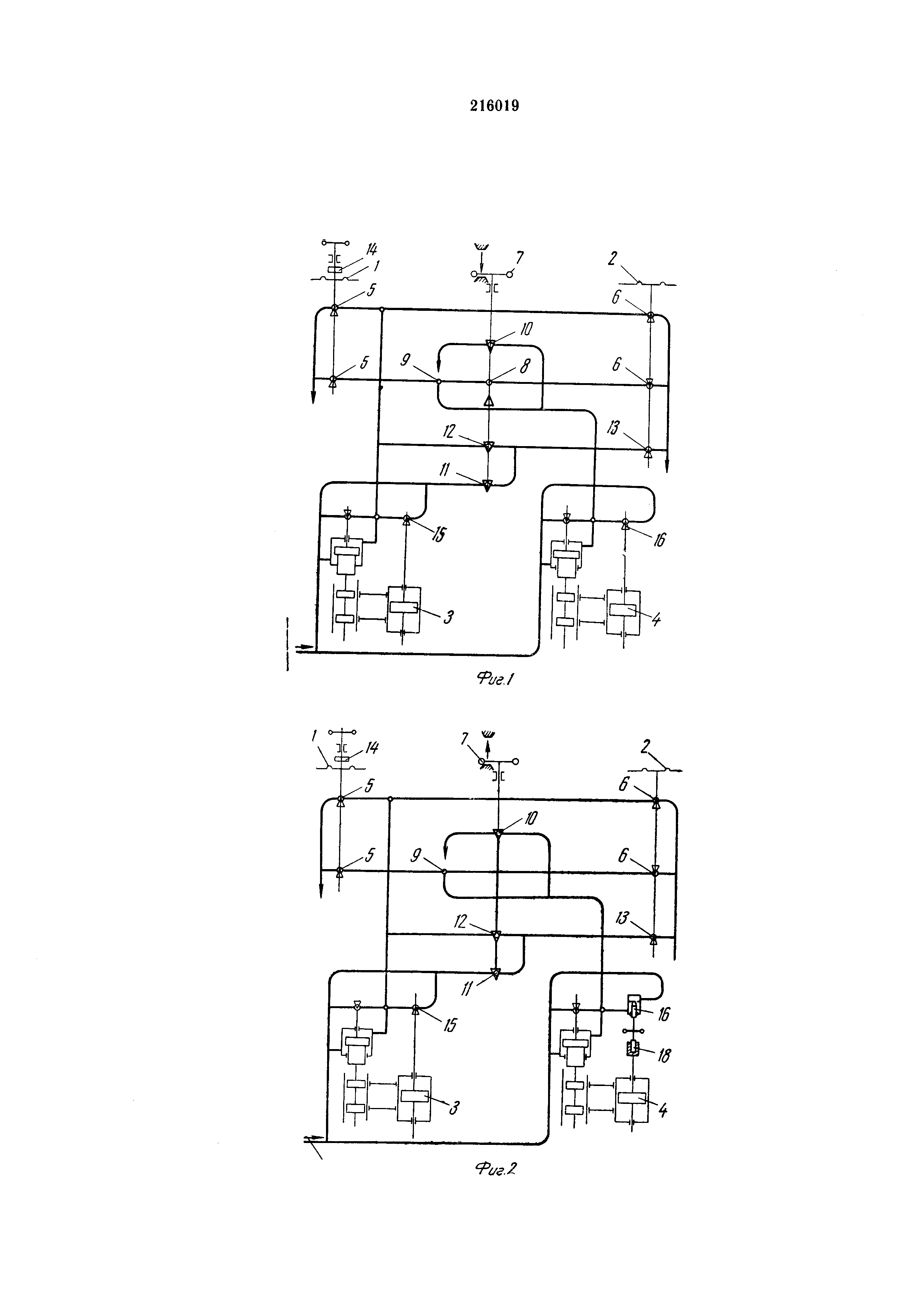
Оно включает: регулятор скорости 1 и регулятор 2, воспринимающий импульс от изменения тепловой нагрузки, сервомоторы 3 и 4 ЧВД и ЧНД, дроссели 5 и 6, посредством которых регуляторы управляют сервомоторами на режиме по электрическому графику, переключатель 7 на режим работы по тепловому графику и обратно (движение вверх соответствует включению теплового графика). При переводе на режим по тепловому графику дроссель 8 переключателя разрывает связь между регулятором давления и сервомотором ЧНД. Если этот дроссель расположен до разветвления 9, то будет разрываться связь между обоими регуляторами и сервомотором ЧНД. Дроссель 10 переключателя фиксирует сервомотор ЧНД в заданном положении, а дроссели 11 и 12 изменяют характеристики связи между регулятором давления и сервомотором ЧВД - дроссель 11 изменяет передаточный коэффициент связи (определяющий неравномерность регулирования) путем открытия линии от сервомотора ЧВД, к дополнительному дросселю 13 регулятора давления; дроссель 12 - производит эквидистантное смещение характеристики в требуемое положение, т.е. позволяет регулятору давления воздействовать на сервомотор ЧВД во всем диапазоне нагрузок. На режиме по тепловому графику регулятор скорости 1 может быть поставлен на ограничитель мощности 14, если турбогенератор включен в сеть со значительными колебаниями частоты. Сервомоторы ЧВД и ЧНД содержат дроссели обратной связи 15 и 16.

[14]

В схеме, показанной на фиг. 1, дроссели 6 и 13 связаны с одним регулятором давления, но они могут управляться разными регуляторами давления, один из которых работает на режиме по электрическому графику, а другой - на режиме по тепловому. Давление при переходе с электрического графика на тепловой обратно можно регулировать и другими элементами регулятора давления, например пружинами.

[15]

В устройстве, приведенном на фиг. 2, для более жесткой фиксации сервомотор ЧНД на режиме по тепловому графику в заданном положении прижимается к нижнему упору дросселем 10 переключателя. В результате отключаются оба регулятора и отпадает надобность в дросселе 8 (см. фиг. 1). Упор сервомотора может смещаться перемещением подвижных элементов дросселя, связанных с поршнем сервомотора 4, относительно поршня сервомотора при помощи специального устройства 18.

Как компенсировать расходы
на инновационную разработку
Похожие патенты