заявка
№ SU 1823128
МПК H02P9/42

Автономная энергосистема стабильной частоты

Авторы:
ГАЛИНОВСКИЙ АЛЕКСАНДР МИХАЙЛОВИЧ
Номер заявки
4752584
Дата подачи заявки
24.10.1989
Опубликовано
23.06.1993
Страна
SU
Как управлять
интеллектуальной собственностью
Чертежи 
5
Реферат

[60]

Использование: энергосистема может быть использована в качестве источника питания потребителей, требующих стабильной частоты при переменной частоте основной сети. Сущность изобретения: за счет введения в энергосистему преобразователя синусоидального напряжения в пря- моугольные импульсы, специального выполнения полупроводниковых коммутаторов , соединения с ними параллельно нелинейных целей с датчиками тока в каждой, особого выполнения блока управления и соединения по определенному закону обмоток электромашинного преобразователя частоты удается значительно улучшить качество выходного напряжения. 5 ил., 4 табл.

Формула изобретения

п.

«if

Ы

v

- 4

$ V:

/

tr

f4 vi s:

4|

ч.

0/П UCWuMUtV

ffUPNl/A , HQnpS XPNUU r-

0м датчиков maw

S3.SV, S7.58, 6/. 62

51 л||

IIII1- П

т г- -1 т т з.

кулра&яощин элекмробш мчриспгороб

. 37,38.4, 42,45,46

-TN

СУ

гъ

сг

- 3

ч 5:

/г вентильному коммутатору

i/ Я в Ј

If

e fr Ј«c

ON .-Ч .. А -N лч - /Ч

H±S/-,L-ifa -J Z L /LJ w .

.

. S$

. 5

Фиг.5 г

егтъ

ЯРаг.Зд

Описание

[1]

Изобретение относится к электротехнике и может быть использовано в качестве источника питания для потребителей, нуждающихся в стабилизации частоты выходного напряжения при переменной частоте вращения генераторов.

[2]

Целью изобретения является улучшение формы кривых напряжений и токов нагрузки .

[3]

На фиг.1 приведена принципиальная схема автономной энергосистемы стабильной частоты; на фиг.2 - временные диаграммы , поясняющие работу устройства (диаграммы приведены для первой фазы); на фиг.З - функциональная схема блока управления; на фиг.4 - принципиальная схема преобразователя синусоидального напряжения в прямоугольные импульсы; на фиг.5 - временные диаграммы, поясняющие работу преобразователя синусоидального напряжения в прямоугольные импульсы.

[4]

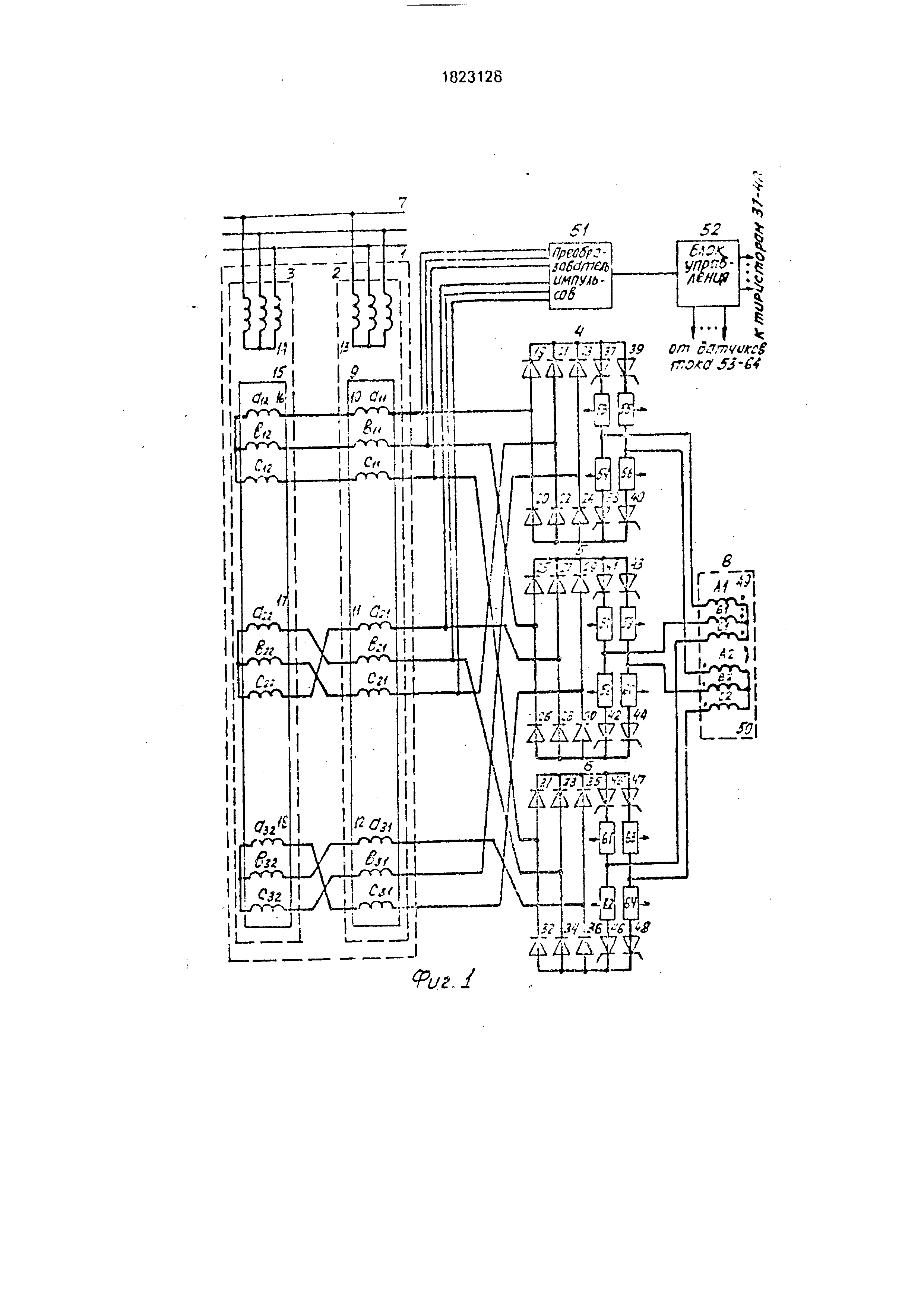
Автономная энергосистема стабильной частоты содержит генератор 1, выполненный в виде двух электромашинных преобразователей 2, 3 частоты, роторы которых жестко связаны между собой и с приводным двигателем не показан, три трехфазных полупроводниковых коммутатора 4, 5, 6. трехфазный источник 7 напряжения фиксированной частоты и трехфазную нагрузку 8, причем якорная обмотка 9 первого электромашинного преобразователя 2 частоты выполнена в виде трех секций 10,11,12, уложенных в одни и те же пазы со сдвигом каждой фазы в секциях 10-12 на 120 электрических градусов друг относительно друга, начала первой аи, второй Ьп и третьей си фаз первой 10 (второй 11, третьей 12) секций первого электромашинного преобразователя 2 присоединен к первому (вторым, третьим) входам первого 4, второго 5 и третьего 6 полупроводниковых коммутаторов, обмотка 13 возбуждения

[5]

Ј

[6]

00

[7]

N) CJ

[8]

ГО

[9]

оо

[10]

первого электромашинного преобразователя 2 подключена к источнику 7 напряжения фиксированной частоты с обратным чередованием фаз по отношению к обмотке 14 возбуждения второго электромлиинного преобразователя 3, якорная обмотка 15 второго электромашинного преобразователя 3 частоты выполнена также в виде трех секций 16, 17, 18, уложенных в одни и те же пазы со сдвигом каждой фазы в секциях 16- 18 на 120 электрических градусов друг относительно друга, концы фаз секций 10-12 якорной обмотки 9 первого электромашинного преобразователя 2 соединены с началами фаз секций 16-18 якорной обмотки 15 второго электромашинного преобразователя 3, причем в первых секциях 10 и 16 соединены между собой первые an, an, вторые on, bi2 и третьи en, C12 фазы, во вторых секциях 11 и 17 - первая 321 с третьей С22, вторая D21 с первой 322 и третья С21 со второй D22, в третьих секциях 12 и 18 - первая aai со второй Ьз2, вторая Ьз1 с третьей сз2 и третья сз1 с первой аз2 фазами, а концы фаз

[11]

312. bl2. С12, 322, U22, С22, 332, Ьз2, С32 СООТВ6Т-

[12]

ственно в каждой секции 16-18 второго электромашинного преобразователя 3 объединены в звезду, каждый полупроводниковый преобразователь 4-6 выполнен в виде трехфазного диодного моста с диода- ми 19-24, 25-30, 31-36 соответственно, выходы которого зашунтированы двумя согласно включенными параллельно цепочками , каждая из которых состоит из двух последовательно включенных тиристоров и двух датчиков тока 37, 38, 53 и 39, 40, 55, 56; 41, 42, 57, 58 и 43, 44. 59, 60; 45, 46, 61. 62 и 47, 48. 63, 64 соответственно, трехфазная нагрузка 8 выполнена раздельной на две одинаковые секции 49, 50. магнитосвязан- ные между собой, причем начала каждой фазы А1, В1, С1 первой секции 49 нагрузки 8 присоединены к общей точке соединения тиристоров 37, 38; 41. 42; 45, 46 соответственно каждого полупроводникового комму- татора 4-6, а концы фаз А1, В1, С1 первой секции 49 нагрузки 8 объединены в звезду , концы каждой А2, В2, С2 второй секции 50 нагрузки 8 подключены к общей точке соединения тиристоров 39, 40; 43,44; 47, 48 соответственно каждого полупроводникового коммутатора 4-6, а начала фаз А2, В2, С2 второй секции 50 нагрузки 8 объединены в звезду. Автономная энергосистема содержит также преобразователь 51 синусои- дальнего напряжения в прямоугольные импульсы, входы которого соединены с на- чаламифазап,bii.cn, 321,Ь21,С21 секций 10 11 якорной обмотки У первого электромашинного преобразователя 2 частоты, а выходы соединены с основным информационным входом блока 52 управления, состоящего из двух идентичных частей 65, 66 (фиг.З), дополнительные информационные входы блока 52 управления подключены к датчикам 53-64 тока нагрузки 8, выходы блока 52 управления подсоединены к управляющим электродам тиристоров 37-48.

[13]

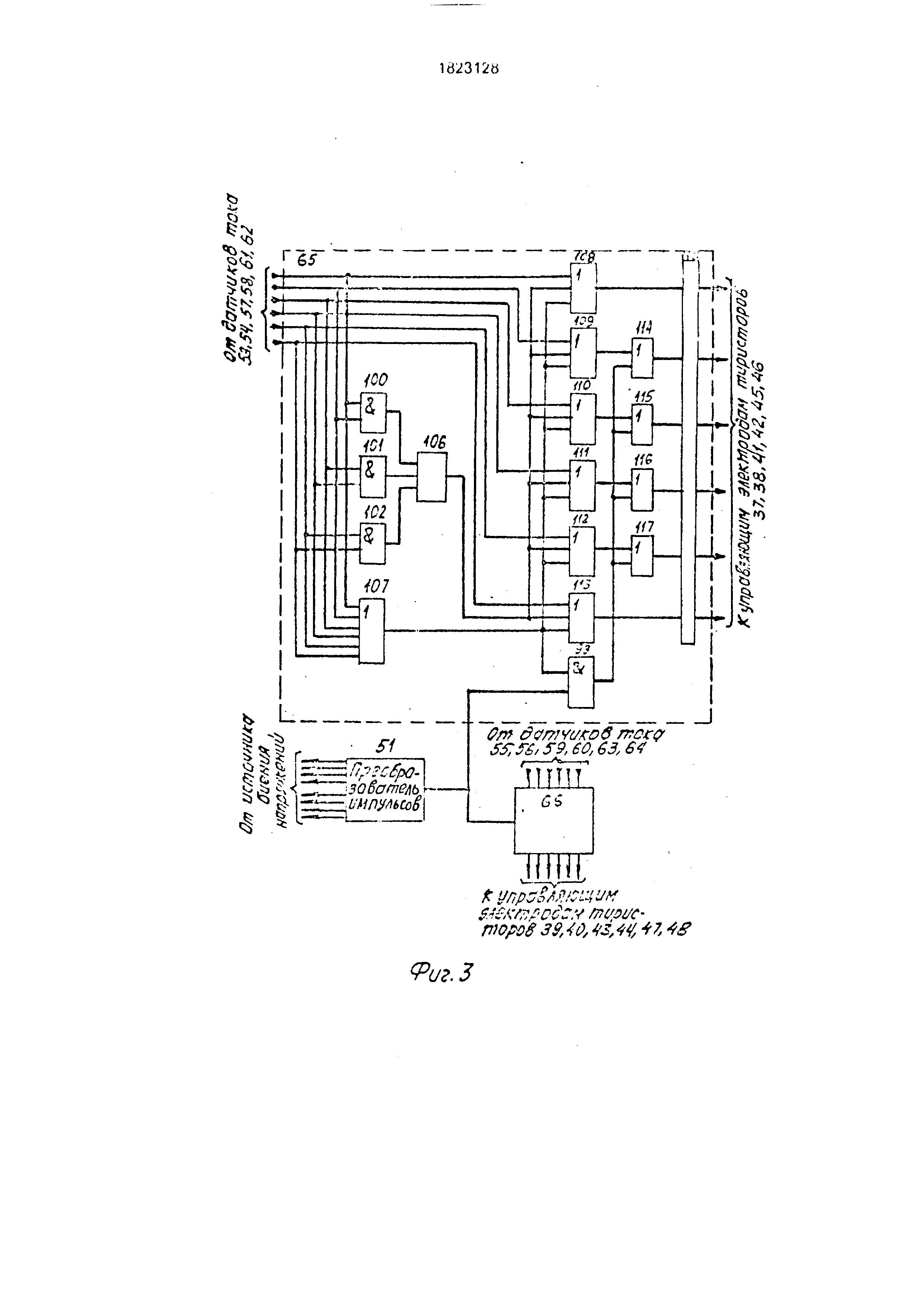
Преобразователь 51 синусоидального напряжения в прямоугольные импульсы (фиг.4) состоит из четырех трехфазных цепочек 67, 68, 69 и 70, каждая фаза dn, . dsi: dii, d2 i, da i и en, 621, eai; e n , 621, 631 которых представляет собой последовательно соединенные диод и резистор соответственно 71 и 77, 72 и 78, 73 и 79, 89 и 83, 90 и 84, 94 и 88, трехфазные цепочки 67, 69 и 68, 70 объединены в два трехфазных моста 104, 105, нагрузками которых Служат балластные сопротивления 95 и 96 соответственно , причем в одну из фаз dn и ез1 каждого моста включен электронный ключ 97 и 98 соответственно, потенциально развязанный от преобраэоватрлл 51, выходы электронных ключей 97 и 98 каждого моста соединены с входами элемента 103 2И, выход которого является выходом преобразователя 51, Выход преобразователя 51 подключен к информационным входам блоков 65,66, а именно к первому входу первого элемента 99 2И (фиг.З), а входы второго, третьего, четвертого элементов 100-102 2И предназначены для подключения датчиков 53, 54, 57, 58, 61, 62 тока нагрузки (фиг.1) причем входы элементов 100-102 2И соединены со всеми входами элемента 107 6ИЛ И- НЕ и с первыми входами каждого из шести элементов 108-113 ЗИЛИ-НЕ, выходы элементов 100-102 2И соединены со всеми тремя входами элемента 106 ЗИЛИ-НЕ, выход которого подключен ко вторым входам элементов 108-113 ЗИЛИ-НЕ, выход элемента 107 6ИЛИ-НЕ подключен к третьим входам всех шести элементов 108-113 ЗИЛИ-НЕ и ко второму входу первого элемента 99 2И, выход которого соединен с первыми входами всех четырех элементов 114-117 2ИЛИ, выходы второго, третьего, четвертого и пятого элементов 109-112 ЗИЛИ-НЕ подключены ко вторым входам всех элементов 114-117 2ИЛИ соответственно, выходы которых , а также выходы первого и шестого элементов ЗИЛИ-НЕ 108, 113 предназначены для подключения к управляющим электродам тиристоров 37. 38, 41, 42, 45, 46.

[14]

Автономная энергосистема стабильной частоты работает следующим образом.

[15]

Поскольку обмотки возбуждения 13, 14 трехфазных электромашинных преобразователей 2, 3 подключены к источнику 7 на Em Sln( 0)lsln a) Ht-cos( W6t Em Sin( UHt- Em Sln( (O пряжения фиксированной частоты с обратным чередованием фаз по отношению друг к другу, то вращение создаваемых ими полей осуществляется в противоположном направлении . Тогда на выходах всех фаз якорных обмоток 9, 15, соединенных между собой, наводятся суммарные ЭДС:

[16]

ваА ва12 + 6a11 Em Sln ftJHt.COS 0) 6t;

[17]

еьд ™ еь22 + еь22 + вс21 Em-sln( yHt- 120°).cos ож:

[18]

ecA-ec32 + eb3i Em-sln( ш Ht-240°).cos OJ6t;

[19]

+ еь11 Em sln a Ht.cos( со 6t- 120°):

[20]

еьв eC22 + ea2i Em -sln( a) „t-120°).cos( 6U6t-120°);

[21]

CcB 6a32 + 6с31

[22]

240°)-cos( W6t-120°):

[23]

eac еС12 + ecii Em 240е);

[24]

etc ea22 + еь21 120°). cos(u 6t-240°);

[25]

ecc еьз2 + еаз1 240°).-cos( W6t-240°), где еадвес - суммарная ЭДС соответствующих фаз;

[26]

eai iесз1 - ЭДС соответствующих фаз

[27]

первой машины 2;

[28]

еа12ес32 - ЭДС соответствующих фаз

[29]

второй машины 3;

[30]

Em - амплитудное значение ЭДС; Шн несущая частота напряжения; о б - частота биений напряжения. На фиг.2а приведены кривые ЭДС для фазы А1, кривые ЭДС фаз В1 и С1 сдвинуты соответственно на 120 электрических градусов относительно фазы А1 и одна относительно другой.

[31]

В исходном состоянии токи в фазах А1, В1 и С1 нагрузки 49, а, следовательно, и в датчиках 53 и 54, 57 и 58, 61 и 62 тока нагрузки равны нулю. При этом нулевые сигналы присутствуют на всех входах второго 100, третьего 101 и четвертого 102 элементов 2И, элемента 107 6ИЛИ-НЕ и на первых входах всех шести элементов 108-113 ЗИЛИ-НЕ, На входах второго 100, третьего 101 и четвертого 102 элементов 2И и на всех входах элемента 106 ЗИЛИ также нулевые сигналы, что обеспечивает нулевой сигнал на входе элемента 106 ЗИЛИ и, соответственно , на вторых входах всех шести элементов 108-113 ЗИЛИ-НЕ. На выходе элемента 107 6ИЛИ-НЕ присутствует единичный сигнал , который поступает на второй вход элемента 99 2И и на третьи входы всех шести элементов 108-113 ЗИЛИ-НЕ, что обеспечивает нулевые сигна.лы на выходах и, соответственно , на вторых входах всех четырех элементов 114-117 2ИЛИ.

[32]

Биения напряжений поступают с двух секций генератора 9 на входы преобрэзова5 теля 51 синусоидального напряжения в прямоугольные импульсы. В фазах dn, d2i, dat и en, 621. ез1. соответственно, цепочек 67 и 68 выделяются напряжения несущей частоты , показанные на фиг.ба и 56, причем на

[33]

0 фиг.Ба показаны напряжения: линии без значков- вфaзaxd11, d 12; линии с черточкой - в фазах bi2. bit; линии с крестиком - в фазах ci2, cii; на фиг.56, соответственно, в фазах 321, С22; в фазах Ь21. d22: в фазах С21.

[34]

5 D22. При этом электронный ключ 97 в фазе dn цепочки 67 откроется в моменты, пока: занные на фиг.Бв, а ключи 98 в фазе eai цепочки 68 - в моменты времени, показанные на фиг.5г. Импульсы с выходов ключей

[35]

0 поступают на входы элементы 103 2И, с выхода которого подаются на информационный вход блока управления 52 (фиг.5д). При этом на выходе 107 элемента 6ЙЛИ-НЕ и на втором входе первого элемента 99 2И присутствуют единичные сигналы, а на выходе элемента 99 2И единичные сигналы появляются тогда же, когда и на выходе преобразователя 51 синусоидального напряжения в

[36]

0 прямоугольные импульсы. Это обеспечивает появление единичных сигналов на первых входах и выходах всех четырех элементов 114-117 2ИЛИ и на соответствующих управляющих электродах тиристоров

[37]

5 38, 41, 42, 45. Таким образом, при запуске обеспечивается включение двух тиристоров 41,42 не более чем в одной фазе нагрузки 8, в данном случае в фазе В, и по одному тиристору 38 и 45, соответственно, в двух других

[38]

0 фазах А и С нагрузки 8. Аналогично работает блок 66, обеспечивая появление управляющих сигналов на тиристорах 40, 43, 44, 47. При появлении тока в нагрузке 8, первая гармоника которого показана на фиг.2б для

[39]

5 фаз А1 и А2, срабатывает по крайней мере один из датчиков тока нагрузки 53-64, в результате чего на одном из входов элемента 107 6ИЛИ-НЕ появляется единичный сигнал , а на его выходе - нулевой сигнал,

[40]

0 который поступает на второй вход первого элемента 99 2И, запирая его для импульсов от преобразователя 51 и на первые входы всех шести элементов 108-113 ЗИЛИ-НЕ, снимая запрет на управление от датчика

[41]

5 53-64 тока нагрузки. В течение одного периода модулирующего напряжения низкой частоты сигналы управления подаются на тиристоры 37-48 в соответствии с диаграммами , изображенными на фиг.2в, 2г, на которых заштрихованными участками показаны промежутки времени, в которые

[42]

включены соответствующие пары тиристоров, причем сигналы на фиг.2в сдвинуты на 180° относительно сигналов на фиг,2г. Величина уставки 1уст датчиков 37-48 тока нагрузки может лежать в пределах (1,2-2)1уд Уст 0,5lm. где уд - ток удержания для данного типа тири- стЬров, im-амплитуда тока нагрузки. .

[43]

При этом тиристоры включаются согласно показанному в таблицах 1-4. а В моменты перехода тока нагрузки через нуль коммутация тиристоров и диодов происходит согласно табл.2 и 3.

[44]

В моменты перехода тока нагрузки через нуль коммутация тиристоров происходит автоматически согласно показанному в табл.4.

[45]

В результате такой естественной коммутации тиристоров 37-48 и диодов 19-36 полупроводниковых коммутаторов 4-6 на первой секции 49 нагрузки 8 появляется напряжение: на фазе А1 - UAI (фиг.2д), на фазе В1 - UBL аналогично фазе А1, но сдвинутое на 120 электрических градусов, на фазе С1 - Uci, аналогично фазе А1, но сдвинутое на 240 электрических градусов, и через фазы первой секции будут протекать токи, первая гармоника которого для фазы А1 показана на фиг.26. На второй секции 50 нагрузки 8 появляется напряжение: на фазе А2 - UA2 (фиг.2д), на фазе В2 - UB, аналогично фазе А2, сдвинутое на 120 электрических градусов , на фазе С2 - Uc2, аналогично фазе А2, но сдвинутое на 240 электрических градусов , и через фазы второй секции 50 будут протекать токи, первая гармоника которого для фазы А2 показана на фиг.26.

[46]

Формула изобретения Автономная энергосистема стабильной частоты, содержащая машинно-вентильный генератор, выполненный в виде двух трехфазных электромашинных преобразователей частоты, расположенных на одном валу, три трехфазных полупроводниковых коммутатора , трехфазный источник напряжения фиксированной частоты и трехфазную нагрузку , соединенную с выходами коммутаторов , причем якорная обмотка первого преобразователя частоты, выполненная в виде трех секций, расположенных в одних и тех же пазах якоря со сдвигом каждой фазы в секциях на 120эл. град, начала фаз каждой секции первого преобразователя частоты

[47]

подключены к силовым входам соответствующего коммутатора, входы управления которых связаны с выходами блока управления, имеющего информационный

[48]

вход, при этом трехфазные индукторные обмотки преобразователей подключены к выводам источника фиксированной частоты с обратным чередованием фаз одной обмотки по отношению к другой, отличаю ща я с я тем что, с целью повышения качества выходной электроэнергии, дополнительно введен преобразователь синусоидального напряжения в прямоугольные импульсы, каждый полупроводниковый

[49]

коммутатор выполнен в виде трехфазного двухполупериодного моста, к выходу постоянного тока которого подключены две параллельно соединенных цепи, каждая из которых состоит из двух последовательно

[50]

включенных тиристоров и двух датчиков тока , соединенных с каждым тиристором так, что датчики тока в каждой цепи имеют общую точку, блок управления коммутаторами снабжен дополнительными информационными входами, соединенными с выходами датчиков тока, основной информационный вход блока управления коммутаторами соединен с выходом преобразователя синусоидального сигнала, входы которого

[51]

подключены к началам фаз первой и второй секций якорной обмотки первого преобразователя частоты, якорная обмотка второго преобразователя частоты выполнена по размещению п пазах якоря аналогично

[52]

якорной обмотке первого преобразователя частоты, концы фаз в каждой секции второго преобразователя частоты соединены в звезду , а начала фаз этих же секций подключены к концам фаз соответствующих секций якорных обмоток первого преобразователя, в первой секции с одноименными фазами, во второй секции - первая фаза с второй фазой , вторая фаза с третьей фазой, третья фаза с первой фазой, а в третьей секции первая фаза с третьей фазой, вторая фаза с первой фазой, третья фаза с второй фазой, причем нагрузка выполнена из двух магни- тосвязанных между собой трехфазных обмоток , у одной из которых объединены

[53]

начала, а у другой - концы обмоток, а другие выводы одноименных фаз обмоток соединены с общей точкой датчиков тока одного и того же полупроводникового коммутатора.

[54]

Таблица 2

[55]

Таблица 4

[56]

Т7Г7Г

[57]

л- muptfcnropctf 37-4,

[58]

//

[59]

Как компенсировать расходы
на инновационную разработку
Похожие патенты