заявка
№ SU 1787291
МПК H01H11/04

Способ определения МДС срабатывания и МДС отпускания геркона

Авторы:
ДАВЫДОВ СЕРГЕЙ ВЛАДИМИРОВИЧ ШОФФА ВАДИМ НИКОЛАЕВИЧ ЧИЧЕРЮКИН ВИКТОР НИКОЛАЕВИЧ
Все (4)
Номер заявки
4929153
Дата подачи заявки
17.04.1991
Опубликовано
07.01.1993
Страна
SU
Как управлять
интеллектуальной собственностью
Чертежи 
1
Реферат

[42]

Использование: относится к области электротехники и может быть использовано для определения характеристик срабатывания и отпускания герконов, содержащих основной и дугогасительный контакты, при их изготовлении и контроле. Сущность изобретения: способ включает в себя плавное увеличение тока управления при срабатывании и плавное его уменьшение при отпускании, регистрацию состояния основного и дугогасительного контактов и измерение тока управления в момент срабатывания и отпускания этих контактов, причем в процессе изменения тока управления осуществляют регистрацию значения производной- переходного сопротивления геркона в функции указанного тока управления, МДС срабатывания дугогасительного контакта определяют при появлении первого ненулевого значения указанной производной, МДС срабатывания основного контакта определяют при появлении последнего экстремума производной, МДС отпускания основного контакта определяют при появлении первого ненулевого значения указанной производной, а МДС отпускания дугогасительного контакта определяют при появлении последнего экстремума производной . 4 ил. (Л

Формула изобретения

Фие.1

dlynp

Ж ctf

УУ

д

Фиг. 2

HЈf

Описание

[1]

. Изобретение относится к области электротехники и может быть использовано для определения характеристик срабатывания и отпускания герконов повышенной коммутируемой мощности, содержащих основной и дугогасительный контакты (фиг.1) при их изготовлении и контроле.

[2]

Известен способ определения МДС срабатывания и МДС отпускания геркона, согласно которому плавно увеличивают ток управления при срабатывании и плавно его уменьшают при отпускании, регистрируют при этом состояние контактов и измеряют значения указанного тока в момент замыкания контактов при срабатывании и размыка- нйя их при отпускании. Момент замыкания и размыкания контактов фиксируют соответственно по появлению или исчезновению тока нагрузки через контакты геркона. Значения МДС срабатывания и отпускания вычисляют путем умножения полученных соответствующих значений токов управления на число витков управляющей обмотки. Недостаток данного способа заключается в том, что он не может быть распространен на герконы повышенной коммутируемой мощности, которые имеют две пары контактов - основную и дугогасиXJ со

[3]

Сд

[4]

ельную. Это связано с тем, что при увелиений тока управления сначала замыкается угогасительная. пара контактов данного еркона, затем - основная, а при уменьшеии указанного тока процесс размыкания происходит в обратном порядке. Поскольку рабочим является такое состояние геркона, при котором основная контактная пара замкнута ,, то за МДС срабатывания этого геркона принимают такое значение МДС обмотки правления, которое минимально необхоимо для замыкания указанной пары. Однако ток нагрузки может протекать через геркон и в том случае, когда замкнутой бует одна дугогасительная пара, поэтому указанный выше способ и не решает задачи по определению МДС срабатывания герко- на повышенной коммутируемой мощности. Кроме того, по той же причине этот способ не дает возможности определить значение МДС отпускания основной контактной пары , а значит, не позволяет найти нижнее значение допустимого диапазона изменения рабочей МДС обмотки управления.

[5]

Известен способ определения МДС срабатывания и МДС отпускания геркона, содержащего основной и дугогасительный контакты, включающий в себя плавное увеличение тока управления при срабатывании и плавное его уменьшение при отпускании, регистрацию состояния основного и дугогасительного контактов путем измерения их переходного сопротивления, и измерение тока управления в момент срабатывания и отпускания этих контакт с последующим умножением полученных значений на число витков обмотки управления. МДС срабатывания дугогасительных контактов определяют в момент изменения значения переходного сопротивления от уровня разомкнутого состояния (мегоомы) до уровня единиц ом; МДС срабатывания основных контактов определяют в момент уменьшения переходного сопротивления на один- два порядка от предыдущего уровня (до десятых-сотых долей ома); МДС отпускания основных контактов определяют в момент изменения переходного сопротивления от десятых (сотых) долей ома до единиц ома, а МДС отпускания дугогасительных контактов определяют, в момент изменения переходного сопротивления от единиц ома до уровня разомкнутого состояния. .

[6]

. Недостаток данного способа заключается в том, что он может быть реализован лишь для тех герконов повышенной коммутируемой мощности, основной и дугогасительный контакты которых покрыты или выполнены из различных материалов, обладающих ярко выраженным отличием в уровне переходного сопротивления. Такое отличие наблюдается, например, при выполнении дугогасительных контактов из вольфрама, а основных из серебра. В этом

[7]

случае плавное, изменение тока управления ведет к ступенчатому изменению уровня переходного сопротивления при последовательном срабатывании или отпускании контактных пар, а это дзет возможность оп0 ределить соответствующие МДС их срабатывания и отпускания. Однако в ряде случаев возникает необходимость выполнения контактных покрытий из различных материалов с близкими по значению уровнями

[8]

5 переходных сопротивлений. Так, например, выполнение контактного покрытия основных контактов из никель-вольфрамового сплава взамен серебра способствует повышению устойчивости к залипанию геркона в

[9]

0 обесточенном состоянии (такой сплав уже слабо отличается по переходному сопротивлению от вольфрама). В этом случае замыкание или размыкание основной контактной пары не приводит к появлению сколько-ни5 будь заметного скачка в уровне переходного сопротивления, а это не дает возможности достоверно определить МДС срабатывания и МДС отпускания указанной контактной пары.

[10]

0 Целью изобретения является повышение достоверности определения МДС срабатывания и МДС отпускания герконов, содержащих основной и дугогасительный контакты.

[11]

5

[12]

Поставленная цель достигается тем, что при реализации способа определения МДС срабатывания и МДС отпускания геркона, содержащего основной и дугогасительный

[13]

0 контакты, включающего плавное увеличение тока управления при срабатывании и плавное его уменьшение при отпускании, регистрацию состояния основного и дугога- сительного контактов и измерение тока уп5 равления в момент срабатывания и отпускания этих контактов, согласно изобретению в процессе изменения тока управления регистрируют значения производной переходного сопротивления геркона в фун0 кции указанного тока управления, МДС сра- батывания дугогасительного контакта определяют при выявлении первого ненулевого значения указанной производной, МДС срабатывания основного контакта оп5 ределяют при появлении последнего экстремума производной, МДС отпускания основного контакта определяют при появлении первого ненулевого значения указанной производной, а МДС отпускания дугогасительного контакта определяют при

[14]

появлении последнего экстремума производной .

[15]

Зависимость производной переходного сопротивления геркона по току управления от указанного тока позволяет четко определить моменты срабатывания и отпускания основной и дугогасительной пар контактов с любым покрытием, следовательно, предложенный способ более достоверен по сравнению с прототипом.

[16]

В просмотренных источниках информации признаков, сходных с отличительными признаками заявленного способа, не обнаружено , что говорит о соответствии предложенного технического решения критерию существенные отличия.

[17]

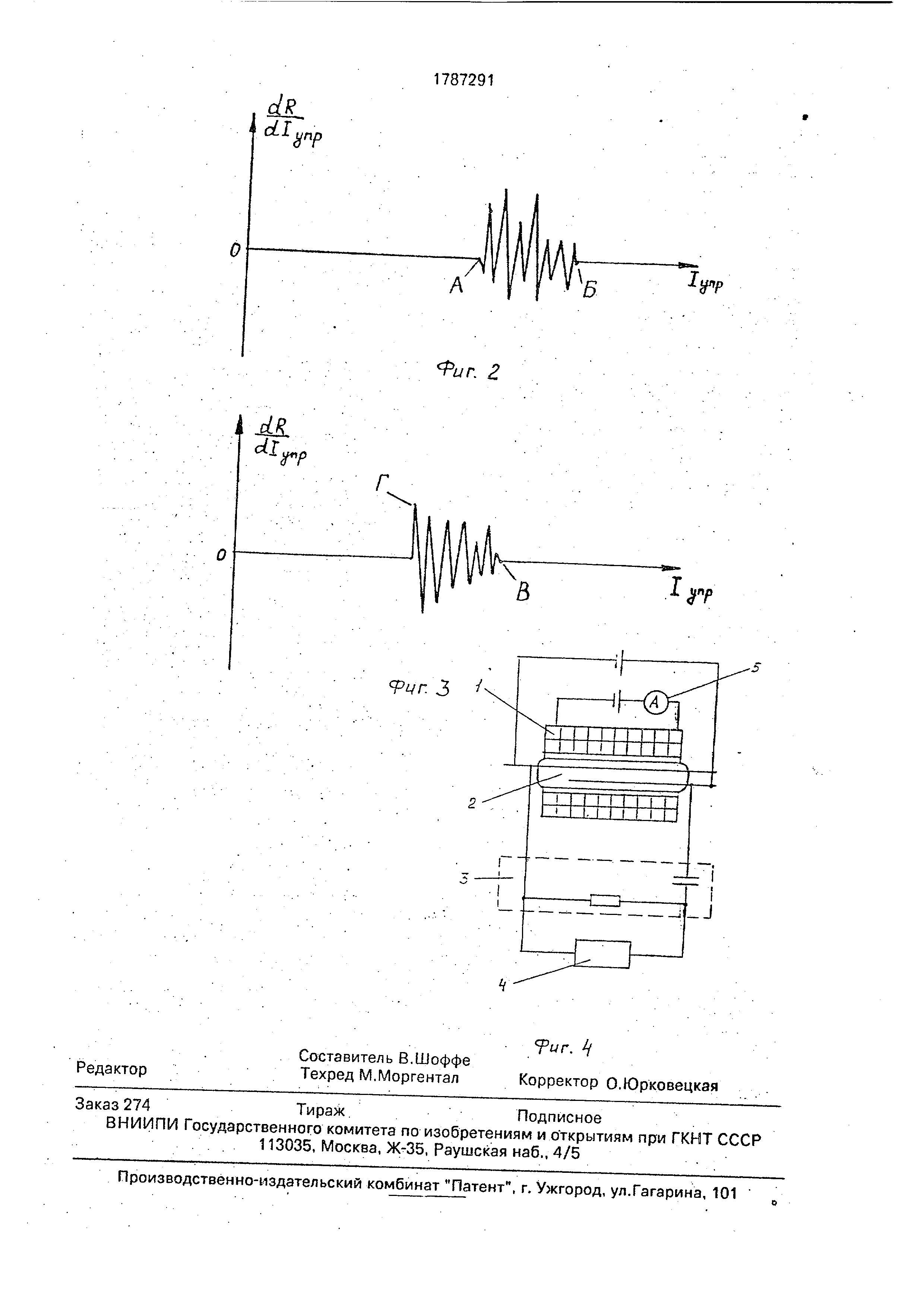
Нафиг.1 показан конструкция геркона, содержащего основную I идугогасительную IJ контактные пары; на фиг. представлены экспериментальные зависимости производной переходного сопротивления геркона по току управления dR/dlynp от указанного тока lynp при плавном увеличении (фиг.2) и последующем уменьшении (фиг.З) последнего для геркона типа МКА-52202 с дугогасительными контактами, выполненными из вольфрама, и с основными контактами , покрытыми никель-вольфрамовым сплавом.

[18]

На фиг.4 представлена одна из возможных схем, позволяющая реализовать предлагаемый способ.

[19]

Способ может быть реализован следующим образом.

[20]

В катушку управления (фиг.4), внутри которой расположен исследуемый геркон 2 (фиг.4), подают ток управления, плавно увеличивают его от нулевого значения и измеряют при этом соответствующие значения производной переходного сопротивления геркона в функции указанного тока. Сказанное можно осуществить любым из известных способов, например, подключив контакты геркона к источнику тока, измеряя падение напряжения на них и дифференцируя последнее с помощью стандартного дифференцирующего звена 3 (фиг.4), В момент появления первого ненулевого значения упомянутой производной (точка А на фиг.2), которое можно зафиксировать с помощью регистрирующего прибора 4 (фиг,4) (например, графопостроителя), измеряют по амперметру 5 значение тока управления и по нему вычисляют МДС срабатывания дугогасительных контактов (И на фиг.1). В процессе дальнейшего увеличения тока управления по регистрирующему прибору 4 (фиг.4) контролируют поведение исследуемой производной и в момент появления последнего экстремума (точка Б на фиг.2) по

[21]

амперметру 5 (фиг.4) фиксируют значение упомянутого тока, по которому вычисляют МДС срабатывания основных контактов (I на фиг.1). После некоторого дальнейшего

[22]

5 увеличения тока управления начинают его плавное снижение, продолжая контролировать поведение исследуемой производной. При появлении первого ее ненулевого значения (точка В на фиг.З) измеряют ток управ0 ления и по нему определяют МДС отпускания основных контактов, а при появлении последнего экстремума производной в процессе последующего уменьшения тока управления измеряют значение тока и по

[23]

5 нему определяют МДС отпускания дугогасительных контактов (точка Г на фиг.З).

[24]

Сущность физических процессов, происходящих при таком измерении, заключается в следующем.

[25]

0 . . . . - :

[26]

Увеличение тока управления от нулевого значения до момента замыкания.дугогасительных контактов не вызывает изменения сопротивления геркона в разо5 мккутом состоянии, которое практически равно бесконечности, поэтому значение dR/dlynp до указанного момента равно нулю . В момент первого касания дугогасительных контактов переходное сопротивление

[27]

0 геркона резко уменьшается, что приводит к появлению ненулевого значения dR/dlynp, по наличию которого и можно определить МДС срабатывания дугогасительных контактов . В механическом отношении указан5 ное срабатывание означает, что подвижная контакт-деталь геркона помимо заварки приобретает дополнительную точку опоры на дугогасительную контактную пару, при этом последующее увеличение тока управ0 ления приводит к постепенному увеличению прогиба подвижной контакт-детали в направлении неподвижной контакт-детали относительно двух точек опоры до момента срабатывания основных контактов. Увели5 чение упомянутого прогиба и уменьшение расстояния между основными контактами происходит при фиксированном положении конца подвижной контакт-детали в месте заварки, в то время как ее противополож0 ный конец в месте контактирования дугогасительных контактов постепенно перемещается относительно места контактирования неподвижной контакт-детали.

[28]

5 Сказанное приводит к тому, что при плавном увеличении тока управления от момен- та первого замыкания дугогасительных контактов до момента замыкания основных . контактов переходное сопротивление геркона из-за постоянного изменения положе- ния точек контактирования дугогасительной

[29]

контактной пары меняется, увеличиваясь или уменьшаясь в зависимости от состояния поверхности, наличия микровыступов, трещин , пленок и т.п. Чередующиеся увеличения и уменьшения значения переходного сопротивления геркона при увеличении тока управления приводят к тому, что производная dR/dlynp регулярно меняет знак, и этот процесс нетрудно фиксировать с помощью какого-либо регистрирующего прибора (например, графопостроителя, осциллографа и т.п.). Замыкание основных контактов при увеличении тока управления приводит к прекращению относительного перемещения контактных поверхностей ду- погасительной пары, и стабилизации.переходного сопротивления геркона, вследствие чего dR/dlynp принимает нулевое значение. Следовательно, момент последнего экстремума величины dR/dlynp соответствует срабатыванию основных контактов , а измеренное при этом-значение тока управления позволяет определить МДС- срабатывания основных контактов геркона . .-.. . .

[30]

Физические процессы, происходящие при плавном уменьшении тока управления и позволяющие определить МДС отпускания основных и дугогасит-ельных контактов, аналогичны указанным выше, но происходят в обратном порядке.

[31]

Экспериментальная проверка показала , что точность измерения МДС срабатывания и МДС отпускания герконов, имеющих существенное отличие в переходных сопротивлениях основной и дугогасительной контактных пар, по предлагаемому способу соответствует точности прототипа, а для случая, когда разница между переходными сопротивлениями указанных контактных пар незначительна, точность предлагаемого способа не меняется, в то время как измерение по прототипу неосуществимо,

[32]

Таким образом, предложенный способ позволяет определить МДС срабатывания и МДС отпускания геркона с покрытиями основой и дугогасительной контактных пар,

[33]

выполненными из любого требуемого материала не зависимо от того, существует или нет разница в уровне переходного сопротивления упомянутых контактных пар. Следовательно , предложенный способ

[34]

обладает повышенной достоверностью для герконов, имеющих несущественное отличие в уровне переходных сопротивлений основной и дугогасительной контактных пар, и по крайней мере не худшей достоверностью , чем в прототипе, для тех герконов. у которых упомянутое отличие существует. Формула, изобретения- Способ определения МДС срабатывания и МДС отпускания геркона, содержаще

[35]

го основной -и дугогасительный контакты, включающий плавное увеличение тока управления при срабатывании и плавное его уменьшение при отпускании, регистрацию состояния основного и дугогасительного

[36]

контактов и измерение тока управления в момент срабатывания и отпускания этих контактов, о т пинающийся тем, что, с целью повышениядостоверности. в процессе изменения тока управления регистрируют значения производной переходного

[37]

сопротивления геркона в функции указан ного тока управления, МДС срабатывания

[38]

дугогасительного контакта определяют при

[39]

появлении первого ненулевого значения

[40]

указанной производной, МДС срабатывания основного контакта определяют при по- явлении последнего экстремума производной, МДС отпускания основного контакта определяют при появлении первого ненулевого значения указанной производной , а МДС отпускания дугогасительного контакта определяют при появлении последнего экстремума производной .

[41]

Как компенсировать расходы
на инновационную разработку
Похожие патенты