заявка
№ SU 1771062
МПК H03D13/00

Частотный детектор на расстроенных контурах

Авторы:
ПЛАЧЕНДОВСКИЙ ВЛАДИМИР ИЛЬИЧ
Номер заявки
4733861
Дата подачи заявки
01.09.1989
Опубликовано
23.10.1992
Страна
SU
Как управлять
интеллектуальной собственностью
Чертежи 
3
Реферат

[34]

Использование: радиотехника, приемные устройства, устройства автоматической подстройки частоты. Частотный детектор содержит катушку связи (1), расстроенные колебательные контуры (2, 3), диоды (5, 6) параллельные КС-цепи{9,10), дополнительную RC-цепь на резисторе (12) и конденсаторе (13), транзисторы (4,7) и резисторы (8, 11). 8 частотном детекторе благодаря наличию транзисторов 4,7 происходит шунтирование его нагрузки в зависимости от величины входного сигнала, что позволяет уменьшить влияние паразитной амплитудной модуляции. 4 ил.

Формула изобретения

и&ь

Vb

-

Цбых

Фиг. 2

VR9/S/

VRvlty

Tfaf)

-Уёых легф

Фиг. Ье.

Описание

[1]

Известен частотный детектор (см. А.П.Жуковский. Радиоприемные устройства, М.: Высшая школа, 1989, с. 148, рис. 7.37) с двумя взаимнорасстроенными колебательными контурами.

[2]

Частотный детектор (фиг.1) содержит два последовательно соединенных расстроенных колебательных контура 2 и 3 с двумя последовательно соединенными катушками связи 1, которые являются входом устройства .

[3]

Первый колебательный контур 2 настроен на частоту fi, а второй колебательный контур 3 настроен на частоту fa.

[4]

Напряжение с первого колебательного контура 2 подается на первый амплитудный детектор состоящий из диода 4 и нагрузки (паралельно соединенных резистора и конденсатора ) 6. Напряжение со второго колебательного контура 3 подается на второй амплитудный детектор, состоящий из диода 5 и нагрузки (параллельно соединенных резистора и конденсатора) 7.

[5]

Если изменять частоту сигнала на входе частотного детектора, то выпрямленное напряжение амплитудных детекторов будет изменяться в соответствии с резонансными кривыми колебательных контуров 2 и 3.

[6]

Амплитудные детекторы включены так, что выходное напряжение равно разности напряжений на нагрузках 6 и 7.

[7]

Достоинством частотного детектора является то, что он имеет широкую полосу пропусания, удобен в настройке и регулировке , применяется для АПЧ.

[8]

Существенным недостатком является то, что для уменьшения влияния паразитной амплитудной модуляции перед частотным детектором возникает необходимость включать усилитель ограничитель, а также и то, что в частотном детекторе плохо используется усиление приемного устройства.

[9]

Целью изобретения является уменьшение влияния паразитной амплитудной моду- ляции, что приводит к лучшему использованию усиления приемного устройства .

[10]

VJ VJ

[11]

О

[12]

О N)

[13]

Поставленная цель достигается тем, что в частотном детекторе между выходом кйждо го диодного нелинейного элемента и шиной включен элемент с управляемым сопротивлением , выполненный на транзисто- ре, в эмиттерной цепи которого включен резистро база подключена к входу диодного нелинейного элемента а база-коллекторный переход транзистора включен встречно р-п- переходу диодного нелинейного элемента. между точкой соединения других выводов параллельных RC-цепей, являющейся выходом частотного детектора, и общей шиной включена дополнительная параллельная RC-цепь, другие выводы первого и второго контуров подключены к общей шине, а диодные нелинейные элементы подключены к контурам разноименными электродиодами .

[14]

Сущность изобретения заключается в уменьшении влияния паразитной амплитудной модуляции, которое осуществляется путем включения элементов с управляемым сопротивлением, выполненных на транзисторах .

[15]

Изобретение иллюстрируется фиг. 1-4

[16]

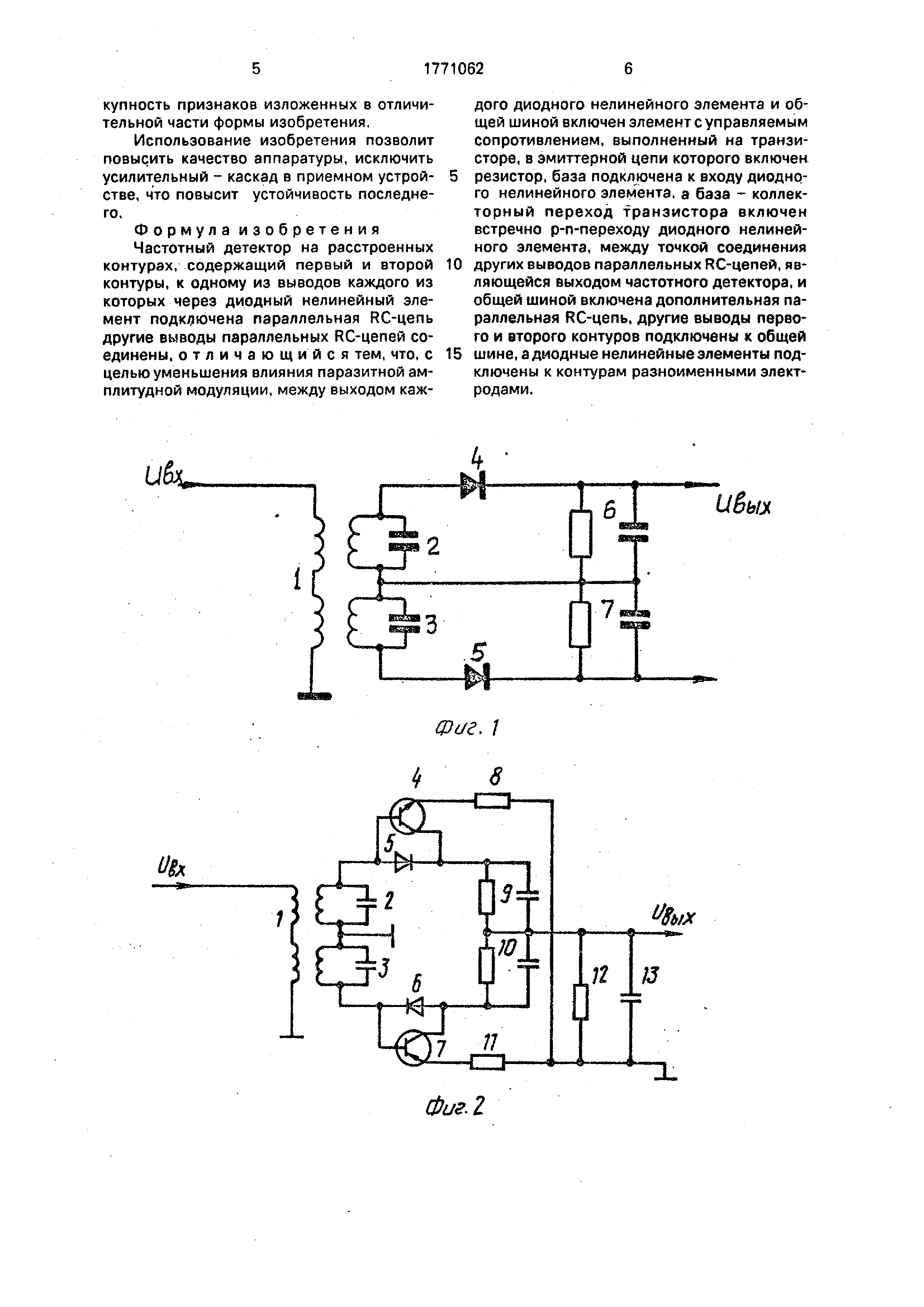
Частотный детектор (фиг.2) содержит два последовательно соединенных взаимно-расстроенных колебательных контура 2 и 3, две последовательно соединенные ка- тушки связи 1, которые являются входом устройства.

[17]

Первый колебательный контур 2 соединен с анодом диода бис базой транзистора 4, катод диода 5 и коллектор транзистора 4 соединен с первой RC-цепью 9, эмиттер транзистора, 4 соединен с резистором 8, другой вывод которого подключен к общему проводу.

[18]

Второй колебательный контур 3 соеди- нен с катодом диода бис базой транзистора 7, анод диода б и коллектор транзистора 7 подключены ко второй RC-цепи 10. К общей точке соединения RC-цепей 9 и 10 подключен суммирующий резистор 12 и конденса- тор 13, другие выводы которых соединены с общим проводом, общая точка соединения колебательных контуров также подключена к общему проводу.

[19]

В частном детекторе с взаимно-расстроенными контурами формирование выходного сигнала происходит так: если менять частоту сигнала на входе схемы, то выпрямленное напряжение на выходе амп- литудных детекторов 5,9 и в to будет изменяться в соответствии с резонансными кривыми фильтров 2 и 3. Амплитудные детекторы включены так, что выходное напряжение равно разности напряжений на

[20]

нагрузках 9 и 10 которое формируется HEI резисторе 12 и конденсаторе 13.

[21]

Рассмотрим работу частотного детектора 4.

[22]

Когда на вход устройства приходят радиоимпульсы (см.фиг.4д) с частотой заполнения fi положительной амплитуды, работает амплитудный детектор - диод 5, транзистор 4, нагрузка 9.

[23]

Выпрямленное положительное напряжение является для коллектора транзистора 4 положительным источником питания. Поэтому транзистор 4 представляет собой каскад с общим эмиттером, Транзистор 4 тем больше будет открываться, чем больше будет выпрямленное напряжение приложенное к коллектору и чем больше положительная амплитуда входного сигнала приложенная к базе транзистора 4. При отрицательных значениях сигнала амплитудный детектор и транзистор 4 закрыты,

[24]

Таким образом транзистор 4 представляет собой регулируемую нагрузку, которая управляется входным сигналом. То есть происходит автоматическое шунтирование нагрузки частотного детектора в зависимости от величины входного сигнала. Причем, как будет включен транзистор инверсно или нет, суть работы не меняется.

[25]

Второй амплитудный детектор - диод б, транзистор 7, нагрузка 10, работает как и первый, но при отрицательной амплитуде радиоимпульсов с частотой заполнения fg (см.фиг.4д).

[26]

Амплитудные характеристики детектора при работе одного диода 5 и при совместной работе диода 5 и транзистора 4 приведены на фиг.З (кривые в, б), а при работе одного диода 6 и при совместной работе диода б и транзистора 7 приведены на фиг.З - кривые г,в. Результирующий выходной сигнал частотного детектора представлен на фиг.4е.

[27]

Опыты показали, что при увеличении и уменьшении уровня входного сигнала от его среднего значения на ± 20 дБ напряжение на выходе детектора изменяется на ± 2 дБ, что является существенным.

[28]

Таким образом предлагаемый частотный детектор уменьшает влия ние папазит- ной амплитудной модуляции, благодаря чем отпадает необходимость в дополнительном усилителе ограничителе.

[29]

Техническое решение соответствует критерию новизна, так как имеет отличие от прототипа, а также критерию существенные отличия, так как автором не найдены технические решения, содержащие совокупность признаков изложенных в отличительной части формы изобретения.

[30]

Использование изобретения позволит повысить качество аппаратуры, исключить усилительный - каскад в приемном устройстве , что повысит устойчивость последнего .

[31]

Формула изобретения Частотный детектор на расстроенных контурах, содержащий первый и второй контуры, к одному из выводов каждого из которых через диодный нелинейный элемент подключена параллельная RC-цепь другие выводы параллельных RC-цепей соединены , отличающийся тем, что, с целью уменьшения влияния паразитной амплитудной модуляции, между выходом каж0

[32]

5

[33]

дого диодного нелинейного элемента и общей шиной включен элемент с управляемым сопротивлением, выполненный на транзисторе , в эмиттерной цепи которого включен резистор, база подключена к входу диодного нелинейного элемента, а база - коллекторный переход транзистора включен встречно p-n-переходу диодного нелинейного элемента, между точкой соединения других выводов параллельных RC-цепей, являющейся выходом частотного детектора, и общей шиной включена дополнительная параллельная RC-цепь, другие выводы первого и второго контуров подключены к общей шине, а диодные нелинейные элементы подключены к контурам разноименными электродами .

Как компенсировать расходы
на инновационную разработку
Похожие патенты