заявка
№ SU 1765100
МПК B66C9/00

Подъемно-транспортное устройство для гидротехнических затворов

Авторы:
ФАРБЕР ПОЛИНА СТРУЛЬЕВНА
Номер заявки
4632690
Дата подачи заявки
05.01.1989
Опубликовано
30.09.1992
Страна
SU
Как управлять
интеллектуальной собственностью
Чертежи 
5
Реферат

[25]

Изобретение относится к подъемно- транспортным средствам. Цель изобретения - повышение надежности. В верхней части несущей конструкции установлены механизм подъема с подвеской, гидроцилиндр 7 с поршнем 8 и направленным вниз штоком 9. В штоковой полости 10 гидроцилиндра 7 размещен кольцеобразный силь- фон 11, закрепленный на крышке гидроцилиндра 7. Сильфон 11 выполнен пригруженным, и его полость 24 сообщена через двухпозиционный гидрораспределитель 25 с электромагнитным управлением и дроссель 26 с трубопроводом 21, сообщенным с поршневой полостью 19 гидроцилиндра 7 и с напорными полостями гидроцилиндров 18 колесных тележек устройства . 8 ил.

Формула изобретения

21

фиг. /

12

11

3 2

фиг.З

/О 7 135

ЛЛЛ

Вид А

3532 33 28 36

Фиг. 4

27

19

25

Ш

18

23

3r

фиг.6

19

21

22

15

Фиг.6

Описание

[1]

Изобретение относится к подъемно- транспортным средствам, может быть использовано в кранах.

[2]

Цель изобретения - повышение надежности .

[3]

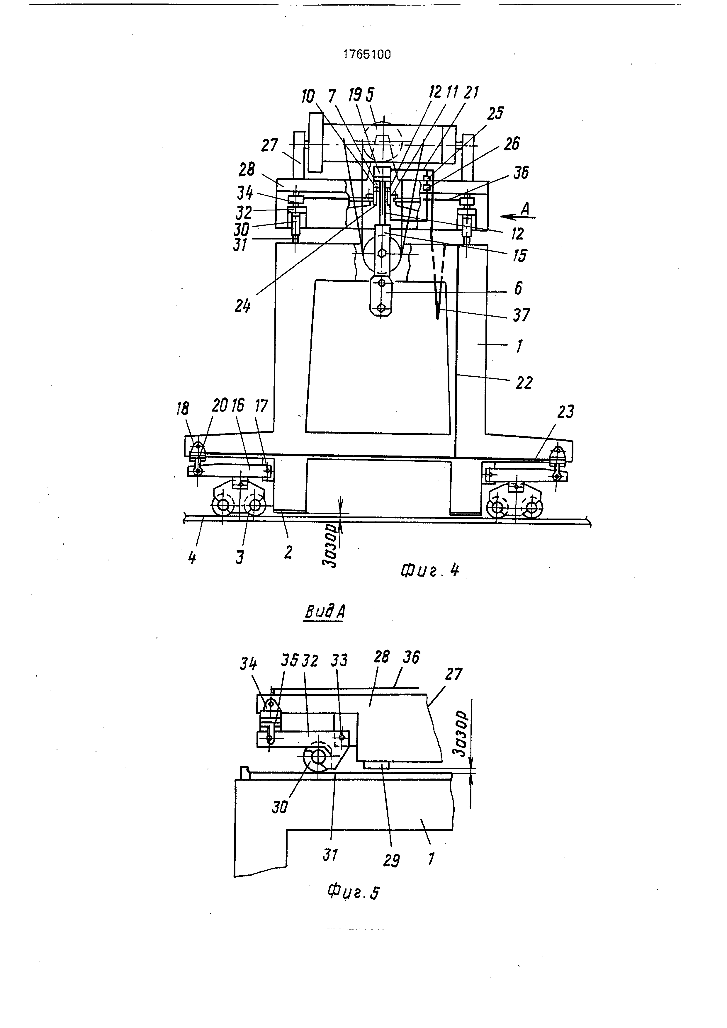
На фиг. 1 показан общий вид подъемно- транспортного устройства, опирающегося на ходовые тележки; на фиг. 2 - общий вид подъемно-транспортного устройства, опирающегося на опорные элементы; на фиг. 3 - то же при крайнем верхнем положении подвески; на фиг. 4 - вариант выполнения устройства с грузовой тележкой; на фиг. 5 - вид А на фиг, 4; на фиг. 6 - гидравлическая схема устройства; на фиг. 7-узел I на фиг.1; на фиг. 8 -узел I на фиг.1 (вариант).

[4]

Подъемно-транспортное устройство для гидротехнических затворов содержит несущую конструкцию 1 с опорными элементами 2 и ходовыми колесными тележками 3, опирающимися на рельсовый путь 4 и оснащенными механизмом передвижения (на чертежах не показан). В верхней части несущей конструкции 1 установлены механизм 5 подъема с подвеской 6, гидравлический цилиндр 7 с поршнем 8 и направленным вниз штоком 9. В штоковой полости 10 цилиндра 7 размещен кольцеобразный сильфон 11, закрепленный на крышке цилиндра 7, Сильфон 11 выполнен пригруженным. Это достигается либо установкой кольцеобразного груза 12 в верхней части сильфона, либо выполнением цилиндра с дополнительным направленным вверх штоком 13, на конце которого установлен груз 14. Подвеска 6 выполнена с упором 15 и с возможностью взаимодействия в верхнем положении со штоком 9 цилиндра 7. Каждая из ходовых колесных тележек 3 выполнена с рычажной балкой 16, один конец

[5]

Ё

[6]

|

[7]

О

[8]

ел

[9]

о о

[10]

[11]

ю

[12]

которой соединен с несущей конструкцией 1 посредством Шарнира 17, а второй - посредством гидравлического цилиндра 18. Напорная (поршневая) полость 19 цилиндра 7 сообщена с напорными полостями 20 ци- линдров 18 колесных тележек 3 посредством трубопровода 21, промежуточных трубопроводов 22 и подключенных к цилиндрам 18 трубопроводов 23. Полость 24 силь- фона 11 сообщена с трубопроводом 21 через нижнюю крышку цилиндра 7, двухпо- зиционный гидрораспределитель 25 с электромагнитным управлением и дроссель 26. Причем при включенном электромагните гидрораспределителя 25 поток осекается.

[13]

Согласно II варианту выполнения (см.фиг.4) механизм 5 подъема и цилиндр 7 установлены на несущей конструкции 1 подвижно посредством грузовой тележки 27, включающей несущую конструкцию 28 с опорными элементами 29 и ходовыми колесными тележками 30, опирающимися на рельсы 31. Каждая из ходовых тележек 30 выполнена с рычажной балкой 32, один конец которой соединен с несущей конструк- цией 28 посредством шарнира 33, а второй конец шарнирно соединен с несущей конструкцией 28 посредством силового цилиндра 34. При этом напорная полость 19 цилиндра 7 сообщена с напорными полостями 35 ци- линдров 34 посредством трубопроводов 36, а трубопровод 21 несущей конструкции 1 сообщен с трубопроводами 36 грузовой тележки 27 посредством гибкой петли 37, допускающей подвижность грузовой тележки.

[14]

Устройство работает следующим образом .

[15]

В исходном положении электромагнит гидрораспределителя 25 выключен и несущая конструкция 1 опирается на опорные элементы 2 независимо от положения подвески 6. Причем при крайнем верхнем поло- жении подвески рабочая жидкость вытеснена из полостей 20 цилиндров 18 в полость 24 удлиненного сильфона 11, т.к. поршень 8 при этом занимает крайнее верхнее положение, т.е. прижат к крышке цилиндра 7.

[16]

При промежуточном положении подвески 6 рабочая жидкость заполняет полость 19 цилиндра 7, а поршень 8 и сильфон 11 под действием груза 12 или 14 опущены в крайнее нижнее положение. Если в указанном положении устройства подвеска 6 занимает крайнее верхнее положение, то для перевода устройства на ходовые тележки 3 подвеска 6 опускается посрдством механизма 5 подъема на величину, обеспечивающую заполнение полости 19 цилиндра 7, причем рабочая жидкость под действием

[17]

груза 12 (или 14) вытесняется из полости 24 сильфона 11 через распределитель 25 в полость 19 цилиндра 7, поршень 8 со штоком 9 и фильтром 11 занимают крайнее нижнее положение. Затем включается электромагнит гидрораспределителя 25 и полость 24 сильфона 11 отсекается от трубопровода 21, а следовательно, от поршневой полости 19 цилиндра 7 и полостей 20 цилиндров 18 ходовых тележек. После этого подвеска 6 поднимается механизмом 5 до взаимодействия ее упора 15 со штоком 9 цилиндра 7, при этом по мере перемещения штока 9 с поршнем 8 в полости 19 цилиндра постепенно создается давление, достаточное для разворота рычажных балок 16 в направлении , обеспечивающим образование зазора между опорными элементами 2 и рельсами 4, т.е. установку устройства на ходовые тележки 3. В таком положении подъемно- транспортное устройство передвигается к месту назначения, например, к определенному затвору гидротехнического сооружения . После установки устройства над пазом затвора подвеску 6 посредством механизма 5 опускают вниз для соединения с затвором. При этом по мере перемещения подвески 6 вниз рабочая жидкость вытесняется из полостей 20 цилиндров 18 ходовых тележек в полость 19 цилиндра 7 под воздействием массы несущей конструкции 1 на рычажные балки 16 и в результате разворота рычажных балок происходит опускание опорных элементов 2 на рельсы 4. Подъем затвора осуществляется устройством, опирающимся на опорные элементы 2, при этом ходовые тележки 3 разгружены, т.е. максимальная нагрузка, которая возникает на подвеске 6 на начальном участке подъема затвора, передается через рельсы 4 и опорные элементы 2. После подъема затвора в верхнее положение подвеска 6 (с затвором или без него) поднимается в крайнее верхнее положение до взаимодействия со штоком 9 цилиндра 7 и устройство вновь переводится на ходовые тележки 3, т.е. в транспортное положение. Если в указанном положении устройства произойдет его аварийное обесточивание или отключение питания оператором, то гидрораспределитель 25 выключится и полость 24 сильфона 11 соединится с полостями 20 цилиндров 18 ходовых тележек 3 через трубопроводы 23,22,21 и распределитель 25 с дросселем 26, При этом под действием массы несущей конструкции 1 произойдет разворот рычажных балок 16 и опускание опорных элементов 2 с несущей конструкцией 1 на рельсы 4, рабочая жидкость из полостей 20 цилиндров 18 вытеснится в полость 24 сильфона 11 (т.к.

[18]

поршень 8 зафиксирован в крайнем верхнем положении подвеской 6 заторможенного механизма 5 подъема) и сильфон 11 вытянется в крайнее верхнее положение. Работа с грузовой тележкой 27 происходит аналогично описанному. Несущая конструкция 1 (28) оснащена электрической блокировкой (не показана), исключающей возможность включения механизмов передвижения ходовых тележек 3(30) до образования зазора между опорными элементами 2(29) и рельсами 4(31).

[19]

Формула изобретения

[20]

Подъемно-транспортное устройство

[21]

для гидротехнических затворов по авт.св.

[22]

1696373, отличающееся тем, что, с

[23]

целью повышения надежности, дополнительный гидроцилиндр снабжен размещенным в его штоковой полости с возможностью схватывания штока и закрепленным на его нижней крышке сильфоном, верхняя

[24]

часть которого выполнена в виде кольцевого груза, установленного с возможностью взаимодействия с поршнем дополнительного гидроцилиндра, гидросистема снабжена дополнительным двухлинейным двухпозиционным с электромагнитным приводом гидрораспределителем, линии которого сообщены соответственно с полостью сильфо- на и с бесштоковыми полостями первых гидроцилиндров, при этом в первой позиции дополнительного гидрораспределителя его линии сообщены между собой, а во второй - разобщены, а его золотник подпружинен для возврата в первую позицию.

Как компенсировать расходы
на инновационную разработку
Похожие патенты