заявка
№ SU 1742443
МПК E04G3/30

Устройство для обслуживания фасадов зданий

Авторы:
КАНЮКА НИКОЛАЙ СЕРГЕЕВИЧ РЫБАЛКО ВИКТОР ПЕТРОВИЧ ТКАЧЕНКО ВИКТОР ВАСИЛЬЕВИЧ
Все (8)
Номер заявки
4761418
Дата подачи заявки
22.11.1989
Опубликовано
23.06.1992
Страна
SU
Как управлять
интеллектуальной собственностью
Чертежи 
4
Реферат

[39]

Использование: строительные и ремонтные работы на фасадах зданий. Сущность изобретения: люлька выполнена из разъемных секций, на одной из которых установлен приводной барабан и тормозное устройство . Ограждение выполнено гибким и намотано на барабан. Свободные концы гибкого ограждения закреплены на второй секции. На нижней поверхности днища секций установлены направляющие и подвижные днища с упорами. 1 з.п. ф-лы, 6 ил.

Формула изобретения

.... JL .Z

ггт//

fmT/jtulffi if t -

AЈ4

/7)

Описание

[1]

Изобретение относится к строительству и может быть использовано при ремонтных, строительных, восстановительных и реконструктивных работах.

[2]

Известно устройство, содержащее лебедку, тяговые канаты, опоры, размещенные по краям строительной захватки, и люльки с откидными упорами.

[3]

Известно также устройство, состоящее из лебедки, тяговых канатов, опор, размещенных по краям строительной захватки, и люльки с откидными упорами.

[4]

Недостатком известных устройств является ограниченная область обслуживания.

[5]

Цель изобретения - расширение технологических возможностей.

[6]

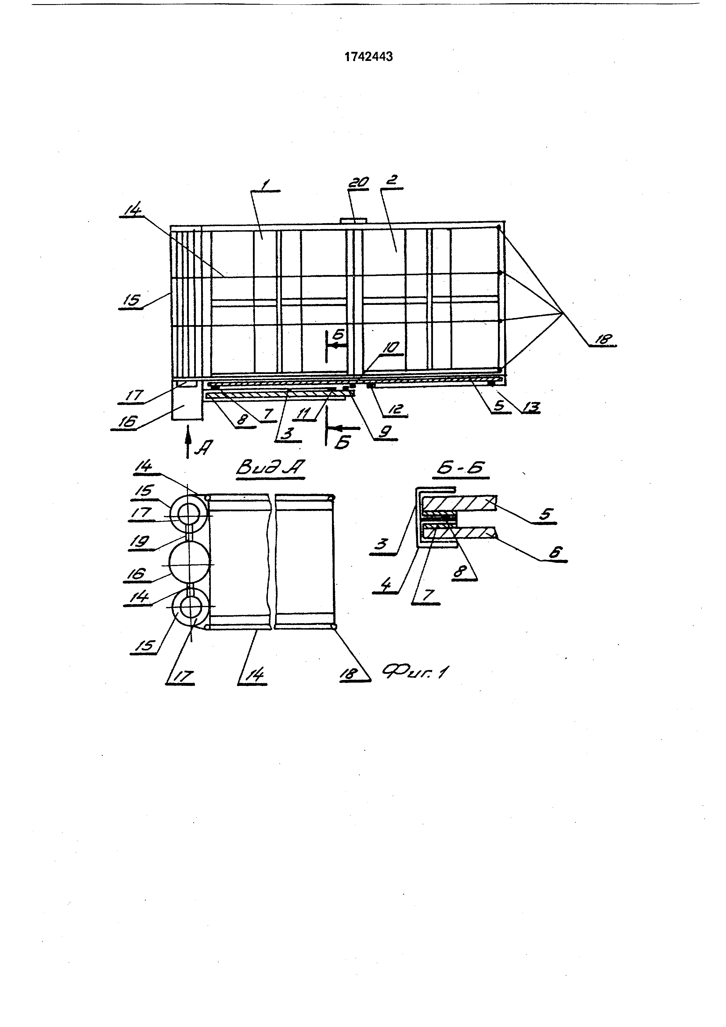
На фиг.1 изображена люлька с секциями , соединенными между собой, вид А и разрез Б-Б; на фиг.2 - схема размещения устройства перед фасадом здания; на фиг.З - люлька в раздвинутом положении; на фиг.4 - узел I на фиг.З; на фиг.5 - узел II на фиг.З; на фиг.6 - узел III на фиг.З.

[7]

Устройство состоит из секций 1 и 2, жестко прикрепленных к секциям направляющих 3 и 4, подвижных днищ 5 и 6, которые выполнены с возможностью перемещения по направляющим, размещенных на направляющих упоров 11 и 12, размещенных на подвижных днищах ограничителей 7-10 и 13, гибкого ограждения 14, намотанного на барабаны 15, которые прикреплены к одной из секций двигателя 16, креплений 18, соединяющих секции между собой, редукторов 17, соединенных с барабанами 15 и связанных с двигателем 16 через валы 19. В крепления 18 вставлены фиксирующие скобы 20. Перед зданием установлена лебедка 21, от которой отходят тяговые канаты 22 и 23, проходящие через опоры 24 и 25 и подсоединенные к секциям 1 и 2 люльки.

[8]

Устройство работает следующим образом .

[9]

Секции 1 и 2 доставляют в нужную точку фасада посредством изменения длины канатов 22 и 23. При этом секции 1 и 2 притянуты одна к другой гибким ограждением 14,

[10]

С)

[11]

намотанным на барабаны 15, и соединены скобами 20, вставленными в крепления 18.

[12]

При необходимости производить работу на удаленных одна от другой точках фасада барабаны 15 растормаживают, а скобы 20 извлекают. Поскольку система тяговый канал - секция представляет собой маятник , она стремится занять вертикальное положение . При этом секции 1 и 2 отходят одна от другой, скользя направляющими 3 по подвижному днищу 5 до тех пор, пока ограничители 13 не войдут в контакт с упорами 12, ограничители 7-с ограничителями 9. Поскольку секции 1 и 2 и далее продолжают отходить одна от другой, секция 2 остается неподвижной относительно днища 5, а секция 1, скользя направляющими 4 по днищу 6, передвигается относительно секции 2 и днищ 5 и 6 до тех пор, пока упоры 11 не войдут в контакт с ограничителями 8.

[13]

При необходимости остановить раздви- жение люльки в промежуточном положении включают тормоза барабанов 15. При этом горизонтальное положение люльки выдерживается изменением длины канатов 22 и 23. Для возврата в исходное положение включают двигатель 16, в результате чего вращение через валы 19 передается на редукторы 17 барабанов 15. Барабаны 15, вращаясь , наматывают гибкое ограждение 14, при этом секции 1 и 2 притягиваются одна к

[14]

другой, после чего их соединяют с помощью креплений 18 и скоб 20.

[15]

Таким образом обеспечивается расширение технологических возможностей уст- ройства за счет реализации возможности проводить работу с линейно протяженными конструкциями.

[16]

Формула изобретения

[17]

1.Устройство для обслуживания фаса- дов зданий, включающее люльку с ограждением и упорами, тяговые канаты, механизмы привода подъема, опоры, размещенные на кровле здания, отличающееся тем, что, с целью расширения технологических возможностей, люлька выполнена составной из разъемных секций, а ограждение гибким, при этом люлька снабжена парой приводных барабанов с тормозными устройствами, установленных на торце одной из секций, а элементы гибкого ограждения намотаны на барабаны и закреплены свободными концами на второй секции, причем днища секций люльки выполнены с прикрепленными к их нижней поверхности

[18]

направляющими с ограничителями и снабжены размещенным в направляющих подвижным днищем с упорами.

[19]

2.Устройство по п.1, о т л и ч а ю щ е е- с я тем, что одна из секций снабжена дополнительными направляющими и дополнительным подвижным днищем.

[20]

А

[21]

&.

[22]

1ЧЧVSS S S S -. j,-. -,-. .r.g Т

[23]

.

[24]

s k

[25]

20 2

[26]

гг

[27]

т

[28]

B-Ј

[29]

/S &3c//7 /

[30]

с r гч

[31]

I

[32]

[33]

[34]

[35]

I

[36]

/0

[37]

Y,

[38]

&

Как компенсировать расходы
на инновационную разработку
Похожие патенты