заявка
№ SU 1738655
МПК B27N3/20

Шнековый пресс

Авторы:
КАЛИН МИХАИЛ ЕВСТАФЬЕВИЧ ХАРЫШАК НИКОЛАЙ ИВАНОВИЧ НАГОРНЯК ВЛАДИМИР НИКОЛАЕВИЧ
Все (4)
Номер заявки
4806510
Дата подачи заявки
12.02.1990
Опубликовано
07.06.1992
Страна
SU
Как управлять
интеллектуальной собственностью
Чертежи 
2
Реферат

[3]

Изобретение может быть применено при брикетировании древесных отходов. Шнековый пресс содержит корпус, который снабжен вставными клиновидными козырьками 4, имеющими упоры и изогнутые отверстия 9. Корпус 2 имеет фигурные отверстия 3, форма которых соответствует форме козырьков 4. 6 ил.

Формула изобретения

щ

Шг.2

Изобретение относится к деревообрабатывающей промышленности и может быть применено при брикетировании древесных отходов, например опилок, стружки, щепы, и является усовершенствованием шнекового пресса по авт, св. № 1629192.

Цель изобретения - увеличение долговечности , повышение надежности и производительности работы пресса.

Поставленная цель достигается тем, что козырьки выполнены вставными в виде клиньев с упорами и имеют изогнутые отверстия , а отверстия в корпусе имеют фигурную форму, соответствующую форме козырьков, при этом кожух корпуса с внутренней стороны снабжен предохранительными кольцами, которые закреплены напротив вставных козырьков и имеют поперечные каналы.

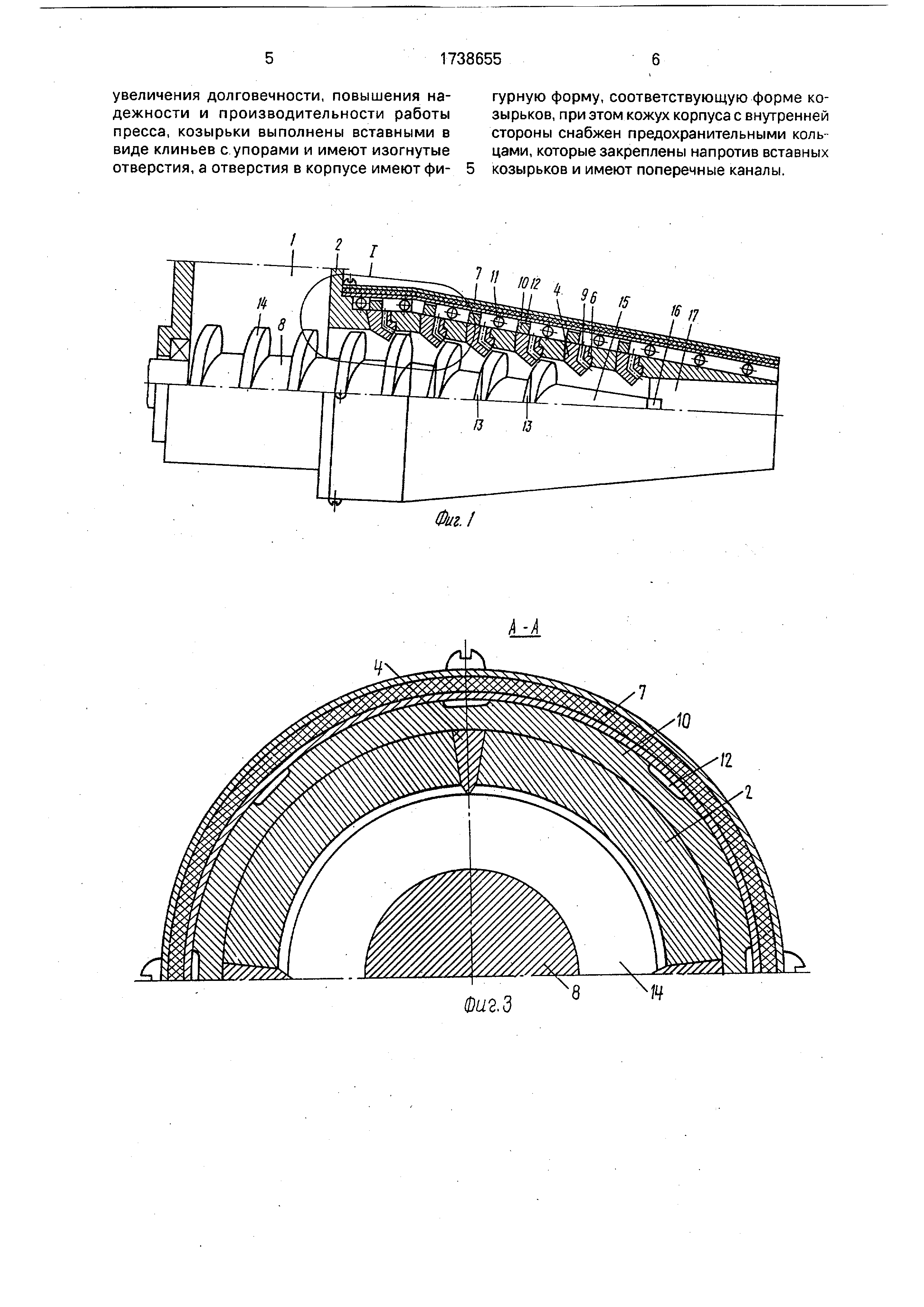
На фиг. 1 показан шнековый пресс, общий вид в разрезе; на фиг. 2 - корпус с кожухом, разрез; на фиг. 3 - разрез А-А на фиг. 2; на фиг. 4 - вставной козырек, вид сбоку; на фиг. 5 - вид Б на фиг. 4; на фиг. 6 - вид В на фиг. 4.

Пресс состоит из загрузочного бункера 1, соединенного с коническим корпусом 2, снабженным фигурными отверстиями 3, расположенными рядами вдоль его оси и радиально по его окружности, в которых размещены вставные козырьки 4 в виде клиньев, каждый из которых выполнен с упором 5, контактирующим с выемкой 6 фигурного отверстия 3 и исключающим выдавливание его древесными отходами (не показаны) в сторону кожуха 7. Форма двухстороннего клина каждого вставного козырька 4 исключает проваливание его в сторону шнека 8 в нерабочем состоянии и облегчает изъятие при замене его неизношенным . Кроме того, каждый вставной козырек 4 выполнен с изогнутым отверстием

9.заменяющим перфорационное отверстие и обеспечивающим выход избыточной влаги во время работы пресса. Основное исключение выдавливания вставных козырьков 4 обеспечивают предохранительные кольца

10,закрепленные на внутренней стороне кожуха 7, расположенные между электронагревателями 11 и выполненные с каналами 12 на периферийной окружности, обеспечивающими выход влаги. Причем каждое предохранительное кольцо 10 закреплено внутри кожуха 7 над вставными козырьками 4, радиально расположенными на корпусе 2, с таким расчетом, что, не закрывая отверстий 9, прижимает козырьки 4 в фигурном отверстии 3 к корпусу 2, исключая их смещение и обеспечивая надежность работы пресса. Свободное вращение шнека

8 при наличии козырьков 4 обеспечивают выемки 13 на витках 14 шнека 8. Свободный конец шнека 8 снабжен конической частью 15, которая заканчивается цилиндрическим

хвостовиком 16, находящимся в формирующей камере 17 конического корпуса 2. Пресс работает следующим образом. Древесные отходы подают в загрузочный бункер 1, где они захватываются витка0 ми 14 шнека 8 и перемещаются в конический корпус 2. По мере перемещения древесные отходы претерпевают все увеличивающееся радиальное и осевое сжатие, а также термообработку электронагревателя5 ми 11. Они впрессовываются шнеком 8 в формирующую камеру 17, из которой выходят непрерывным брикетом с каналами на наружной стороне. При этом режиме из древесных отходов выделяется влага в виде па0 ра, которая отводится через отверстия 9 козырьков 4 и каналы 12 наружу. Козырьки 4 в брикете (не показан) формируют каналы, способствующие интенсивному удалению влаги из древесных отходов. Во время рабо5 ты пресса козырьки 4 изнашиваются, поэтому во время периодических остановок пресса производят их профилактику с заменой изношенных козырьков 4 новыми или восстановленными.

0 Для этой цели извлекают шнек 8 из корпуса 2 и снимают кожух 7 вместе с электро- нагревателями 11 и кольцами 10. Специальным крючком (не показан) за прогнутое отверстие 9 захватывают козырек 4,

5 и извлекают его из фигурного отверстия 3. Проведя визуальный осмотр каждого козырька 4 и убедившись в необходимости его замены, последний отдают на восстановление (ремонт), а на его место, т. е. в свободное

0 фигурное отверстие 3 устанавливают новый или восстановленный козырек 4. Ухватив его за расширенную сторону пальцами, опускают упором 5 в расширенную часть отверстия 3, утопляя упор 5 до входа его в выемку

5 6 отверстия 3, после этого нажимают на выступающую часть козырька 4 до утопления его заподлицо с периферийной окружностью корпуса 2. После проверки всех и замены необходимых козырьков 4 устанав0 ливают кожух 7 и шнек 8 на прежнее место, закрепив их соответственно, после чего пресс готов к работе.

Замена новыми или восстановленными козырьками 4 изношенных значительно со5 кращает время простоя пресса и повышает долговечность как козырьков, так и самого пресса.

Формула изобретения Шнековый пресс по авт. св. N 1629192, отличающийся тем, что, с целью

увеличения долговечности, повышения надежности и производительности работы пресса, козырьки выполнены вставными в виде клиньев с упорами и имеют изогнутые отверстия, а отверстия в корпусе имеют фигурную форму, соответствующую форме козырьков , при этом кожух корпуса с внутренней стороны снабжен предохранительными кольцами , которые закреплены напротив вставных козырьков и имеют поперечные каналы.

3.6

15

17

Фиг.

Ю

II

te.3

ФигЧ

Вид Б

3ид В

Фаг 6

Фиъ.5

Описание

[1]

[2]

С

Как компенсировать расходы
на инновационную разработку
Похожие патенты