заявка
№ SU 1718781
МПК A23N15/00

Линия обработки картофеля перед закладкой на хранение

Авторы:
ПЕТРОВ ВИКТОР ФИЛИПОВИЧ ПОКЛАД СТАНИСЛАВ ПЕТРОВИЧ КОНОНУЧЕНКО НИКОЛАЙ ВАСИЛЬЕВИЧ
Все (5)
Номер заявки
4702041
Дата подачи заявки
20.03.1989
Опубликовано
15.03.1992
Страна
SU
Как управлять
интеллектуальной собственностью
Чертежи 
4
Реферат

[42]

Изобретение относится к сельскохозяйственному машиностроению, в частности к машинам для послеуборочной обработки сельскохозяйственных продуктов, преимущественно картофеля. Цель изобретения - повышение грузовместимости контейнеров путем их послойной равномерной загрузки и снижение травмирования картофеля. Линия обработки картофеля перед закладкой на хранение содержит приемный бункер с подвижным дном, устройство для отделения примесей и некондиционных клубней, приспособление для равномерной загрузки контейнеров и соединительные ленточные транспортеры. Ленточный транспортер, расположенный перед приспособлением равномерной загрузки, смонтирован с возможностью подъема его выгрузочного конца в вертикальной плоскости и поворота в горизонтальной плоскости. Приспособление для равномерной загрузки имеет опорную раму, шарнирно соединенную с ленточным транспортером, и установлено на ней с возможностью возвратнр-поступа- тельного перемещения, принтом рабочая поверхность приспособления для равномерной загрузки представляет собой двускатный ленточный транспортер. 9 ил. у &

Формула изобретения

м м

о

г т-т т -1-|

1 Л -I-L

Х/м-i-i-j

,f/l I I I I

фиг.з

pu.t

(DUS.7

°Г-ЭДК

52

Описание

[1]

Изобретение относится к сельскохозяйственному машиностроению, в частности к машинам для послеуборочной обработки сельскохозяйственных продуктов.

[2]

Известна линия для комплексной обработки картофеля перед закладкой на хранение , содержащая приемный бункер, ленточные конвейеры, механизм равномерной загрузки, автоматически управляемые дозирующие устройства.

[3]

Недостатком дан ной линии является то, что линия предназначена для приемки картофеля только с железнодорожного транспорта , а значит не может быть применена на местах производства селькохозяйственной

[4]

продукции. Бункер не оборудован средствами для устранения источников дополнительного травмирования, механизмами автоматического поддержания минимальной высоты падения грузов. Наклонные и другие скребковые транспортеры, длина которых должна обеспечить время сушки про- дукции, являются сами источниками травмирования продукции, а автоматически управляемые устройства выпускных отверстий управляются только оператором с пульта управления.

[5]

Известен картофелесортировальный пункт, содержащий приемные бункера, отделитель примесей с устройствами для выделения мелких, некондиционных клубней,

[6]

00 XI 00

[7]

бункер-накопитель, передаточные транспортеры .

[8]

Недостатком данного пункта является то, что бункера также не оборудованы устройствами для поддержания оптимальной высоты падения грузов, а транспортеры не оборудованы средствами их перемещения.

[9]

Цель изобретения - повышение грузовместимости контейнеров путем их послойной загрузки и снижение травмирования картофеля,

[10]

Поставленная цель достигается тем, что линия снабжена приемными устройствами для приемки грузов, телескопическими саморегулирующимися бункерами, механизмами перемещения рабочих органов, механизмами равномерного распределения грузов по поверхности бункеров.

[11]

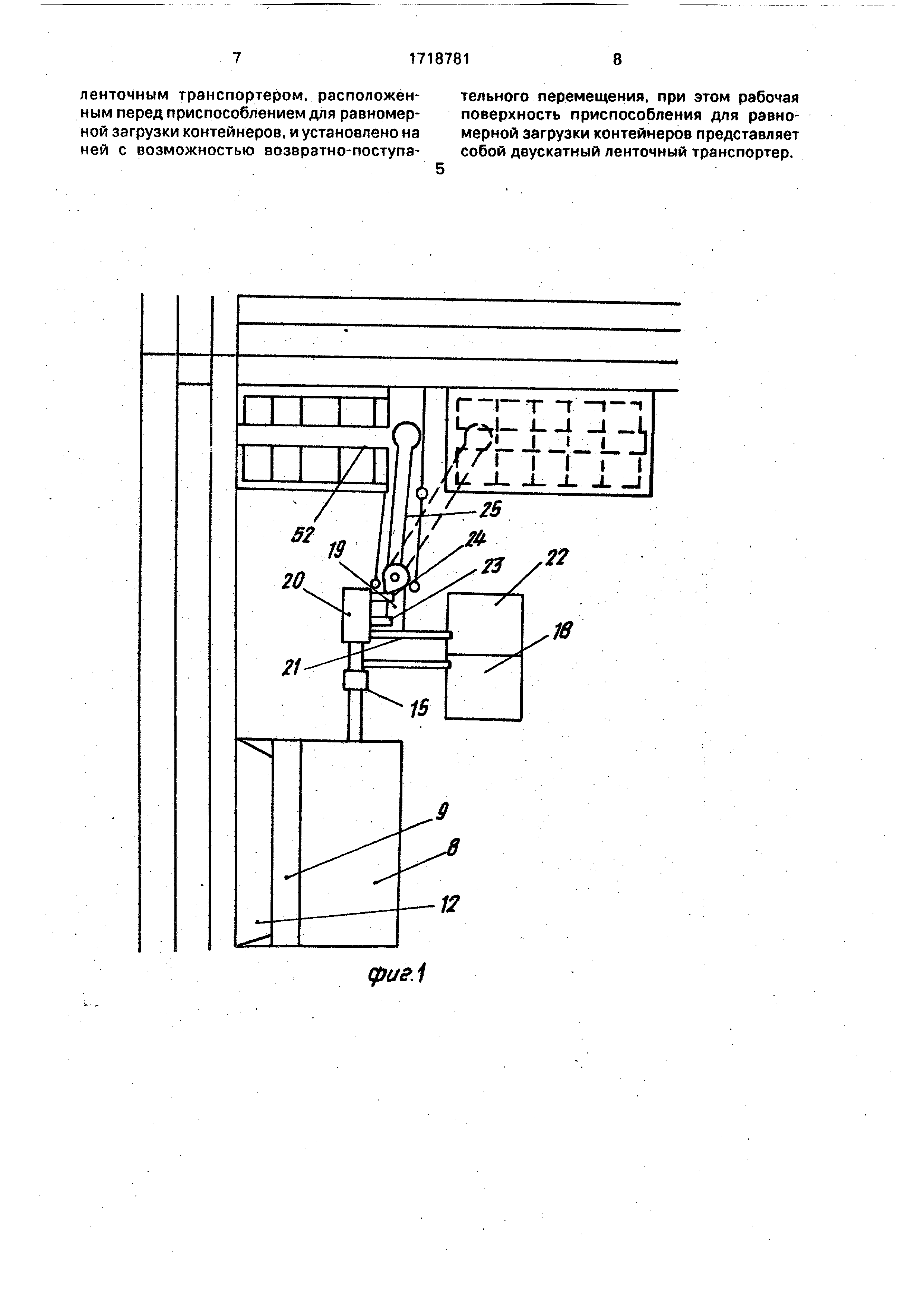
На фиг.1 изображена линия обработки, вид сверху; на фиг.2 - приемный бункер, вид сбоку; на фиг.З - механизм подъема, вид сбоку; на фиг.4 - то же, вид сверху; на фиг.5 - устройство для отделения растительных примесей, вид сбоку; на фиг.б - саморазгружающийся транспортер; на фиг.7 - опора механизма подъема, вид сбоку; на фиг.8 - опора механизма подъема, вид сверху; на фиг.9 - саморазгружающийся транспортер, вид сверху.

[12]

Линия включает опрокидывающее устройство 1 (фиг,2), апарелли которого снабжены регулируемой по высоте платформой 1. В корпусе рамы 2 установлены гайки 3, в которых установлены винтовые опоры 4 платформы. На опорах установлены звездочки 5, роликовыми цепями 6 соединенные с реверсивно подключенным двигателем 7.

[13]

К стенке приемного бункера 8 (фиг.2) под углом 17-35° установлен направляющий щит 9, на котором посредством телескопического соединительного элемента 10, нагруженного возвратной пружиной 11, установлен уплотнительный щит 12. Телескопический бункер 8 на внутренней секреции имеет регулирующие по высоте щитки 13, нагруженные возвратными пружинами, Под щитками расположены органы управления , воздействуя на которые, груз поддерживает оптимальную высоту падения грузов в бункере. Приемный бункер 8 снабжен выгрузным транспортером 14, сообщающимся с устройством 15 для отделения инородных примесей и растительных остатков (фиг.1).

[14]

Отделитель 15 (фиг.5) включает наклонный пальчиковый транспортер 16. Выгрузной пальчиковый транспортер установлен так, что груз попадает на среднюю часть отделительного транспортера 16. Направление движения транспортеров 14, 16 совпадает . В верхней части разделительного

[15]

транспортера 16 в поперечном направлении установлен транспортер 17 отходов, который сообщается с бункером 18. Под раздельным транспортером установлен

[16]

транспортер 19 очищенного груза, который сообщается с сортировальным пунктом 20. Сортировальный пункт разделяет грузы по размерам и мелкие отходы по транспортеру 21 доставляет в бункер 22,

[17]

0 средние и крупные фракции по транспортерам 23, 24 подаются в общий транспортер 19, установленный в неподвижной части 26 (фиг.З) опоры 27.

[18]

Поворотный механизм опоры опирает5 ся на диск 28 (фиг.7), жестко скрепленный с неподвижной частью 26 опоры 27. В средней части диска 28 имеются отверстия, в которые вставлена ось 29с прикрепленным к ней флянцем 30. В верхней части оси 29

[19]

0 нарезана резьба. На ось установлен подшипник 31, на котором установлена ступица 32 диска 28. Гайка 33 зажимает ступицу 32 подвижного диска 34 (фиг.8). Подвижный диск 34 имеет отверстия 35 (фиг.8), располо5 женные радиально по окружности, в которых установлены опорные ролики 36, опирающиеся на неподвижный диск 28 (фиг.7). Подвижный диск 28 снабжен кронштейнами 37, к которым крепятся зубчатый

[20]

0 венец 38, входящий в зацепление с червячным механизмом 39. Привод механизма 39 осуществляется реверсивным двигателем 40, установленным на кронштейне 41. В верхней части подвижной опоры 28установ5 лен тросовый подъемник 42, включающий двигатель 43, барабан 44 (фиг.4), трос 45, соединенный с рамой 46 (фиг.З) распределительного транспортера 25 (фиг.4),

[21]

На подвижной части опоры 27 (фиг.З), в

[22]

0 шарнире 47, соединенном осью, закреплена рама 48 поворотного транспортера 25. В передней его части транспортер 25 удерживается тросом 45, соединенным с барабаном 44 подъемника 42. Привод

[23]

5 транспортера осуществляется электродвигателем 43. В передней части рамки 46 (фиг.З) закреплен шарнир 49, соединяющийся с шарниром 50 (фиг.9) опорной рамки 51 (фиг.б) саморазгружающегося транспортера

[24]

0 52 пальцем 53. На корпусе рамки 51 установлен двигатель 54, кинематически связанный роликовой цепью 55 с валом 56, на концах которого закреплены звездочки 57 роликовыми цепями 58, соединенные с ве5 дущими роликами 59, на которые опирается рамка 60 транспортера 52, расположенными в нижней части рамки 51. В верхней части рамки 51 установлены ролики 61, также контактирующие с рамкой транспортера 52. На роликах 59 установлена рама 60 и

[25]

саморазгружающийся транспортер 52 с возможностью перемещения транспортера 52 относительно рамки 51 в правое или в левое положение.

[26]

Транспортер 52 с промежуточной разгрузкой включает рамку 60 (фиг.6), на которой закреплены поддерживающие ролики 62 транспортера 52, оси 63 которых через тяги 64 и коромысло 65 соединены с распределительными пластинами 66, один конец которых шарнирно соединен с рамкой 60, а второй тягой 67 - с коромыслом 65. В исходном положении несущая лента транспортера 52 имеет выпуклую поверхность. Направление движения ленты реверсивное. Рамка 62 тягами 68 связана с неподвижной частью 26 опоры на подъем, что позволяет рамке 62 перемещаться, оставаясь параллельной стенам бункера 63.

[27]

Линия работает следующим образом.

[28]

Первоначальный запуск механизмов комплекса осуществляется с пульта управления при необходимости предварительной очистки и сортировки в следующей последовательности . Поворотный транспортер 22 устанавливают над одним из бункеров 8 и, соответственно, располагают саморазгружающийся транспортер 52, смещая транспортер 24 относительно рамки 60, и устанавливают направление движения ленты . При расположении транспортера 52 над левым бункером 8 смещают саморазгружающийся транспортер 52 влево и придают левое направление ленте, при расположении над правым - правое. Включают транспортеры 14, 16, 17, 19,21, 23-25,52.

[29]

При поступлении транспорта на подъемник оператор с пульта управления включателем двигателя 7 устанавливает транспорт так, чтобы уплотнительный щит 12 располагался под днищем транспорта и образующаяся щель при открытии борта между днищем и бортом была перекрыта, а борт при открывании располагался на уплотнитель ном щите 12. Включают подъемник 1 и груз скатывается по направляющему щитку 12 и уплотнительному щитку 9 в телескопический бункер 8. По мере заполнения бункера 8 груз, воздействуя на щитки 13, автоматически поддерживает постоянную высоту падения грузов меньше допустимой.

[30]

При достижении максимального накопления бункера отключают механизм подъема , питающие транспортеры 14,16, 17,19, 21, 23-25, 52, сортировальный пункт 20, включением двигателя механизма 44 подъема поднимают транспортер 25 и включением двигателя 40 располагают над свободным закромом. Включением двигателя механизма подъема опускают транспортер 25 с закрепленным на нем саморазгружающимся транспортером. Включают двигатель 54 для придания вращения опорным роликам 59, смещающим транспортер 52 5 для расположения над заданным закромом: при расположении над левым бункером - влево, над правым - вправо. Изменяют направление движения несущей ленты транспортера; при расположении над левым

[31]

0 бункером - на левое вращение, над правым - на правое.

[32]

Параллельное расположение рамки 60, а значит и саморазгружающегося транспортера 52 над бункером 8 обеспечивают тяги

[33]

5 68, соединенные с неподвижной частью опоры. Груз, поступая на выпуклую поверхность транспортера 52, скатывается на распределительные пластины 66 в бункер 8. По мере накопления на пластинах 66 пластины

[34]

0 поворачиваются на шарнирах, закрепленных на рамке 60, груз опускается, и, воздействуя на тяги 67 коромысла 65 и тяги 64, ставят поддерживающие ролики 62 данного участка в положение, при котором лента об5 разует желобок. Груз распределяется на следующем участке 59 транспортера 52. При наполнении последней секции 66, напротив которой установлен щиток 13 управления, включается двигатель и днище телескопиче0 ского бункера 8 опустится и также опустится груз. При заполнении бункера 8 на всю глубину отключают питательные транспортеры 14, 16, 17, 19, 21, 23-25, 52. Далее процесс работы продолжается так, как указывалось.

[35]

5 Если сортировку груза проводить не требуется , то транспорт разгружается непосредственно в бункер 8, откуда груз в бункерах доставляется к месту назначения.

[36]

0Формула изобретения

[37]

Линия обработки картофеля перед закладкой на хранение, содержащая приемный бункер с подвижным дном, устройство для отделения примесей и некондиционных

[38]

5 клубней, контейнеры для приема обработанных клубней, приспособление для равномерной загрузки контейнеров и соединительные ленточные транспортеры, отличающаяся тем, что, с целью

[39]

0 повышения грузовместимости контейнеров путем их послойной равномерной загрузки и снижения травмирования картофеля, ленточный транспортер, расположенный перед приспособлением равномерной загрузки,

[40]

5 смонтирован с возможностью подъема его выгрузного конца в вертикальной плоскости и поворота на определенный угол в горизонтальной плоскости, приспособление для равномерной загрузки контейнеров имеет опорную раму, шарнирно соединенную с

[41]

ленточным транспортером, расположенным перед приспособлением для равномерной загрузки контейнеров.и установлено на ней с возможностью возвратно-поступательного перемещения, при этом рабочая поверхность приспособления для равномерной загрузки контейнеров представляет собой двускатный ленточный транспортер.

Как компенсировать расходы
на инновационную разработку
Похожие патенты