заявка
№ SU 1685737
МПК B29C47/20

Устройство для изготовления рукавной полимерной пленки

Авторы:
ПИНЧУК ЛЕОНИД СЕМЕНОВИЧ ГОЛЬДАДЕ ВИКТОР АНТОНОВИЧ ГОНЧАРОВ ГРИГОРИЙ АНАТОЛЬЕВИЧ
Все (6)
Номер заявки
4044336
Дата подачи заявки
24.02.1986
Опубликовано
23.10.1991
Страна
SU
Как управлять
интеллектуальной собственностью
Чертежи 
2
Реферат

[32]

Изобретение относится к оборудованию для переработки пластмасс, в частности к устройствам для получения рукавной полимерной пленки, в том числе пластифициро- ванной и ингибированной. Цель изобретения - повышение надежности в работе устройства и качества получаемой пленки за счет улучшения ее антикоррозионных свойств. Для этого устройствб содержит экструзионную головку с полым корпусом. В полости корпуса, сооснос ним, размещен дорн. В дорне выполнены каналы для подачи сжатого воздуха и для подачи ингибитора коррозии внутрь рукавной полимерной пленки. Устройство содержит систему подачи ингибитора коррозии и снабжено смонтированной с возможностью вертикального перемещения полой камерой с входным и выходными отверстиями, соос- но с установленным в ее полости герметичным поплавком с клапанами. Камера посредством входного отверстия сообщена с системой подачи ингибитора коррозии, а посредством выходного отверстия - с каналом для подачи ингибитора коррозии. Камера дополнительно сообщена с каналом для подачи сжатого воздуха. Герметичный клапан выполнен в виде сильфона. Производят наладку устройства на соответствующий режим получения рукавной полимерной пленки . Нагретый ингибитор подают в полую камеру. Герметичный поплавок всплывает. Ингибитор поступает через канал для его подачи в полость рукава (рукавной пленки). При этом ингибитор растекается по поверхности дорна. Необходимый уровень ингибитора поддерживают путем изменения высоты установки камеры относительно поверхности дорна. Экструдируемый рукав находится в постоянном контакте по всей внутренней поверхности с ингибитором. Это обеспечивает эффективную диффузию ингибитора в толщу рукава. Изменение уровня ингибитора позволяет варьировать антикоррозионные свойства рукава, т.е. повышается качество получаемой рукавной пленки. Отпадает необходимость в регенерации ингибитора, т.е. повышается надежность в работе устройства. 2 з.п. ф-лы, 5 ил. сл С о 00 СП VJ СО vl

Формула изобретения

фиа.1

25

Фиг. 2.

Описание

[1]

Изобретение относится к оборудованию для переработки пластмасс, в частности к устройствам для получения рукавной полимерной пленки, в том числе пластифицированной и ингибированной.

[2]

Цель изобретения - повышение надежности устройства в работе и качества получаемой пленки за счет улучшения ее антикоррозионных свойств.

[3]

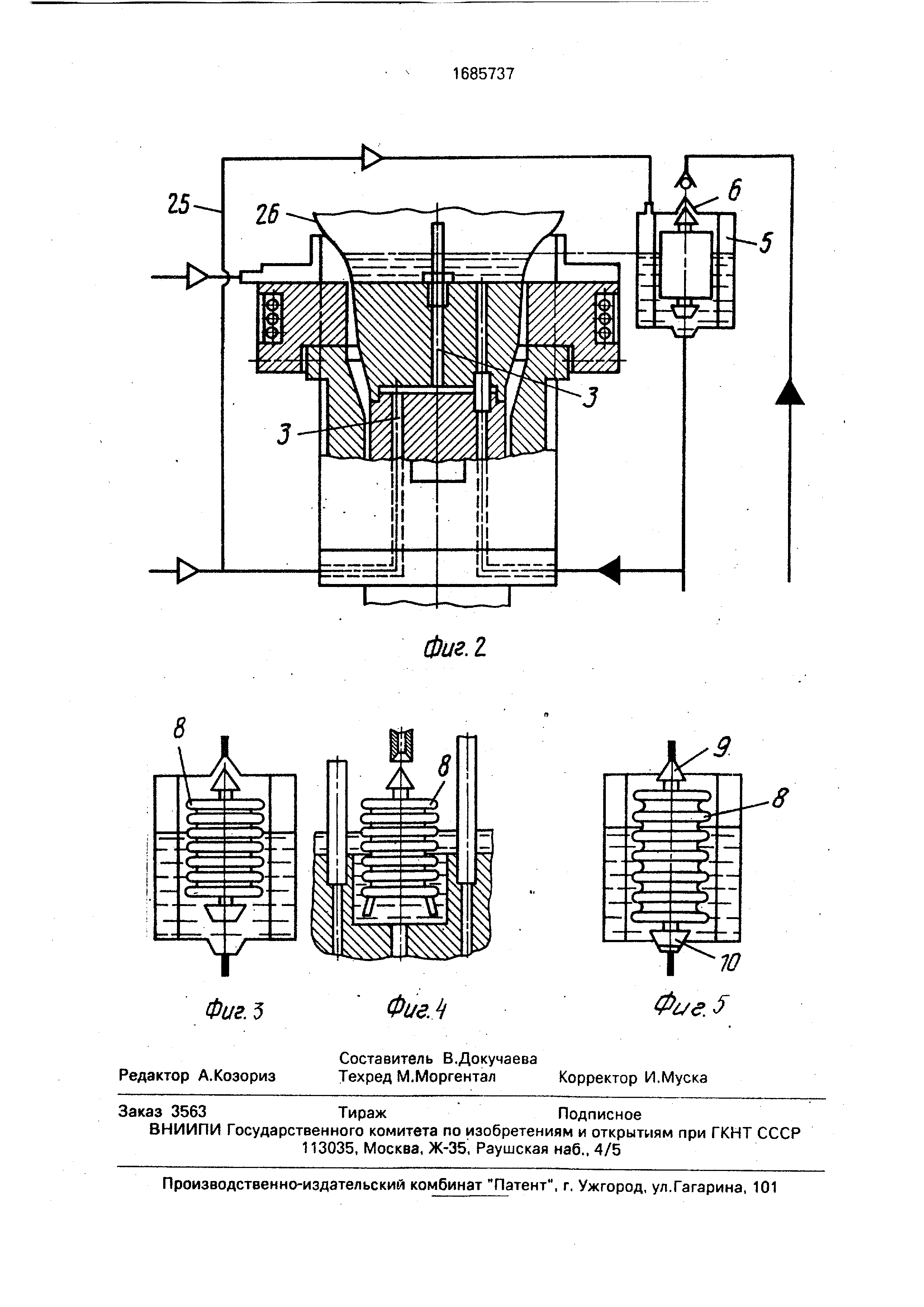
На фиг. 1 изображено устройство для изготовления рукавной полимерной пленки, общий вид; на фиг. 2 - схема соединения полой камеры с каналом подачи сжатого воздуха; на фиг. 3 и 4 - герметичный поплавок в виде сильфона, рабочее (сжатое) положение - клапаны открыты; на фиг. 5 - то же, нерабочее (разжатое) положение - клапаны закрыты.

[4]

Устройство содержит экструзионную головку с полым корпусом 1. В полости корпуса 1, соосно с ним, размещен дорн 2. В дорне 2 выполнены канал 3 для подачи сжатого воздуха и канал 4 для подачи ингибитора коррозии внутрь рукавной полимерной пленки. Устройство содержит также систему подачи ингибитора коррозии. Устройство снабжено смонтированной с возможностью вертикального перемещения полой каме рой 5 с входным отверстием б в ее верхней части, выходным отверстием 7 в ее нижней части и соосно установленным в ее полости герметичным поплавком 8 с клапанами 9 и 10 для входного 6 и выходного 7 отверстий соответственно. Полая камера 5 посредством входного отверстия б сообщена с системой подачи ингибитора коррозии, а посредством выходного отверстия 7 - с каналом 4 для подачи ингибитора коррозии. Канал 3 для подачи сжатого воздуха снабжен патрубком 11. Стенка полой камеры 5 выполнена из прозрачного материала (например , стекла) или снабжена смонтированным окном (не показано). Полая камера 5 посредством входного отверстия 6 связана с магистралью 12 и обогреваемым нагнетательным баком 13. Посредством выходного отверстия 7 она связана с магистралью 14, каналом 4 дорна 2 для подвода ингибитора коррозии внутрь рука-вной полимерной пленки и баком 15, оснащенным вакуум-насосом 16 (для откачки ингибитора коррозии из полости рукавной полимерной пленки в аварийной ситуации). Магистраль 12 подачи ингибитора коррозии в полую камеру 5 снабжена обратным клапаном 17 для предотвращения попадания в нее сжатого воздуха . На магистралях 12 и 14 установлены распределители 18 и 19 для управления подачей ингибитора коррозии в рукавную полимерную пленку и откачкой его в аварийной ситуации. Для регулирования величины подачи ингибитора коррозии в полую камеру 5 и, соответственно, в рукавную полимер- ную пленку устройство снабжено пневмоклапаном 20. Устройство снабжено также краном 21 для перекрытия доступа сжатого воздуха в нагнетательный бак 13, краном 22 для перекрытия выхода ингибитора коррозии из нагнетательного бака 13,

[5]

краном 23 для подачи ингибитора из бака 15 в нагнетательный бак 13. Для охлаждения рукавной полимерной пленки установка снабжена кольцевым коллектором 24. Полая

[6]

камера 5 дополнительно сообщена с каналом 3 для подачи сжатого воздуха, например , магистралью 25. Герметичный поплавок 8 может быть выполнен в виде сильфона.

[7]

0Устройство работает следующим образом .

[8]

Производят наладку устройства на соответствующий режим получения рукавной полимерной пленки. Нагревают ингибитор

[9]

5 коррозии в нагнетательном баке 13 до соответствующей данному режиму температуры . Открывают кран 22, затем кран 21 и настраивают пневмоклапаном 20 давление воздуха в нагнетательном баке 13, при кото0 ром ингибитор коррозии поступает в полую камеру 5. После всплытия герметичного поплавка 8 клапан 10 открывает отверстие 7 и ингибитор коррозии поступает по магистрали 14 и каналу 4 в полость рукава 26 (рукав5 ной полимерной пленки), растекаясь при этом по поверхности дорна 2. Количество поступающего в полую камеру 5 ингибитора должно быть равно или больше расхода его в рукаве 26, Если количество ингибитора

[10]

0 больше, то герметичный поплавок 8 всплывает выше и клапан 9 перекрывает подачу ингибитора коррозии в полую камеру 5. Давление оздуха в рукаве 26 поддерживает уровень ингибитора коррозии в полой каме5 ре 5 несколько выше, чем над дорном 2.

[11]

Поддерживать соответствующий технологическому режиму уровень ингибитора коррозии в рукаве 26 необходимо изменением высоты установки полой камеры 5 по

[12]

0 отношению к поверхности дорна 2, замеряя при этом либо его уровень в рукаве 26, либо его уровень в камере 5 (вводя соответствующие поправки). Экструдируемый рукав 26 находится в постоянном контакте по всей

[13]

5 внутренней поверхности с ингибитором от линии выхода его (рукава) из формирующей щели (не показана) головки до границы уровня ингибитора коррозии(максимально, до линии замерзания рукавной полимер0 ной пленки, т.е. до зоны перехода полимера в твердое состояние). Это обеспечивает эффективную диффузию ингибитора коррозии в толщу рукава 26 (рукавной полимерной пленки), а изменение уровня ингибитора

[14]

5 коррозии в рукаве 26 - варьирования антикоррозионных свойств пленки рукава 26.

[15]

В аварийной ситуации, например при прорыве рукава 26, что бывает достаточно часто, включением электромагнитов распределителей 18 и 19 перекрывают подачу

[16]

ингибитора коррозии в камеру 5, открывают проход из полости рукава 26 и из каморы 5 в бак 15, включают вакуум-насос 16. Ииги битор будет удаляться из камеры 5 до тех пор, пока поплавок 8, опустившись, не за- кроет клапаном 10 выходное отверстие 7 камеры 5 и из полости рукава 26 полностью. Это предотвращает растекание ингибитора по головке, его интенсивное испарение, что значительно улучшает условия эксплуата- ции. После заполнения бака 15 открывают кран 23 и переливают ингибитор в нагнетательный бак 13

[17]

Сообщение полой камеры 5 с каналом 3 для подачи сжатого воздуха, например, ма- гистралью 25 позволяет уравнять давление воздуха над ингибитором в рукаве 26 и камере 5 и произвести регулировку высоты его уровня в рукаве 26 по показаниям его уровня в камере 5 без поправок на разчость уровней.

[18]

Если выполнить поплавок 8 в виде сипь- фона, то в рабочем положении давление воздуха в камере 5 или в рукаве 26 сжимает его, и он работает в сжатом положении. В случае прорыва рукава 26 давление воздуха падает до нуля, поплавок 8 мгновенно разжимается и перекрывает подачу ингибитора в рукав 26, что значительно увеличивает надежность устройства в работе.

[19]

Предлагаемое устройство для изготовления рукавной полимерной пленки позволит улучшить антикоррозионные свойства последней за счет непосредственного контакта всей внутренней поверхности рукава, находящейся в вязко-текучем состоянии, с жидким ингибитором коррозии и, как следствие , лучшим насыщением ее ингибитором , повысить ее качество, а также повысить надежность устройства в работе

[20]

за счет предотвращения выброса ингибито ря наружу рукава при его прорыве и за счет ИС точения необходимости в устройств д.ч pei енерации ингибитора и периодиче г.кой остановки процесса с целью очистки

[21]

ГОЛОВКИ.

[22]

Формула изобретения

[23]

1 Устройство для изготовления рукавной полимерной пленки, содержащее экс- тр/зионную головку с полым корпусом соосно размещенным в полости корпусадо- рном, выполненным в дорне каналами для подачи сжатого воздуха и ингибитора коррозии внутрь рукавной полимерной пленки и систему подачи ингибитора коррозии, о т- личающееся тем, что с целью повышения надежности устройства в работе и качества получаемой пленки за счет улучшения ее антикоррозионных свойств, устройство снабжено смонтированной с возможностью вертикального перемещения полой камерой с входным отверстием в ее верхней части, выходным отверстием в ее нижней части и соосно установленными в ее полости герметичным поплавком с клапанами для входного и выходного отверстий, причем полая камера посредством входного отверстия сообщена с системой подачи ингибитора коррозии, а посредством выходного отверстия - с каналом подачи ингибитора коррозии .

[24]

2.Устройство поп. 1. о т л и ч а ю иц е е- с я тем, что полая кямера дополнительно сообщена с каналом для подачи сжатого воздуха

[25]

3.Усфойство по пп. 1и2,отличэю- щ е е с я тем, что герметичный поплавок выполнен в виде сильфона.

[26]

2 J11 .4 МГ 7

[27]

ч

[28]

Ь

[29]

Г 7

[30]

Ь

[31]

12

Как компенсировать расходы
на инновационную разработку
Похожие патенты