Изобретение относится к вычислительной
технике и может быть использовано в информационно-измерительных системах. Целью изобретения является повышение быстродействия и расширение функциональных
возможностей. Отоэлектронный преобразователь напряжения в код содержит генератор импульсов, дискретный дефлектор
, блок преобразования координаты луча в код, выполненный в виде кодирующей маски с фотоприемниками, цифроаналоговый
преобразователь и компаратор. 1 з.п.ф-лы, 2 ил.
u Фиг. 1
Изобретение относится к вычислительной
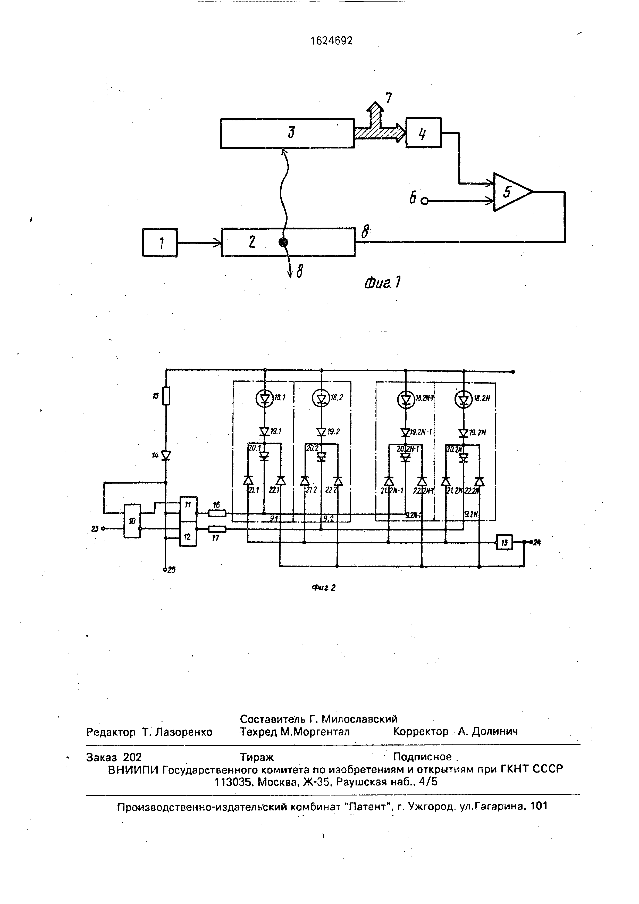
технике и может быть использовано в информационно-измерительных системах Цель изобретения - повышение быстродействия и расширение функциональных возможностей. На фиг. 1 представлена структурная схема устройства; на фиг. 2 - функциональная
схема дискретного дефлектора.. Оптоэлектронный преобразователь напряжения
в код (фиг. 1) содержит генератор 1 импульсов, дискретный дефлектор 2, блок
3 преобразования координаты луча в код, выполненный в виде кодирующей маски с
фотоприемниками, цифроаналоговый преобразователь 4, компаратор 5. При этом выход
генератора 1 импульсов соединен с входом дискретного дефлектора 2, дополнительный
вход которого подключен к выходу компаратора 5. Первый вход компаратора 5
является входом б устройства, а второй вход компарэторя 5 соединен с выходом цифро-
аналогового преобразователя 4. группа входов которого соединена с группой электрических
выходов блока 3 преобразования координаты луча в код и явпяется группой
электрических выходов 7 устройств. Группа оптических выходов дискретного дефлектора
2 является группой оптических выходов 8 устройства и соединена с группой оптических
входов блок 3 преобразования координаты луча в код. Дискретный дефлектор 2 содержит (фиг. 2)2 N разрядов 9.1,9.29.2п реверсивного оптоэлектронного сдвигающего регистра, триггер 10, первый и второй элементы И-НЕ
11 и 12, инвертор 13, запускающий светоди- од 14 и первый, второй и третий ограничительный
резисторы 15,16 и 17. Реверсивный Оптоэлектронный сдвигающий регистр в
каждом разряде содержит индикационные светодиоды 18.1,18.218.1,...18.2п, первые светодиоды 19.1, 19.2 19119.2п, фототеристоры 20.1, 20.220.2п, вторые светодиоды
21.1. 21,221.2п и третьи светодиоды 22.1, 22.222.2п В каждом i-м -ЪяГ
Ё о hO ON О ю разряде реверсивного оптоэлектронного сдвигающего регистра (где I 1,22п) катод
индикационного светодиода 181 соединен с анодом первого светодиода 191, катод
которого соединен с анодом фототиристора 201 и катодами второго и третьего светоди-
одов 211 и 22. Вход 23 дискретного дефлектора 2 подключен к счетному входу триггера
10, дополнительный вход 24-к входу инвертора 13 и анодам третьих светодиодов 22 во
всех разрядных реверсивного оптоэлектронного сдвигающего регистра, а вход 25
установки в начальное состояние - к вторым входам первого и второго элементов И-НЕ
11 и 12, входу установки в начальное состо- яние триггера 1 и катоду запускающего светодиода
14. Выход инвертора 13 соединен с анодами вторых светодиодов 211 в каждом
разряде реверсивного оптоэлектроного сдвигающего регистра. Анод запускающего
светодиода 14 через первый ограничительный резистор 15 подключен к шине 26 питания
и анодам индикационных светодиодов 181 во всех разрядах реверсивного оптоэлектронного
сдвигающего регистра. Еди- ничный выход триггера 10 соединен с первым входом первого элемента И-НЕ 11,
нулевой выход - с первым входом-второго элемента И-НЕ 12, при этом выход первого
элемента И-НЕ 11 через второй ограничи- тельный резистор 16 подключен к катодам
фототиристоров 20 во всех нечетных разрядах реверсивного оптоэлектронного сдвигающего
регистра, а выход второго элемента И-НЕ 12 через третий ограничительный ре-
зистор 17 - к катодам фототиристоров 20 во всех четных разрядах реверсивного оптоэлектронного
регистра. Запускающий свето- диод 14 оптически связан с фототиристором
первого разряда реверсивного оптоэлект- ронного сдвигающего регистра, в котором
оптические выходы первых светодиодов 19i во всех разрядах являются группой оптический
выходов 8 дискретного дефлектора 2, каждый третий светодиод 22i предыдущего
разряда оптически связан с фототиристором 20 (I + 1) поступающего каскада, а каждый
фототиристор 20i предыдущего разряда - со вторым светодиодом 21 (i + 1) последующего разряда. Преобразователь напряжения в код работает следующим образом, При подаче тактовых импульсов с выхода генератора 1 импульсов на вход 23 дискретного
дефлектора 2 в последнем происходит смещение светящейся точки на дискретные расстояния (кванты длины) В
зависимости от места нахождения светящейся точки луч ог нее с одного из выходов
8 дискретного дефлектора 2 подается на один из оптических входов блока 3 преобразования
координаты луча в код. Блок 3 пре- образования координаты луча в код
формирует на группе электрических выходов цифровой код, соответствующий координате
светящейся точки на дискретном дефлекторе 2, который подается на группу
электрических выходов 7 устройства и на группу входов цифроаналогового преобразователя
4. Цифроаналоговый преобразователь 4 преобразует код, поступивший на его
входы, в аналоговый сигнал, который подается с его выхода на второй вход компаратора
5. Если величина напряжения 1)э, присутствующего на втором входе компаратора
5, меньше величины входного напряжения UBX, ( Us UBX), поступающего в этот
момент времени на вход 6 устройства, то на выходе компаратора 5 формируется уровень
напряжения, соответствующий 1, которая поступает на дополнительный вход 24 дискретного дефлектора 2.
1 на дополнительном входе дискретного дефлектора 2 обеспечивает в дискретном
дефлекторе 2 сдвиг светящейся точки вправо при поступлении тактовых импульсов
от генератора 1 импульсов. Причем сдвиг светящейся точки вправо в дискретном
дефлекторе 2 будет осуществляться до тех nopv пока полярность напряжений на
первом и втором входах компаратора 5 не изменится на противоположную, т.е 1)э
UBX. При этом необходимо отметить, что до установления этого соотношения на входах
компаратора 5 величина кода на группе электрических выходов 7 устройства непрерывно растет. Как только на первом и втором входах компаратора 5 устанавливается соотношение
Уэ UBX, на выходе его формируется уровень напряжения, соответствующий
значению О. При этом на дополнительный вход дискретного дефлектора 2 поступает
уровень О, который обеспечивает в кем при поступлении тактовых импульсов от генератора
1 импульсов сдвиг светящейся точки влево до тех пор, пока на входах компаратора
5 не наступит соотношение U3 UBX . т.е при смещении светящейся
точки в дискретном дефлекторе 2 влево величина кода на группе электрических выходов
7 устройства будет уменьшаться-до наступления соотношения U3 UBx. Таким образом, данный преобразователь напряжения в код работает как преобразователь
следящего типа и представляет преобразованный сигнал как в виде кода
(группа электрических выходов 7 устройства ), так и в виде координаты светящейся точки (группа оптических выходов 8 устройства ), Рассмотрим работу дискретного дефлектора 2, представленного на фиг, 2. В начальный момент на шину 26 питания подается положительное напряжение, а
на вход 25 установки в начальное состояние - низкий уровень напряжения, который поступает
на вход установки в начальное состояние триггера 10, катод запускающего
светодиода 14 и вторые входы первого и второго элементов И-НЕ 11 и 12. При этом триггер 10 устанавливается в единичное состояние, т.е. на его единичном
выходе присутствует 1, которая подается на первый вход первого элемента И-НЕ 11,
а на нулевом выходе , который подается на первый вход второго элемента М-НЕ 12.
Однако, вследствие того, что на вторых входах первого и второго элементов И-НЕ 11 и
12 присутствует в этот момент времени низкий уровень напряжения О со входа 25
установки в начальное состояние устройства , на выходах первого и второго элементов
И-НЕ 11 и 12 в это время будут присутствовать одновременно высокие уровни напряжения
1. Кроме того, под действием низкого уровня напряжения со входа 25 установки
в начальное состояние устоойства включается запускающий светодиод 14, оптический
сигнал с которого переводит в прямое смещение фототиристор 20.1 первого
разряда 9.1 реверсивного оптозлектоонно- го сдвигающего регистра, После снятия низкого
уровня напряжения О с входа 25 установки в начальное состояние устройства
на выходе первого элемента И-НЕ 11 формируется низкий уровень напряжения,
соответствующий значению О, который подается через второй ограничительный резистор
16 на катоды фототиристоров 20i всех нечетных разрядов реверсивного опто-
электронного сдвигающего регистра. При этом фототиристор 20.1 первого разряда 9.1
его переходит в проводящее состояние, первый светодиод 19.1 излучает свет на первый
выход группы оптических выходов 8 устройства , а индикационный светодиод 18.1
первого разряда 9.1 реверсивного оптсэ- лектронного сдвигающего регистра визуально
выдает информацию о том, что первый разряд 9.1 дискретно дефлектора 2
находится в возбужденном состоянии, Для определенности допустим, что в течение
рассматриваемого в настоящий момент промежутка времени на дополнительном входе 24 дискретного дефлектора
2 присутствует 1, которая подается на эноды третьих светодиодов 22 всех
разрядов 91 реверсивного оптоэлектронного сдвигающего регистра. При этом только
третий светодиод 22.1 первого разряда 9.1 излучает свет на фототиристор 20.2 второго
разряда 9.2, поскольку только фототиристор 20.1 первого разряда 9,1 находится в проводящем
состоянии. После установки триггера 10 в единичное
состояние и поступления первого импульса от генератора 1 импульсов на вход 23 0 дискретного дефлектора 2 и счетный вход триггера 10 он переключается в противоположное
(нулевое) состояние, т.е. на его единичном выходе сформируется уровень
напряжения, соответствующий О, а на его 5 нулевом выходе - уровень напряжения, соответствующий
1. При этом на выходе второго элемента И-НЕ 12 появляется уровень
напряжения, соответствующий О, который подается через третий ограничительный ре0
зистор 17 на катоды фототиристоров 20i всех четных разрядов 9i реверсивного опто-
электронногс сдвигающего регистра. За счет присутствия оптического сигнала
на фототиристоре 20.2 второго разряда 5 9.2 от третьего светодиода 22.1 первого разряда
9.1 фототиристор 20.2 переходит в про- водящее состояние, вследствие чего
происходит возбуждение второго разряда 9.2 реверсивного оптоэлектронного сдвига0
ющего регистра и обнуление его первого разряда 9.1. Обнуление первого разряда
осуществляется из-за поступления на катод фотогиристора 20.1 первого разряда 9,1 высокого
уровня напряжения от первого эле5 мента И-НЕ 11, который выключается
низким уровнем напряжения по первому входу от единичного выхода триггера 10. С
приходом второго импульса на счетный вход триггера 10 от переключается снова в 0 единичное состояние, что приведет к воз- буждениютретьего разряда 9.3 реверсивного
оптоэлектронного сдвигающего регистра и обнуление его второго разряда 9.2. После прихода пяти импульсов на вход 5 23 дискретного дефлектора 2 в возбужденном
состоянии будет находится только шес- той разряд 9.6 реверсивного
оптоэлектронного сдвигающего регистра, а следовательно, и дискретного дефлектора 2. 0Пусть в этот момент времени на дополнительный вход 24 дискретного дефлектора
2 поступает О ), подающийся на вход инвертора 13. При этом высокий уровень напряжения
с выхода инвертора 13 поступает на 5 аноды вторых светодиодов 211 всех разрядов
91 реверсивного оптоэлектронного сдвигающего регистра и обеспечит включение
второго светодиода 21.6 его шестого разряда 9.6. Далее, включенный второй светодиод
21.6 шестого разряда 9.6 подает свет на фототиристор 20.5 пятого разряда 9.5, при этом третий светодиод 22.6 шестого
разряда 9.6 выключается вследствие появления на его аноде О от дополнительного
входа 24 дискретного дефлектора 2. С приходом шестого импульса на счетный вход
триггера 10 он переключается, в результате чего произойдет возбуждение пятого разряда
9.5 реверсивного оптоэлектронного сдвигающего регистра за счет присутствия
на его фототиристоре 20.4 оптического сигнала от второго светодиода 21.6 и за счет
поступления на его катод О с выхода второго элемента И-НЕ 12. По приходу седьмого импульса на вход 23 дискретного дефлектора 2 возбуждается
четвертый разряд 9.4 дискретного дефлектора 2 и обнуляется пятый разряд 9.5. Прм
дальнейшем поступлении импульсов на вход 23 дискретного дефлектора
2 и изменении уровней напряжения на дополнительном входе 24 дискретного дефлектора
2 его функционирование осуществляется аналогично описанному выше. Формула изобретения
1.Оптоэлектронный преобразователь напряжения в код, содержащий генератор,
выход которого соединен с входом дискретного дефлектора, отличающийся тем,
что, с целью повышения быстродействия и расширения функциональных возможностей
, в него введены блок преобразования координаты луча в код, выполненный в виде
кодирующей маски с фотоприемниками, цифроаналоговый преобразователь и компаратор
, первый вход которого соединен с входом всего устройства, второй вход соединен
с выходом цифроаналогового преобразователя ,, а выход - с дополнительным
входом дискретного дефлектора, группа оптических выходов которого является группой
оптических выходов всего устройства и оптически связана с группой оптических
входов блока преобразования координат луча в код, группа электрических выходов
которого соединена с группой входов цифроаналогового преобразователя и является
группой электрических выходов всего устройства . 2,Преобразователь по п. 1, о т л и ч а ю- щ и и с я тем, что дискретный дефлектор
содержит счетный триггер, два элемента И- НЕ, инвертор, запускающий светодиод, три ограничительных регистра и реверсивный оптоэлектронный сдвигающий регистр на
2N разрядов, в каждом разряде которого катод индикационного светодиода соединен
с анодом первого светодиода, катод которого соединен с анодом фототиристора и
катодами, второго и третьего светодиодов, при этом аноды индикационных светодиодов
во всех разрядах реверсивного оптоэлектронного сдвигающего регистра
соединены с шиной питания и через первый ограничительный резистор - с анодом запускающего
светодиода, аноды вторых светодиодов соединены с выходом инвертора, аноды третьих светодиодов - с входом светодиодов , при этом аноды индикационных
светодиодов всех разрядов реверсивного оптоэлектронного сдвигающего регистра
соединены с шиной питания и через первый ограничительный резистор - с анодом запускающего
светодиода, аноды вторых светодиодов объединены и подключены к выходу
инвертора, аноды третьих светодиодов объединены и подключены к входу инвертора и дополнительному входу дискретного дефлектора , катоды фототиристоров всех нечетных
разрядов через второй ограничительных резистор соединены с выходом первого элемента И-НЕ, а катоды
фототиристоров всех четных разрядов через третий ограничительной резистор - с выходом
второго элемента И-НЕ, первый вход которого соединен с нулевым выходом счетного
триггера, единичный выход которого подключен к первому входу первого элемента
И-НЕ, причем счетный вход счетного триггера подключен к входу дискретного дефлектора
, вход установки в начальное состояние которого соединен с входом установки в начальное состояние счетного триггера, с вторыми входами элементов И-
НЕ и катодом запускающего светодиода, оптически связанного с фототиристором
первого разряда реверсивного оптоэлектронного сдвигающего регистра, в котором
оптические выходы первых светодиодов во всех разрядах являются группой оптических
выходов дискретного дефлектора, третий светодиод предыдущего разряда оптически связан с фототиристором последующего разряда, а каждый фототиристор предыдущего
разряда - с вторым светодиодом последующего разряда.