заявка
№ SU 1602814
МПК B65G17/42

Вертикальный конвейер для штучных грузов

Авторы:
ТКАЧЕНКО ЕВГЕНИЙ АНАТОЛЬЕВИЧ
Номер заявки
4605731
Дата подачи заявки
15.11.1988
Опубликовано
30.10.1990
Страна
SU
Как управлять
интеллектуальной собственностью
Чертежи 
2
Реферат

[40]

Изобретение относится к конвейерному транспорту, предназначенному для перемещения штучных грузов. Цель - повышение надежности работы вертикального конвейера. Тяговый орган конвейера состоит из внутренней 1 и внешней 2 пары цепей (Ц), охватывающих приводные 3, натяжные 4 и отклоняющие 5 звездочки и связанных с гибкими грузонесущими платформами (ГНП) 6 из планок 7 с рядами роликов. С основным тяговым органом связан дополнительный тяговый орган из дополнительных внутренней 10 и внешней 11 пары Ц, охватывающих дополнительные приводные 12, натяжные 13 и отклоняющие 14 звездочки и связанных с дополнительными ГНП 15 из планок с рядами роликов. Промежуточный ярус (ПЯ) 18 для нагрузки-разгрузки ГНП 15 выполнен из расположенных последовательно на одном уровне верхнего яруса 19 основного тягового органа и нижнего яруса 20 дополнительного тягового органа. На ПЯ 18 установлены основные 21, 22 и дополнительные направляющие. В планках ГНП 15 выполнены сквозные прорези для двух рядов роликов и вертикальные пазы для их осей. Два ряда роликов установлены в прорезях с возможностью перемещения для взаимодействия с грузом 8. Дополнительные направляющие выполнены с возможностью перемещения перпендикулярно осям Ц 10, 11 и взаимодействия с расположенными в сквозных прорезях ГНП 15 роликами. На ПЯ 18 установлены приводные роликовые опоры 23. Груз с опор 23 подается на ГНП 6, транспортируется на ней до ПЯ 18 и передается на ГНП 15. При подаче груза 8 на ярус 19 ГНП 15 катится по направляющим 21 на роликах и затем передает груз на рольганг. 5 ил.

Формула изобретения

17

17

аг.2

А-А

29

25 27

Раг. 3

У/// //////7///////////////

Фиг.4

Описание

[1]

Изобретение относится к промышленному транспорту, а именно к вертикальным конвейерам для штучных грузов.

[2]

Цель изобретения - повышение надежности работы конвейера.

[3]

На фиг. 1 представлен конвейер, общий вид; на фиг. 2 - дополнительная платформа, вид сверху; на фиг. 3 - разрез А-А на фиг. 2; на фиг. 4 - положение груза при передаче его с дополнительной платформы на приводную роликовую опору; на фиг. 5 - положение груза на приводной роликовой опоре.

[4]

Тяговый орган вертикального конвейера для штучных грузов состоит из внутренней 1 и внешней 2 пары тяговых цепей, охватываюших приводные 3, натяжные 4 и отклоняюш,ие 5 звездочки и связанных с гибкими грузонесушими платформами 6 из планок 7 с рядами роликов (не показаны).

[5]

На гибкие грузонесушие платформы 6 устанавливают штучные грузы 8. Рольганги 9 предназначены для подачи штучных грузов 8.

[6]

Конвейер снабжен кинематически связанным с основным тяговым органом дополнительным тяговым органом из дополнительных внутренней 10 и внешней 11 пары

[7]

10

[8]

15

[9]

ликами 29, служаш.ими опорой при передаче с нее груза 8.

[10]

Конвейер на подъем работает следуюш,им образом.

[11]

Груз 8 подается с роликовых опор 23 на гибкую грузонесущую платформу 6, транспортируется на ней вверх до промежуточного яруса 18 и передается на дополнительную гибкую грузонесущую платформу 15. Если груз 8 необходимо подать на верхний ярус 19, то дополнительные направляющие 27 устанавливаются в положение II и дополнительная гибкая грузонесущая платформа 15 катится на горизонтальном участке по направляющим 21 на роликах 28, а затем поднимается и передается груз на рольганг 9.

[12]

Если груз необходимо разгрузить на промежуточном ярусе 18, то дополнительные направляющие 27 устанавливаются в поло- 20 жение I и дополнительная гибкая грузонесущая платформа 15 катится на промежуточном ярусе 18 уже по дополнительным направляющим 27 роликами 17, которые поднимаются в пазах 25 в верхнее положение и несколько выступают над плантяговых цепей, охватывающих дополнитель- ками 16. Неподвижно прикрепленные ролики 28 в этом случае проходят выше направляющих 21. Груз 8 теперь катится на роликах 17 и 29 со скоростью, в два раза больщей скорости дополнительной гибкой грузонесущей платформы 15, и передается на приводные роликовые опоры 23 и рольганг 9.

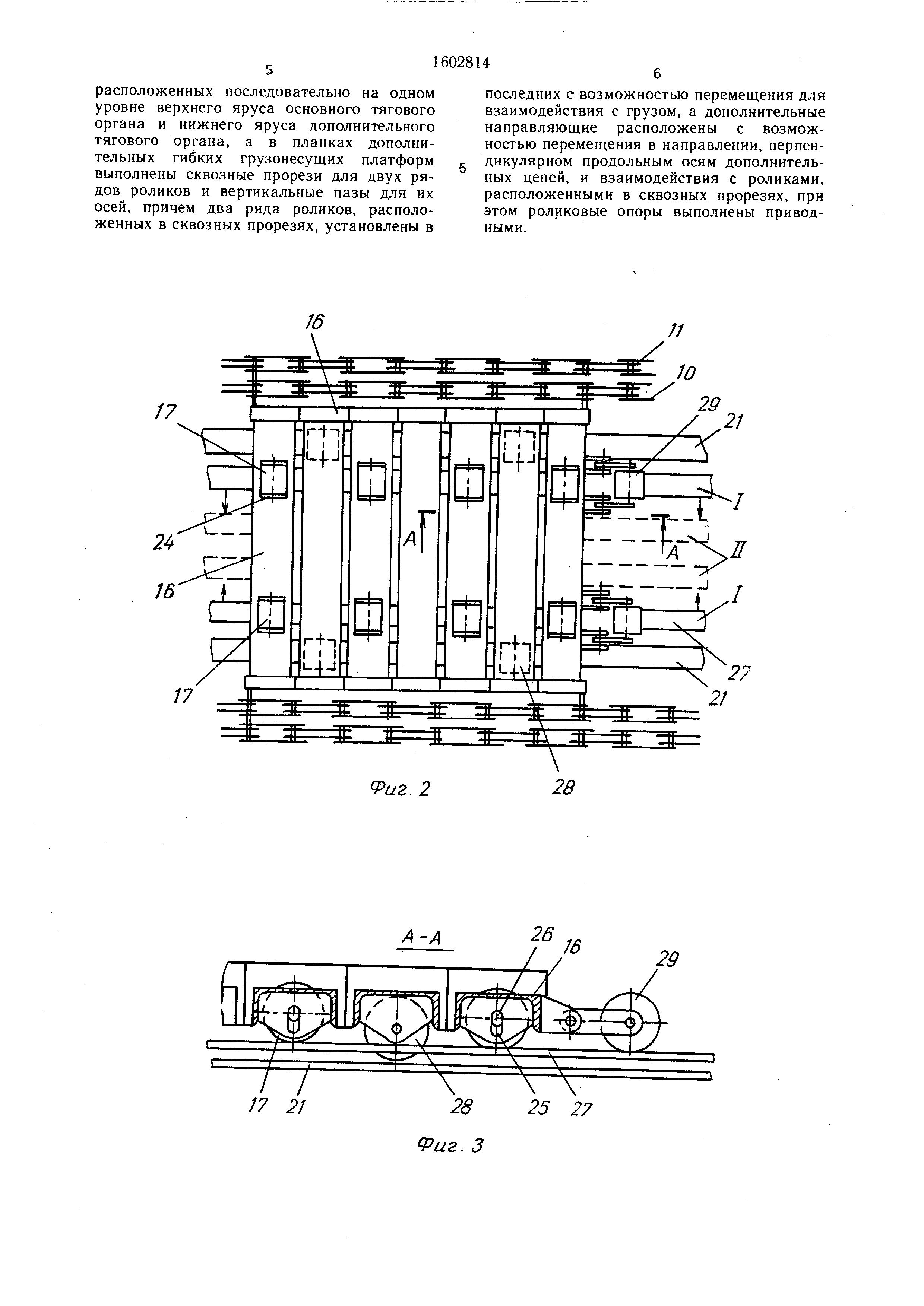
[13]

ные приводные 12, натяжные 13 и отклоняющие 14 звездочки и связанных с дополнительными гибкими грузонесущими платформами 15 из планок 16 с рядами роликов 17.

[14]

Промежуточный ярус 18 для погрузки- разгрузки гибких грузонесущих платформ выполнен из расположенных последовательно на одном уровне верхнего яруса 19 основного тягового органа и нижнего яруса 20 дополнительного тягового органа.

[15]

На промежуточном ярусе 18 и нижнем ярусе 20 для погрузки-разгрузки гибких грузонесущих платформ установлены направляющие 21 и 22. На промежуточном ярусе 18 установлены роликовые опоры 23, выполненные приводными.

[16]

В планках 16 дополнительных гибких грузонесущих платформ 15 выполнены сквозные прорези 24 для двух рядов роликов 17 и вертикальные пазы 25 для их осей 26.

[17]

Указанные два ряда роликов 17 расположены в прорезях с возможностью перемещения и взаимодействия с грузом 8. На промежуточном ярусе установлены дополнительные направляющие 27, выполненные с возможностью перпендикулярного цепям перемещения и взаимодействия с роликами 17 в прорезях 24;

[18]

Оси двух других рядов роликов 28 на планках 16 закреплены неподвижно.

[19]

30

[20]

ки 28 в этом случае проходят выше направляющих 21. Груз 8 теперь катится на роликах 17 и 29 со скоростью, в два раза больщей скорости дополнительной гибкой грузонесущей платформы 15, и передается на приводные роликовые опоры 23 и рольганг 9.

[21]

Возможна реверсивная работа конвейера.

[22]

Формула изобретения

[23]

35

[24]

Вертикальный конвейер для штучных грузов , включающий тяговый орган из внутренней и внещней пары цепей, охватывающих приводные, натяжные и отклоняющие звездочки и связанных с гибкими 40 грузонесущими платформами из планок с рядами роликов, направляющие, расположенные на промежуточном ярусе для погрузки-разгрузки , роликовые опоры, размещенные на промежуточном ярусе, и рольганги , размещенные на нижнем, промежуточном и верхнем ярусах, отличающийся тем, что, с целью повышения надежности работы конвейера, он снабжен двумя дополнительными направляющими, расположенными на промежуточном ярусе, .кинематически связанным с основным тяговым органом дополнительным тяговым органом из дополнительных внутренней и внешней пары цепей, дополнительными приводными, натяжными и отклоняющими звездочками для дополнительных цепей и связанными с пос45

[25]

50

[26]

Каждая дополнительная гибкая грузоне- 55 ледними дополнительными гибкими грузонесущая платформа 15 со стороны крепления к внутренней паре 10 тяговых цепей снабжена двумя шарнирно прикрепленными росущими , платформами из планок с рядами роликов, при этом промежуточный ярус для погрузки-разгрузки выполнен из

[27]

ликами 29, служаш.ими опорой при передаче с нее груза 8.

[28]

Конвейер на подъем работает следуюш,им образом.

[29]

Груз 8 подается с роликовых опор 23 на гибкую грузонесущую платформу 6, транспортируется на ней вверх до промежуточного яруса 18 и передается на дополнительную гибкую грузонесущую платформу 15. Если груз 8 необходимо подать на верхний ярус 19, то дополнительные направляющие 27 устанавливаются в положение II и дополнительная гибкая грузонесущая платформа 15 катится на горизонтальном участке по направляющим 21 на роликах 28, а затем поднимается и передается груз на рольганг 9.

[30]

Если груз необходимо разгрузить на промежуточном ярусе 18, то дополнительные направляющие 27 устанавливаются в поло- жение I и дополнительная гибкая грузонесущая платформа 15 катится на промежуточном ярусе 18 уже по дополнительным направляющим 27 роликами 17, которые поднимаются в пазах 25 в верхнее положение и несколько выступают над планками 16. Неподвижно прикрепленные роликами 16. Неподвижно прикрепленные роли

[31]

ки 28 в этом случае проходят выше направляющих 21. Груз 8 теперь катится на роликах 17 и 29 со скоростью, в два раза больщей скорости дополнительной гибкой грузонесущей платформы 15, и передается на приводные роликовые опоры 23 и рольганг 9.

[32]

Возможна реверсивная работа конвейера.

[33]

Формула изобретения

[34]

5

[35]

Вертикальный конвейер для штучных грузов , включающий тяговый орган из внутренней и внещней пары цепей, охватывающих приводные, натяжные и отклоняющие звездочки и связанных с гибкими 0 грузонесущими платформами из планок с рядами роликов, направляющие, расположенные на промежуточном ярусе для погрузки-разгрузки , роликовые опоры, размещенные на промежуточном ярусе, и рольганги , размещенные на нижнем, промежуточном и верхнем ярусах, отличающийся тем, что, с целью повышения надежности работы конвейера, он снабжен двумя дополнительными направляющими, расположенными на промежуточном ярусе, .кинематически связанным с основным тяговым органом дополнительным тяговым органом из дополнительных внутренней и внешней пары цепей, дополнительными приводными, натяжными и отклоняющими звездочками для дополнительных цепей и связанными с пос5

[36]

0

[37]

сущими, платформами из планок с рядами роликов, при этом промежуточный ярус для погрузки-разгрузки выполнен из

[38]

расположенных последовательно на одном уровне верхнего яруса основного тягового органа и нижнего яруса дополнительного тягового органа, а в планках дополнительных гибких грузонесущих платформ выполнены сквозные прорези для двух рядов роликов и вертикальные пазы для их осей, причем два ряда роликов, расположенных в сквозных прорезях, установлены в

[39]

последних с возможностью перемещения для взаимодействия с грузом, а дополнительные направляющие расположены с возможностью перемещения в направлении, перпендикулярном продольным осям дополнительных цепей, и взаимодействия с роликами, расположенными в сквозных прорезях, при этом роликовые опоры выполнены приводными .

Как компенсировать расходы
на инновационную разработку
Похожие патенты