заявка
№ SU 1518132
МПК B28B13/02

Установка для изготовления кирпичных панелей

Авторы:
ВОЙЛОВ ЮРИЙ ГРИГОРЬЕВИЧ БАШКОВ ИЛЬЯ МИХАЙЛОВИЧ СУСЛОВИЧ АРКАДИЙ ЗИНОВЬЕВИЧ
Все (6)
Номер заявки
4175387
Дата подачи заявки
27.11.1986
Опубликовано
30.10.1989
Страна
SU
Как управлять
интеллектуальной собственностью
Чертежи 
3
Реферат

[29]

Изобретение относится к строительству, а именно к установкам для изготовления кирпичных панелей, и позволяет повысить производительность путем автоматизации процесса кладки кирпичей. Это достигается тем, что устройство вертикально перемещения снабжено синхронно действующими фиксаторами 18, подвижной платформой 12 с рельсовыми направляющими под тележку 21 для выкладки панелей с выдвижными упорами, механизмам 6 формирования фрагментов ряда - элеваторами для ориентированной подачи кирпичей, устройствами перегрузки, сталкивающими устройствами, направляющими лотками и платой с приводом для предварительной выкладки фрагмента ряда, при этом фиксаторы 12 выполнены с возможностью вращения с консольными опорами, расположенными по винтовой линии. 2 з.п. ф-лы, 6 ил.

Формула изобретения

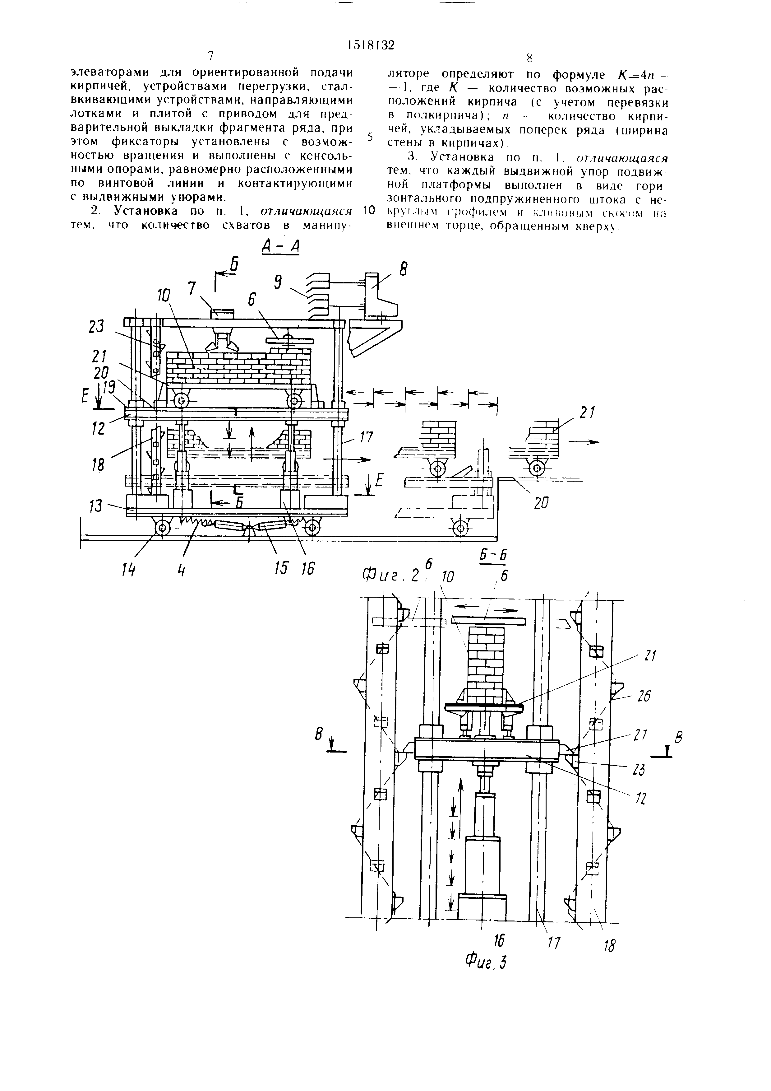
кис и |.;я).1омкра (1« (: инд|1Ы I l(i осу lUcc I li. iHKJiiiiic Ho.ibcM и iioiiiai oiioc oa;-,.. каиис i. юта ii. lai ijiomibi 12, ве|Г1-и ныс иаи| аяляи):и1:е 17 ;i фикс,1тг)ры 18, ci .:i 111 if,. И ниьк- но Ui)viHaM a, la riii(. |iMi 1 la ;: H. KiHHc 17 и :j.iii 1 a горы 18 раскрси.;;с ii, и мс 1,1,:. iiic I |i кипи рамм 13 |не ио ка ia но I

11,1 iH pxHi ;i 11.1оск:иги Г:) iKioiua. iKH- ii. la ; формы i2 , с I ано, |сиы рел ijC(.iBijie на- lilKiB. uiHHiHiC 21) с юрдовыми .iiofiaMH, прсмогн|1а lua hJiiuiMii с -е|цение TC,IC/KKII 21, коюрач иа ка ; ьникдся и за кре1,.1Яс гея на кп- лсс . i lla ic.icAKc 1 Н Дстся : ыкла;1 ка c lcHoBoii ки1)ничной нанс.чи 1(1 но la.ian- iioii ii)oj pa i U

Рид|.1. с каркасол б.нжа либо к доп нол iccrc H.:i )асс1 ;яы1и и, 1И нысоГ1 ус а- i-a I . iiiuaci я MV чл 22 а ,м)грамм1 ; 1вання и iipaB.b4ii 4 каь; о цел MiiiiMH мс а1; ч (мами. I а ч II ус raiio r.:i в не. ICM

l.ioi;::i ;ка м,1|фог.м.л 12 Hpi-.ic а вл ясл с. Ka ci -AH нллскхн) 1Г1о1на.. когор хю

0

5 0

:.

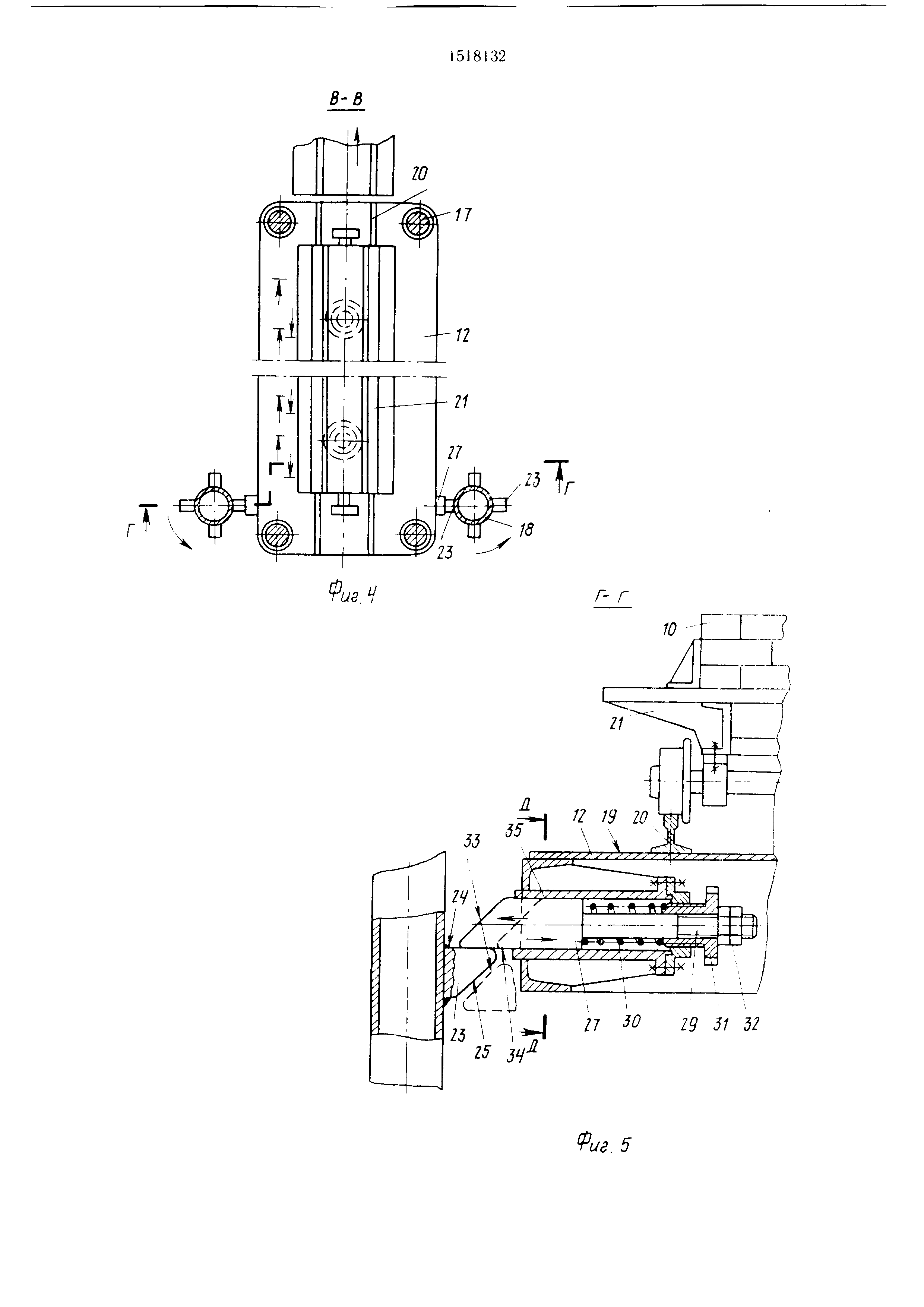
ii с i no|)e oHC p 2. ) и 11.о|цадке-iKia rijiop- Mf 12 имеются НИН1И, в которые вмонти lHii-i i)ibi уноры 27 Каждый У пор В1..ч10,-;нен в виде го|)изонтального, выдвижног-(), жинснного штока, и% еюн1е о HeKfn i , про- (})и, 28, который на внутреннем iopue переходит в круглоерезьбовый стер Ичснь 29 и на HCi o надевают с.чира, 1ьную ,ин 3(1 с н.ажимной p(M y,iiip K;inei; ; и- ,ihe ее сжатия iHToii .51 и i д раничива ю- iiieii «.ход ине1)ед K(4i гргайко:-; 32

На внешнем (наружном ro|juc v. io|ia 27 имеются несамотормозян1ий скос ,.5. v обра 1и1Ч1Н1):й квер.ху с уг, К)м |аклг)н. СР.ЫНИ- 45, а по |иж,чеГ1 сторонеГ1.)я ii,i(i i;;iдь .а 34 )емеч11,аюгся по , |ЯК1- ,i5.

Vi fanoFSKa работает сл муюииш (j6paзом И пульт 22 управления зак.1адывак1Т выО 1аннук) и)()-рамму к.тадкн пане, 1и, напри- MCJ , то,||1111ной из дву,х лоперечны.х кирпичей , определенной л.,чины и высог1 1, с оконным проемом. 1 1инаип выг1о,1нения всех )е|;а1и1Й к, состоит в том, чтг) каж- luiji гори.зон галы11 1Й ряд, в заиисимости от iiipHiibi, имеет конечное ко, 1ичество во-1мож .|и rill 13 ( ii;iiipan(i

i 1ЯЛ КИ|111ИЧ1 Й и f

и р;1Чрави11и;кмч Н

ных расположении кирпича, т. е. тычковых и ;1ожковых положений поперек рнда с перевязкой в полкирпича, которое мг)Ж1 т быть onpe.u .H Ho (ивис имос. 1 ЬК1

1.

1 Ле К ко.чичество в):пи)жны )а1 П();|ожеНИИ кирпича; п количество кирпичей. к.1адывае 1ое

И) jnna н Т1 1чковом по.юж. - НИИ, т. е. 1пирича стены в кирпичах.

Пульт 22 управ,1ения включает и работу механи:4мы в том с.п чае, ес.ти п.юшад- ка-платформа 12 с откатной те:1ежко11 21 находится в верхнем (рабочем) по.южении, которое является исходным чроинсм д.1я начала вык.тадки заданной iiaHe,in

(1едовате.1ьно, когда п,1атфо|)ма с гележ- кой выстав,тены в нужной точке, иа ii,ibi поступает ра tpeniaKJHinii сигна, о начале отработки прог раммы и в работч включаю - ся транспортеры подачи кирпичей и ш,; катели, срабатываюнии в oHfHMe.ieiiiioi пос.тедоваге.пиюсги, с 11омо1нью К( на плите (1 нредварите.11.ной .1адки h формируется .(аданиого ряда кирпичей , ко1 да он сотов, мани1 у,-|ято) Sc мнг.- I омес тным и схватами 9.«ахватываег днп временно (схваты скоординированы и (laHCTBe) кирпичи, приподнимает их, IMHM убирается соптветс и ющим прнв1 ;; | ina приме|1, гидро-,1ипо ||неямони,-|инд;м)м I и кир пичи онускаются па тг, |ежку 21, где 11)едва риге, 1Ы1о мехапипюм высти, с. юи lacTBopa, iaieM схват1)1 9 освобождаю; ки;1 ничи и поднимаются.

Одновременно 13 Ш ремепии гея ма одии niar (равн1)1Й преимч щественио 1.2 кир1П(ча) в иродо, 1ьном направ, 1е1П11 ( во), а плита 6 во:шра1нается в iiejiBo- пача;|ьное гкхюжение и на Heii вновь формируется очередной фрагмент ряда ич кир ничей д,1я нос, 1едуюн1,его цик, 1а к,1адки и ||ане,1ь К). И так продо.1жается до еа Moi o конпа нане, 1И.

Когда один яд кирпичей у.южен п;: Bceii длине пане,п1 К), п. кннадка- ыатфор ма 12 с те,1ежкой 21 о 1 скаетси с помоппдо гидр()ци,1индров If) по нанрав, 1яюн1и 1 17 вниз к плите, кот())ая начинает возвра шаться назад (в,1ево) с остановками д,1я кладки фрагм ч1тов ки)1ичей в нанель е иомощью маннпулятора «. При оч(чимиых пик,1ах продвижения i и B.ieBo) на уложен нь механизма 7 подается с,1ой раство)а.

Таким образом, на те, 1ежке 21 сов(р Н аюп1ей вместе с п,101надко11-п,1ат(()орм()и 12 п П, 1ИТ1П | 13 |«) inpa i lio-iiori ii;i К Льныг пере мешепия, в сквозном огсеке 2 по Ko.iee 3, е пота овым опусканием, U)iK, ia дывае ч я папе , : ь 10.

5

5

0

0 д

0

5

Осу щеетвляется в с,1едуюн1ем порядке . Гндр()иилиндр1,| 16 получают го,1Ч(ж вверх, освобождая от соприкосновения упо ры 27 п, 101цадки-11.1а1фор 1Ы 12 (, опора ми 23 (|)икса1ора l. В ют момент фик саторы синхронно поворачиваются на ro.i 9() 180 (предпочтите,ьно на 90 ), ()дяг ИЗ-П0.1 упоров 27 свои onofiiii 23 и iKioiiia i- ка н,татформа 12 свободно опускаете внш fia вновь нодсгав, 1енные (пот поры 27) 1НЖерас110,10жен1П 1г опоры, KoTo) О1чтоя1 от п К дыдупи1х (па когорые ранег ,1нсь yiiopi.i) на один n;ai к,1адки, равньп nfi 80 мм. Так как фикса юры 18 (iacno,io- Ж(Ч1Ы с | ротив(М1о, сторон 11,1оп1адкп- п,1ат-формы 12, I o П|1еД(Т Ц1ан1ае1Ч Я ее по- неречн1)1Й нерекое, а сме1пенное пх расмо ,тоженне но д,тине н, ьппадки-n.ia 1ч(,ы 12 выводит их па траекго 1ип движения п.1игы ti

При оп скани1 п,1о|цадки- i, iaT(f)opMb 12 Hopi,i 27 вь1двин д ы за К()нт р ее на посгоя- ие.1ичнп, опеснгчпва юн1 ю по ..шне досгаточны11 конгак соп(1нкаеаю1ппхся н.шс- ки (, ющадок 24 и 3.4 f-le,iH4Hna vianeiia -- ) nopiiB vi опоры ;чм лп|пегсч перемещением аек ,2 по нчьоовомх с;ерж ню 29 1ри евп нчива ИНН гаек комео. и.ная часгь уно|1а 27 ве. i ичи(аегся в piM,ibia ге a;i кива Hiiiifi и XI H.UIH пружины .0 (,жа1иг )Пи)1 iiiV. л| (ВОДИ к я nHioii .

Kilij;; l,lrii- г, II ,; i i; i.i h,l lU .liMM . I i . 11 :ч K Ji Oi НоГ111Ж.;а:о I ;;: ll(ipiiti i: t-;i.;|,., : Baioi no КО/КЧ ;a apt. U ,ibi ,и ,| o ui ка, ,4 на .4. Kuuii. K-,-п. la I (I ll ipM 12 вкам.;;:; им ног ожнюк: ;гижк i; i|iiiK. ирч К на iifii r()p io tblN:ii Г1мр;.ми .агем и, la i ({ю рча с ге.К Ж.-мЧЙ H l.iH ii :иЧ с ч ; |- ..м ого pao:,.v - 10 чо. 10Ж1.Ч1 ия i и. юмкра I. ми П H,I lipai;.: чкици . 17 и 1Д а на в. шваеи я на pax 2 i фиксаго м)в IS IMMMJM.H- )i, ; дес ; ь. 1Ч юг О1.д а Н(. 1|1И ,а11Ин н. м M;iup ii,i ц

)е , каждый ряд l liP:ill4eil. о.. lii.i Х ;, нык, 1ад1 1на1 %: Н) мп-, . м.

I 1.д анпвка .i,i;- и м 01 oti, Н Н ия KiipiiM i ii. ji наНчМеи, I i ,11;и1Я каркас, смом тн;Н)на;1Ные На HI 1 MexaiiH ,1Ы ipaHcnop rHi)o:iaini4 KiipiiiMCM. |})ирммр()ваг1ня фр- , MeirioB ряда и-; . раск, 1а;1ки paciiio pa, а ннп . 1я i о го v xnaraMH. гс.И Жкч i. вык,адки liaHeii . i ро;г,д i-. ) ие|) н ка. ы-oi i и i opH юн а. ; ЬН11 о 1И ;н ;г.|и н иь н п.П tia мм но| (1 ,1 3. | .Ч -I vi. (i: .in iiii inii-4i ч

тем, что, с Де1ЬЮ НОИЫП.Ч НЦЯ 1 ЮИЗНО.:

те, 11,но1, 1Ч1 . 3 :)М.з ги.;а НИН npoui Ci м к.тадки ки|М1ИЧ1-и. e i JM lep ч;ка тьио ; пере ичиения сн,1Г1Ж1 iio краЙ ii ( |Н дв мя .1Ь;,;. га нхрочно i., и. i iix Hiiaa . и ({in Kv a I орамм , М1).1виж/1чи п. 1,1тф| .|IMIMI t pc.ii. coHbiMi fian;,-iB. 1яю;ин in no ; u- it /i к :. Я В:.: к,1адка nani icii выдвижным , io;ia i . П ( jivi la

элеваторами для ориентированной подачи кирпичей, устройствами перегрузки, стал- вкивающими устройствами, направляющими лотками и плитой с приводом для предварительной выкладки фрагмента ряда, при этом фиксаторы установлены с возможностью вращения и выполнены с кснсоль- ными опорами, равномерно расположенными по винтовой линии и контактирующими с выдвижными упорами

2. Установка по п. 1, отличающаяся Tevt, что количество схватов в манипуляторе определяют по формуле У(4м - 1, где К - количество возможных расположений кирпича (с учетом перевязки в полкирпича); пколичество кирпичей , укладываемых поперек ряда (ширина стены в кирпичах).

3. Установка по п. 1. отличающаяся тем, что каждый выдвижной упор подвижной платформы выполнен в виде горизонтального подпружиненного штока с не- кру|. np()(j)M, ie,vi и к. пшовым ()М ил BHeiiJHe.M торце, обращенным кверху.

6

Фиг.2. Ю ,6

21

18

Ч

л г

ю

-.-L

-/

R

JJ

п и

25

/7 Z9 5/ 32

г5 34

иг.5

Описание

[1]

фиг J

[2]

[3]

СП

[4]

00

[5]

со

[6]

ГС

[7]

5

[8]

22

[9]

11 пп|)с ciiiif огносится к стронте;1ьству, . НПО к чм aiioHK.iM л. 1я изсотовления |л;ичн1)1 нашмей

[10]

I U-, и, II (оореп игягюн1 1111енне производи iiMijiiiR TH . т;111опки liVTi M asnoMaiHiia- ции 11ро1кчч-а K.ia. iKu кирпичей.

[11]

|()И1. 1 и ;оГ)раж(М1а предла агмая ус- :а||ч1(ка, общий нид в и.лаие; на фиг. 2 pa.ipt .f Л Л на фи; . I; иа фиг. 3 рачрез ) Б иа фиг. 2, иа (fnir. 4 разрез И В на ( 3; на фи|. 5 ра.зре.з Г I на фиг 4; iiii ((иг. С) Д Д на фи1 5.

[12]

N r la H()iKa госгоит Mt нрогтранственного U ;. 1, 1ич1ч-К()Г() каркаса I. имеюн|его сквоз- iiiji о I u , ii)H)iii 1 v нродо. п.ной колеей 3 и но и11нонны 1 р(.ч чн1 1 1 остановом 4. В кар кагг 1 и на нем суоитиронаны иснол- никмьные мсчани MI,I: гранс.порти ювания ки)ПИ .ич|. ( ; i В. ния f) ipfiarMfi гон пяда Hi них. р.п кда IK1I . расгво 1а ио fio.Mx ряд кириичн 1И к. 1адки

[13]

la.i ни . I) ((юрчования ||) hj.H tsria с . И Г м,1 IHI нулято) К с suun o

[14]

МСПИЫМИ 1.Ч,|1, 1 I I ptMHOM i и .|ЬНО и

[15]

ко.1ич1ЧД:и h м 1И11. к.К1.чыва1оч: ими ки|1- мичи -а 1(1,Нч. |;; u nat M Ki ПЧ ННУК панель И1

[16]

11а II PI |ДО. 1|,ЧОЙ КП. МЧ- 3 (и СКИО .НОМ O l

[17]

) г а ном. К но I ш иможностью f( .411 йог I l ,i М . l. l. | i Д)И/К1 НИЯ )olii,i но I I

[18]

.U : li K.I. li.iii. i I .1 i I ()и (I iH а, iiciH vu iiK-- iinH. Hi.ao I Mcdiiiir i; ИЧ u но:)тажны. под Mi .-KM . I; i-i: a.l; .. ia HIM 12

[19]

I i. h i . ; ча i. i;: MjionM: 12 . цi/r;i ;ia i;:. -и . . iii-i: i; жнадкой-paMoii 13, Ki iopah II и-|1с ичцае Ч я но колес Л и

[20]

г

[21]

Q

[22]

0

[23]

нроаизь, . ак)7 ie.iriiKa:ibiii)ie направ.чяющие 1 7,н|)едночгите.11,ио, K)yr,ioi() сечения. Их может быть четыре и больше Они жестко закреплены в вер.хней часги рамы 13.

[24]

Вертикальные фиксаторы 18 устанав:1и- вакл |нанриме(), два, а и может бить и бо,1ьн1е в зависимосги о размеров пло |цадки-н;1атформы 12) параллельно нанрав- .тяклним 17 в средней чаети платформы. BHH.ty они кинематически связаны между собой и нриводом, расположенным внутри )амы 13 (не показано), который сообщает им син.хронное вращение. Верхние торны их закреплены в подщипника.х в вер.хней части рамы 13.

[25]

Корпус фиксаторов, на11риме), может быт) круг.чым. По его периметру закреплены (в вн.че к)ои1НТ{ йи()В) консо, 1ьиые оно- jM, 2. 5. имек)И1ие све)ху нлоские площадки 24, а сни U с 1абжеины( скосами 25, HiiiipaB, ич)ными . Уг),ч с косасвыIIIC .

[26]

Oi)o)bi иа Ko|invce ((1ик атора Установлены 1: 1. гворе друг друга по высоте спирали 26 и азнесены но высоте с заданным ща- гом 5,5 8(.t мм (предпочтительно, не) 75 Чг f 3 мм. т. е. , iHUiHa ки)11ича и слой раст- вор,ч) При иеобходимос ги онорь могчт быгь 1срск|нч1.лены на д|пчч)й таг.

[27]

Кодичество ве)тикальных ря.юв опор но нсриг.И I корпуса фиксато; .1о. 1жно быть чаким, чтобы нри IIOBO|)OIC копичса фик1 .1.1|1.Ч f :: И) 181) р. КЧИ :, 10,

[28]

1 ai;.-hiin Mio|) 21 ill iicpci v K I. и .4 ь ; ;ра- i .: I i-iiiH 11с1:смгпич1ия ii. a,. ii. i,i i ip .

Как компенсировать расходы
на инновационную разработку
Похожие патенты