заявка
№ SU 1472699
МПК E21F5/04

Устройство для приготовления водовоздушной смеси

Авторы:
СТЕПАНОВ АНДРЕЙ ИВАНОВИЧ
Номер заявки
4228709
Дата подачи заявки
19.03.1987
Опубликовано
15.04.1989
Страна
SU
Как управлять
интеллектуальной собственностью
Чертежи 
2
Реферат

[41]

Изобретение относится к пылеподавлению и может быть использовано в горной промышленности. Цель - повышение эффективности за счет обеспечения равномерности взаимодействия водяного факела с воздушным потоком при изменении внутреннего диаметра цилиндрического кожуха путем регулирования толщины водяного факела. Для этого форсунка 2 имеет подпружиненную гильзу 8, в боковых стенках которой выполнены симметричные относительно ее центральной оси продольные вырезы в форме кольцевых секторов с центральными углами 90° и глубиной, равной расстоянию между парами щелей 5 стакана вдоль оси. Гильза 8 установлена с возможностью фиксированного перемещения по наружной поверхности стакана форсунки 2. Благодаря такому расположению и выполнению продольных вырезов гильзы 8, происходит одновременное изменение ширины обеих пар щелей 5. Уменьшение ширины щелей 5 приводит к уменьшению струй факела, истекающих из щелей 5, без замены форсунки 2. Это позволяет повысить удобство использования устройства. 6 ил.

Формула изобретения

12

фиг. г

8 JO /J

5

(ри5.Ъ

фигЛ

В

фа г. В

П

в-в

/4

/4

фцэ.6

Описание

[1]

te./

[2]

1

[3]

Изобретение относится к устройствам для пылеподавления, может быть использовано в горной промышленности.

[4]

Целью изобретения является повышение эффективности пылеподавления за счет обеспечения равномерности взаимодействия водяного факела с воздушным потоком при изменении внутреннего диаметра цилиндрического кожуха без перестановки форсунки.

[5]

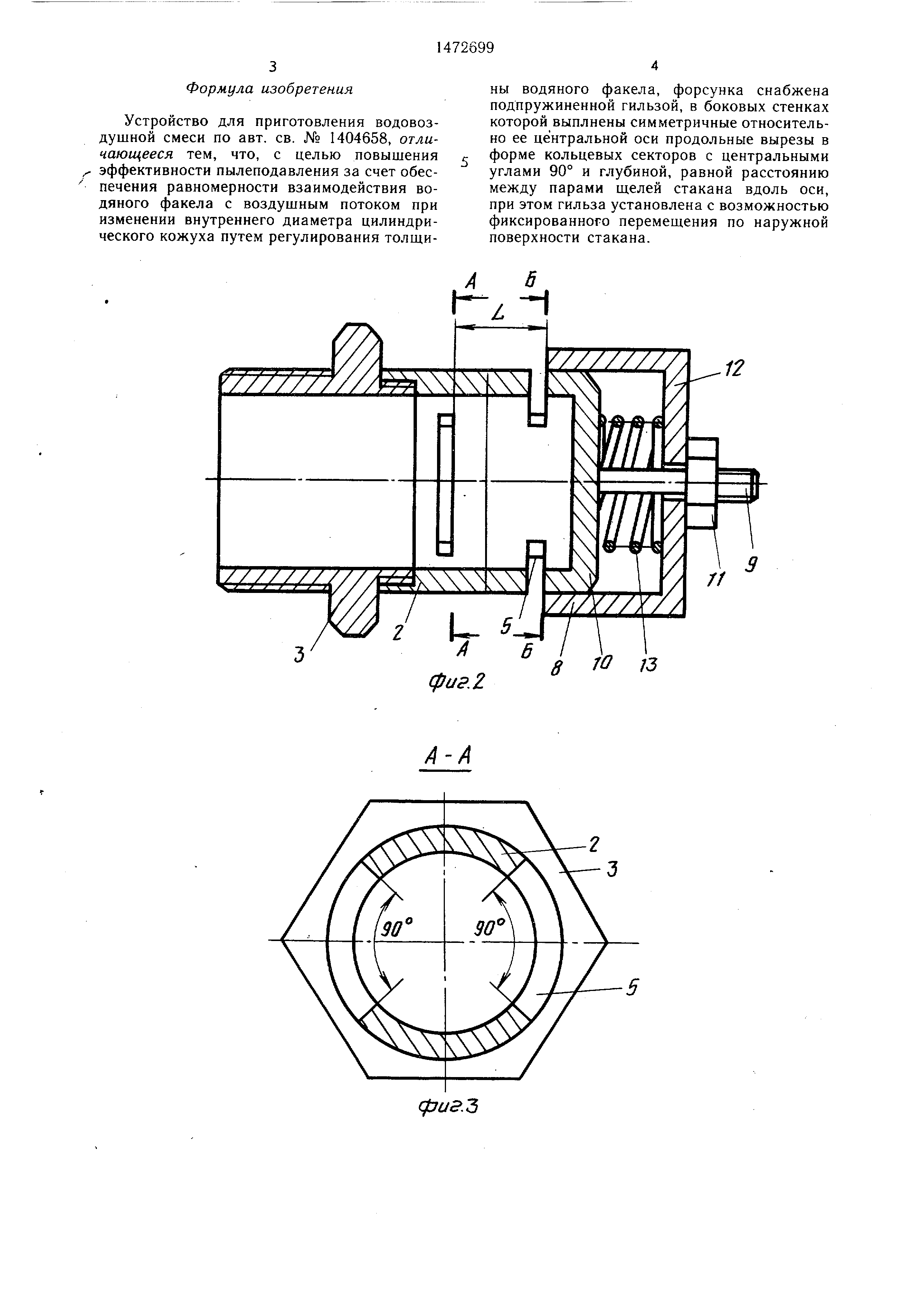
На фиг. 1 изображено предлагаемое устройство для приготовления водовоздушной 10 смеси, общий вид; н фиг. 2 - форсунка предлагаемого устройства, обш,ий вид; на фиг. 3 - сечение А-А на фиг. 2; на фиг. 4 - сечение Б-Б на фиг. 2; на фиг. 5 - дополнительная гильза, устанавливаемая на стакане форсунки, общий вид; на фиг. 6 - сече- - ние В-В на фиг. 5.

[6]

Устройство для приготовления водовоз- душной смеси состоит из цилиндрического кожуха 1, внутри которого по его оси устапотоку 7. В результате соударения воздушного потока 7 с водяным факелом 6 происходит образование водовоздушной смеси , которая подается к месту пылеобразо- варния для пылеподавления. Если расстояние между парами щелей 5 меньше 0,1 d форсунки 2, то наблюдается взаимодействие плоских струй, выходящих из щелей 5, что приводит к снижению плотности факела орошения в местах взаимодействия струй и снижению качества водовоздушной смеси. Если же расстояние между парами щелей 5 более 0,5 d стакана, то наблюдается разрыв струй по длине плоского факела, что приводит к неравномерности распыления воды и также снижает качество водовоздушной смеси.

[7]

Регулировка толщины равномерно распределенного водяного факела б с суммарным углом раскрытия 360°С, обеспечивающего равномерное перекрытие сечения кожуJ J/J у fy,fl 1. DnyiUri IMV - j j -.. J- 1i t

[8]

новлена форсунка 2, соединенная посредст- ,„ ха 1 при изменении его диаметра, приводит

[9]

- -J,iVy.,.„,.,,,,л,г.1 Т.Л TitrTiy-iiti Tmiii i-iT-IT ПЛГТ11 П Г вом переходника 3 с трубопроводом 4 для noj дачи воды, форсунка 2 представляет собой полый стака н, в стенке которого по его длине выполнены две пары симметричных относительно оси стакана поперечных щелей 5, каждая из которых образует в стенке Стакана сквозной кольцевой сектор с центральным углом 90°. Каждая пара щелей 5 расположена в параллельных плоскостях на расстоянии (а) друг от друга, равном 0,1--0,5 d стакана, причем пары щелей 5 смещены относительно друг друга на 180°. Позициями 6 и 7 обозначены на чертежах соответственно водяной факел, истекающий из форсунки 2, и воздушный поток, подаваемый в цилиндрический кожух 1. Кроме того, форсунка 2 дополнительно снабжек изменению интенсивности воздущного потока 7 и осуществляется одновременным изменением шири ны обеих пар щелей 5 посредством продольного перемещения подпружиненной гильзой 8 по наружной поверх25 ности стакана форсунки 2 при вращении регулировочной гайки 11 по резьбовому стержню 9. При этом пружина 13 совместно с гайкой 11 обеспечивает фиксированное положение подпружиненной гильзы 8.

[10]

Вследствие того, что симметричные от30 носительно центральной оси гильзы 8 продольные вырезы 14 выполнены в форме кольцевых секторов с центральными углами 90°, равными величине углов обоих пар щелей 5, а глубина а равна расстоянию между парами щелей 5, происходит одновременное

[11]

iVlt; lUlU, LlJUUv, Д1,ЧЛ iVyi/l ll л t i-t/l ич v,-. Г /

[12]

на подпружиненной гильзой 8, установлен- 35 изменение ширины обеих пар щелей 5 (в ,.-,.. „..„,,..1-1f i-r-т-тл-я-1Г АМ1Г гТОт О r f ГТ/Л PU и СТ

[13]

ной на резьбовом стержне 9, жестко закрепленном на дне 10 стакана форсунки 2, при этом стержень 9 снабжен регулировочной гайкой 11 для фиксации положения гильзы 8 при ее перемещении. Между наружной поверхностью дна 10 стакана форсунки 2 и внутренней поверхностью дна 12 гильзы 8 на резьбовом стержне 9 установлена пружина 13, предотвращающая самопроизвольное перемещение гильзы 8 по нависимости от первоначального положения гильзы 8 - уменьшение или увеличение), например, на фиг. 2 подпружиненная гильза 8 находится в крайнем правом положе- др, НИИ, поэтому при вращении регулировочной гайки 11 происходит ее перемещение влево , что приводит к уменьшению обеих пар щелей одновременно. Уменьшение ширины щелей 5 приводит к уменьшению толщины струй плоского факела, истекающих из щеИ UUrlOD Jb lDnVJC JIV, р Ч-1VJ ,s iiri 1 imiLj LJi ч- . , J -, --,

[14]

ружной поверхности стакана. Боковая стенка 45 лей 5, без замены форсунки, и следовательно.

[15]

гильзы 8 снабжена симметричными относительно ее центральной оси двумя продольными вырезами 14 в форме кольцевых секторов с центральными углами 90° и глубиной , равной расстоянию а между парами

[16]

к возможности равномерного перекрытия поперечного сечения цилиндрического кожуха 1 при уменьшении его диаметра.

[17]

Таким образом, использование предлагаемого технического решения позволяет расНиИ UaDnUrl uaLCiw/inrLiv I-A. (,J ии л-нтш,...--,.

[18]

щелей 5 форсунки 2 (т. е. 0,1-0,5 d стакана 50 ширить диапазон применения устройства без

[19]

форсунки 2).

[20]

Устройство работает следующим образом.

[21]

Вода из трубопровода 4 через щели 5 форсунки 2 выбрасывается в цилиндрический кожух 1, при этом образуется полностью перекрывающий сечение кожуха 1 на суммарный угол 360° водяной факел 6, направленный перпендикулярно, воздушному

[22]

замены его форсунки за счет обеспечения возможности регулировки толщины плоских факелов, истекающих из щелей, выполненных в стакане и образующих суммарный угол раскрытия 360°, что повышает удобство 55 использования предлагаемого устройства при обработке локальных пылящих источников .

[23]

потоку 7. В результате соударения воздушного потока 7 с водяным факелом 6 происходит образование водовоздушной смеси , которая подается к месту пылеобразо- варния для пылеподавления. Если расстояние между парами щелей 5 меньше 0,1 d форсунки 2, то наблюдается взаимодействие плоских струй, выходящих из щелей 5, что приводит к снижению плотности факела орошения в местах взаимодействия струй и снижению качества водовоздушной смеси. Если же расстояние между парами щелей 5 более 0,5 d стакана, то наблюдается разрыв струй по длине плоского факела, что приводит к неравномерности распыления воды и также снижает качество водовоздушной смеси.

[24]

Регулировка толщины равномерно распределенного водяного факела б с суммарным углом раскрытия 360°С, обеспечивающего равномерное перекрытие сечения кожу 1i t

[25]

ха 1 при изменении его диаметра, приводит

[26]

„ ха 1 при изменении его диаметра, приводит

[27]

Vy.,.„,.,,,,л,г.1 Т.Л TitrTiy-iiti Tmiii i-iT-IT ПЛГТ11 П Г к изменению интенсивности воздущного потока 7 и осуществляется одновременным изменением шири ны обеих пар щелей 5 посредством продольного перемещения подпружиненной гильзой 8 по наружной поверх5 ности стакана форсунки 2 при вращении регулировочной гайки 11 по резьбовому стержню 9. При этом пружина 13 совместно с гайкой 11 обеспечивает фиксированное положение подпружиненной гильзы 8.

[28]

Вследствие того, что симметричные от30 носительно центральной оси гильзы 8 продольные вырезы 14 выполнены в форме кольцевых секторов с центральными углами 90°, равными величине углов обоих пар щелей 5, а глубина а равна расстоянию между парами щелей 5, происходит одновременное

[29]

Г /

[30]

35 изменение ширины обеих пар щелей 5 (в заизменение ширины обеих пар щелей 5 (в за„ ..„,,..1-1f i-r-т-тл-я-1Г АМ1Г гТОт О r f ГТ/Л PU и СТ

[31]

висимости от первоначального положения гильзы 8 - уменьшение или увеличение), например, на фиг. 2 подпружиненная гильза 8 находится в крайнем правом положе- НИИ, поэтому при вращении регулировочной гайки 11 происходит ее перемещение влево , что приводит к уменьшению обеих пар щелей одновременно. Уменьшение ширины щелей 5 приводит к уменьшению толщины струй плоского факела, истекающих из ще , J -, --,

[32]

лей 5, без замены форсунки, и следовательно.

[33]

лей 5, без замены форсунки, и следовательно.

[34]

к возможности равномерного перекрытия поперечного сечения цилиндрического кожуха 1 при уменьшении его диаметра.

[35]

Таким образом, использование предлагаемого технического решения позволяет рас ,...--,.

[36]

ширить диапазон применения устройства без

[37]

ширить диапазон применения устройства без

[38]

замены его форсунки за счет обеспечения возможности регулировки толщины плоских факелов, истекающих из щелей, выполненных в стакане и образующих суммарный угол раскрытия 360°, что повышает удобство использования предлагаемого устройства при обработке локальных пылящих источников .

[39]

Формула изобретения

[40]

Устройство для приготовления водовоз- душной смеси по авт. св. № 1404658, отличающееся тем, что, с целью повышения эффективности пылеподавления за счет обес- печения равномерности взаимодействия водяного факела с воздушным потоком при изменении внутреннего диаметра цилиндрического кожуха путем регулирования толщины водяного факела, форсунка снабжена подпружиненной гильзой, в боковых стенках которой выплнены симметричные относительно ее це нтральной оси продольные вырезы в форме кольцевых секторов с центральными углами 90° и глубиной, равной расстоянию между парами щелей стакана вдоль оси, при этом гильза установлена с возможностью фиксированного перемещения по наружной поверхности стакана.

Как компенсировать расходы
на инновационную разработку
Похожие патенты