заявка
№ SU 1315572
МПК E02F9/20

Система управления рабочим процессом гидравлического экскаватора

Авторы:
АБРАМОВ АЛЕКСЕЙ НИКОЛАЕВИЧ
Номер заявки
3949979
Дата подачи заявки
09.09.1985
Опубликовано
07.06.1987
Страна
SU
Как управлять
интеллектуальной собственностью
Чертежи 
1
Реферат

[56]

Изобретение относится к области землеройно-транспортной техники и позволяет повысить производительность экскаватора путем автоматической оптимизации режима работы экскаватора . Система содержит гидроцилиндры (ГЦ) 5 и 6 рукояти и ковша, насосы 1 и 2 и гидрораспределители 8 и 9, сл с оо СП СП tc

Формула изобретения

.30

0/1

35

Нет

How

J3

31

фиг. 2

Рмокс-f p

Н(7ГЗ(Г7) -

Редактор А.Шандор

Составитель Г.Алексеева Техред М.Ходанич

Заказ 2325/31 Тираж 606 . Подписное ВНИИПИ Государственного комитета СССР

по делам изобретений и открытий 113035, Москва., Ж-35, Раушская наб, д. 4/5

Производственно-полиграфическое предприятие, г, Ужгород, ул. Проектная, 4

Корректор А.Обручар

Описание

[1]

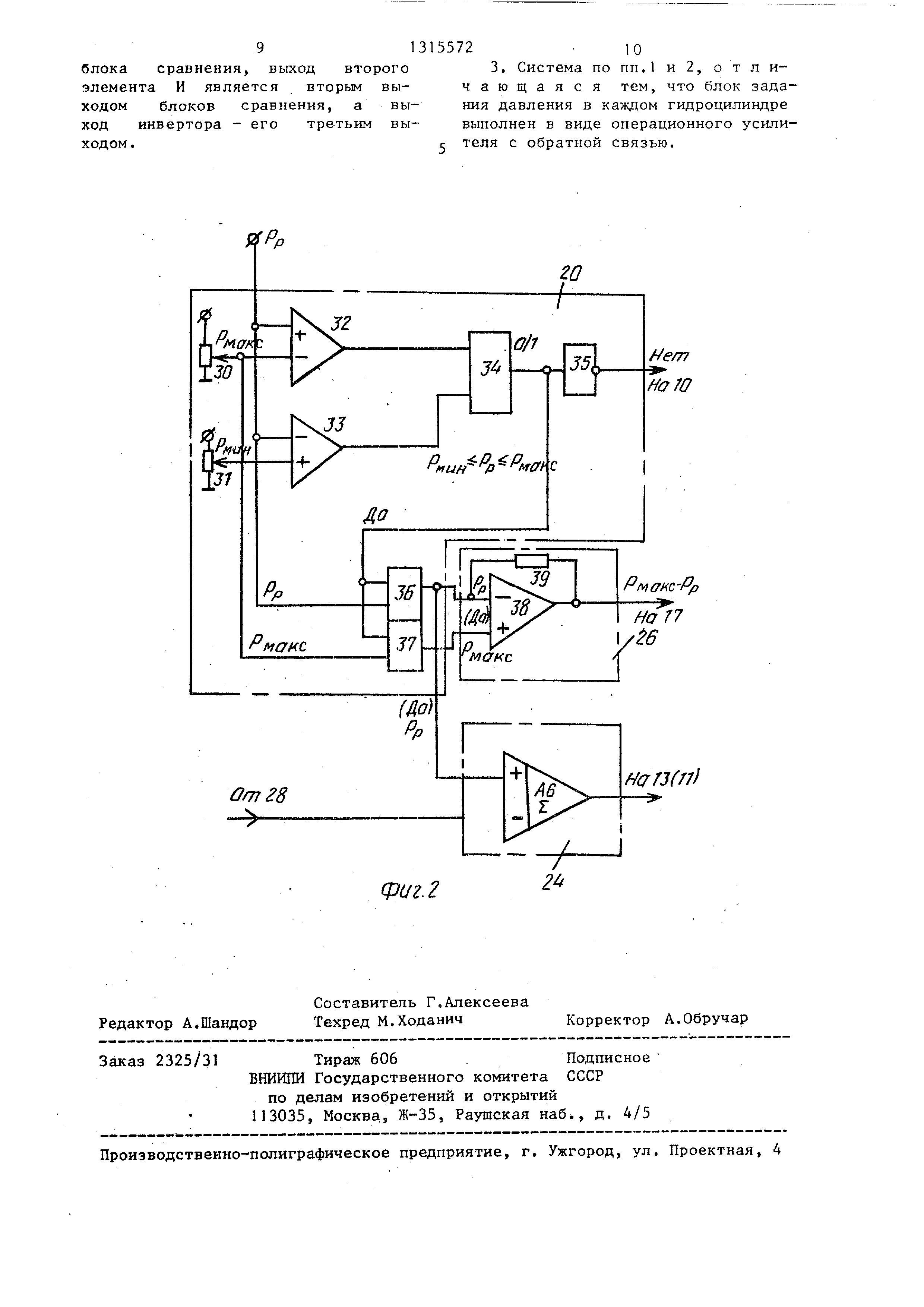
кинематически связанные через стопоры 10 и 12 с соответствующими ис пол- нительными механизмами И и 13, В поршневых полостях ГЦ 5 и 6 установлены соответственно датчики 18 и 21 давления, которые через усилители 19 и 22 подключены к входам блоков 20 и 23 сравнения. Выходы блоков 20 и 23 соединены с входами блоков 26 и 27 задания разности давлений в ГЦ 5 и 6 и с входами сумматоров 24 и 25. Выходы блоков 26 и 27 подключены к соответствующим регулируемым дросселям 17 и 15. Для регистрации процесса вьщвижения штоков ГЦ 5 и 6 предусмот1

[2]

Изобретение относится к землерой - ным и землеройно-транспортным машинам с гидроприводом, в частности экскаваторам.

[3]

Целью изобретения является повыше- ние производительности экскаватора путем автоматической оптимизации режима работы экскаватора.

[4]

На фиг,1 приведена функциональная схема предлагаемой системы; на фиг.2 - выполнение блоков сравнения, задания разности и сумматора.

[5]

Система управления рабочим процессом гидравлического экскаватора состоит из гидравлических насосов 1 и 2 подключенных к основной системе питания . Насос 1 с помощью магистралей 3 и 4 и независимых гидрораспределителей (не показаны) подключен к гидроцилиндрам рукояти 5 и ковша 6 соот- ветственно. Гидронасос-2 посредством трубопровода 7 подключен к гидромоторам поворота хода и гидроцилиндру стрелы (не показаны). Гидроцилиндры рукояти 5 и ковша 6 соединены с вторым насосом 2 посредством дополнительных гидрораспределителей 8 и 9, соответственно. Управляющий элемент,

[6]

например, шток гидрораспределителя 8

[7]

кинематически соединен со стопором 10, внутри которого установлено реле времени (не показано), и первым исполнительным механизмом 11, а управляющий элемент гидрораспределителя 9

[8]

рены расходомеры 28 и 29 одностороннего действия. Они регистрируют только процесс копания грунта и соединены с вторыми входами сз мматоров 24 и 25, выходы которых подключены к исполнительным механизмам 13 и 11 соответственно . Система обеспечивает автоматическое совмещение операций копания ковщом и рукоятью при одновременном повышении скорости разработки грунта. При этом перераспределение нагрузок на элементы оборудования осуществляется в зависимости от условий эксплуатации и грунтовых условий. 2 з,п. ф-лы, 2 ил.

[9]

5 О

[10]

п 5

[11]

кинематически соединен со стопором 12 и вторым исшэлнит.ельным механизмом 13. Гидроцилиндр 5 рукояти подключен к гидрораспределителю 8 посредством магистралей 14.

[12]

Гидрораспределители 8 и 9 гидравлически соединены между собой и посредством их гидроцилиндры рукояти 5 и коБща 6 соединены с вторым насосом 2, Регулируемый дроссель 15 установлен в .одной из магистралей 14, соединяющей поршневую полость гидроцилиндра 5 рукояти с насосом 2. Гидроцилиндр 6 ковша подключен к гидрораспределителю 9 с помощью магистралей 16, Регулируемый дроссель 17 установлен в одной из магистралей 16, соединяющей поршневую полость гидроцилиндра 6 ковша с насосом 2.

[13]

В поршневой полости гидроцилиндра 5 установлен датчик 18 давления, подключенный к усилителю 19, выход которого соединен с блоком 20 сравнения заданных величин максимального Р„с(кс и минимального Р, давлений с действительным Рр давлением в поршневой полости гидроцилиндра 5. Аналогично в поршневой полости гидроцилиндра 6 установлен датчик 21, подключенный к усилителю 22, выход которого соединен с аналогичным блоком 23 сравнения заданных величин максимального РМЙКС минимального Рд давлений с действительным Р« давлением в поршне3131

[14]

ой полости гидроцилиндра 6 ковша. В вою очередь, вторые выходы блоков 0 и 23 соединены с первыми входами умматоров 24 и 25. Первые выходы локов 20 и 23 соединены с входами локов 26 и 27 задания разности давений в гидроцилиндрах 5 и 6.

[15]

Блоки 26 и 27 выполнены в виде операционных усилителей с обратной связью (фиг.2). Выход блока 26 подключен к регулируемому дросселю 17, а выход блока 27 - к дросселю 15. Для регистрации процесса выдвижения штоков гидроцилиндров 5 и 6 в системе предусмотрены расходомеры 28 и 29 одностороннего действия, которые размещены в магистралях, соединяюпщх штоковые полости гидроцилиндров 5 и 6 с первым насосом 1. Расходомеры 28 и 29 регистрируют только процесс выдвижения штоков, т.е. процесс копания грунта и соединены с вторыми входами сумматоров 24 и 25, выход сумматора 24 соединен с вторым исполнительным механизмом 13, а выход сумматора 25 - с первым исполнительным механизмом 11. Третьи выходы блоков 20 и 23 соединены соответственно со стопорами 10 и 12.

[16]

Каждый из блоков 20 и 23 сравнения выполнен в виде задатчиков максимального 30 и минимального 31 давлений в гидроцилиндрах 5 и 6, компараторов 32 и 33, первого элемента И 34, инвертора 35, второго элемента И 36 и третьего элемента И 37. Выходы компараторов 32 и 33 соединены с входами элемента И 34, выход которого со- едине с входом инвертора 35 и пер- вьми входами элементов И 36 и 37. Первый вход компаратора 32 соединен с задатчиком 30 и вторым входом элемента И 37. Первый вход компаратора 33 соединен с задатчиком 31. Вторые входы компараторов 32 и 33 и элемента К 36 являются входами блоков 20 и 23. Выходы элементов И 36 и 37 являются первыми выходами блоков 20 и 23. Выход элемента И 36 является вторым выходом блока 20(23), а выход инвертора - третьим выходом блока 20(23). Блоки 26 и 27 выполнены в виде операционного усилителя 38 с обратной связью 39.

[17]

Устройство работает следующим образом .

[18]

При копании рукоятью (не показана) под действием насоса 1 и гидроцилинд24

[19]

ра 5 жидкость по основной магистрали 3 подается под давлением в поршневую полость данного гидроцилиндра, которое регистрируется датчиком 18 давления . Сигнал от датчика 18 давления поступает через усилитель 19 на блок 20 сравнения. Если величина давления поступающей жидкости Рр не превышает

[20]

максимального давления Р.,

[21]

(устанавливается настройкой предохранительных клапанов), но больше, чем минимальное давление Р,ц , обуславливаемое свободным ходом штока, плюс некоторая величина поправки на внедрение в грунт на начальной стадии, то сигнал подается на выход Да блока 20 сравнения, электрически связанного с блоком 26 давления разности давления. Данная ситуация возникает при стационарном режиме рабо- ты гидроцилиндра 5 рукояти, когда имеется определенный избыток мош;нос- ти, не реализованной полностью на процесс разработки грунта.

[22]

Разность давлений определяется зависимостью. дРр Рд,о(кс Рр и преобразуется электрическим сигналом соответствующей силы, который поступает на управляюш 1й элемент дросселя 17. Проходное сечение дросселя 17 в этом случае соответствует величине разности ЛРр значений максимального действительного Рр давлений

[23]

в поршневой полости гидроцилиндра 5 рукояти. Чем больше данная разность, тем больше открывается проходное сечение дросселя 17. При лРр О проходное сечение дросселя полностью

[24]

закрыто. Одновременно с второго выхода блока 20 подается электрический сигнал на сумматор 24, которьш воздействует на исполнительный механизм 13, перемещающий шток гидрораспределителя 9 из нейтрального положения в положение подачи жидкости в поршневую полость гидроцилиндра 6 ковша.

[25]

Однако сумматор срабатывает только в том случае, если на него поступает еще и сигнал от расходомера 28, указывающего на наличие или отсутствие перемещения штока гидроцилиндра 5 рукояти. Если же давления штока нет, то соответственно нет копания

[26]

грунта поворотом рукояти и сигнал от расходомера 28 на сумматор 24 не поступает . При наличии обоих указанных сигналов исполнительный механизм 13 беспрепятственно перемещает шток гид51

[27]

рораспределителя 9 и жидкость от насоса 2 подается в поршневую полость гидроцилиндра 6 ковша. Причем-расход ее регулируется указанным дросселем 17. В результате в гидродилиндре б ковша возникает вторичное давление, вызванное движением рукояти, которое регистрируется датчиком 21 давления и обуславливает поворот ковша.

[28]

От Датчика 21 сигнал поступает че рез усилитель 22 в блок 23 сравнения Если величина давления поступающей жидкости Р не превышает, предельного РМСТКС заданного настройкой предохранительных клапанов, и больше величины Р,„ в ковше, то через блок 27 задания разности давленийсигнал о величине дРц поступает к дросселю 15, который регулирует подачу рабочей жидкости в поршневую полость гидроцилиндра 5 рукояти через магистраль 14 от второго насоса 2. Дополнительный подвод жидкости в гидроди- линдр 5 рукояти зависит, таким образом , от релсима работы самой рукояти при ее движении под действием насоса 1. На вход блока 20(23) подаются в виде величин напряжений значения ,, - (30), Р,„ - (31) и Рр (РК) из датчика 18 и усилителя 19 (21 и 22)

[29]

На выходе из блока 20(231 имеется выходной сигнал Да, разрешающий дальнейшую передачу аналоговых сигналов в блоки 24 и 26, и выходной сигнал Нет. В случае, если вьтолняет- ся условие P,j,H Рр , на выход элемента 34 - цифровой код 1 - сигнал Нет отсутствует, а разрешаюш51й цифровой код 1 подается на элементы И 36 и 37. Только в этом случае идет разветвление сигналов на блоки 24 и 26. При этом в блоке 20(23) имеется два вывода с разрешающего сигнала первый Р - на сумматор 24; второй Рр и Р„д,с подаются на блок 26, выполняющий вычитание мамс Рр) Величина электрического сигнала, соответствующая разности РМ«К.С Рр) S поступает на исполни- . тельный элемент (например, электромагнит ) дросселя 17(15). Блок 26(27) вьтолняется из операционного усилителя 38 с системой обратной связи 39.

[30]

В качестве исполнительного механизма 11(13) может служить электромагнит , выполнение которым своих функций возможно только при поступлении на него соответствующего сигнала

[31]

155726

[32]

из блока 20(23). Подача жидкости от насоса 2 в поршневую полость гидроцилиндра 5 осуществляется только в том случае, если со второго выхода

[33]

. блока 20(23) поступит сигнал на сумматор 24(25), от которого поступает соответствующий сигнал на исполнительный механизм 1 1 , воздействуюш {й на шток гидрораспределителя 8. От

[34]

10 расходомера 29, сигнализирующего о движении штока гидроцилиндра 6 ковша , сигнал поступает на сумматор 25. В этом случае, шток гидрораспределителя 8 перемещается в положение пода15 чи жидкости от насоса 2 в поршневую полость гидроциливдра 5.

[35]

Таким образом происходит одновременное движение ковша и рукояти, гидравлические характеристики которых

[36]

20 влияют друг на друга посредством системы .обратной и прямой связи. Интервал включения стопора, а также интервал разности давлений в полостях могут быть заданы в зависимости от чальных условий работы. Если давление превьш1ает предельное в полости гидроцилидра 5 или 6 или давле :ние в этих полостях ниже минимального , что говорит об отсутствии зна30 чительных сопротивлений на рабочих органах, то с третьих выходов блоков 20 и 23 сравнения подаются сигналы на стопоры 10 и 12, соответственно. Стопоры 10 и 12с реле времени про35 пускают сигнал от исполнительных механизмов II и 13, перемещают штоки гидрораспределителей 8 и 9 в нейтральное положение и прекращают подачу жидкости от насоса 2 в магистрали

[37]

40 14 и 16.

[38]

При отсутствии каких-либо сигналов , поступающих на гидрораспределители 8 и 9, они устанавливаются в

[39]

нейтральное положение под действием возвратных пружин, а жидкость в магистрали 16 и 14 от насоса не поступает . Т.е. гидрораспределители 8 и 9 нормально закрыты.

[40]

Q Если при работе в автоматическом режиме ковш полностью набран грунтом и повернут на максимальный угол, то давление превышает максимальное, срабатывают стопоры 10 и 12, гидро i; распределителя 8 и 9 устанавливаются в нейтральное .ение и система отключается. Оборудование готово на выгрузку грунта в транспортное средство .

[41]

71

[42]

Предлагаемая система позволяет автоматически совмещать операции поворота и движения ковша, что позво - ляет существенно повысить скорость движения режущей кромки при копании или рыхлении грунта, при наибольщей эффективности использования мощност- ных возможностей машины. При движении одного из рабочих органов дальнейшее увеличение его скорости может быть невозможно по ряду конструктивных причин. Однако избыток мощности может быть реализован другим путем, а именно подводом дополнительной жидкости к другому рабочему органу, тем самым увеличивая суммарную скорость движения режущей кромки. Соотнощение скоростей поворота рабочих органов обуславливается прежде всего влиянием внешних условий на регулируемые дроссели.

[43]

Двухпоточная система обратной связи характеризуется взаимным влиянием нагрузок и режимов давления ковша и рукояти.

[44]

Поддержание определенного режима давления в каждом из рабочих органов и перераспределение нагрузок в зависимости от внешних условий обеспечивают наилучшее использование полезной мощности при максимально возможной скорости движения режущей кромки

[45]

Формула изобретения

[46]

1 . Система управления рабочим процессом гидравлического экскаватора, содержащая основную гидросистему с двумя гидравлическими насосами, первый из которых посредством независимых гидрораспределителей подключен к падроцилиндрам рзпсояти и ковща, а второй соединен с гидромоторами хода поворота поворотной платформы и гидроцилиндрами стрелы с возможностью подключения к гидроцилиндрам рукояти и ковша, отличающаяся тем, что, с целью повьшения производительности экскаватора путем автоматической оптимизации режима работы экскаватора, она снабжена датчиками давления, усилителями, блоками сравнения заданных величин максимального и минимального давлений с действительным давлением в каждом гидроцилиндре , блоками задания разности давлений в каждом гидроцилиндре, сумматорами , гидравлически соединенными

[47]

55728

[48]

между собой дополнительными гидрораспределителями , посредством которых гидроцилиндры рукояти и ковша соединены с вторым насосом, исполнитель- г ными механизмами и стопорами с реле времени, кинематически соединенными друг с другом и с управляющими элементами дополнительных гидрораспределителей , а также система снабжена

[49]

O дросселями и расходомерами одностороннего действия, при зтом датчики давления размещены в поршневой полости каждого гидроцилиндра и подключены к усилителям, выходы которых сое5 динены с входами блоков сравнения, первые выходы которых соединены с входами блоков задания разности давлений в каждом гидроцилиндре, вто- рые выходы - с п ервыми входами сумма0 торов, третьи - со стопорами, а дроссели установлены в магистралях, соединяющих поршневые полости гидроцилиндров рукояти и ковша с вторым насосом , и подключены соответственно:

[50]

5 первый - к выходу блока задания разности давления в гидроцилиндре ковша, второй - к выходу блока задания разности давлений в гидроцилиндре рукояти , расходомеры одностороннего дейст0 ВИЯ размещены в магистралях, соединяющих штоковые полости гидроцилиндров рукояти и ковша с первым насосом и подключены к вторым входам сумматоров , причем выходы первого и второго

[51]

5 сумматоров соединены соответственно с исполнительными механизмами второго и первого дополнительных гидрораспределителей .

[52]

2. Система по п.1, отличаю0 Щ а. я с я тем, что блок сравнения выполнен в виде задатчиков максимального и минимального давлений в гидроцилиндрах рукояти и ковша, двух компараторов, трех элементов И и ин5 вертора, при этом выходы компараторов соединены с входами первого элемента И, выход которого соединен с первыми входами второго и третьего элементов И и с входом инвертора, а

[53]

0 первый вход первого компаратора подключен к задатчику максимального давления и второму входу третьего элемента И, первый вход второго компаратора подключен к задатчику минималь5 ного давления, причем вторые входы компараторов и второй вход второго элемента И являются входом блока сравнения, выходы второго и третьего элементов И являются первым выходом

[54]

блока сравнения, выход второго элемента И является вторым выходом блоков сравнения, а выход инвертора - его третьим выходом .

[55]

3. Система по пп.1 и 2, о т л и- чающаяся тем, что блок задания давления в каждом гидроцилиндре вылолнен в виде операционного усили- теля с обратной связью.

Как компенсировать расходы
на инновационную разработку
Похожие патенты