заявка
№ SU 1232981
МПК G01M13/00

Нагружатель к стендам разомкнутого контура

Авторы:
КИЛИН ПЕТР ГРИГОРЬЕВИЧ КУЗЬМИН БОРИС НИКОЛАЕВИЧ ПОЗДЕЕВ АНАТОЛИЙ СЕРГЕЕВИЧ
Все (4)
Номер заявки
3832827
Дата подачи заявки
25.12.1984
Опубликовано
23.05.1986
Страна
SU
Как управлять
интеллектуальной собственностью
Чертежи 
2
Реферат

[23]

Изобретение относится к испытательной технике и может быть использовано в качестве иагружателя в стендах для испытания передач по методу разомкнутого контура. Цель изобретения - увеличение диапазона создаваемых нагрузок. При установке нагружателя в стенд и соединении его водила с ведомым валом испьттуе- мого редуктора вращают водило, что обеспечивает обкатку сателлитами неподвижных центральных колес и вращение дополнительного центрального колеса. Тормозной момент создают вращением болта поворотной муфты, т.е. разворотом центральных колес. Величину тормозного момента определяют по упругому перемещению конца тарированного упругого элемента, связанного с валом одного из центральных колес. 3 ил. сл SD :/о N5

Формула изобретения

Редактор В; Иванова

Составитель Ю. Красненко

Техред Л,Олейник . Корректор;Л, Пилипенко

Заказ 2759/42, Тираж 778Подписное

ВНИИПИ Госудйрственного комитета СССР

по делам изобретений и открытий 113035, Москва, Ж-35, Раушская наб., д. 4/5

« ----« - ------ - «----- - ------

.Производственно-полиграфическое предприятие, г. Ужгород, ул. Проектная, 4

Описание

[1]

Изобретение относится к машиностроению , а именно к испытательной технике, и может быть использовано для создания нагрузки в стендах разомкнутого контура.

[2]

П.елью изобретения является увеличение диапазона создаваемых нагрузок путем создания до полнит ел ьнь гх усилий в зацеплениях колес нагрутка- теля, а также за счет увеличения числа зацеплений.

[3]

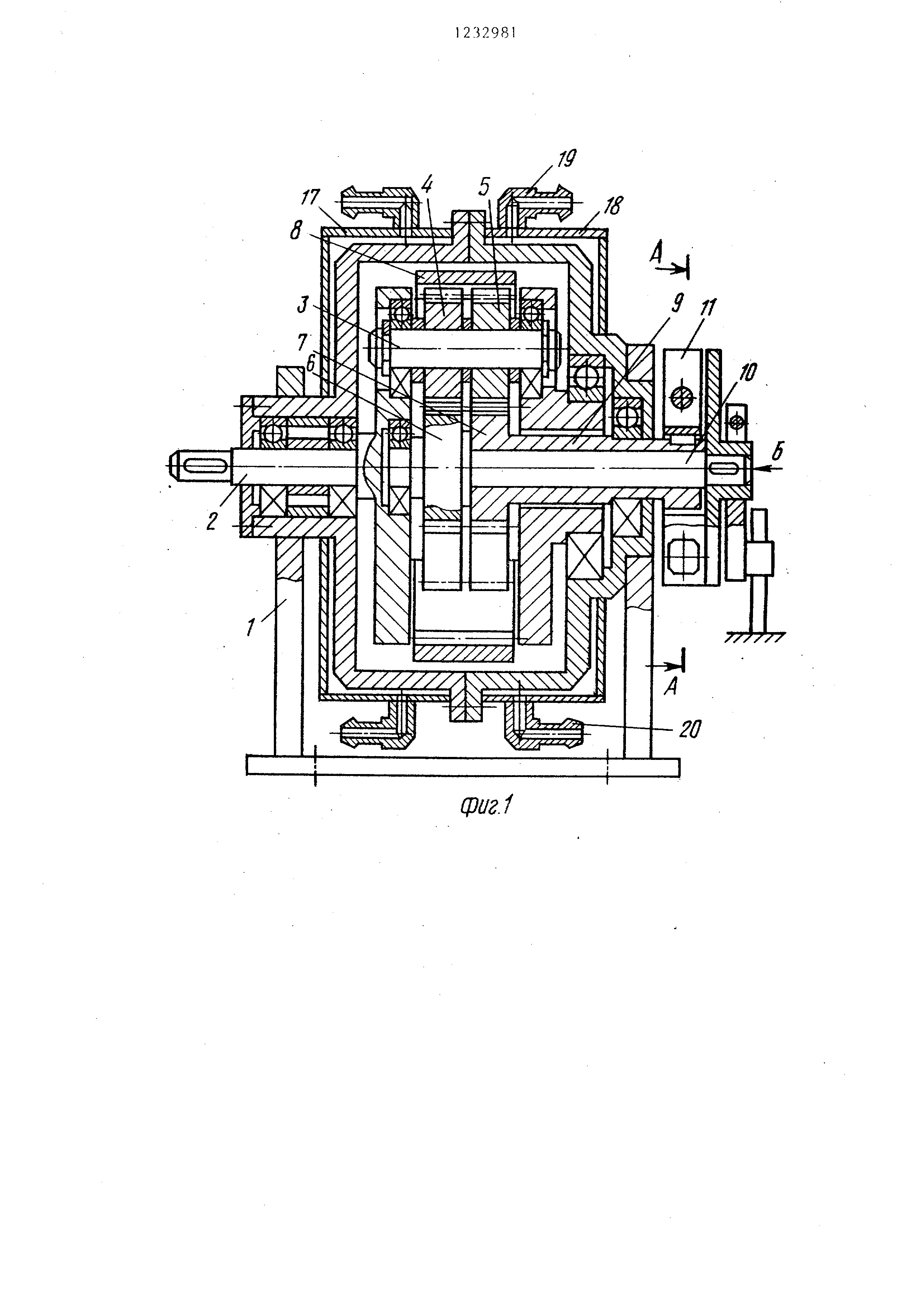
На ,фиг о 1 изображен нагружатель, общий вид, осевой разрез; на фиг.2 разрез А-А на фиг, 1; на фиг. 3 вид Б на фиг. .

[4]

Нагружатель состоит (фиг, 1) из связанного с основанием (не показано неподвижного корпуса 1, размещенного в нем с возможностью поворота водила 2, имеющего вращающуюся ось 3 сателлитов 4 и 5, последние взаимодействуют с двумя центральными колесами 6 и 7 и дополнительным центральным колесом 8, установлены на оси 3 с возможностью поворота. , Дополнительное центральное колесо 8 выполнено с внутренними зубьями , центральные колеса 6 и 7 - с внешними, последние установлены на коаксиальных валах 9 и 10, при этом вал 9 центрального колеса 6 выполнен полым и внутри него размещен сплоЕИой вал 10 центрального колеса

[5]

Валы 9 и АО снабжены предназначенной для их упругого разворота поворотной муфтой, состоящей из полумуфт 11 и 12, которые снабжены стяж- йъгми элементами, выполненными в виде болта 13, размещенного в одной из полумуфт, и шарнирно установленной в другой полумуфте гайки 14. Сплошной вал 10 взаимодействует с установленным на основании тарированным упругим элементом 15, который связан с индикатором 16. Для отвода тепла корпус снабжен выполненной из двух половин 17 и 18 водяной рубашкой, в которой имеются подводящие 19 и отводящие 20 штуцеры. Числа зубьев центральных колес 6 и 7 и венцов сателлитов 4 и 5 равны между собой. При указанных соотношениях чисел зубьев передаточное

[6]

29812

[7]

число передачи равно бесконечности, т.е, при любой скорости вращения водила 2 центральные колеса 6 и 7 остаются неподвижными.

[8]

5 Нагружатель работает следующим образом ,

[9]

Нагружатель встраивают в стенд (не показан) для испытания редукторов с разомкнутой схемой нагружения

[10]

O путем соединения водила 2 с ведомым валом испытуемого редуктора (не показан ). При вращении водила 2 венцы сателлитов 4 и 5 обкатываются по неподвижным колесам 6 и 7, а дополнитель5 ное центральное колесо В вращается вокруг главной оси. Требуемый тормозной момент создается вращанием болта 13, которое обеспечивает относительный разворот коаксиальных валов 9 и

[11]

20 10 и обуславливает возникновение нормального давления в зацеплениях центральных колес 6 и 7 и сателлитов 4 и 5 и увеличение потерь на трение, Величи1 а тормозного момента опреде25 ляется по величине упругого перемещения свободного конца тарированного упругого элемента 1,5, связанного с .валом 10..

[12]

30 Формула изобретения

[13]

Нагружатель к стендам разомкнутого контура, содержащий корпус, установленное в нем с возможностью

[14]

35

[15]

поворота и предназначенное для присоединения к выходному валу испытуемой передачи водило с вращающейся осью, р азмещенные на последней два сателлита, взаимодействующие с ними

[16]

центральные колеса с внешними зубьями , валы которых коаксиальны и установлены , в корпусе с возможностью поворота, о т л и ч а ю щ и и с я тем, что, с целью увеличения диапазона создаваемых нагрузок, он снабжен дополнительным центральным колесом с внутренними зубьями, взаимодействующими с зубьями сателлитов, поворотной муфтой, замыкающей между собой коаксиальные валы, и связьшаю- щим один из последних с корпусом тарированным упругим элементом, а сателлиты установлены на оси с возможностью поворота.

[17]

/7

[18]

10

[19]

фиг.1

[20]

бидб

[21]

. 2

[22]

фиг.З

Как компенсировать расходы
на инновационную разработку
Похожие патенты