заявка
№ SU 1196100
МПК B22C5/04

СПОСОБ ПРИГОТОВЛЕНИЯ СУСПЕНЗИИ И УСТАНОВКА ДЛЯ ЕГО ОСУЩЕСТВЛЕНИЯ

Авторы:
Уварова Т.А. Чернышов Е.А. Мельников А.Т.
Все (5)
Номер заявки
3750756/22-02
Дата подачи заявки
05.06.1984
Опубликовано
07.12.1985
Страна
SU
Как управлять
интеллектуальной собственностью
Чертежи 
2
Формула изобретения

1. Способ приготовления суспензии, используемой при получении керамических форм по выплавляемым моделям, включающий загрузку твердых и жидких материалов в емкость гидролизатора, перемешивание материалов с помощью газа, последующую выгрузку готовой суспензии, отличающийся тем, что, с целью повышения производительности, экономичности процесса и качества суспензии, а также улучшение санитарно-гигиенических условий труда, перед загрузкой жидких и твердых материалов емкость гидролизатора герметизируют, перемешивание осуществляют при пульсирующем давлении газа от 1 до 2 атм, который принудительно перемещают из верхней части гидролизатора в его нижнюю часть двумя потоками, в одном из которых снижают температуру газа до 0-20°С, а в другой поток загружают твердые материалы и направляют его в нижнюю часть гидролизатора.

2. Установка для приготовления суспензии, используемой при получении керамических форм по выплавляемым моделям, содержащая емкость гидролизатора, барботажный перемешиватель и систему подачи газа с газоподводящими трубками, отличающаяся тем, что, с целью повышения производительности, экономичности процесса и качества суспензии, а также улучшения санитарно-гигиенических условий труда, она снабжена газонагнетателем, охладителем и загрузочно-смешивающим устройством, соединенными между собой газопроводными трубами, при этом охладитель и загрузочно-смешивающее устройство размещены на газопроводных трубах параллельно друг другу между нагнетателем и емкостью гидролизатора, а барботажный перемешиватель закреплен в емкости гидролизатора вертикально и выполнен в виде нескольких циркуляционных патрубков, каждый из которых имеет форму усеченного конуса, к торцам которых подведены газоподводящие трубки.
Авторское свидетельство СССР №365203, кл. В22С 5/04, 1971.
Авторское свидетельство СССР №980923, кл. В22С 5/04, 1981.

Описание

[1]

Изобретение относится к литейному производству, а именно к способам приготовления суспензии или связующего и к смесеприготовительному оборудованию, в частности к установкам для приготовления связующего, или суспензии при получении керамических форм по выплавляемым и постоянным моделям.

[2]

Цель изобретения - повышение производительности труда и улучшение санитарно-гигиенических условий труда, повышение качества керамической суспензии, снижение расхода составляющих компонентов суспензии.

[3]

Приготовляют суспензию в герметичной емкости гидролизатора. Перемешивание жидких и твердых материалов суспензии производится газом, при этом барботирующий газ перемешивается по газопроводным трубам с помощью нагнетателя по замкнутому циклу.

[4]

Положительный эффект от применения замкнутого цикла движения барботирующего газа следующий: не отравляется атмосфера цеха вредными испарениями, нет потерь составляющих суспензии, в результате чего экономится до 20% жидких составляющих суспензии, состав керамической суспензии остается постоянным, снижаются взрыво- и пожароопасность установки, так как отсутствуют испарения легковоспламеняющихся веществ.

[5]

Жидкие материалы суспензии подаются в герметичную емкость гидролизатора по трубам, а твердые материалы загружаются в поток газа, подаваемый в барботажный перемешиватель.

[6]

Загрузка твердых огнеупорных составляющих вместе с барботирующим газом имеет целый ряд преимуществ: огнеупорные составляющие дозируются в различные зоны объема приготовляемой суспензии, чем достигается равномерность их распределения, полностью исключается запыление окружающей атмосферы. При этом достигается высокая точность и надежность дозирования, процесс легко поддается автоматизации.

[7]

Повышение давления при проведении реакции гидролитической поликонденсации этилсиликата способствует улучшению растворимости барботирующего газа в растворе связующего, в результате чего ускоряются процессы окисления этоксильных групп этилсиликата и сокращается время образования силиксановой связи, а значит и в целом продолжительность приготовления связующего, кроме того, уменьшается испарение летучих составляющих суспензии. Применение пульсирующего давления способствует устранению оседания огнеупорных составляющих и более равномерному распределению их по всему объему суспензии, что значительно улучшает качество приготовленной суспензии.

[8]

Реакция гидролиза идет с выделением тепла и сопровождается повышением температуры раствора. Температура раствора регулируется интенсивностью охлаждения газа перед подачей его в барботажный перемешиватель.

[9]

Охлаждение барботирующего газа до 0-20°С позволяет регулировать кинетику протекания процесса структурообразования связующего, добиться вероятного образования линейной структуры полимерных молекул, а вследствие этого и максимальной связующей способности гидролизованного раствора этилсиликата.

[10]

Пузырьки холодного газа, поднимаясь вверх и контактируя с суспензией отбирают тепло реакции гидролитической поликонденсации и уносят его с собой, отдавая его охладителю, и снова охлажденный газ барботирует суспензию. Пары растворителя и этилсиликата при охлаждении газа конденсируются в мельчайшие капельки и возвращаются вместе с газом в суспензию. Следовательно, охлаждение барботирующего газа позволяет регулировать кинетику протекания реакции гидролитической поликонденсации этилсиликата, повышать связующую способность гидролизованного раствора этилсиликата и экономить растворитель и этилсиликат.

[11]

Для осуществления операций загрузки твердых материалов в газовый поток и охлаждения газа предусмотрены два параллельных потока газа, в одном из которых газ охлаждается, а в другом потоке загружают твердые материалы.

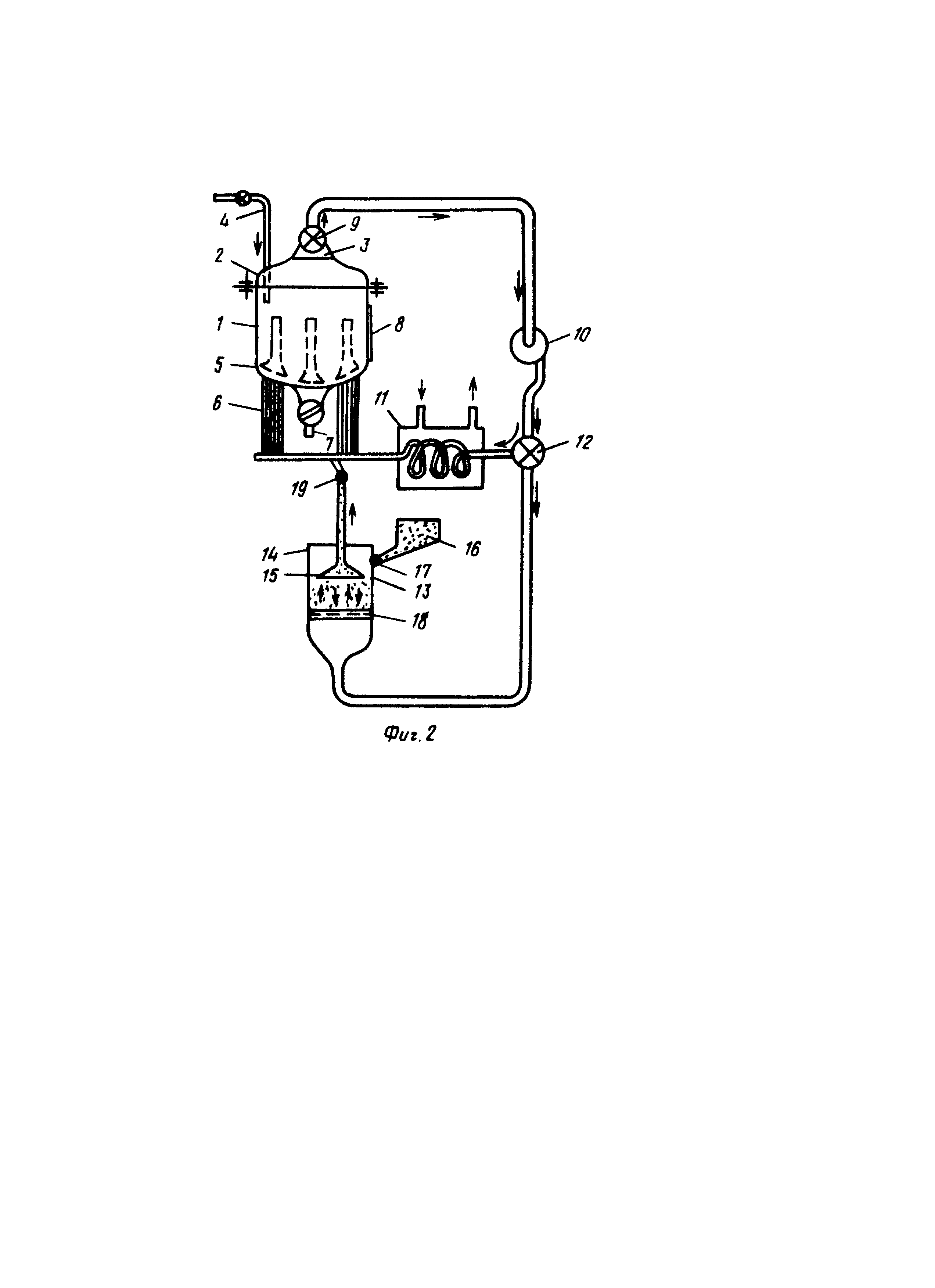
[12]

На фиг. 1 показана установка для гидролиза этилсиликата; на фиг. 2 -общая схема установки для приготовления керамической суспензии с замкнутым оборотным циклом подачи барботирующего газа.

[13]

Установка состоит из емкости 1 гидролизатора, крышки 2 с газоотводящими трубками 3. В крышку 2 вставлены трубки 4 для подачи жидких материалов суспензии. К крышке 2 крепится по меньшей мере один конусный циркуляционный патрубок 5, сужающийся кверху. В дно емкости выгнутой формы установлен набор газоподводящих трубок 6. В центре дна емкости 1 расположен патрубок 7 для слива готовой суспензии, в боковой стенке емкости имеется водомерное стекло 8. В газоотводящий патрубок 3 вмонтирован перепускной клапан 9 давления.

[14]

Основное функциональное назначение циркуляционного патрубка 5 заключается в создании внутри него восходящего газового потока, увлекающего за собой объемы суспензии. Циркуляционный патрубок 5 вертикально располагается в емкости 1 таким образом, что верхний конец патрубка находится ниже уровня суспензии, а нижний не доходит до дна емкости. Коническая сужающаяся кверху форма полого циркуляционного патрубка позволяет добиться большего эффекта захватывания суспензии пузырьками газа, что дополнительно увеличивает интенсивность перемешивания. Через трубки 4 осуществляется дозировка жидких составляющих суспензии на поверхность суспензии и связующего или внутрь их объема в нисходящий поток жидкости путем регулировки глубины погружения трубок. Дозировка производится из специальной мерной емкости или через ротаметры.

[15]

Газоподводящие трубки 6 предназначены для нагнетания газа в емкость гидролизатора для создания барботажного перемешивания. Трубки расположены под торцем циркуляционных патрубков так, что выходящий газ поднимается на поверхность обязательно внутри патрубка. Газ содержит компоненты суспензии: пары воды, растворителя, хлористого водорода, твердые составляющие суспензии. Дно емкости имеет выгнутую форму для предотвращения оседания суспензии в углах.

[16]

Через сливной патрубок 7 производится слив готовой суспензии без всякой предварительной подготовки емкости. Газоотводящий патрубок 3 отводит прошедшие через объем суспензии барботирующие газы, насыщенные парами растворителя. В газоотводящий патрубок 3 вмонтирован перепускной клапан 9 давления, в зависимости от настройки, которого в емкости гидролизатора поддерживается и регулируется давление. Через водомерное стекло 8 производится визуальное наблюдение за количеством суспензии в емкости.

[17]

Схема установки для приготовления керамической суспензии замкнутого оборотного цикла подачи барботирующего газа (фиг. 1) содержит емкость 1 гидролизатора, газоотводящий патрубок 3 с перепускным клапаном 9 давления, газоподводящие трубки 6, сливной патрубок 7, нагнетатель 10, охладитель 11, кран-тройник 12, загрузочно-смешивающее устройство 13 для дозирования твердых материалов суспензии, состоящей из корпуса 14, улавливающей воронки 15, загрузочного лотка 16, герметично закрывающего шибера 17, металлической сетки с войлочной прокладкой 18, крана 19. Охладитель 11 состоит из корпуса, через который прокачивается хладагент. Внутри корпуса расположены витки спирально замкнутых газоподводящих трубок.

[18]

Устройства установки соединены между собой газопроводящими трубами.

[19]

Установка работает следующим образом.

[20]

В емкость 1, герметично закрытую крышкой 2, через трубки 4 подают жидкие материалы суспензии. При заполнении емкости выше верхнего конца циркуляционного патрубка 5, что контролируется через водомерное стекло 8, начинают подачу газа через газоподводящие трубки 6. Газ, поднимаясь внутри патрубка 5, увлекает за собой жидкость или суспензию, в результате чего в емкости начинается процесс циркуляционного перемешивания (показано на фиг. 1 стрелками). Твердые материалы вводят в емкость вместе с газовым потоком через трубки 6. Барботирующий газ, проходя через объем жидкости, насыщается парами растворителя и выводится через газоотводящий патрубок 3. Перепускной клапан 9 давления поддерживает давление в емкости в пределах 1-2 ати. При повышенном давлении быстрее протекают физико-химические процессы приготовления связующего. По окончании приготовления суспензии или связующего прекращается подача газа и готовый продукт сливается через выпускной патрубок 7. При необходимости быстрого освобождения емкости перекрывают газоотводящий паттрубок 3 и слив производится без прекращения подачи газа. Подвод газа к емкости 1 производится от нагнетателя 10. При первом положении (не показано) крана-тройника 12 весь газ проходит через охлаждающий элемент 11 и далее через газоподводящие трубки 6 барботируют суспензию в емкости 1, внутри которой создается давление 1-2 ати, регулируемое клапаном 9. Газы, насыщенные парами растворителя, через газоотводящий патрубок 3 и клапан 9 давления снова поступают на вход нагнетателя 10. Таким образом, осуществлется постоянная оборотная циркуляция газов внутри системы в замкнутом цикле.

[21]

Вследствие экзотермичности реакции гидролитической поликонденсации этилсиликата газы, проходящие через суспензию, сильно нагреваются, отбирая тепло суспензии. Для проведения реакции в нужном направлении барботирующий газ предварительно охлаждается в охладителе 11.

[22]

При необходимости загрузки твердых материалов в емкость гидролизатора 1, открывают кран 19, при котором 25 -50% всех газов поступает через устройство 13 для получения и дозирования псевдоожиженной взвеси огнеупорных составляющих. Газ, проходя через металлическую сетку с войлочной прокладкой 18, приводит твердые составляющие в псевдоожиженное состояние. Далее кварцевая или другая взвесь через улавливающую воронку 15 и газоподводящие трубки 6 поступает в емкость 1. Газы проходят через суспензию, а твердые составляющие остаются в ее объеме, равномерно распределяясь. Дозировка твердых составляющих в устройство 13 осуществляется из загрузочного лотка 16 посредством открывания герметичного шибера 17. Дозировка производится тогда, когда газ на устройство 13 не поступает. После окончания дозировки твердых составляющих в устройство 13 герметичный шибер 17 закрывается. Выпуск готовой суспензии осуществляется через сливной патрубок 7.

[23]

Состав суспензии по предлагаемому и известному способам одинаков, мас. %: этилсиликат марки 40 8,4;

[24]

ацетон марки А 16, 54; подкисленная вода 0,06; кварц пылевидный ПК-2 75. Температура продуваемого газа составляет 15°С, объем замеса 15 л.

[25]

Пример 1. По известному способу в емкость смесителя через загрузочное окно в крышке вливают растворитель и подкисленную воду и продувают кислородсодержащим газом (сжатым воздухом) в течение 1-2 мин. Затем в емкость постепенно вливают этилсиликат, загружают огнеупорные составляющие, устанавливают рабочее давление в газоподводящей системе и продолжают продувку (перемешивание) всего объема суспензии с помощью барботирующего газа до приобретения суспензией исходной температуры (16°С). По окончании приготовления суспензии отключают подачу газа, производят подъем газоподводных трубок и перемешивают и с помощью специального механизма производят поворот емкости для слива приготовленной суспензии. После сливания готового продукта емкость возвращают в исходное состояние, очищают от остатков суспензии и приступают к приготовлению новой порции.

[26]

Пример 2. Приготовление керамической суспензии по предлагаемому способу осуществляют следующим образом.

[27]

В емкость 1 гидролизатора, герметично закрытую крышкой 2, через трубки 4 подают аналогично известному способу жидкие составляющие. При заполнении емкости выше верхнего конца циркуляционного патрубка 5, что контролируется через водомерное стекло 8, от нагнетателя 10, через кран 12, охлаждающий элемент 11 и через газоподводящие трубки 6 в емкость подают газ в течение 1-2 мин. Газ, поднимаясь внутри патрубка 5, увлекает за собой жидкость, в результате чего в емкости происходит интенсивное циркуляционное перемешивание. В это время кран 19 полностью закрыт.Затем из загрузочного лотка 16 с помощью шибера 17 производят дозировку огнеупорных составляющих в устройство 13. После поступления твердых составляющих в устройство 13 шибер герметично закрывают и открывают кран 19, а кран-тройник 12 поворачивают во второе положение, при котором 35% всего газа поступает в устройство 13. Газ, проходя через металлическую сетку и войлочную прокладку 18, приводит твердые составляющие в псевдоожиженное состояние. Кварцевая взвесь через улавливающую воронку 15 и газоподводящие трубки 6 поступает в емокость 1,где благодаря наличию циркуляционных патрубков происходит интенсивное перемешивание суспензии, а с помощью перепускного клапана 9 создается избыточное давление в необходимых пределах 1-2 ати. При превышении давления перепускной клапан 9 срабатывает, давление в емкости падает, а затем опять начинает расти до указанного предела. Так продолжается до тех пор, пока температура суспензии не достигнет исходной (16°С). При срабатывании клапана 9 в емкости 1 происходит резкое падение давления и всплеск суспензии по всему объему, способствующий устранению оседания огнеупорных частиц и более равномерному их распределению во всем объеме замеса.

[28]

Таким образом, при приготовлении суспензии по предлагаемому способу в емкости 1 происходит барботирование суспензии, циркуляционное и пульсирующее перемешивание, что значительно ускоряет процесс приготовления суспензии и повышает ее качество. Газы, насыщенные парами растворителя и этилсиликата, через газоотводящий патрубок 3 снова поступают в емкость гидролизатора 1, проходя через нагнетатель 10, охлаждающий элемент 11 и газоподводящие патрубки 6. Таким образом, осуществляется постоянная оборотная циркуляция газов. По окончании приготовления суспензии готовый продукт сливают через выпускной патрубок 7 в раздаточные емкости.

[29]

В табл. 1 приведены сравнительные данные кинетики изменения температуры суспензии в процессе ее перемешивания в зависимости от давления (избыточное давление, равное 0 ати, соответствует известному способу).

[30]

Из табл. 1 следует, что оптимальное давление в емкости гидролизатора при приготовлении суспензии составляет 1-2,0 ати. При понижении давления до 0,5 ати скорость реакции гидролитической поликонденсации заметно уменьшается и мало отличается от известного способа. При увеличении давления свыше 2,0 ати скорость реакции практически не изменяется, а создание большого давления требует использования мощного нагнетателя. Кроме того, продолжительность приготовления керамической суспензии по предлагаемому способу составляет 22,5-25,0 мин, против 35 мин по известному, т.е. сокращается в 1,4 - 1,5 раза.

[31]

Более быстрое протекание физико-механических процессов, в частности реакции гидролитической поликонденсации этилсиликата, по предлагаемому способу связано с тем, что повышение давления в емкости гидролизатора улучшает растворимость барботирующего газа в суспензии. В результате этого ускоряются процессы окисления этоксильных групп этилсиликата и сокращается время образования силиксановой связи, что наряду с циркуляционным и пульсирующим перемешиваниями значительно. сокращает продолжительность приготовления суспензии и повышает ее качество.

[32]

Повышение качества приготовленной суспензии приводит к повышению механических характеристик образцов.

[33]

В табл. 2 приведены показатели прочности на изгиб керамических образцов.

[34]

Прочность керамических оболочек при статическом изгибе определяют по стандартной методике. Испытание проводят после прокалки при 900°С в течение 1 ч охлажденных до комнатной температуры образцов. Температура продуваемого газа составляет 15°С.

[35]

Из табл. 2 следует, что предлагаемый способ обеспечивает повышение прочности керамических оболочек по сравнению с известным. Оптимальное давление барботирующего газа внутри емкости составляет 1-2 ати. Увеличение давления свыше 2,0 ати нецелесообразно, так как прочность оболочек изменяется незначительно. Уменьшение давления до 0-0,5 ати приводит к резкому снижению прочности.

[36]

Газопроницаемость образцов по известному и предлагаемому способам практически не изменяется и составляет 5-7 условных единиц.

[37]

В табл. 3 показана прочность оболочек, полученных при перемешивании суспензии барботирующим газом, охлажденным до различных температур. Давление внутри емкости 1,5 ати, расход газа 0,25 м3/ч на 15 л суспензии.

[38]

Из табл. 3 видно, что температура барботирующего газа, при которой прочность оболочек сохраняется на достаточно высоком уровне, составляет 0-20°С. В этом диапазоне температур прочность оболочек по предлагаемому способу в среднем в 1,3 раза больше, чем по известному.

[39]

Наряду с повышением качества приготовленной суспензии, использование барботирующего газа по замкнутому циклу полностью устраняет потери растворителя, этилсиликатала и пылевидных составляющих суспензии, вследствие чего улучшаются санитарно-гигиенические условия труда, повышается выход годного продукта. По известному способу потери жидких и пылевидных компонентов составляют 10-20% от емкости замеса. Концентрация в рабочей зоне установки составляет для газов и паров растворителя и этилсиликата 1500 мг/м3 воздуха, пылевидных фракций кремнезема при загрузке огнеупорных составляющих - 4-5 мг/м3 (ПДК составляет 1 мг/м3).

[40]

Преимуществом предлагаемой установки является то, что отпадает необходимость поворота емкости для слива готовой продукции и очистки ее от остатков суспензии.

[41]

Экономический эффект предлагаемого изобретения заключается в устранении потерь жидких и пылевидных ингредиентов связующего или суспензии.

[42]

Так, при приготовлении суспензии известным способом потери составляют 10-20% от емкости замеса. Они складываются за счет испарения растворителя и этилсиликата в процессе приготовления суспензии, выброса огнеупорных составляющих в атмосферу цеха при их загрузке в емкость для смешивания, а также удаление оставшегося под перемешивателем огнеупорного наполнителя после слива суспензии.

[43]

По предлагаемому способу за счет оборотного использования в замкнутом цикле барботирующего газа и устранения безвозвратных потерь огнеупорных составляющих полностью устранены потери жидких и пылевидных ингредиентов. При стоимости 1 т керамической суспензии 220 руб., экономический эффект составляет в среднем 33 руб. на 1 т приготовленного продукта.

[44]

[45]

[46]

Как компенсировать расходы
на инновационную разработку
Похожие патенты