заявка
№ SU 1174587
МПК F04B9/12

Пневмоприводной насос

Авторы:
ГЛАДКОВ ГЕОРГИЙ ЕФИМОВИЧ
Номер заявки
2995133
Дата подачи заявки
03.10.1980
Опубликовано
23.08.1985
Страна
SU
Как управлять
интеллектуальной собственностью
Чертежи 
5
Реферат

[6]

ШЕВМОПРИВОДНОЙ НАСОС, содержащий корпус с соосно размещенны ми в нем рабочими и приводными цилявдрами , в последнем из которых с возможностью возвратно-поступательного движения установлен поршень, снабженный воздухораспределительным устройством, включающим выполненные в теле поршня седла перепускных и впускных клапанов, установленную на направляющих траверсу, несущие затворы указанных клапанов, имеющих в зоне контакта с седламн плоскую головку , переключатель, установленный I с возможностью взаимодействия с подпружиненными шатунами, закрепленными на осях в кронштейнах, отличающийся тем, что, с целью повышения надежности в работе и технологичности изготовления, soswyxoраспределительное устройство снабжено опорной рамкой с размещенными на ней кронштейнами и направлякяцими в виде стержней, поршень снабжен центрирующей выточкой для установки опор5 ной рамки в заданном положении, а плоские головки затворов клапанов охвачены эластичной оболочкой.

Формула изобретения

1

9иъ:г

Фм.}

2S

8 /7

25

Фуг.5

Описание

[1]

Л )0

[2]

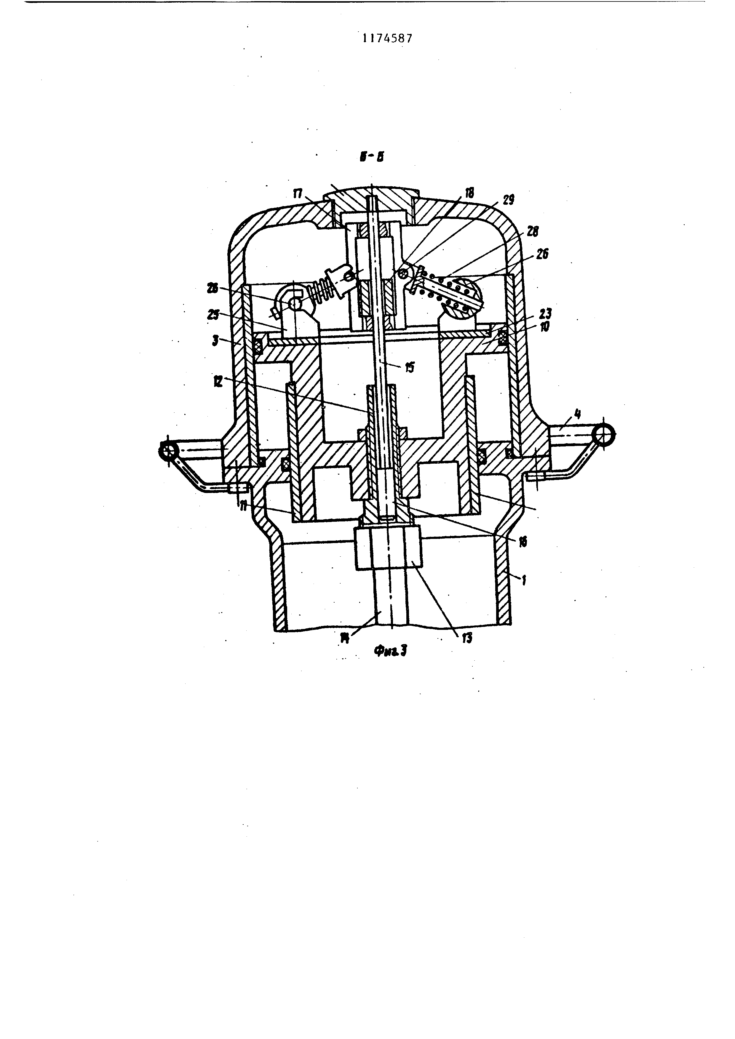
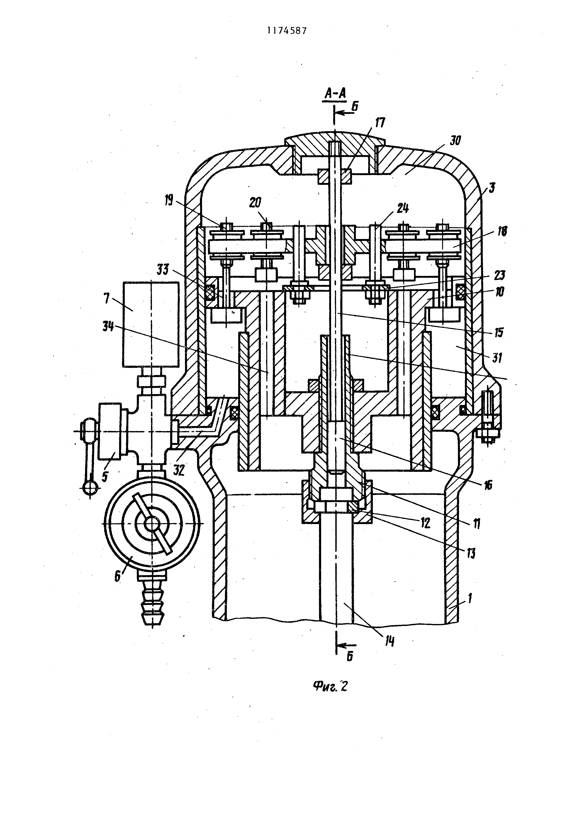
Изобретение относится к насосо .строению, в частности к насосам с пневматическим приводом возвратнопоступательного движения. Цель изобретения - повьппеиие надежности в работе и технологичности изготовления насоса. На фиг.1 изображен пневмопри- водной насос, используемый в составе установки для распыления жидкости; на фиг.2 - сечение А-А на фиг.1 на фиг.З - сечение Б-Б на фиг.25 на фиг.4 - воздухораспределительное устройство при нейтральном положении траверсы, сечение; на фиг.5 воздухораспределительное устройство при крайнем нижнем положении траверсы , сечение; на фиг.6 - сечение В-В на фиг.4; на фиг.7 - перепускной и выпускной клапаны. Пневмоприводной насос содержит корпус с соосно размещенными в нем рабочим 2 и приводным 3 цилиндрами. Насос может быть использован в составе установки для распыления жидкости и снабжен установленными на корпусе 1 ободом 4, пусковым краном 5, регулятором 6 давления, манометром 7, напорным фильтром 8. Пневмоприводной насос может быть смонтирован на тележке 9 фиг.1. В приводном цилиндре 3 с возможностью возвратно-поступательного дви жения установлен поршень 10 со штоком 11, соединенные при помопщ закладных полуколец 2 и накидной гайки 13 с плунжером 14 рабочего цилиндра 2, В осевом отверстии штока И расположен стержень 15 с хвостовиком 16. На стержне 15 с возможностью осевого перемещения установлены пере ключатель 17 и траверса 18 с закрепленными на ней затворами 19 и 20 перепускных и выпускных клапанов соответственно . Затворы 19 и 20 имеют плоские головки 2, обхваченные элас тичными оболочками 22. Поршень 10 на торце снабжен цент рирующей выточкой для установки в заданном положении опорной рамки 23 на которой закреплены направляющие траверсы 18, выполненные в виде стержней 24, и кронштейны 25.В кронш тейнах 25 установлены оси 26 шатунов 27, имеющих пружины 28. Шатуны 27 при помощи осей 29 соединены с переключателями 17. Поршень 10 де лит приводной цилиндр 3 на поршневую 30 и штоковую 31 камеры. Сжатый воздух по каналу 32 подводится в штоковую камеру .31, которая при помощи каналов 33 в теле поршня 10 сообщена с поршневой камерой 30, при этом входы в каналы 33 являются седлами перепускных клапанов. Поршневая камера 30 при помощи каналов 34 в теле поршня 10 сообщена с полостью корпуса 1 и далее с атмосферой , при этом входы в каналы 34 являются седлами выпускных клапанов., Указанная совокупность элементов поршня 10 и закрепленных на нем элементов образует воздухораспределительное устройство приводного цилиндра 3. Пневмоприводной насос работает следующем образом. Сжатый воздух через регулятор 6 давления, кран 5 и канал 32 подается в штоковую камеру 31 приводного цилиндра 3, при этом поршень 10 приводного цилиндра 3 перемещается вверх, увлек 1я плунжер 14 рабочего цилиндра 2, в котором при этом происходит такт всасывания. При указанном движеиии поршия 10 траверса 18 находится в верхнем положении, затворы 19 перепускных клапанов закрывают перепускные каналы 33, а каналы 34 открыты, и воздух из поршневой камеры 30 вытесняется в атмосферу . Когда переключатель 17 дойдет до дна цилиндра 3, поршень 10 продолжает движение вверх, при этом опорная рамка 23 с закрепленными на ней кронштейнами 25 также перемещается вверх, что приводит к повороту шатунов 27 вокруг осей 26 и сжатию пружин 28 сначала до нейтрального по ложения фиг.4), а после прохода нейтрального положения, являющегося неустойчивым, пружины 28 разжимаются, перебрасывая переключатель 17 в нижнее положение (фиг.5). Переключатель 17 взаимодействует с траверсой 18 и переводит ее в нижнее положение , при этом выпускные каналы 34 закрываются затворами 20, а перепускные каналы 33 открываются, поскольку затворы 19 траверсой 18 переводятся в нижнее положение. При этом сжатый воздух поступает и в штоковую 31 и в поршневую 30 камеры и за счет разницы площадей в указанных камерах поршень 10 получает движение вниз, перемещая вниз плунжер 14 рабочего цилиндра 2, в котором при этом происходит такт нагнетания. При движении поршня 10 вниз переключатель 1731

[3]

взаимодействует с хвостовиком 16,. и шатуны 27 начинают поворачиваться относительно осей 26, сжимая пружины 28, до нейтрального положения шатунов 27 (фиг.Д), а после прохода нейтрального положения пружины 28 разжимаются, перебрасывая переключатель 17 в крайнее верхнее положение . Переключатель 17 взаимодействует с траверсой 18 и переводит ее в верхнее положение, при этом выпускные каналы 34 открываются, а перепускные каналы 33 перекрываются затворами 19, при -зтом сжатый воздух воздействует на поршень О только со стороны штоковой камеры 31, и пор1745874

[4]

шень 10 начинает движение ввег-х, как это было показано вьше. Далее циклы повторяются.

[5]

Введение опорной рамки 23 в конструкцию воздухораспределительного устройства позволяет существенно повысить технологичность изготовления насоса путем исключения подгоночных операций и обеспечения возможности поузловой сборки элементов воздухораспределительного устройства, а эластичные оболочки головок затворов клапанов повьппают надежность его работы за счет улучшения герметичности .

Как компенсировать расходы
на инновационную разработку
Похожие патенты