заявка
№ SU 1145245
МПК G01B17/02

Ультразвуковой толщиномер

Авторы:
ЯНКОВСКИЙ ВЛАДИМИР ИОСИФОВИЧ
Номер заявки
3260478
Дата подачи заявки
06.03.1981
Опубликовано
15.03.1985
Страна
SU
Как управлять
интеллектуальной собственностью
Чертежи 
1
Реферат

[14]

1. УЛЬТРАЗВУКОВОЙ ТОШИИНОМЕР, содержащий два расположенных друг напротив друга и соединенных по схеме синхрокольца эхо-локационных канала , состоящих каждый из приемно- излучающего преобразователя, импульсного генератора и селекторного усилителя , соединенного со входом запуска генератора противоположного канала, синхронизатор, выполненный в виде соединенных по схеме синхрокольца импульсного генератора, соединенного с приемно-излучающим преобразователем , усилителя и рефлектора, установленного напротив преобразователя , делитель частоты и измерительрегистратор , отличающийся тем, что, с целью повьппения точности измерений, он снабжен схемой И, включенной между усилителем синхронизатора и выходом делителя частоты, последний входом соединен с усилителем второго канала, и блоком управления , включенным между выходом делителя и измерителем-регистратором, который выполнен в-виде последователь-г2 но соединенных вычитающего счетчика р и цифрового индикатора, второй вход счетчика соединен с выходом схемл И, а второй вход индикатора соединен с блоком управления. 2. Толщиномер по п.1 , отличающийся тем, что расстояние между рефлектором и преобразователем в синхронизаторе меньше расстоя4 СЛ ния между приемно-излучающими преобразователями эхо-локационьых каналов. К 4 СП

Формула изобретения

15 -t 1

Описание

[1]

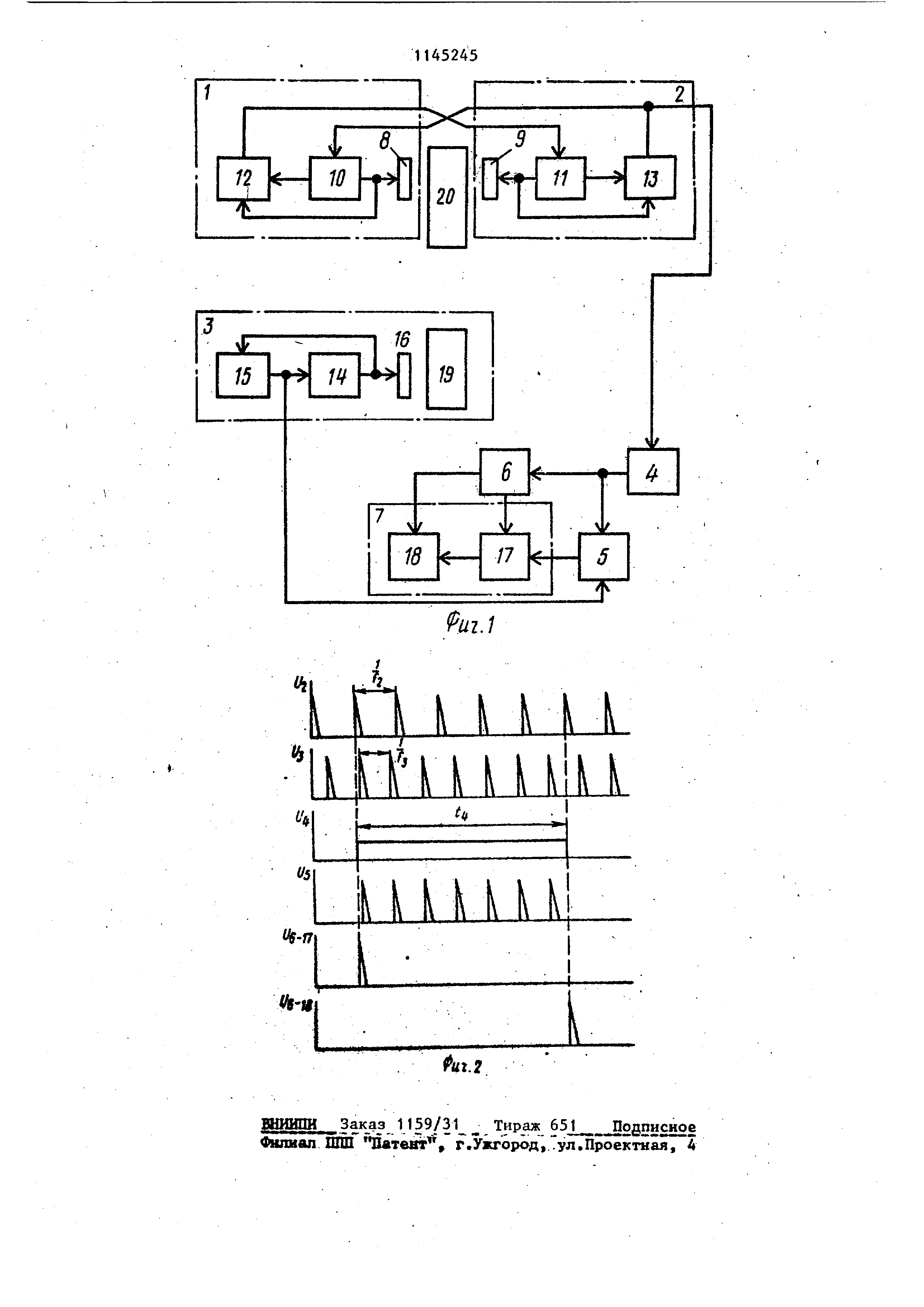
Изобретение относится к контрольно-измерительной технике и может быт использовано для контроля толщины изделий из различных материалов, в частности из материалов с большим коэффициентом затухания ультразвука Известен ультразвуковой толщиномер , содержащий два рАсположенньк друг напротив друга эхо-локационных каналаi состоящих каждый из приемноизлучающего преобразователя, импульсного генератора и седекторного усилителя , дополнительно1 о приемно-излyчaюв eгo преобразователя, связанного с генератором первого канала, дополнительного селекторного усилителя , вход которого связан с дополн тельным преобразователем, а выход с управляемым входом генератора пер вого канала, и времяизмерительный блок с триггером, включенный между усилителем второго канала и генератором первого канала tl3 Однако этот толп5иномер характери зуется недостаточно высокой точность измерений вследствие наличия мертво зоны триггера времяизмерительного блока, Наиболее близким к изобретению является ультразвуковой толщиномер, содержащий два расположенных друг напротив друга и .соединенных по схем сннхрокольца эхо-локационных канала. состоящих каждый из приемно-излучаю щего преобразователя, импульсного генератора и селекторного усилителя соединенного с входом запуска генератора противоположного какала, син хронизатор, выполненный D виде соед ненных по схеме синхрокольца импуль сного генератора, соединенного с приемно-излучалощим преобразователем усилителя и рефлектора,установленног напротив преобразователя, делитель частоты и измеритель-регистратор. При этом толщиномер также содержит генератор старт-стопных импульсов, которьш через делитель частоты соединяет один из входов усилителя второго эхо-локационного канала с синхронизатором, меящу выходом второго эхо-локационного канала и синхронизатором подключен измерительрегистратор , а акустическая база синхронизатора установлена равной расстоянию между приемно-излучающими преобразователями эхо-локационны каналов 23. Известный толщиномер отличается недостаточно высокой точностью измерений при цифровой регистрации показаний прибора, что вызвано относительно большим периодом следования импульсов, формируемых синхрбнизатором , в частности из-за протяженной акустической базы синхронизатора . Целью изобретения является повышение точности измерений. Поставленная цель достигается тем, что ультразвуковой толщиномер, содержащий два расположенных друг напротив друга и соединенных по схеме синхрокольца эхо-локационных канала , состоящих каждый из приемноизлучающего преобразователя, импульсного генератора и селекторного усилителя, соединенного с входом запуска генератора противоположного канала, синхронизатор, выполненный в виде соединенных по схеме синхрокольца импульсного генератора. соединенного с приемио-излучающим преобразователем, усилителя и рефлектора , установленного напротив преобразователя, делитель частоты И измеритель регистратор, снабжен схемой И, включенной между усилителем синхронизатора и выходом делителя частоты , последний входом соединен с усшхителем второго канала, и блоком управления, включенным между выходом делителя и измерителем-регистратором , который выполнен в виде последовательно соединенных вычитающего счетчика и цифрового индикатора , второй вход счетчика соединен с выходом схемы И, а второй вход индикатора соединен с блоком управления . Кроме того, расстояние между рефлектором и преобразователем в синхронизаторе меньше расстояния между приемно-излучающими преобразователями эхо-локационных каналов. На фиг, 1 представлена блок-схема ультразвукового толщиномера; на фиг, 2 - временные диаграммы напряжений на выходах отдельных блоков прибора. Ультразвуковой толщиномер содержит два соединенных по схеме синхрокольца эхо-локационных канала 1 и 2, синхронизатор 3, делитель 4 частоты, схему 5 И, блок 6 управления и измеритель-регистратор 7. Каждый из эхо-локационных каналов 1

[2]

и 2 состоит из приемно-излучающёго преобразователя 8 и 9 соответствен ,но импульсного генератора 10 и 11 и селекторского усилителя 12 и 13, Выход селекторного усилителя 12 соединен с входом импульсного генера .тора 11, а усилителя 13 - с входом генератора 10. Синхронизатор 3 выполнен в виде соединенных по схеме синхрокольца импульсного генератора 14, усилителя 15 и приемно-излучающего преобразователя 16. Измеритель-регистратор 7 выполнен в виде последовательно соединенных вычитающего счетчика 17 и цифрового индикатора 18. Выход второго канала 2 соединен с входом делителя 4 частоты, который может быть выполнен например, в виде счетчика импульсов на триггерах, работающего в делитель ном режиме. Один из выходов делителя 4 частоты подключен к первому входу 5 И, а другой к блоку 6 управления, вьшолненному, например, в виде дифференцирующего звена и связанных с ним через разнополярно включенные диоды двух формирователей . К второму входу схемы 5 И подключен выход синхронизатора 3. Выход Г схемы.5 И соединен с входом измерите- ля-регистратора 7 о Управляющие входы счетчика 17 и индикатора 18 измерителя-регистратора 7 связаны с соответствующими выходами блока 6 управления .. Толщиномер также содержит рефлектор 19, входящий в синхронизатор 3, установленный на акустической оси преобразовател я 16 на определенном расстоянии. Преобразователи 8 и 9 расположены друг напротив друга так, что их акустические оси совпадают, а расстояние между ними меньше расстоя}шя между преобразователем 16 синхронизатора 3 и рефлектором 19. В ходе измерений контролируемый объект 20 располагается между преобразователями 8 и 9,

[3]

Ультразвуковой толщиномер работает следующим образом.

[4]

Генератор 10 возбуждает преобразователь 8, И шульс ул.ьтразвуковь1х колебаний доходит до контролируемог объекта 20, отражается от него и возвращается к преобразователю 8. Далее сигнал поступает на селектор- ный усилитель 12, управляемый генератором 10. Усилитель 12 осуществляет селекцию эхо-импульса от зондирующего импульса, так как импульс с генератора 10 переводит его в запертое состояние на время формирования зондирующего сигнала, и от импульсов многократного отражения путем амплитудной отсечки. Вьвделенный эхо-импульс поступает с усилителя 12 первого эхо-локационного канала 1 на генератор 11 второго эхолокационного канала 2 и запускает его. Генератор 11 возбуждает преобразователь 9. №4пульс ультразвуковых колебаний доходит до контролируемого объекта 20, отражается от него и возвращается к преобразователю 9. Далее сигнгш поступает на селекторный, усилитель 13, управляем генератором 11.-Усилитель 13 осуществляет селекцию эхо-импульса от зондирующего импульса и от импульсов .многократного отражения. Ввде-, ленньш таким образом эхо-импульс поступает с усилителя 13 второго эхо-локационного канала 2 на генератор 10 первого эхо-локационного канала 1, работающий в режиме подстройки частоты следования импульсов , и запускает его. В результате первый и второй эхо-локационные каналы 1 и 2 образуют синхрокольцо, в котором устанавливается частота i следования импульсов, определяемая из выражения

[5]

t О

[6]

(V4 2(e,Iii}

[7]

где С - скорость распространения

[8]

ультразвуковых-колебаний в среде, в которой расположены преобразователи 8, 9 и 16, контролируемый объек 20 и рефлектор 19; - расстояние между преобразователем 8 и контролируемым объектом 20; расстояние между преобразователем 9 и контролируемым объектом 20;

[9]

Q- расстояние между преобразователем 8 и 9; - толщина контролируемого

[10]

объекта 20.

[11]

Одновременно генератор 14 возбуж дает пр.еобразователь 16. Импульс ультразвуковых колебаний доходит.до рефлектора 19, отражается от него и возвращается к преобразователю 16. Далее сигнал поступает на усилитель 15 и синхронизирует генератор 14. В результате в асинхронизаторе 3 устанавливается частота f, следования импульсов, определяемая из выражения где EJ - акустическая база синхронизатора 3, т.е. расстояни между преобразователем 16 и рефлектором 19. С выхода второго эхо-локационного канала 2 импульсы амплитудой (Jj (фиг. 2) с частотой f поступают на вход делителя 4 частоты.. В этом бло ке осуществляется деление частоты входньгх импульсов на коэффициент . С выхода делителя 4 частоты импульсы измерительного интервала амплитудой U4(фиг.2) и длительностью t, с частотой f. поступают на вход блока 6 управления и первый вход схемы 5 И. На второй вх схемы 5 И поступают импульсы амплитудой Uj (фиг. 2) с частотой fj с выхода, синхронизатора 3. С выхода схемы 5 И импульсы поступают на счетчик 17 измерителя-регистратора 7, Блок 6 управления формирует из переднего фронта импульсов измерительного интервала импульсы амплитудой и t.,- (фиг „2), которые поступают на второй вход измерителя-регистратора 7 и устанавливают счетчик 17 в начальное состояние, которому соответствует число N. За вре мя Ц на вход счетчика 17 с выхода схемы 5 И поступает число импульсов равное N, которое определяется как N 1.3/2. По окончании интервала времени вычитающем счетчике 17 оказывается записанным число М . Блок упра,вления также формирует из заднего фронта импульсов измерительного интервала импульсы амштт -дой i-18 (фиг. 2), которые поступают на третий вход измерителя-регистратора 7 в цифровой индикатор 18, осуществляют перезаписи цифрового кода М со счетчика 17 в индикатор 18 и индикацию показаний. Через время 2 на входы схемы 5 И и блока 6 управления поступает новых импульс измерительного интервала, и происходит новая перезапись кода в индикатор 18 и индикация показаний. Для того, чтобы при индикации высвечивалась непосредственно толщина контролируемого объекта 20 Ь величины коэффициента деления k делителя 12 частоты и число начальной установки .Ng вычитающего счетчика 17 выбирают в соответствии с соотношением о L где L - единица измерения линейных оазмеров, например 1 мм. Погрешность дискретности Ati для предложенного толщиномера составляет Л1, Л п Таким образом, предложенный ультразвуковой толщиномер позволяет повысить точность измерений при цифровой регистрации показаний прибора за счет снижения погрешности дискретности измеряемой величины благодаря его снабжению схемой И и блоком управления, а также благодаря тому, что расстояние межл.у рефлектором и преобразователем в синхронизаторе меньще pac тoяния между приемно-излучающими преобразователями эхо-локационных каналов.

[12]

/2

[13]

W

Как компенсировать расходы
на инновационную разработку
Похожие патенты