заявка
№ SU 1143598
МПК B28B15/00

Способ садки кирпича на обжиговые вагонетки и установка для его осуществления

Авторы:
НАГОВИЦЫН РУДОЛЬФ АЛЕКСАНДРОВИЧ
Номер заявки
3622298
Дата подачи заявки
15.07.1983
Опубликовано
07.03.1985
Страна
SU
Как управлять
интеллектуальной собственностью
Чертежи 
2
Реферат

[3]

1. Способ садки кирпича на обжиговые вагонетк, включающий образование карты путем подачи кирпича в один ряд. остановку ряда по упору, сталкивание сориентированной упором группы кирпичей в сторону с образованием ряда карты, накапливание в накопителе ряда кирпичей и в накопителе карты, перенос и укладку карт в пакеты на обжиговую вагонетку с разворотом на 90, отличающийся тем, что, с целью повышения устойчивости штабеля и обеспечения прямоугольной садки одинарного кирпича, с накопителя ряда кирпичей перпендикулярно к его оси сталкивают ряды разной длины, ограничивая их по передней стороне упором, а ряды, ранее сдвинутые в сторону, пошагово переталкивают под углом к осям накопителя ряда кирпичей и накопителя карты так, что передний кирпич или группу кирпичей, отделенную от остальных, опускают и, дополнительно толкая подают на конвейер (Л накопитель карты. 4 оо сд со 00

Формула изобретения

Изобретение относится к промыщленности строительных материалов и предназначено для его использования при комплексной механизации предприятий по производству глиняного кирпича.

Известен способ садки керамических издел-ий , например кирпича на обжиговые вагонетки , основанный на однорядной подаче кирпича для образования карт. Данный способ осуществляется установкой, содержащей систему подающих конвейеров, толкатели с силовыми цилиндрами, комплектовочный стол и переносчик-укладчик слоя изделий. При однорядной подаче ряды с большим количеством кирпичей сталкивают на раздвижные налеты, раздвигают их и образованную карту снимают захватами 1.

Однако данный способ и устройство не обеспечивают устойчивой садки.

Наиболее близким к изобретению является способ садки кирпича на обжиговые вагонетки, включающий образование карты путем подачи кирпича в один ряд, остановку ряда по упору, сталкивание сориентированной упором группы кирпичей в сторону с образованием ряда карты, накапливание рядов карты, перенос и укладку карт в шахты на обжиговую вагонетку с разворотом на 90° 2.

Наиболее бу1изкой к изобретению является установка, реализующая известный способ садки кирпича на обжиговые вагонетки, которая содержит «акопитель ряда кирпичей, накопитель карты и переносчик слоя, состоящий из закрепленной на тележке направляющей , в нижней части которой расположена траверса с захватами 2.

Однако известные способ и установка не обеспечивают устойчивость щтабеля и прямоугольную садку одинарного кирпича.

Целью изобретения является повышение устойчивости штабеля и обеспечение прямоугольной садки одинарного кирпича.

Указанная цель достигается тем, что согласно способу садки кирпича на обжиговые вагонетки, включающему образование

Q карты путем подачи кирпича в один ряд, остановку ряда по упору, сталкивание сориентированной упором группы кирп.ичей в сторону с образованием ряда карты, накапливание в накопителе ряда кирпичей, в накопителе карты, перенос и укладку карт в

5 пакеты на обжиговую вагонетку с разворотом на 90°, с накопителя ряда кирпичей перпендикулярно к его оси сталкивают ряды разной длины, ограничивая их по передней стороне упором, а ряды, ранее сдвинутые в сторону, пошагового переталкивают

под углом к осям накопителя ряда кирпичей , и накопителя карты так, что передний кирпич или группу кирпичей, отделенную от остальных, опускают вниз и, дополнительно толкая, подают на конв€йер-накопи5 тель карты.

В ycTaifoBxe для садки кирпича на обжиговые вагонетки, содержащей накопитель ряда кирпичей, накопитель карты и переносчик слоя, состоящий из закрепленной на тележке направляющей, в нижней части которой расположена траверса с захватами, накопитель ряда кирпичей снабжен двухпозиционным подвижным упором, а накопитель карты выполнен в виде склиза с подъемным столиком и сталкивателем, преобразователя ряда кирпичей, поддерживающего цепного конвейера, кинематически соедиtieHHoro с приводом, и ленточного конвейера, обхватывающего цепной конвейер, при этом преобразователь ряда кирпичей имеет стойку и щарнирно закрепленную на ней балку, на одном конце которой закреплена траверса с упорами, причем траверса соединена при помощи линейки с приводом,а кинематическая связь цепного конвейера с приводом содержит два водила и храповые механизмы, число которых соответствует числу рисунков карты.

Кроме того, направляющая переносчика слоя выполнена в виде двух щарнирно соединенных между собой рычагов, свободный конец одного из которых закреплен на тележке , а свободный конец другого - на траверсе.

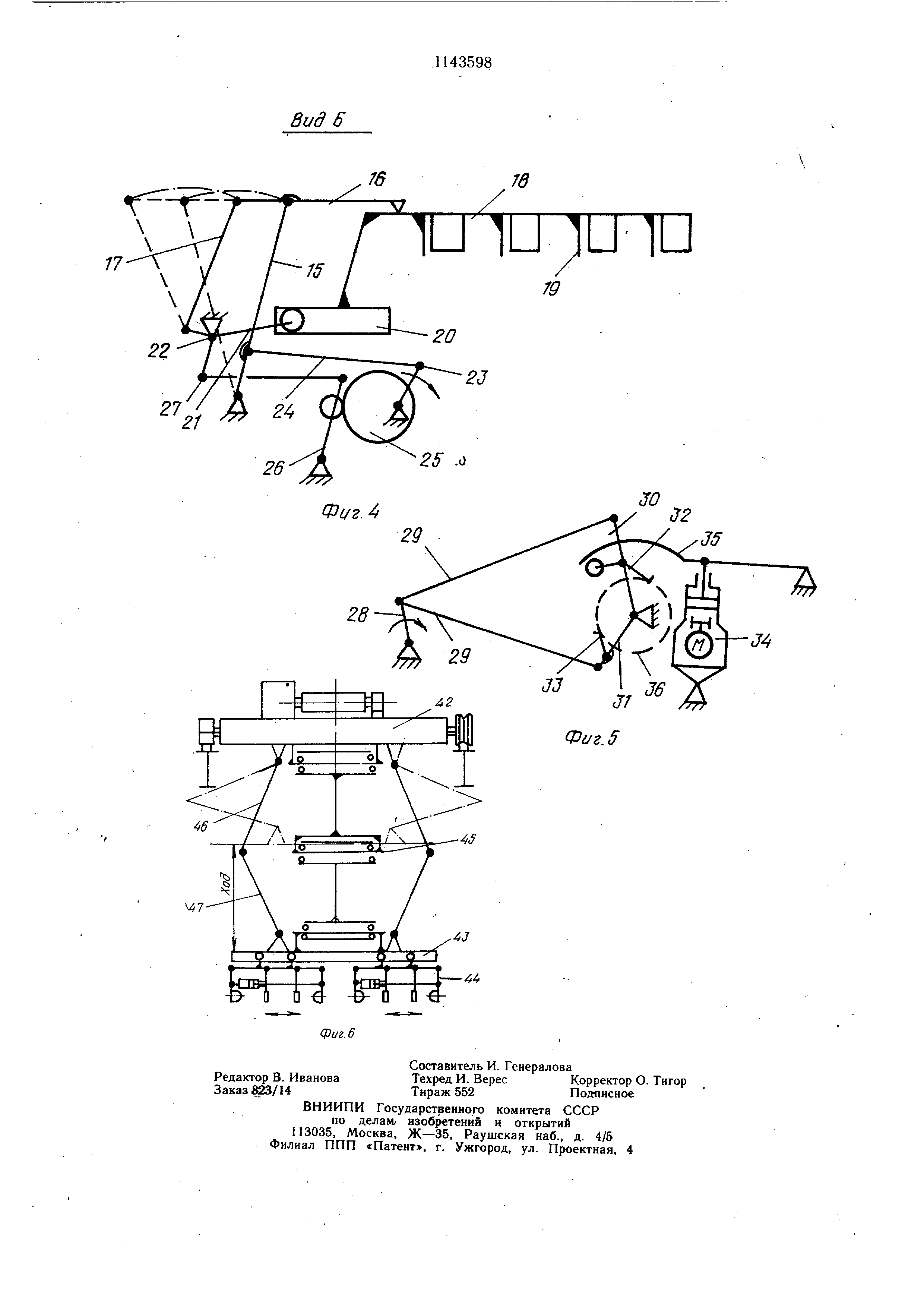
На фиг. 1 изображена схема садки и установка, вид сверху; на фиг. 2 - накопитель карты, вид сверху; на фиг. 3 - сечение А-А на фиг. 2; на фиг. 4 - вид Б на фиг. 2; на фиг. 5 - вид В на фиг. 2; на фиг. 6 - щарнирные направляющие.

Укладка кирпича осуществляется следующим образом.

Кирпич подают по конвейеру-накопителю ряда в один ряд и останавливают подвижным упором, имеющим два положения, соответствующие сталкиванию рядов для образования рядов продольных пакетов садки или рядов поперечных пакетов.

Затем ряды разной длины, ограниченные по длине упором, сталкивают в перпендикулярном направлении, а ряды, ранее сдвинутые в сторону, пощагово перемещают под углом к оси накопителя ряда и оси накопителя карты, таким образом, что при переталкивании ряда с накопителя ряда или рядов с позиции на позицию передний кирпич или группа кирпичей в каждом ряду попадают в механизм вертикального пере-мещения , с которого дополнительным сталкивателем отделенная группа кирпичей сталкивается на конвейер-накопитель, образуя на нем ряды кирпича из отдельных кирпичей или групп.

При этом, за счет того, что первые кирпичи , сдвинутБ е с накопителя ряда, пощли на механизм вертикального перемещения, а с него - на конвейер-накопитель, образуется первый ряд кирпича, необходимый для набора пакетов с максимальным количеством рядов.

При перемещении упора на накопитель ряда в положение для сталкивания меньщего количества кирпича, кирпич в механизм вертикального перемещения не попадает и при работе дополнительного сталкивателя первый ряд на накопителе карты не образуется.

Остальные ряды на накопителе карты образуются всегда за счет переталкивания под углом рядов с позиции на позицию.

Максимальное количество кирпича, необходимое для сталкивания с накопителя ряда, равно количеству рядов, умноженному на количество кирпича, отделяемому механизмом вертикального перемещения и сталкиваемых с него за один цикл переталкивания, например , при количестве рядов в пакете карты - 5 и количестве кирпича, отделяемом механизмом вертикального перемещения 2 штуки, максимальное количество сталкиваемых с накопителя ряда кирпичей составит 10 щтук, минимальное - 8 щтук.

Необходимая устойчивость работы накопителя карты при больщом допуске на кирпич обеспечивается за счет следующего.

При сталкивании толкателем с накопителя ряда, например, 10 щтук кирпичей обеспечивается , допуск на пакет из 10 штук ±0,5 толщины кирпича, что при толщине 65 мм составит ±32 мм или один кирпич, что больще допуска по ГОСТу.

При сталкивании ряда кирпича ,с накопителя ряда передние кирпичи, попадающие в механизм вертикального перемещения, сориентированы подвижным упором и имеют точное положение.

При переталкивании рядов кирпича с позиции на позицию под углом и отделении групп кирпича механизмом вертикального перемещения во втором ряду, перемещаемом под углом и базируемому в продольном направлении по заднему кирпичу, остается 6 кирпичей. Устойчивость переднего кирпича данного ряда по кромке склиза обеспечивается размером нависания кирпича на кромке склиза до 32 мм, что является полем допуска на пакет из 6 кирпичей. Поле допуска при этом составляет на один кирпич 32,6, т. е. ±2,66 мм. При последующем переталкивании размер нависания над кромкой склиза 32 мм будет равен пакету из 4 кирпичей, затем из 2 кирпичей и т. д.

Установка для осуществления предлагаемого способа состоит из накопителя 1 ряда , накопителя 2 карты и переносчика 3 слоя. Накопитель 1 ряда состоит из пластинчатого цепного конвейера 4 и склиза 5, в конце которого установлен двух позиционный подвижный упор 6, имеющий два положения, необходимые для сталкивания рядов кирпича для продольных и поперечных пакетов. Накопитель-2 карты состоит из толкателя 7 ряда, неподвижного склиза 8, преобразователя 9 ряда, подъемного стола 10, сталкивателя 11, ленточного конвейера 12, поддерживающего цепного конвейера 13, механизма 14 точной пощаговой подачи конвейеранакопителя .

Преобразователь ряда 9 состоит из стойки 15, на которой шарнирно подвешена балка 16, удерживаемая в горизонтальном положении тягой 17. На конце балки 16 щарнирно подвещена траверса 18 с укрепленными на ней упорами 19. В горизонтальном положении траверса 18 удерживается при помощи линейки 20, перекатываемой по ролику, укрепленному на рычаге 21 вала 22 привода подъема упоров 19. Перемещение преобразователя 9 ряда осуществляется при помощи кривощипа 23 и щатуна 24. При возврате толкателя в исходное положение подъем балки осуществляется при помощи кулака 25 рычага 26 и тяги 27. Механизм точной пошаговой подачи 14 состоит из кривощипа 28, двух щатунов 29, водила 30 и водила 31 разных радиусов с укрепленными на них сс бачками 32 и 33 по количеству храповиков. При этом собачки 32 на водиле с больщим радиусом имеют ролики, при помощи которых электрогидравлические толкатели 34 копирными линейками 35 могут включать в работу ту или иную собачку 32, которая входит в заценление с одним из храповиком 36 с угловым расположением зубьев, равным очередному щагу на карте и равному толщине кирпича (группы кирпичей) плюс зазор. Один оборот храповика равен линейному размеру пакета 37 на карте плюс зазор меж ду пакетами. Вал 38 механизма 14 точной пощаговой подачи при помощи зубчатых колес 39 и 40 связан с приводным валом 41 цепного конвейера 13. С целью обеспечения набора карты на конвейере-накопителе при сталкивании кирпича со стола 10 в направлении движения кирпича ложковой стороной и исключения попадания обломков кирпича при сырце малой прочности под ленты накопителя ленточный конвейер 12 выполнен на всю щирину набираемой карты, точность положения которой при съеме захватами обеспечивается за счет сил трения ленты о цепной конвейер 13. Переносчик 3 слоя состоит из тележки 42, траверсы 43 с подвещенными на ней захватами 44 и шарнирных направляющих 45, которые представляют собой два соединенных между собой рычага 46 и 47. Второй конец каждого из рычагов соединен с рамой тележки 42 или траверсой 43 с захватами 44. Каждый рычаг представляет собой конструкцию, хорощо работающую на кручение, и имеет шарнир с разнесенными 45 подшипниками для уменьщения нагрузки на подшипниковые узлы. Каждая пара соединенных между собой рычагоБ 46 и 47 подсоединена к раме тележки и траверсе так, что плоскости вращения рычагов каждой пары развернуты от- 50 носительно друг друга. Установка работает следующим образом. Кирпичи подаются в один ряд по пластинчатому конвейеру-накопителю 1 ряда и силой трения кирпича, находяйхегося на конвейере 4, заталкиваются на склиз 5 накопите- ля 1 ряда, причем точка перехода с конвейера на склиз выбрана так, что кирпичи доталкиваются до упора б, установленного, в положение сталкивания ряда с минимальным количеством кирпичей в том случае, если общее количество кирпичей на склизе 5 и конвейере 4 в зоне толкателя 7 ряда обеспечивает плотное заполнение ряда,необходимого по количеству кирпича для сталкивания . При нажатии конечного выключателя на подвижный упор 6 включаются толкатель 7 ряда и преобразователь 9 ряда, при этом преобразователь ряда перемещает ряды кирпича, находящиеся на склизе 8 под углом к направлению накопителя 1 ряда и накопителя 2 карты так, что в конце хода передний кирпич (группа кирпичей) оказывается на подъемном столе 10, находящимся в верхнем положении, являющемся продолжением склиза 8, а ряд находящийся на накопителе ряда толкателем 7, сталкивается на место, освободивщееся при проталкивании первого ряда преобразователем 9 ряда. Положение упора 6 накопителя 1 ряда для образования рядов продольных пакетов таково, что при сталкивании ряда кирпичей толкателем 7 передней кирпич (группа кирпичей) в первый ряд на склизе 8 не попадает на подъемный стол 10 и после его опускания и срабатывания сталкивателя 11 сталкивания с него кирпичей не происходит, ряд кирпичей на ленте накопителя карты, ближайолей к накопителю ряда, оказывается незаполненным, благодаря чему образуется пакет из меньщего количества рядов кирпичей. При перемещении подвижного упора 6 в положение, в котором при сталкивании кирпича передние кирпичи оказываются на подъемном столе 10, образуются пакеты на накопителе из 5 рядов кирпича (поперечные). Толкатель 7 и преобразователь 9 в конце хода поднимаются и в поднятом положении возвращаются в исходное положение. Перемещение толкателя 7 ряда и преобразователя 9 ряда, имеющих одинаковую конструкцию , осуществляется от кривощипа 23 через шатун 24, который, поворачивая стойку 15, перемещает щарнирно подвешенную балку 16. Так как стойка 15 имеет большую длину, чем тяга, то точка заделки стоики движется по траектории меньшей кривизны , чем точка заделки на балке тяги 17. При определенном соотношении длин стойки 15 тяги 17 и плеч балки 16 точка подвески траверсы 18 движется по траектории , близкой к прямой. Для того, чтобы траверса 18 при подъеме находилась в горизонтальном положении, к ней прикреплена линейка 20, перекатываемая по ролику, укрепленному на рычаге 21, длина которого выбрана такой, что высота подъема ролика и точка подвески к балке 16 траверсы 18 одинакова. Подъем траверсы 18 в конце хода вперед осуществляется за счет кулака 25, рычага 26 и тяги 27, поворачивающих вал 22 привода подъема упоров и наклоняющего балку 16 при помощи тяги 17 так, что точка подвески траверсы 18 поднимается. Одновременно с подъемом упоров 19 преобразователя 9 ряда подъемный стол 10 опускается до уровня ленты неприводного конвейера 12 и сталкивателем 11 находящиеся на подъемном столе 10 кирпичи сталкиваются , после чего сталкиватель 11 возвращается в исходное положение и столик поднимается. Во время хода сталкивателя 11 вперед кривошип 28 механизма 14 точной пошаговой подачи конвейера-накопителя при помощи щатунов 29 поворачивает водила 30 и 31 на валу 38. Водило 31 меньшего радиуса имеет при одном радиусе кривошипа больший угол поворота и, упираясь неуправляемой собачкой в храповик 36, разворачивает вал 38 и с ним через зубчатые колеса 39 и 40 - приводной вал 41 цепного конвейера 13. При этом цепной конвейер и лежащая на нем лента ленточного конвейера перемещаются на величину минимального шага в набираемом рисунке карты. При переходе кривошипа 28 через мертвую точку водило 30 большего радиуса, упираясь в такой же храповик, соответствующий набираемому рисунку, производит доворот вала 38, а с поворотом вала перемещает цепной и ленточный конвейеры на разницу в шаге между минимальным шагом и шагом по рисунку садки, который должен образовываться при следующем сталкивании кирпича с подъемного стола 10 сталкивателем 11 на ленту конвейера 12. При наборе карты, имеющей иной рисунок, электрогидравлическим толкателем 34 поднимается копирная линейка 35 и начинает работать собачка 32, которая работает по своему храповику 36 с иным угловым положежением зубьев, благодаря чему обеспечиваются другие шаги цепного конвейера 13, а с ним и ленточного конвейера 12, перемещаемого за счет силы трения под весом груза ленты о пластины цепного конвейера. Образованная на накопителе карта захватами 44, установленными на траверсе 45 переносчика слоя 3, захватывается, поднимается на уровень переноса, тележка 42 переносчика слоя перемещается на одну из позиций укладки на вагонетку, захваты опускаются и укладывают слой на .вагонетку , образуя щтабель. В связи с тем, что универсальные захваты, применяемые для укладки прямоугольных слоев, подвешиваются на траверсах так, что их центр тяжести и центры вращения смещены относительно центра подвески, то возникают значительные изгибающие нагрузки на направляющие. В связи с этим, а также для уменьшения необходимой высоты помещения, на переносчике слоев установлены шарнирные направляющие 45. Во время подъема и опускания траверсы 43, например, при помощи лебедки или другим механизмом, рычаги 46 и 47, соединенные друг с другом, поворачиваясь в шарнирах в местах присоединения к тележке 42 и траверсе 43, а также в месте их соединения складываются или разворачиваются , обеспечивая жесткую подвеску в плоскости, перпендикулярной плоскости вращения шарниров. При этом в развернутом виде при возникновении изгибающего момента относительно центра подвески лебедки рычаги работают на изгиб, в сложенном - на кручение . Для обеспечения устойчивости траверсы 43 в двух направлениях подвеска выполнена из двух пар рычагов 46 и 47, развернутых относительно друг друга на 90°. Устойчивость штабеля при перевязке разворотом на 90° обеспечивается отсутствием люфтов за счет применения подшипников качения в шарнирах направляющих, центрирующих захваты на тележке как во время съема карты с накопителя, так и укладки ее в штабель. Изобретение расщиряет технологические возможности известного способа садки кирпича на обжиговые вагонетки за счет создания возможности получения прямоугольных пакетов, повышает надежность работы накопителя карты и установки в целом за счет увеличения допуска на толщину кирпича , а также позволяет получить более устойчивый штабель за счет повышения точности укладки кирпича при формировании штабеля с разворотом слоя на 90°. Установка предоставляет надежное средство механизации процесса садки одинарного кирпича прямоугольными пакетами.

Описание

[1]

2. Установка для садки кирпича на обжиговые вагонетки, содержащая накопитель ряда кирпичей, накопитель карты и переносчик слоя, состоящий из закрепленной на тележке направляющей, в нижней части которой расположена траверса с захватами, отличающаяся тем, что, с целью повышения устойчивости щтабеля и обеспечения прямоугольной садки одинарного кирпича, накопитель ряда кирпичей снабжен двухпозиционным подвижным упором, а накопитель карты выполнен в виде склиза с подъемным столиком и сталкивателем, преобразователя ряда кирпичей, поддерживающего цепного конвейера, кинематически соединенного с приводом, и ленточного конвейера, обхватывающего цепной конвейер, при этом преобразователь ряда кирпичей имеет стойку и щарнирно закрепленную на ней балку, на одном конце которой закреплена траверса с упорами, причем траверса соединена при помощи линейки с приводом, а кинематическая связь цепного конвейера с приводом содержит два водила и храповые механизмы, число которых соответствует числу рисунков карты.

[2]

3. Установка по п. 2, отличающаяся тем, что направляющая переносчика слоя выполнена в виде двух щарнирно соединенных между собой рычагов, свободный конец одного из которых закреплен на тележке, а свободный конец другого - на траверсе .

Как компенсировать расходы
на инновационную разработку
Похожие патенты