заявка
№ SU 1135558
МПК B23B19/02

Шпиндельный узел металлорежущего станка

Авторы:
БАКЛЫКОВ ВЯЧЕСЛАВ ГЕОРГИЕВИЧ
Номер заявки
3650147
Дата подачи заявки
06.10.1983
Опубликовано
23.01.1985
Страна
SU
Как управлять
интеллектуальной собственностью
Чертежи 
2
Реферат

[4]

1. ШПИНДЕЛЬНБШ УЗЕЛ МЕТАЛЛОРЕЖУЩЕГО СТАНКА, содержащий вал, установленный в корпусе на опорах, выполненных в виде конических роликоподшипников , и размещенные в задней опоре механизм создания предварительного натяга роликоподшипника и механизм его регулирования за счет центробежных сил, снабженный грузиками и нажимным кольцом, смонтированным на валу с возможностью осевого перемещения, отличающийся тем, что, с целью повышения надежности и долго3 вечности узла путем расширения диапазона регулирования натяга, он снабжен неподвижно закрепленным на валу кронштейном с пазом, а на наружной поверхности нажимного кольца выполнены радиальные выступы, входящие в паз кронштейна, причем грузики выполнены в виде Г-образных рычагов, смонтированных в пазу кронщтейна с возможностью поворота и взаимодействия меньщими плечами с нажимным кольцом, при этом нажимное кольцо имеет возможность взаимодействия с торцами роликов роликоподшипника задней опоры. 2. Узел по п. 1, отличающийся тем, что механизм регулирования предварительного натяга роликоподшипника снабжен дополнительным грузиком, подпружиненным относительно большего плеча Г-образного рычага, и диском, смонтированным на валу с возможностью осевого перемещения и взаимодействующим с дополнительным грузиком . Ф1лг.

Описание

[1]

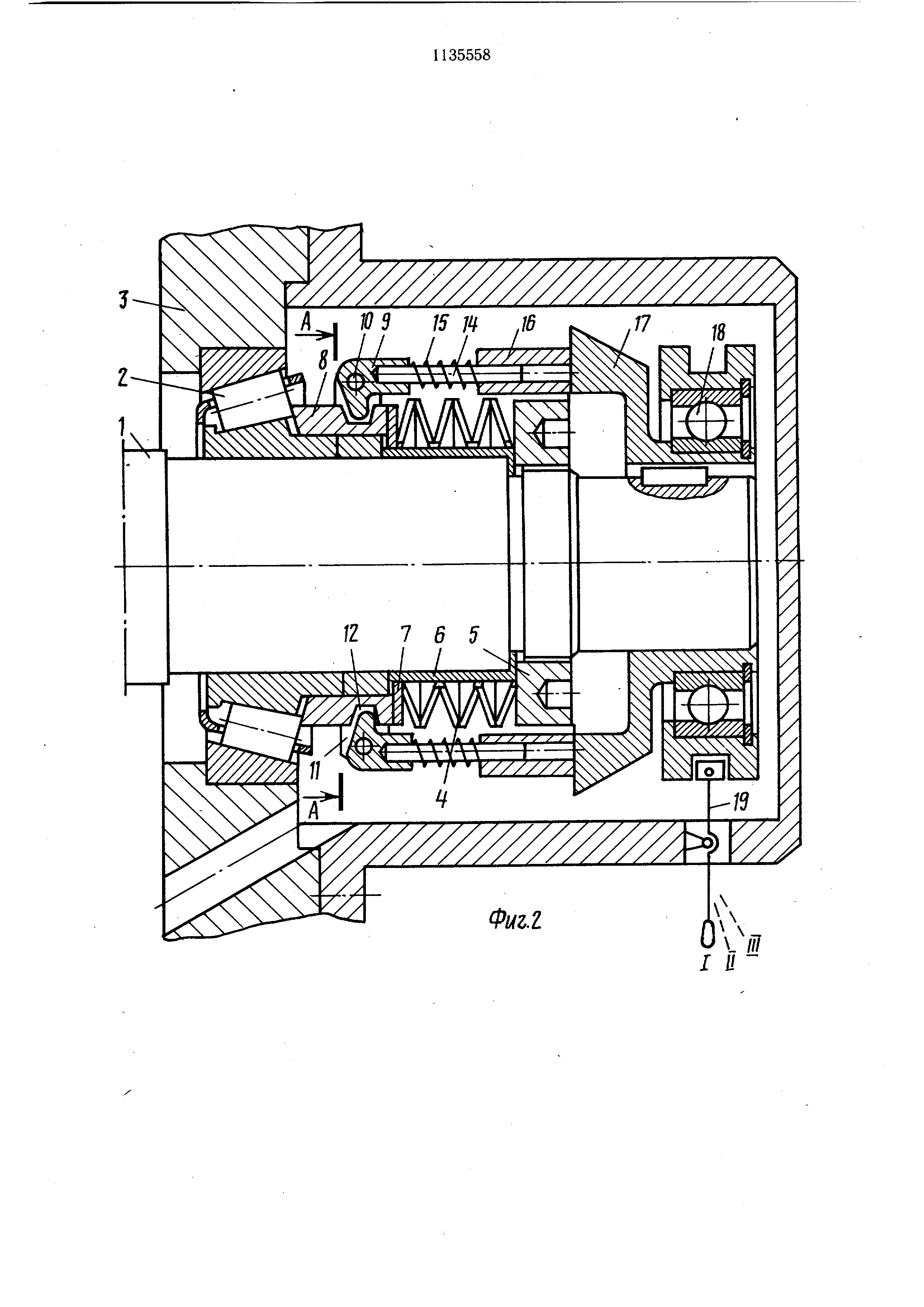
Изобретение относится к станкостроению. Известен шпиндельный узел металлорежущего станка, содержащий вал, установленный в корпусе на опорах, выполненных в виде конических роликоподшипников, и размешенные в задней опоре механизм создания и механизм регулирования предварительного натяга роликоподшипника за счет центробежных сил, снабженный грузиками и нажимным кольцом, смонтированным на валу с возможностью осевого перемещения L. Недостатком известного шпиндельного узла является относительно узкий диапазон регулирования натяга, что отрицательно сказывается на надежности и долговечности узла. Цель изобретения - повышение надежности и долговечности узла путем расширения диапазона регулирования натяга. Цель достигается тем, что шпиндельный узел металлорежущего станка, содержащий вал, установленный в корпусе на опорах, выполненных в виде конических роликоподшипников , и размешенные в задней опоре механизм создания предварительного натяга роликоподшипника и механизм его регулирования за счет центробежных сил, снабженный грузиками и нажимным кольцом, смонтированным на валу с возможностью осевого перемещения, снабжен неподвижно закрепленным на валу кронщтейном с пазом, а на наружной поверхности нажимного кольца выполнены радиальные выступы, входящие в паз кронштейна, причем грузики выполнены в виде Т-образных рычагов, смонтированных в пазу кронштейна с возможностью поворота и взаимодействия меньшими плечами с нажимным кольцом, при этом нажимное кольцо имеет возможность взаимодействия с торцами роликов роликоподшипника задней опоры.. Кроме того, механизм регулирования предварительного натяга снабжен дополнительным грузиком, подпружиненным относительно большего плеча Г-образного рычага, и диском, смонтированным на валу с возможностью осевого перемещения и взаимодействующим с дополнительным грузиком . На фиг. 1 изображен щпиндельный узел металлорежущего станка; на фиг. 2 - задняя опора с механизмом регулирования натяга; на фиг. 3 - сечение А-А на фиг. 2. Шпиндельный узел металлорежущего станка содержит вал 1 шпинделя, установленный на конических роликоподщипниках 2 в корпусе 3, и механизм создания предварительного натяга, содержащий набор тарельчатых пружин 4, гайку 5, проставочное кольцо 6 и шайбу 7, а также механизм регулирования натяга, содержащий прижимное кольцо 8, грузики 9 регулятора натяга, выполненные в виде двуплечих Г-образных рычагов, установленных на осях 10 с возможностью поворота в кронштейне 11, закрепленном неподвижно на валу 1 шпинделя. Большие плечи рычагов расположены параллельно оси вала, а меньшие введены в радиальные пазы 12, выполненные на наружной поверхности торцовых выступов нажимного кольца 8, входящих в паз 13 кронщтейна. Большое плечо двуплечего рычага может быть выполнено составным и содержать цилиндрическую направляющую 14, установленную на ней пружину 15 и дополнительный грузик 16 с возможностью осевого перемещения. Дополнительный грузик упирается в нажимной диск 17, устано .вленныи подвижно на валу шпинделя и соединенный через подшипник 18 с рычагом 19 переключения диапазонов натяга, Число грузиков-рычагов должно быть четным , а количество рычагов зависит от габаритов опоры. Шпиндельный узел работает следующим образом. С помощью тарельчатых пружин 4 и гайки 5 создается максимальный предварительный натяг, величина которого определяется длиной проставочного кольца 6. Сила натяга передается через прижимное кольцо 8 на торць роликов подщипника 2. При вращении вала 1 массивные плечи. Г-образного рычага 9 за счет центробежных сил начинают поворачиваться вокруг оси 10 и своим меньшим плечом, входящим в паз 12 нажимного кольца 8, смещают это кольцо, сжимая тарельчатые пружины, уменьшая тем самым натяг подшипника при увеличении частоты вращения шпинделя. Чтобы расщирить диапазон регулирования натяга, на больших плечах рычага устанавливают подвижные массивные дополнительные грузики 16. Рычагом 19 выбирается необходимый диапазон натяга (I, II, III - положения, которые соответствуют легкому, среднему, тяжелому режимам работы станка ), при этом через подшипник 18 нажимной диск 17 смещается в нужное положение и устанавливает дополнительные грузики 16 в нужное положение, изменяя тем самым соотношение плеч рычага, за счет которого изменяется диапазон регулирования. Применение предлагаемого шпиндельного узла позволяет расширить диапазон регулирования натяга подщипников. М 16 5

[2]

Фиг.

[3]

9

Как компенсировать расходы
на инновационную разработку
Похожие патенты