1. УСТРОЙСТВО ПРОГРАММНОГО
УПРАВЛЕНИЯ ДОЖДЕВАЛЬНОЙ МАШИНОЙ КРУГОВОГО ДЕЙСТВИЯ, включающее регулятор скорости машины, связанный с краном-задатчиком скорости ведущей тележки с гидроприводом и клапаном-распределителем
, отличающееся тем, что, с целью повышения качества полива, устройство снабжено кольцом с дисками Дч д - -7 --fe-7 и упорами, установленными на неподвижной опоре машины, и трубкой гидроуправления
краном-задатчиком скорости, а регулятор скорости выполнен в виде параллельно включенных регулируемых вентилей и гидравлических
переключателей, штоки которых установлены с возможностью взаимодействия с упорами на диске, причем между переключателями
и краном-задатчиком на трубке управления установлены последовательно соединенные дождемер, гидроаккумулятор с поплавковым обратным клапаном и мембранный
привод с регулируемой пружиной, при этом привод кинематически связан через зубчатую передачу с краном-задатчиком. 2. Устройство по п. 1, отличающееся тем, что клапан-распределитель имеет вторую
I управляемую золотником полость, соединенную с одной стороны со сливом, а с другой- с гидроаккумулятором. 7/ СО о ю
Изобретение относится к сельскому хозяйству и может быть использовано при
орошении широкозахватными многоопорными дождевальными машинами кругового действия. Известно устройство управления концевой тележкой многоопорной дождевальной
машины, содержашее гидропривод тележки с клапаном-регулятором, установленным
на заданную постоянную скорость движения машины 1 . Недостатком устройства является отсутствие программного управления скоростью
дождевальной машины (ДМ) в зависимости от конкретных условий - рельефа местности, почвенных условий и др.
Известно также устройство программного управления дождевальной машиной кругового
действия, включаюш,ее регулятор скорости машины, связанный с краном-задатчиком
скорости ведушей тележки с гидроприводом и клапаном-распределителем 2. Недостатком известного устройства является низкое качество полива и регулирования
из-за отсутствия непрерывного моделирования расхода воды с учетом рельефа
и других условий совместно с осадками дождемера , а также отсутствия пошагового контроля
баланса накопленной воды. Целью изобретения является повышение качества полива. Эта цель достигается тем, что устройство снабжено кольцом с дисками и упорами,
установленными на неподвижной опоре машины , и трубкой гидроуправления краномзадатчиком
скорости, а регулятор скорости выполнен в виде параллельно включенных
регулируемых вентилей и гидравлических переключателей, штоки которых установлены
с возможностью взаимодействия с упорами на диске, причем между переключателями
и краном-задатчиком на трубке управления установлены последовательно соединенные
дождемер, гидроаккумулятор с поплавковым обратным клапаном и мембранный привод
с регулируемой пружиной, при этом привод кинематически связан через зубчатую передачу
с краном-задатчиком. Кроме этого, клапан-распределитель имеет
вторую управляемую золотником полость, соединенную с одной стороны со сливом,
а с другой - с гидроаккумулятором. На фиг. 1 показано устройство программного
управления дождевальной машиной, например «Фрегат, при пошаговом регулировании
скорости ДМ; на фиг. 2 - вариант исполнения гидравлического аккумулятора
для реализации старт-стопного режима управления скорости движения ДМ. На неподвижной опоре 1 дождевальной машины установлено кольцо 2, на котором
по диаметру в любом месте на линии, соответствующей участкам орошаемого поля. крепится кронштейн 3 с закрепленными на нем дисками на два фиксированных положения
с упорами 4, которые установлены напротив соответствующих штоков параллельно
включенных гидравлических.переключателей 5, на выходе которых установлены
регулировочные вентили 6. Выходы вентилей 6 соединены параллельно и через гидравлический
канал связи - трубку управления 7, проложенную по подвижному трубопроводу
8 ДМ, - соединены с гидравлическим аккумулятором 9, в верхней части
которого установлен поплавковый обратный клапан 10 и дождемер 11. Нижняя часть
гидравлического аккумулятора 9 расширена и представляет собой мембранный привод 12,
в котором установлены мембрана 13, пружина 14, направляющие втулки с регулировочной
гайкой 15. Мембранный привод устанавливается на ведущей тележке ДМ при помощи крепления 16. К нижней части гидравлического аккумулятора 9 подключен гидравлический канал
17, соединенный через клапан-распределитель 18 гидроцилиндра 19 со сливом
воды. Мембрана 13 через крепящую пластину со штоком 20 соединена с краном-задатчиком
21 скорости движения, вход которого соединен гидравлической линией с подвижным
трубопроводом 8, а выход соединен с клапаном-распределителем 18. На регулирующей
оси крана-задатчика 21 скорости движения закреплено зубчатое колесо 22,
в зоне движения которого находится привод колеса дождевальной машины, например,
толкатель 23 привода рабочего колеса ДМ. На толкателе 23 закреплена пластина 24 с двумя пальцами 25, установленными сверху и снизу зубчатого колеса 22 в зоне его перемешения. Кольцо 2, кронштейн 3 с закрепленными на нем дисками с упорами 4 являются программным
задатчиком скорости дождевальной машины. Количество кронштейнов 3 и количество
закрепленных на них дисков и упоров определяется соответственно количеством участков
поля и количеством норм полива, а также необходимостью управления концевым
дождевальным аппаратом. При этом усилие вывода дисков из фиксированного положения
должно быть больше усилия, необходимого для переключения гидравлического переключателя 5, что позволяет при движении трубопровода ДМ 8 сначала переключить
переключатели 5, а затем при одном из крайних положений штока переключателя
5 силой перемешения трубопровода 8 вывести диск из фиксированного положения и при последующем движении трубопровода 8 вокруг неподвижной опоры 1 перевести
диск с упорами 4 в другое фиксированное положение. Регулирующие вентили б установлены для регулировки на месте расхода каждого из переключателей 5 в соответствии
с обозначенной для них нормой полива ДМ (скоростью движения). В качестве гидравлического
канала связи 7 используется существующая на ДМ типа «Фрегат трубка для переключения концевого дождевального
аппарата. Гидравлический аккумулятор содержит верхнюю часть высотой более 1 м с малой
площадью и с накопительной емкостью в месте установки клапана 10, и нижнюю часть
с соотнощением площадей верхней и нижней части более 1/100, что позволяет преобразовать
статический напор столба верхней части в давление воды на мембрану 13,
достаточное для перемещения пружины 14 в крайнее нижнее (сжатое) положение.
Втулка при помощи гайки 15 может перемещаться относительно крепления 16 и изменять
регулировочные параметры пружины 14, которые выбираются такими, чтобы давление
столба воды обеспечило перемещение щтока 20 в крайнее нижнее положение. Мембрана
13, пружина 14, втулка с регулирующей гайкой 15 и креплением 16 образуют
мембранный привод. Количество зубцов колеса 22 выбирается более 30, что обеспечивает
дискретность регулирования расхода воды (скорости ДМ) через кран-задатчик
в пределах менее 5% на один зубец. Профиль зубцов колеса 22 должен обеспечивать
его сцепление с пальцами 25 при перемещении щтока 20 в крайнее верхнее
и нижнее положение. Пластина 24 выбирается такого сечения, чтобы обеспечивалась
прочность всей конструкции при передаче усилия от толкателя ДМ 23 через пальцы 25
на зубчатое колесо 22 привода крана-задатчика 21. Клапан-распределитель 18 выполнен с
тремя проходами для переключения работы j-идроцилиндра 19 в соответствии с его положением
и для выполнения добавочной функции - обеспечения синхронного со скоростью
движения ДМ слива воды из аккумулятора 9 через гидравлический канал 17 и клапан-распределитель 18. Использование обратного клапана 10 улучщает динамические характеристики мембранного
привода крана-задатчика скорости ДМ, так как при закрытии клапана 10 давление
воды из гидравлической линии связи 7 отжимает мембрану 13 и мембрана перемещается
совместными силами пьезометрического столба воды аккумулятора 9 и дйвления воды из трубки 7. Старт-стопный режим работы гидроцилиндра ДМ обеспечивается полным открытием
и закрытием крана-задатчика скорости при каждом щаге ДМ. Устройство управления
ДМ в таком варианте исполнения должно содержать программное устройство 26. гидравлическую линию связи 27, привод 28 клапана-задатчика 29 скорости ДМ, клапанраспределитель
30 ДМ и вентиль 31 (фиг. 2). Устройство работает следующим образом, Пусть на орощаемом свекловичном поле
в аридной зоне требуется осуществить секторный (по участкам поля) чередующийся
полив: днем - освежительной нормой 200 , ночью - увлажнительной нормой 1000 с последующим чередованием
О участков так, чтобы в результате полива колебания уровня влажности всего поля
были минимальными. Перед работой устройство настраивается
на ровном месте вентилем 6, гайкой 15 и 5 краном-задатчиком 21 на соответствие нормы
полива для каждого из переключателей 5. Норму полива каждого участка поля, например
15-ти участков, задают установкой по линии границы этих участков кронщтейна 3
с двумя дисками с упорами 4, установлен0 ными напротив гидравлических переключателей
5, например верхнего в положении «Включить норму полива 200 , а нижнего
- «Включить норму полива 1000 . После включения ДМ в работу и при ее 5 движении подвижный трубопровод ДМ 8 подходит к очередному участку и штоки
переключателей 5 взаимодействуют с упорами 4, при этом включается верхний переключатель
и отключается нижний переключатель . При последующем движении ДМ 0 верхний диск с упорами 4 устанавливается в положение «Отключить норму полива
200 , а нижний диск с упорами 4 устанавливается в фиксированное положение
«Включить норму полива 1000 . Это позволяет через круг работы ДМ автоматически
сменить норму полива этого участка с 200 до 1000 . Смоделированная вентилем 6 норма полива расходом воды по гидравлическому каналу связи 7 поступает в верхнюю часть гидравлического аккумулятора 9 и сливается
по гидроканалу 17 синхронно с перемещением гидроцилиндра 19 при нерабочем ходе
через клапан-распределитель 18. Если заданная скорость не соответствует скорости ДМ, например норма полива была 1000м /га, а необходимо установить 200 , то уровень
воды в аккумуляторе 9 повыщается до закрытия обратного клапана 10, вода
накапливается в накопительной емкости, давление статического напора столба воды
отжимает пружину 14 с мембраной 13 и она под действием веса столба воды перемещается
в крайнее нижнее положение до зацепления зубчатого колеса 22 с нижним пальцем
25, и при очередном движении толкателя 23 на щаговое перемещение колеса ДМ
толкатель 23 переместит зубчатое колесо на соответствующее число (например, 20)
делений, что соответствует изменению положения крана-задатчика 21 на 40%. Затем
при обратном ходе гидроцилиндра 19 открывается клапан-распределитель 18, и вода
из аккумулятора 9 сливается через гидроканал 17. По мере слива воды мембрана 13
силой пружины 14 отжимается, так как давление слитого столба воды в гидроаккумуляторе
9 уменьшилось. Колесо 22 выходит из зацепления с пальцем 25 и при обратном
ходе толкателя 23 не происходит его зацепления , с пальцем 25. Такой цикл перевода крана-задатчика на новую скорость будет повторяться до тех
пор (20 шагов ДМ), пока смоделированный программой работы расход воды через
гидроаккумулятор будет выполняться и уровень воды в гидроаккумуляторе 9 не будет
достигать обратного клапана 10. При этом зубчатое колесо 22 займет промежуточное
положение между верхним и нижним пальцами 25 и регулирование положения краназадатчика
21 прекратится. Если теперь по метеоусловиям уменьшилась испаряемость
с дождевой струи ДМ на 5%, то уменьшается поступление воды в гидроаккумулятор 9
от дождемера 11. При этом средний уровень столба воды в гидроаккумуляторе 9 уменьшается
настолько, что пружина 14 отжимает мембрану 13 в крайнее верхнее положение,
что обеспечивает зацепление зубчатого колеса 22 с верхним пальцем 25 на 1 зубец.
Теперь при очередном ходе гидроцилиндра 19 толкатель 23 переместит зубчатое колесо
22 на увеличение нормы полива на 2%, и при последуюших шагах ДМ регулирование
положения крана-задатчика 21 будет продолжаться до тех пор, пока колебание
столба воды в гидроаккумуляторе 9 не будет в заданных при его регулировке пределах. Аналогичным образом осуществляется изменение скорости ДМ и при ее движении
по уклону или при изменении сопротивления перекатыванию ДМ, так как эти изменения
изменяют время движения гидроцилиндра 19 и нарушают заданный баланс воды в гидроаккумуляторе
9. Таким образом, благодаря непрерывной обратной связи и контролю нормы полива
осуществляется пошаговая регулировка нормы полива простыми гидравлическими
устройствами, обеспечивается стабилизация расхода воды ДМ над полем и программный полив участков поля.
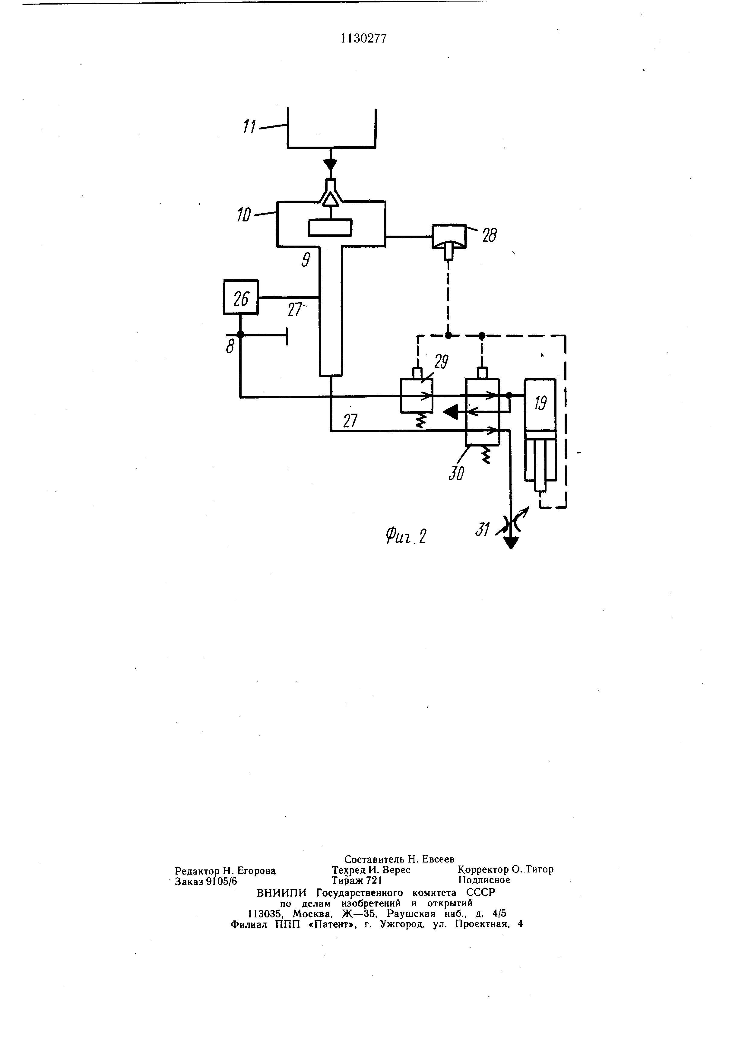
Старт-стопный режим работы ДМ согласно фиг. 2 обеспечивается аналогично работе
устройства по фиг. 1: после задания нормы полива программным устройством 26
смоделированная норма полива поступает по гидроканалу связи 27 в гидравлический
аккумулятор 9 и сливается совместно с осадками дождемера 11 через гидроканал 27,
клапан-распределитель 30 и вентиль 31. Особенностью работы устройства по фиг. 2
является его срабатывание на каждом шаге ДМ, т. е. заполнение аккумулятора 9, срабатывание
привода 28 и открытие клапанараспределителя 30. Это позволяет регулировать
время начала открытия крана-задатчика 30 в соответствии с программой полива
и динамикой поступления воды от дождемера 11. Устройство в этом варианте четко,
отрабатывает любую . программу полива и имеет простую конструкцию. Выполнение описанных операций обеспечивает автоматическое управление работой
машины для программного обеспечения заданной нормы полива на гидравлическом
принципе без использования посторонних источников энергии. Технико-экономическая эффективность использования устройства заключается в технической
реализации программного полива всего орошаемого поля, в увеличении равномерности
полива, в оптимизации режима влажности почвы и в возможности повышения
урожайности до . Годоврй экономический эффект составляет около 17 руб./га. -i /; w28 26 27 Ill Т w /T Ju 31 иг.2