, Bud e „ J4I J533 tfS 29 риг. 5
Изобретение относится к сельскбму
хозяйству и предназначено для сор тирования семян по плотности. Известна установка непрерывного действия для сортирования семян по плотности, содержащая сортировальную
камеру, заполненную жидкостью и представляющую собой два кожуха со шнеками , соединенных между собой щелью,
иколеблющиеся решетчатые лотки lj Недостатком этой установки является то, что сортируемые в ней семена
загружаются на поверхность жидкости только в одном ограниченном месте сортировальной, камеры. Всплывшие
, легкие семена (легкая фракция) от места загрузки отводится и выгружа ется из камеры шнеком. Однако при
скорости перемещения зерна свыше 5 см/с качество разделения ухудшается , так как быстрое вращение шкека
вызывает завихрение жидкости .{турбулентное движение), под влиянием которого легкие семена затягиваются
вниз, подхватываются нижним шнекоми выносятся в тяжелую фракцию, а зерна
тяжелой фракции, наоборот, не-успевают осесть вниз и подхватываются верхййм
шнеком. -Чтобы подать следующую порцию семян, необходимо время, в течение
которого семена,предыдущей порции рассортируштся и будут удалены легки
всплывшие семена, или подавать малое количество семян. В противном случае
всплывшие легкие семена предыдущей порции будут увлечены тяжелыми семенами (тяжелая фракция) последующих
порций, а тяжелые, в свою очередь, задержатся, всплывшими - легкими семенами
, т.е. количество подаваемых семян ограничено самим процессом сортирования, происходящим, в основном
, в месте их загрузки. Все это. снижает производительность и качество сортирования. Известна также установка для сортирования семян по плотности, содержащая
заполненную жидкостью сортировальную камеру с расположенным над ней загрузочным устройством, сплавной
желоб семян легкой фракции и тру бопровод семян тяжелой фракции, соединенный с нижней частью камеры 2.
Недостаток известного устройства заключается в неравномерности распределения
семян по площади поверхности жидкости, что не обеспечивает эф-, фективность разделения при достаточно
высокой производительности работы Цель изобретения - повышение производительности
и эффективности сортирования . Цель достигается тем, что установка
снабжена размещенным внутри камеры вертикальным вращающимся трубопрО
водом и распределителем семян, причем загрузочное устройство и сплавной
желоб смонтированы на вертикальном трубопроводе, а распределитель закреплен
на загрузочном устройстве и выполнен в виде блока разделенных между собой ПРОДОЛЬНЫМИ перегородками
лотков со скошенными сбросными кромками, при этом ширина каждого лотка
пропорциональна расстоянию от с .оси вертикального трубопровода .до сбросной кромки лотка. Кроме того, установка снабжена смонтированным на вращающемся трубопроводе
и расположенным после распределителя по направлению вращения этого трубопровода гидропогружателем
, выполненные в виде трубы с продольной щелью. Загрузочное устройство
содер1кит смеситель для смачивания и смешивания семян жидкостью, выполненный
в виде, цилиндра с оросительной трубой, полость которой.сообщена с полостью гидропогружателя. Попереч .ное сечение сплавного желоба выполнено
увеличивающимся в направлении к:: вертикальному трубопроводу, а перед
.няя по направлению вращения этого трубопровода стенка желоба установлена
ниже задней. Сбр.осные кромки лотков распределителя снабжены отражателями,
выполненными а виде вертикальных пластин. Камера снабжена успокоителями жидкости. Площадь поверхности жидкости, на которую в течение единицы времени загружаются сортируемые семена и с
которой собираются всплывшие семена, определяется из зависимости S 5 П , м /ч, где S - площадь- поверхности жидкости , на которую загружаются -г - сортируемые семена,
-S - площадь поверхности жидкости в камере, м, И. - скорость вращения трубопровода
, об./ч. Таким образом-, вращающийся трубопровод дает возможность искусственно
увеличить поверхность жидкости сортировальной камеры в h раз, тем самым
увеличивается зона загрузки сортируемых семян, так как они загружаются
по всей поверхности жидкости сортировальной камеры, что cnocojffcTвует повышению производительности
установки. Повышению качества сортирования содействует то, чтосемен.а постоянно
загружаются на чистую поверхность жидкости, так как всплывшие семена непрерывно удаляются сплавным жёлЬбом
и сортиоование .семян происхрдит в неподвижной жидкости как наиболее благоприятной Среде для их точного
сортирования по плотности, а также : то, что гидропогружатель повторно, после распределителя, погружает в
жидкость всплывшие семена. Это спосо ствует дополнительному выделению ,
доброкачественных тяжелых семян,, .задержанных всплывающими легкими семенами .
Успокоители на корпусе сортировал ной камеры необходимы для предотвращения
вращательного движения жидкрсти в ней. . Смачивание и смешивание семян t
жидкостью в смесителе необходимо потому , что, во-первых, семена по распределителюЧранспортируются
жидкость во-вторых, смоченная поверхность семян не препятствует погружению их
в жидкость, что гарантирует хорошее качество сортирования. Отражатели необходимы для изменения
направления движения гидросмеси перемещающейся по лоткам распределителя
на вертикальное, чтобы обеспечить оптимальные условия входа смеси в жидкость.
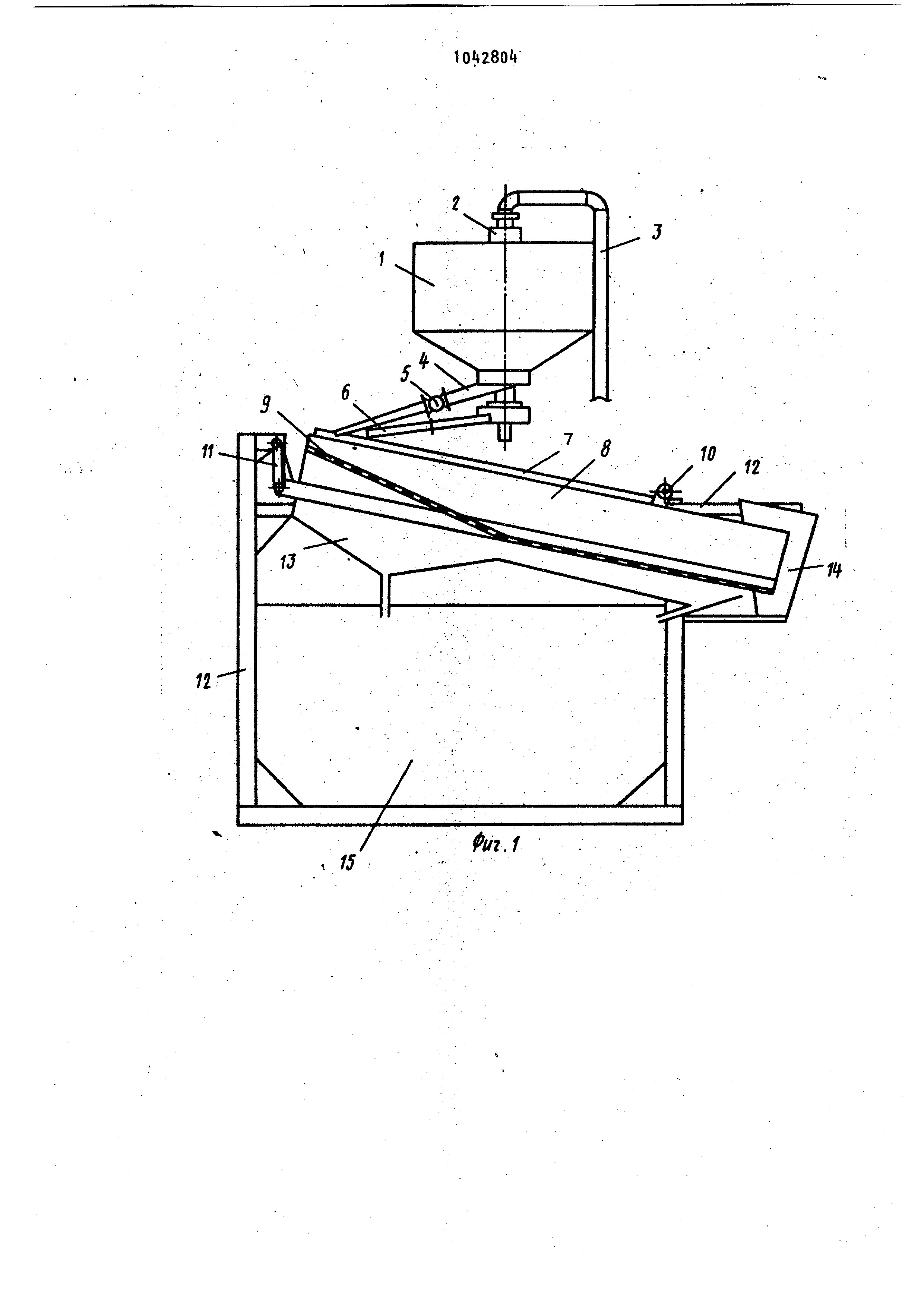
На фиг. 1 изображена установка, вид c6oKyi на фиг. 2 - сортировальная камера, вертикальный разрез/
на фиг. 3 - разрез А -А на фиг, 2 на фиг. - вид Б на фиг. 3j на фиг. 5 - разрез В-В на фиг. 3.
Установка содержит сортировальную камеру 1 с загрузочным устройством
2, трубопровод 3 для подачи ЖИДКОСТИ трубопровод j с краном 5 Для отвода
тяжёлой фракции семян, патрубок б для отвода легкой фракции семян,
параллельно установленные колеблющиеся лотки 7 и 8 с решетчатыми днищами 9, коленчатый вал , подвески
11, раму 12, сборник 13 для жидкости зернопроводы , бак 15 для жидкости На конусном днище сортировальной
камеры 1 с помощью кронштейнов 16 укреплены подшипники 17 и 18 централ ного вращающегося трубопровода 19, на верхнем конце которого расположено
загрузочное устройство 2, включающее загрузочную воронку 20, смеситель
21 с отверстием 22 и днищем 23, ороситель с переходной муфтой 25. Ороситель 2k укреплен на днище 23 и
соединен с гидропогружателем 26 семян . К днищу 23 и смесителю 21 герметично
прикреплен корпус 27 дозатора 28. На днище 23 и корпусе 27 установлен распределитель 29 с отражателями
30 и делителями 31. Ниже уровня жидкости 32 в стенке трубопровода 19 выполнено отверстие 33, к кромкам .
которого прикреплен сплавной желоб З легкой фракции семян, его передняя
стенка 35 расположена ниже уровня жидкости 32, а задняя стенка Зб - выше .
На нижнем конце подшипника 17 укреплен сборник 37 легкой фракции
семян, в котором находится втулочнопальцевая муфта с увеличенным монтажным
зазором, состоящая из двух полумуфт 38-39 и пальцев 40. Полумуфта
38 жестко закреплена на конце трубопровода 19, и полумуфта 39 - на приводном
валу I. Подшипник 17 герметично соединен со сборником 42 тяжелой
фракции семян. На стенке корпуса, сортировальной камеры жестко закреплены
успокоители 3, верхняя кромка которых расположена ниже днища желоба 3.
Распределитель 29 имеет четыре . лотка со скошенными кромками. Лотки
разделены между собой перегородками kS, а средняя длина каждого лотка kk пропорциональна его ширине.
Дозатор 28 имеет отверстия 46, соответствующие лоткам 4. Гидропогружатель
26 установлен после распределите ля 29 по направлению вращения трубопровода 19.
Установка работает следующим образом.. Из трубопровода 3 через ороситель
24 и гидропогружатель 26 заполняют жидкостью сортирювальную камеру 1
до определенного уровня 32, причем жидкость подают непрерывно в течение
всего периода работы установки. Затем одновременно запускают в работу
коленчатый вал 10 колеблющихся лотков 7-8 и привЬдной вал 1 трубопровода
19, вращение на который от приводноо вала 41 передается через полумуфу 39 пальцы АО и полумуфту 38.
месте с трубопроводом 19 приводят$1 ся в движение загрузочное устройство 2, распределитель 29, сплавной желоб 3 и гидропогружатель 26.
Семена, подлежащие сортированию, непрерывно подаются через загрузочную воронку 20 в смеситель 21, куда
одновременно с семенами через ороситель 2 подается жидкость. Здесь семена по ходу поступления и продвижения
по смесителю 21 смачиваются этой жидкостью и непрерывно перемешиваются с ней, Получаемая гидросмесв через
отверстие 22 и дозатор 28 в определен ном количестве поступает в лотки ,
по которым направляется в соответствующую зону а,b , с, , е поверхности
сортировальной камеры 1 (фиг. З). В конце распределителя 29 потоки гидросмеси
в лотках разделяются с помощью делителей 31 йа более мелкие потоки.
При стекании с распределителя 29 направление движения гидросмеси под действием отражателей. 30 изменяет
ся на вертикальное по отношению к поверхности жидкости в сортировальной камере 1. Гидросмесь стекает по
отражателям 30 и входит в жидкость сортировальной камеры, где семена
рассортировываются на тяжелые (тяжелая фракция, плотность которых боль
ше плотности этой жидкости, они тонут и на легкие - всплывшие (лёгкая 1
фракция), плотность которых меньше плотности жидкости. Тяжелая фракция семян под действием
силы -тяжести в сортировальной камере 1 попадает в сборник k2, откуда по
трубопроводу k через кран 5 вместе с жидкостью поступает на колеблющийся 4 лоток 7- Легкая фракция повторно погружается в жидкость поддействием
потока жидкости, выходящего из гидропогружателя 26. После вторичного всплытия легкие
семена вместе со слоем жидкости, в котором они находятся, собираются сплавным желобом 3, поступая в него
черезпереднюю стенку 35 и через отверстие 33, смесь семян с жидкостью
направляется в полость трубопровода 19 по которому она через увеличенный
монтажный зазор между полумуфтами 38 и 39 поступает в сборник 37,
otкуда по патрубку 6 стекает на колеблющийся лоток 8. Свободная жидкость
проходит сквозь решетчатые днища 9 колеблющихся лотков 7 и 8 в сборник
13 и поступает в бак 15 для жидкости. Капельная жидкость под действием
энергичных встряхиваний семян отделяется от них й также поступает в сборник 43. Продвигаясь по лоткам
7 -8, семена поступают в зернопроводы Н, которые направляют их на дальнейшую обработку.
Таким образом, в течение всего периода работы установки сортируемые
семена распределителем 29, движущимся за сплавным желобом 3 равномерно загружаются на поверхность
жидкости, освобожденную от легких семян . Количество жидкости, поступающей
в сортировальную камеру и вытекающей из нее вместе с обеими фракциями семян, сбалансировано.
Данное изобретение обеспечивает повышение производительности и повышение качества сортирования. 2S 45 ffit1 ( A-A