УСТРОЙСТВО ДЛЯ КРЕПЛЕНИЯ ПОЛКИ ЭЛЕВАТОРНОГО СТЕЛЛАЖА К ГРУЗОНЕСУЩЕЙ ЦЕПИ, содержащее
рычаг с разрезной головкой, охватывающей
палец цепи и имеющей выполненный по,всей ее длине паз, и контактирующий с пазом головки запорный элемент, выполненный
в виде полукольца, отличающееся тем, что,с целью повыщения удобства эксплуатации
и надежности, головка рычага выполнена в виде плоского полукольца, паз на
одной из плоскостей полукольца головки, а полукольцо запорного элемента - с выступом ,- расположенным по всей длине полукольца
и имеющим форму, соответствующую форме паза, и хвостовиком, прикрепленным к рычагу. (Л to со со сд
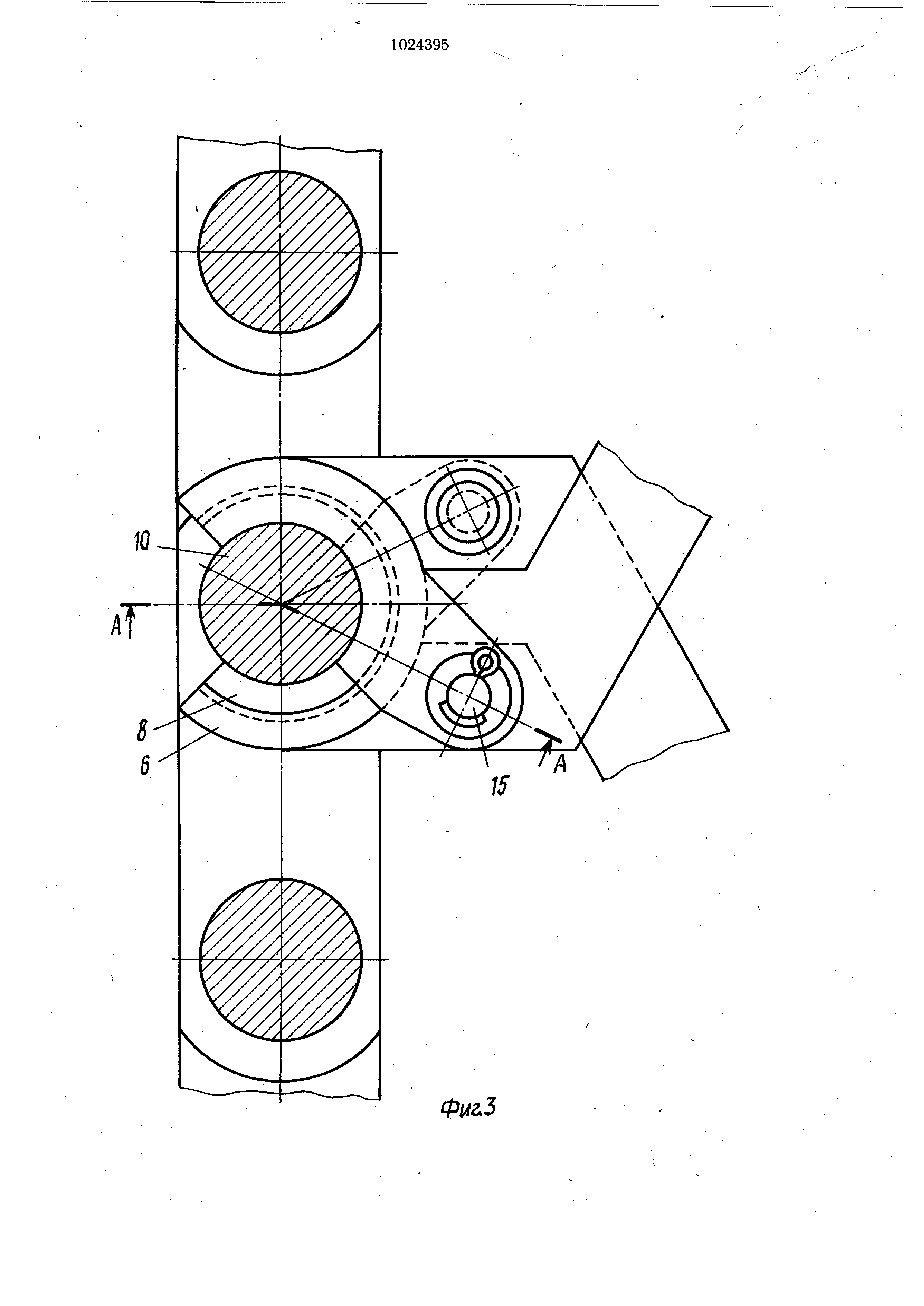
Фиг.2 10
Изобретение относится к оборудованию
складов, в . частности к устройствам для крепления полки элеваторного стеллажа к грузонесущей цепи. Известно устройство для крепления полки элеваторного стеллажа к грузонесущей
цепи, содержащее рычаг с разрезной головкой , охватывающей палец депи 1. Известное устройство недостаточно надежно в эксплуатации, поскольку возможен
выход пальца цепи из прорези рычага. Известно также устройство для крепления
полки элеваторного стеллажа к грузонесущей цепи, содержащее рычаг с разрезной
головкой, охватывающей палец цепи и имеющей выполненный по всей ее длине
паз, и контактирующий с пазом головки запорный элемент, выполенный в виде полукольца 2. Известное устройство не обеспечивает его надежность, так как при малейщих перекосах
рычагов происходит выдавливание запорного элемента при прохождении цепи
по звездочке. Кроме того, осложнена сборка грузового конвейера тем, что утопленный
запорный элемент очень сложно перемещать по кольцевому пазу, а также нетехнологичен
процесс штифтования, так как приходится выбивать фиксирующие щтифты на подвешенной
цепи. При извлечении фиксирующих щтифтов отверстия распрессовываются, и
для повторного штифтования необходимо менять диаметры щтифтов, т. е. это устройство
неудобно в эксплуатации. Целью изобретения является повышение
удобства эксплуатации и надежности. Эта цель достигается тем, что в устройстве
для креплейия полки элеваторного стеллажа к грузонесущей цепи, содержащем
рычаг с разрезной головкой, охватывающей палец цепК и имеющей выполненный по всей
ее длине паз, и контактирующий с пазом головки запорнь1Й элемент, выполненный
в виде полукольца, головка рычага выполнена в виде плоского полукольца, паз выполнен
на одной из плоскостей полукольца головки , а полукольцо запорного элемента
выполнено с выступом, расположенным по всей длине полукольца и имеющим форму,
соответствующую форме паза, и хвостовиком , прикрепленным к рычагу. На фиг. 1 показан грузовой конвейер, общий вид; на фиг. 2 - то же, с закрепленными
на нем рычагами с подвесками; на фиг. 3 - элемент цепи; на фиг. 4 -
сечение А-А на фиг. 3; на фиг. 5 - положение запорного элемента при надевании
рычага на цепь; на фиг. 6 - то же, в за .крытом состоянии (рычаг надет на цепь). Грузовой конвейер полочного элеваторного стеллажа состоит из грузонесущих
цепей 1, огибающих звездочки 2. На цепях 1 закреплены полки 3, посредством устройства,
содержащего рычаги 4, которые имеют две головки 5 и 6. Головкой 5 рычаги 4 попарно
связаны между собой и полкой 3 через пальцы 7 полки 3. Головкой 6 рычаги связаны
попарно между собой и с цепью 1. Головка 6 выполнена в виде плоского полукольца
и имеет на плоскости направляющий кольцевой паз 8. На теле рычага 4 выполнено
отверстие 9. Рычаг 4 головкой 6 надет на палец 10 цепи 1. В направляющий паз 8
головки 6 входит выступ 11 запорного элемента 12, выполненного в виде плоского
полукольца. Запорный элемент имеет хвостовик 13.с отверстием 14 для осуществления
поворота его и фиксации на рычаге 4 пальцем 15 со шплинтом 16 в отверстии 9. На г звездочках 2 выполнены двухступенчатые вырезы 17 и 18 для обеспечения прохода
через звездочки головок 6 рычагов 4 с запорными элементами 12. В.ырезы 17 и 18
расположены на звездочках с шагом, равный шагу крепления полок. 0 Сборка грузового конвейера, а именно навеска полок на цепь, производится следующим образом. Попарно рычаги 4 головками 5 надеваются на пальцы 7 полки 3. В направляющий
радиальный паз 8 разрезной головки 6 заводится направляющий выступ 11 запорного
элемента 12. Запорный элемент хвостовиком 13 поворачивается вокруг своей оси
и по головке 6 рычага 4 до полного совмещения полукольца головки б рычага 4 Q и запорного элемента 12 (фиг. 5). При этом зев рычага 4 открыт на 180°
затем рычаг 4 открытым зевом заводится на палец 10 цепи 1. Запорный элемент 12
хвостовиком 13 поворачивается относительно головки 6 рычага 4 на 90°, при этом
выступ 11 запорного элемента 12 скользит по пазу 8 головки 6, отверстия 9 и 14 совмещаются
и фиксируются пальцем 15 со шплинтом 16 (фиг. 6). Зев головки рычага 4
уменьшается до 90°. Участок взаимодейст0 ВИЯ паза 8 и выступа 11 в запертом положении
рычага составляет сектор с углом 90°, что обеспечивает надежное удержание рычага
4 на пальце 10 цепи 1. На звездочках 2 выполнены вырезы
ступенчатой формы, которые обеспечивают при огибании цепью звездочки проход головки 6
рычагов 4 и выступов 11 запорных элементов 12, с помощью которых рычаги 4 закреплены
на цепи 1. Боковь е поверхности вырезов 17 и 18 звездочки 2 и направляющие
выступы 11 не допускают произвольного перемещения рычагов вдоль оси цепи. Разборка осуществляется в обратном порядке. Изобретение позволяет повысить
удобство эксплуатации, так как упрощается процесс сборки тем, что разрезная головка выполнена
в виде полукольца с направляющим пазом на внешней торцевой части, хорошо визуально наблюдаемой и имеющей свободный подход для введения направляющего
выступа запорного элемента. Выполнение головки в виде полукольца уменьшает длину
соприкосновения направляющего паза и выступа, уменьщая тем самым вероятность
заедания выступа в пазу. Кроме того, наличие на запорном элементе хвостовика,
являющегося одновременно упором для пере мещения запорного элемента, позволяет
без затруднений производить поворот и фиксацию последнего. Кроме того, позволяет
повысить надежность соединения рычага с цепью благодаря соединению запорного
элемента с головкой рычага, выполненных в виде выступа - впадины с жесткой фиксацией
пальцем, а также повысить долговечуость и надежность звездочек тем, что
расположение запорного элемента на торце рычага позволяет максимально сохранить
толщину зуба звездочки, а следовательно, и прочностные характеристики.