заявка
№ SU 1017255
МПК A23B4/04

Термокамера для обработки колбасных изделий

Авторы:
КАРПОВ ВИКТОР ВИКТОРОВИЧ КУЗНЕЦОВ АНАТОЛИЙ СТЕПАНОВИЧ КУКУРА НИНА АФИНОГЕНОВНА
Все (6)
Номер заявки
3318836
Дата подачи заявки
21.07.1981
Опубликовано
15.05.1983
Страна
SU
Как управлять
интеллектуальной собственностью
Чертежи 
2
Реферат

[14]

Описание

[1]

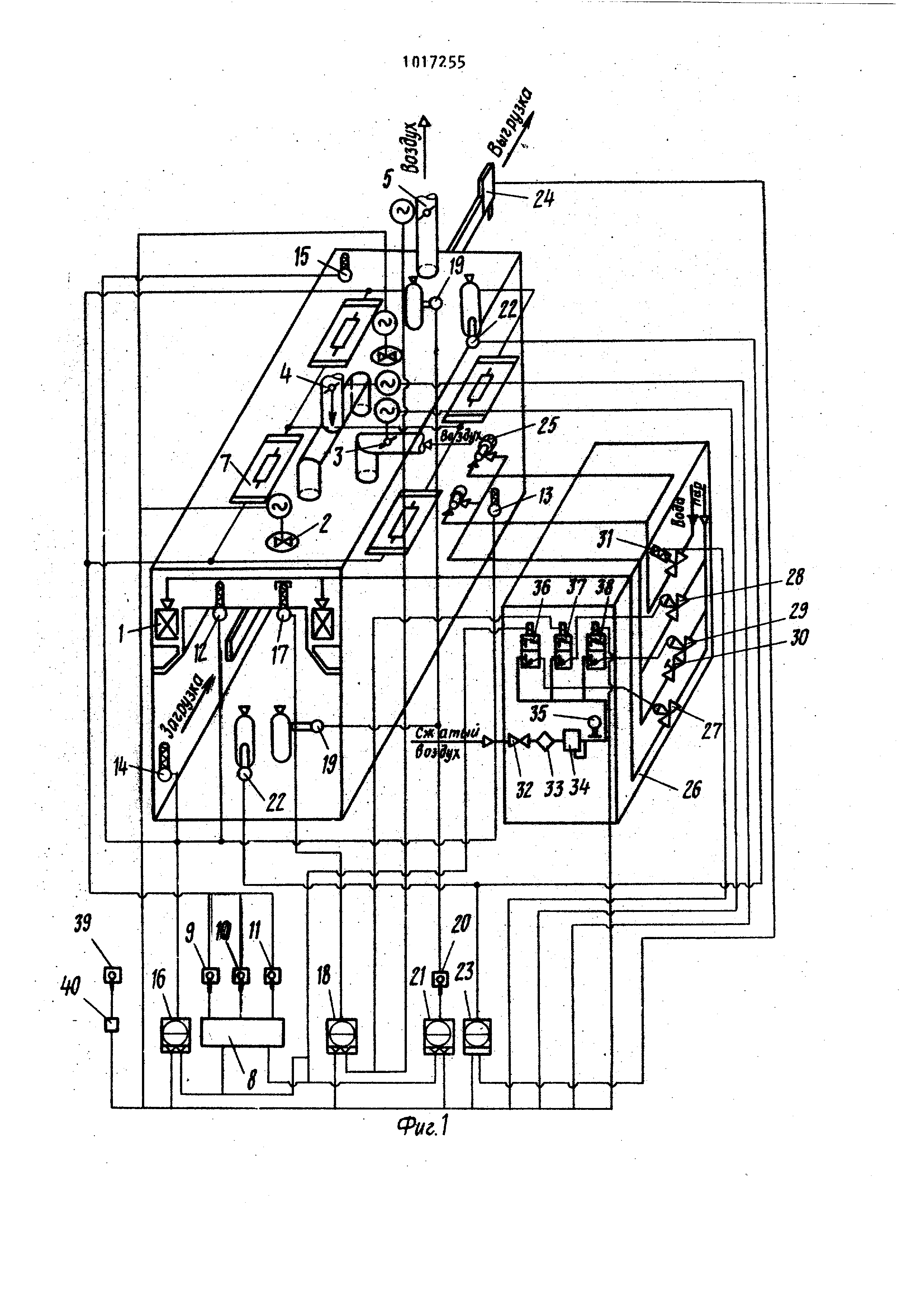
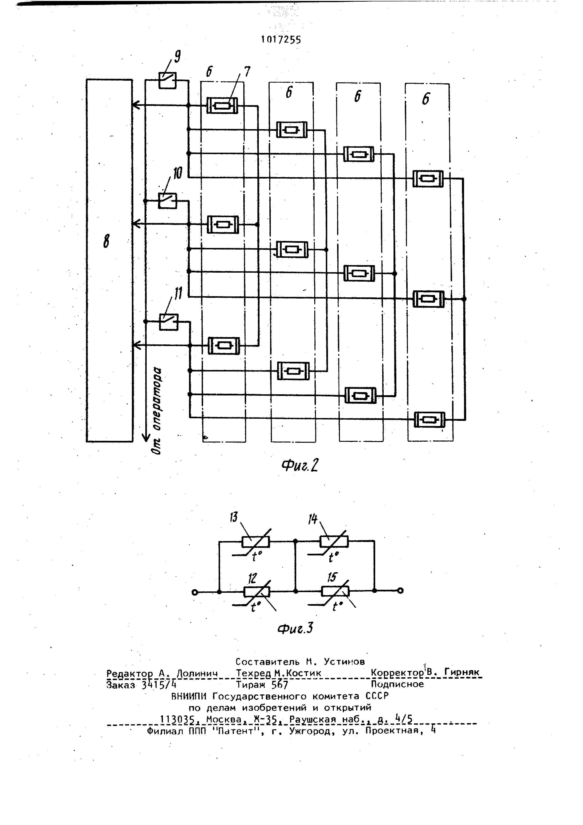
11 Изобретение относится к термокамерам для обработки колбасных изделий и момет быть использовано в мясной промышленности, npeMMymectaeHHo для выработки вареных колбас. Известна термокамера для обработки колбасных изделий, содержащая паровые калориферы 13 Недостаток этого устройства аак/вочается в его низкой производительности . Наиболее близка к предлагаемой термокамера для обработки колбасных изделий, содержащая паровые калориферы , систему автоматического управления с программно-управляющим устройством и термометрами для измерения температуры среды и в центре изделия , а также рамы для колбасных изделий , размеьченные на полосовом пути p.J. Недостатки этой термокамеры заклочаются в ее низкой производительности и значительных потерях массы изделий при обработке. Цель изобретения - повышение производительности и сокращение потерь .: массы изделий. Цель достигается тем, что термокамера для обработки колбасных изделий, содержащая паровые калориферы, систему автоматического управления с программно-управляющим устройством и термометрами для измерения температуры среды и в центре изделия, а также рамы для колбасных изделий, размещенные на полосовом пути, дополнительно снаб жена электрическими калориферами, термометрами для измерения температуры поверхности изделий и стопором для рам, размещенным на полосовом пути, при этом термометры для измерения тем пературы среды соединены между собой по мостовой схеме и разме1цены в места загрузки и выгрузки рам, на входе и выходе теплоносителя в камеру, термометры для измерения температуры поверхности изделий соединены посредством программно-управляющего устройства с электрическими калориферами, а термометр для измерения температуры в центре изделия - со стопором. На фиг. 1 представлена функциональ ная схема автоматизации термокамеры; на фиг. 2 - электрическая структурная схема управления электрическими калориферами; на фиг. 3 - электрическая схема подключения четырех термометров сопротивления, измеряющих температуру среды. 5 Термокамера для обработки колбасных изделий содержит паровые калориферы 1, два циркуляционных вентилятора 2, ис полнительные механизмы подачи воздуха 3, дыма 4 и выброса смеси 5. Под паровыми калориферами 1 установлены электрические представляющие четыре батареи 6 трубчатых электронагревателей 7, размещенных по две батареи с левой и правой сторон термокамеры . Каждая батарея состоит из нескольких трубчатых электронагревателей, разделенных электрически, например, на три группы, включаемые программно-управляющим устройствбм 8 или посредством индивидуальных к/иочей управления $, 10 и 11. Четыре термометра сопротивления 1215 размещены соответственно в местах загрузки и выгрузки рам на входе и вы-, ходе теплоносителя, объединены в параллельные пары, соединенные между собой пocлeдoвateльнo и подключены к электронному мосту l6(-tc - температура в термокамере, измеренная сухими термометрами 12-15). Относительная влажность в термокамере поддерживается контуром регулирования температуры по мокрому термометру 17 связанному с электронным мостом 1vS(-t/w - температура в термокамере , измеренная мокрым термометром ) .. Для измерения температуре поверхности батона -k служат два термометра 19 устанавливаемые под оболочку . Термометры 19 взаимозаменяемы , их подключение осуществляется переключателем 20, соединенным с С электронным потенциометром 21. Термометр 22, контролирующий температуру в центре батона ;у,-электрически связан с электронным потенциометром 23 и электромагнитным стопором 2k, В термокамере устанавливаются два дублирующих термометра 22. Термометры, измеряющие температуры -tj, iu, устанавливаются соответственно однм в наиболее прогреваемых батонах, внизу рам, а другие - в наименее прогреваемых, вверху. Термокамера снабжена двумя форсунками 25 для водяного, охлаждения и увлажнения воздуха. В парораспределительном шкафу 26 установлен пневматический клапан 27 подачи пара в калориферы, а также пневматические клапаны 28 и 29 для подачи пара в форсунки, причем после пневматического клапана 29 установлен редукционный клапан-30. Кроме того, в парораспределительном шкафу смонтирован соленоидный вентиль 31 подачи воды в форсунки 25.

[2]

В узел воздухоподготовки для подучи сжатого воздуха к пневматичес|ким клапанам входит вентиль 32, фильтр 33, стабилизатор 3 манометр 35 и три электропневматимеских преобразователя 36, 37 и 38, соединенных импульсными трубками соответственно с пневматическими клапанами .

[3]

Предварительно до пуска термокамера прогревается до НО-150С при помо«(и включения паровых калориферов 1 и батарей 6 электр-онагревателей 7 и после этого в термокамеру загружают рамы с сырыми колбасами .

[4]

Работа тер 4ркамеры в автоматическом режиме осуществляется следующим образом.

[5]

Включается перек/йочатель 39 и нажимается кнопка in пуска системы автоматического управления.

[6]

Ггодсушка осуществляется при 140-150 С, относительной влажности не более 3-5 и завершается по времени, причем температура на поверхности колбасных, изделий достигает 65-70 С.

[7]

Затем подается в термокамеру дым и производится обжарка при той же температуре среды (fiO-l50 0 до достижения на поверхности батона предельной температуры. для колбас в белкозиновои оболочке и 90 С для колбас в целлофановой оболочке.

[8]

При подсушке и обжарке включаются паровые калориферы 1 и батареи 6 электронагревателей 7, причем последние включаются группами в завис ,МОСТИ от вида изделий, вида и диаметра оболочки и в соответствии с программой управляющего устройства. Кроме того, на второй стадии обжарки в термокамеру подается острый пар для увлажнения воздуха. При этом на поверхности изделий (термометр t) поддерживается предельная температура и заданная относительная влажность.

[9]

Процесс обжарки заканчивается при достижении температуры в центре батона {термометр 22).

[10]

После этого отключается подача дыма и повыи ается относительная влажность воздуха до 90±3 для осуществления процесса варки. Контроль влажности осуществляется по разности показаний сухих 12-15 и мокрого 17 Термометров. При варке поддерживается предельная температура на поверхности батона 82-90 С в зависимости от оболочки до достижения температуры в центре батона 7.°С.:

[11]

В процессе термической обработки колбасных изделий температура среды измеряется четырьмя термометрами сопротивления 12-15 которые соединены между собой по мостовой схеме что дает возможность фиксировать усредненную величину в условиях вариации температуры в различных точках термокамеры в зависимости от загрузки продуйсции , вида и диаметра оболочки, плотности навески и подачи теплоносителя . Кроме того, повышается точность регулирования температуры среды.

[12]

Использование предлагаемой/термокамеры позволяет сократить время термообработки на 30, т.е. увеличить ее производительность и уменьшить потери массы колбасных изделий в среднем на 1,5-2%. Расчетный экономический эффектсоставляет ЗбООО р. в год.

[13]

л

Как компенсировать расходы
на инновационную разработку
Похожие патенты