заявка
№ SU 1000526
МПК E04B1/38

Узел соединения стойки фахверка с нижним поясом фермы

Авторы:
ЦЕЛИК РОСТИСЛАВ ИВАНОВИЧ
Номер заявки
3343115
Дата подачи заявки
06.10.1981
Опубликовано
28.02.1983
Страна
SU
Как управлять
интеллектуальной собственностью
Чертежи 
1
Реферат

[16]

Формула изобретения

Описание

[1]

Изобретение относится к строительству и может быть использовано в промышленных зданиях преимущественно для соединения стоек торцового и продольного фахверков с нижними поясами ферм кро.вли.

[2]

Известен узел соединения стойки торцового фахверка своим верхним концом к нижнему поясу стропильной ферма , включанхций листовой шарнир,, образуемый двумя гибами плоского листа, прикрепленный к стойке фахверка и к поясу фермы 1 .

[3]

Недостаток указанного устройства низкая несущая способность к внешним нагрузкам, обусловленная образованием значительного прогиба при -работе фермы под нагрузкой.

[4]

Наиболее близким к предлагаемому является узел соединения стойки фгисферка с нижним поясом фермы, включающий составную соединительную деталь, элементы которой прикреплены к ферме и стойке 2 .

[5]

Недостатками известного устройст- ва являются недостаточные надежность и несущая способность всего узла, технологичность заводского изготовления и монтажа..

[6]

Цель изобретения - упрощение конструкции узла с одновременным повышением его прочности и надежности.

[7]

Поставленная цель достигается тем, что в узле соединения стойки фахверка с нижним поясом , включающем составную соединительную деталь, элементы которой прикреплены к ферме и стойке, один из элементов соедини10 тельной детали выполнен в виде двух горизонтальных листов, один из.которых прикреплен к нижнему поясу фермы, а другой вьтолнен со сквозными отверстиями и прикреплен к стойке фахвер15 ка, кроме трго, другой элемент соединительной детали выполнен в виде двух шертикальных листов,, прикреплейных к одному из горизонтальных листов и пропущенных через отверстия в другом.

[8]

20

[9]

Один из элементов составной соедй; .нительной детали выполнен из Двутавра.

[10]

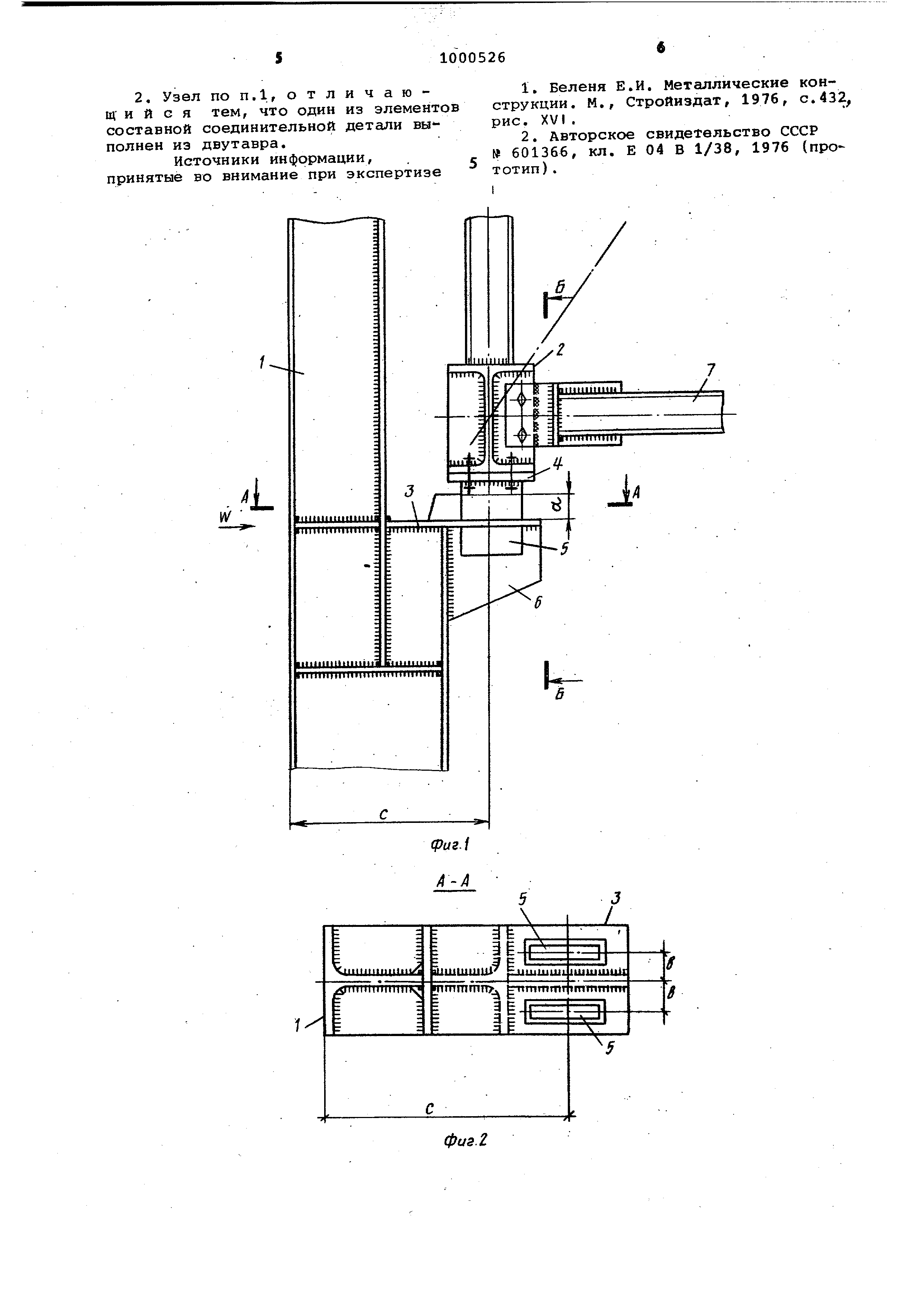
На фигЛ показан узел крепления (вариант 1-й), вертикальный разрез, на фиг.2 - разрез А-А на.фиг.1 (вид

[11]

25 на горизонтальную плоскость листа оголовка стойки фахверка/ на фиг.З разрез Б-Б на фйг.1 (вид сбоку); на фиг.4. крепления (вариант 2-й), вертикальный разрез/ на фиг.5 - раз

[12]

30 рез В-В на фиг.4. Узел соединения стойки с фермой (фиг.1) выполнен разъемным и состоит из стойки фахверка 1, нижнего пояса фермц 2, составной соединительной де тали, состоящей из горизонтального листа 3 с прямоугольными отверстиями . приваренного к стойке фахверка, гори зонтального листа 4 с отверстиями по болты, прикрепленного к нижнему поясу фермы, и двух вертикальных листов 5, приваренных на определенном расстоянии b от оси к горизонтальному листу 3 и пропущенных через отверстия в листе 4 (фиг.З). Нижний пояс фермл выполняют из ши рокополочных двутавров. Горизонтальный лист 3 оголовка стойки фахверка имеет развитие, снабжен ребром жесткости 6 и прикрывает всю нижнюю поверхность полки двутавра нижнего поя са. Стойка фахверка принята из двутавра прокатного профиля. Составная соединительная деталь предусмотрена сварной и состоит из двух вертикальных и двух горизонталь ных листов, причем вертикальные лист 5 своими торцами привариваются на оп ределенном расстоянии друг от друга Горизонтальный лист 4 имеет отверстия на своей поверхности для крепления болтами к полкам двутавра пояса , в которых тоже выполнены отверстия под болты. Горизонтальный лист 3 оголовка стойки фахверка в плане имеет два от верстия для пропуска в них вертикал ны5с листов 5 соединительной детали. Составная соединительная деталь , перед монтажем стойки фахверка 1 устанавливается своими вертикальными лист-ами 5 в отверстия листа 3 оголо ка стойки фахверка, и после июнтажа стойки фахверка 1 болтами крепятся поясу фермы 2. Стойка фахверка и ферма соединяются друг с другом шар нирно посредством соединительной де тали. Прогиб фермы не затруднен и не влияет на положение стойки фахверка Нагрузка на кровлю воспринимается только фермой. Ветровая нагрузка с фахверка пер дается листом оголовка через отверс тия на вертикальные листы, которь е тут же в узле фермы переедают их на диск горизонтальных связей здания, располагаемый при .рамной конструкци здания на уровне нижних поясов ферм кровли. Узел соединения (фиг.1) служит для крепления стойки фахверка при действии силы W Ют. Размер с - это расстояние от гра ни стойки фахверка до оси фермы, обычно оно равно 500 мм. Размер b - это расстояние от ос вертикальных листов соединительного элемента до оси сечения стойки фахверка , размер а должен иметь значение , равное полному прогибу в месте расположения стойки фахверка плюс 50-80 мм дополнительно. Это необходимо , для удержания стойки фахверка в процессе монтажа, когда величина прогиба ферь/ы постепенно нарастает , а при действии всех нагрузок На кровлю достигает своего наибольшего значения и потом приобретает знакопеременные значения при работе ферм здания от внешних нагрузок. i , Узел соединения (фиг.4) служит для крепления стойки фахверка при действии силы 10 т, в соединительной детали использована деталь из двутавра 5. При этом лист 3 оголовка стойки фахверка имеет одно отверстие и крепится к стойке фахверка 1 двумя ребрами. Двутавр 5 соединительной детали сваркой крепится к горизонтальному листу 4. Лист 4 соединительной детали имеет отверстия под установочные болты, которыми эта деталь притягивается к поясу фермы. Монтаж соединительной детали узла (фиг.4) аналогичен описанному монтажу узла (фиг.1). В предлагаемой конструкции узла создан идеальный шарнир, что соответствует конструктивной и расчетной схемам взаимного опирания стойки фахверка и фермы кровли. Конструкция предлагаемого узла может быть применена для крепления стоек конструкций различного назначения и сечения к несущим конструкциям внутри помещений промышленных зданий и сооружений. Узел надежен в работе и прост при монтаже и эксплуатации. Формула изобретения 1. Узел соединения стойки фахверка с нижним поясрм фермы, включающий составную соединительную деталь, элементы которой прикреплены к ферме и стойке, отличающийся тем, что, с целью упрощения конструкции узла с одновременным повышением его прочности и надежности, один из элементов соединительной детали выполнен в виде двух горизонтальных листов, один из которых прикреплен к нижнему поясу фермы, а другой выполнен со сквозными отверстиями и прикреплен к стойке фахверка, кроме того , другой элемент соединительной детё1ли выполнен в виде двух вертикальных листов, прикрепленных к одному из горизонтальных листов и пропущенных через отверстия в другом. 1 v r, г, 1 гл Т п И u Я ю щ Ни Тя один из элементов составной соединительной детали выполней из двутавра. Источники информации Источники информации, . принятые во внимание при экспертизе 1. Беленя Е.И. Металлические конструкции . М., Стройиздат, 1976, с.432, 2/Азорское свидетельство СССР № 601366, кл. Е 04 В 1/38, 1976 (про и...тотип ).

[13]

.L

[14]

л/

[15]

Как компенсировать расходы
на инновационную разработку
Похожие патенты