патент
№ RU 96760
МПК A61F5/37

УСТРОЙСТВО ДЛЯ ЛЕЧЕНИЯ ВРОЖДЕННОЙ КОСОЛАПОСТИ У ДЕТЕЙ

Авторы:
Крохалев Владимир Юрьевич
Номер заявки
2010100229/22
Дата подачи заявки
11.01.2010
Опубликовано
20.08.2010
Страна
RU
Как управлять
интеллектуальной собственностью
Чертежи 
3
Реферат

1. Устройство для лечения врожденной косолапости у детей, содержащее подстопники с элементами фиксации стопы, связанные с элементом регулировки положения переднего отдела стопы относительно пятки, при этом элементы фиксации стопы выполнены в виде пары кожаных ортопедических ботиночек с язычком и с открытым носком, снабженных тремя фиксирующими ремешками, прикрепленными с медиальной стороны ботиночек, и пряжками с латеральной стороны, оба подстопника выполнены в виде соразмерных с подошвой ботиночек металлических пластин, прикрепленных со стороны пятки каждый к своей металлической планке с возможностью установления между подстопником и планкой углов 40-45° и 70-75° для возможного изменения положения в горизонтальной плоскости для обеспечения отведения стопы на 40-45° и 70-75°, и отверстие под передней частью стопы ботиночка для съемного крепления его с помощью элемента для обеспечения возможности отстегивания и пристегивания к подстопнику ботиночка, каждая из планок со стороны ботиночка заканчивается круглой площадкой, изогнутой кверху относительно планки под углом 10-15° для обеспечения тыльного сгибания стопы на 10-15° и выполненной с элементом для крепления к ней подстопника, при этом длинной стороной планки соединены между собой с образованием общей распорки с возможностью ее раздвижения, отличающееся тем, что планки выполнены металлическими, каждая из планок имеет по длине ряд отверстий, планки жестко соединены между собой внахлест с помощью нескольких винтов с возможностью скрепления их между собой на разном расстоянии, круглая площадка каждой планки также имеет несколько отверстий по диаметральной п

Формула изобретения

1. Устройство для лечения врожденной косолапости у детей, содержащее подстопники с элементами фиксации стопы, связанные с элементом регулировки положения переднего отдела стопы относительно пятки, при этом элементы фиксации стопы выполнены в виде пары кожаных ортопедических ботиночек с язычком и с открытым носком, снабженных тремя фиксирующими ремешками, прикрепленными с медиальной стороны ботиночек, и пряжками с латеральной стороны, оба подстопника выполнены в виде соразмерных с подошвой ботиночек металлических пластин, прикрепленных со стороны пятки каждый к своей металлической планке с возможностью установления между подстопником и планкой углов 40-45° и 70-75° для возможного изменения положения в горизонтальной плоскости для обеспечения отведения стопы на 40-45° и 70-75°, и отверстие под передней частью стопы ботиночка для съемного крепления его с помощью элемента для обеспечения возможности отстегивания и пристегивания к подстопнику ботиночка, каждая из планок со стороны ботиночка заканчивается круглой площадкой, изогнутой кверху относительно планки под углом 10-15° для обеспечения тыльного сгибания стопы на 10-15° и выполненной с элементом для крепления к ней подстопника, при этом длинной стороной планки соединены между собой с образованием общей распорки с возможностью ее раздвижения, отличающееся тем, что планки выполнены металлическими, каждая из планок имеет по длине ряд отверстий, планки жестко соединены между собой внахлест с помощью нескольких винтов с возможностью скрепления их между собой на разном расстоянии, круглая площадка каждой планки также имеет несколько отверстий по диаметральной прямой для обеспечения жесткого соединения с помощью винтов планки с подстопником с возможностью установления между подстопником и планкой дополнительного угла 50-55° для возможного изменения положения в горизонтальной плоскости для обеспечения отведения стопы дополнительно на 50-55°.

2. Устройство по п.1, отличающееся тем, что элемент разъемного крепления ботиночка к подстопнику выполнен в виде подпружиненной изнутри кнопки, устанавливаемой в отверстии, выполненном в подстопнике, для присоединения которого к подошве ботиночка в последнюю ввернута с помощью винтов узкая металлическая пластина с двумя разнесенными по ее длине лопатообразными отверстиями для фиксации в них головок винтов, вворачиваемых со стороны подошвы в подстопник.

2. Устройство по п.1, отличающееся тем, что элемент разъемного крепления ботиночка к подстопнику выполнен в виде закрепленных с помощью винтов на подстопнике двух расположенных по его краям перпендикулярно к его продольной оси -образных скоб для фиксации в них ботиночка, при этом каждая из скоб состоит из двух направленных встречно друг к друг полускоб, имеющих в незагнутой части продольный разрез для соединения их между собой с помощью винта.

Описание

[1]

Полезная модель относится к медицине и может найти применение в травматологии и ортопедии.

[2]

Известна коррегирующая шина для лечения врожденной косолапости у детей, описанная в одноименном а с. СССР №404473 по кл. A61F 5/01, з. 09.08.1971 г., оп. 22.10.1973. г.

[3]

Известная шина содержит тяги, изготовленные из эластичного материала и снабженные манжетами, выполненными по форме пятки переднего отдела стопы и дистального отрезка бедра. С одной стороны тяги прикреплены к манжете, надеваемой на бедро и закрепляемой шнуровкой, с другой - к манжетам пятки.

[4]

Недостаток известной коррегирующей шины заключается в ее недостаточной эффективности из-за того, что не обеспечивается дозированная и автономная коррекция суставов стопы при лечении косолапости.

[5]

Известна ортопедическая обувь для лечения косолапости, описанная в п. РФ №2021791 по кл. A61F 5/14, з. 04.07.91, оп. 30.10.94.

[6]

Известная обувь содержит подошву с прикрепленным к ней верхом с элементами крепления, коррегирующий и фиксирующий ремни с креплениями, с латеральной стороны верха расположены прорези под коррегирующий и фиксирующий ремни, при этом верх снабжен жестким элементом фигурной формы, коррегирующий ремень закреплен к затяжной кромке верха с латеральной стороны в области опоры плюсне-фалангового сустава, а фиксирующий ремень связан с затяжной кромкой верха с медиальной стороны в области максимальной ширины пяточной части, при этом место крепления обоих ремней расположено на медиальной стороне верха обуви.

[7]

Недостатком известной обуви является то, что она не всегда эффективна и предназначена для уже ходящих детей.

[8]

Известен аппарат для эквинусных стоп, описанный в а.с. СССР №164321 по кл. A61F 5/00, з. 01.12.88, оп. 15.04.91.

[9]

Известный аппарат состоит из деревянной или текстолитовой пластины 1, на которой заклепочными соединениями прикреплены опоры 2 и уголок 3. На стержень, находящийся в опорах 2 крепятся стойки 5, которые фиксируются винтом и соединены с уголками 3 пружинами 6, позволяющими поворачиваться при помощи шарниров 7 пластине 1 в пределах 40-60° вперед и назад. В стойки 5 резьбовым соединением также входят шпильки 8, на которые надеваются металлические пластины 9, фиксирующие аппарат к спинке ортопедической кровати с помощью прижимных гаек 10. На пластине 1 заклепочными соединениями крепятся подстопники с ремешками 11, фиксирующими передний отдел стоп.

[10]

Работа на аппарате проводится в положении лежа. Больной ставит стопы в подстопники, фиксирует ремешками передние отделы стоп. Подошвенное сгибание осуществляется в пределах до 45-50°, тыльное до 20°. Пружины 6 обеспечивают возврат стоп в исходное положение 0°. Замена пружин 6 на более жесткие позволяет увеличивать нагрузку на мышечно-связанный аппарат.

[11]

Недостатком известного аппарата является его сложность и тот факт, что он предназначен для лечения взрослых людей (устранение провисания стоп).

[12]

Известно устройство для лечения деформации стоп, описанное в а.с. СССР №995780 по кл. A61F 5/00, з. 15.05.81, оп. 15.02.83.

[13]

Известное устройство содержит подстопник с элементами фиксации стопы и манжету, причем подошвенная часть подстопника имеет пазы, снабжена тросом, связанным с носочной частью и пяточной частью подстопника, и выполнена в виде секций, связанных между собой дополнительными тросами, которые установлены на различных уровнях и снабжены регулирующими подпружиненными шпильками для возможности повторения уровня верхней поверхностью подстопника неровностей. Подстопник также связан с манжетой посредством резьбовых стержней с шаровыми шарнирами, снабженными градусной сеткой для обеспечения дозированной и автономной коррекции.

[14]

Недостатком известного устройства является сложность его использования. Кроме того, его использование для грудных детей может быть затруднительным, так как трудно рассчитать и определить необходимую «дозу» коррекции для малыша и могут возникнуть осложнения, давление, мацерация; металлическая конструкция усугубляет гипотонию мышц.

[15]

Известно устройство для лечения косолапости у детей, описанное на сайте www.kosolapost.ru (2006-2009 г.- так называемые брейсы Alfa-Flex) и выбранное в качестве прототипа.

[16]

Известное устройство для лечения врожденной косолапости у детей содержит подстопники с элементами фиксации стопы, связанные с элементом регулировки положения переднего отдела стопы относительно пятки, при этом элементы фиксации стопы выполнены в виде пары кожаных ортопедических ботиночек с язычком и с открытым носком, снабженных тремя фиксирующими ремешками, прикрепленными с медиальной стороны ботиночек, и пряжками с латеральной стороны, оба подстопника выполнены в виде соразмерных с подошвой ботиночек небольших металлических пластин, имеющих под пяткой ботиночка чашеообразный выступ для шарнирного крепления со стороны пятки с помощью одного болта каждый к своей планке с возможностью установления между подстопником и планкой углов 40-45°и 70-75° для возможного изменения положения в горизонтальной плоскости для обеспечения отведения стопы на 40-45°и 70-75°, и отверстие под передней частью стопы ботиночка для съемного крепления его с помощью элемента для обеспечения возможности отстегивания и пристегивания к подстопнику ботиночка, каждая из планок со стороны ботиночка заканчивается круглой площадкой, изогнутой кверху относительно планки под углом 10-15° для обеспечения тыльного сгибания стопы на 10-15° и выполненной с выступом в виде срезанного по горизонтали конуса с цилиндрическим отверстием в центре для шарнирного крепления к ней подстопника, при этом длинной стороной планки соединены между собой встык с помощью зажима в виде накладываемой на них сверху плоской овальной скобы, охватывающей их сверху, и овальной пластины с нижней стороны планок, соединенных между собой за пределами планок тремя винтами с образованием общей распорки с возможностью ее раздвижения.

[17]

Недостаток известной конструкции заключается в следующем.

[18]

Планетарное крепление ботиночка с помощью одного болта к круглой площадке планки не является достаточно жестким, не обеспечивает надежной фиксации и может самопроизвольно сдвигаться в процессе носки. Крепление планок друг к другу встык, фиксируемое с боков планок с помощью зажима из большой овальной скобы сверху и овальной пластины снизу, не дает возможности большого растяжения планки (увеличения длины), также не очень надежно в плане жесткости и дает возможность распорке самопроизвольно сдвигаться. К тому же, планки выполнены из пластмассы, что не всегда надежно с точки зрения прочности. Схема соединений элементов устройства весьма сложна.

[19]

Задачей является повышение надежности фиксации при упрощении конструкции.

[20]

Поставленная задача решается тем, что в устройстве для лечения врожденной косолапости у детей, содержащем подстопники с элементами фиксации стопы, связанные с элементом регулировки положения переднего отдела стопы относительно пятки, при этом элементы фиксации стопы выполнены в виде пары кожаных ортопедических ботиночек с язычком и с открытым носком, снабженных тремя фиксирующими ремешками, прикрепленными с медиальной стороны ботиночек, и пряжками с латеральной стороны, оба подстопника выполнены в виде соразмерных с подошвой ботиночек металлических пластин, прикрепленных со стороны пятки каждый к своей металлической планке с возможностью установления между подстопником и планкой углов 40-45°и 70-75° для возможного изменения положения в горизонтальной плоскости для обеспечения отведения стопы на 40-45° и 70-75°, и отверстие под передней частью стопы ботиночка для съемного крепления его с помощью элемента для обеспечения возможности отстегивания и пристегивания к подстопнику ботиночка, каждая из планок со стороны ботиночка заканчивается круглой площадкой, изогнутой кверху относительно планки под углом 10-15° для обеспечения тыльного сгибания стопы на 10-15° и выполненной с элементом для крепления к ней подстопника, при этом длинной стороной планки соединены между собой с образованием общей распорки с возможностью ее раздвижения, СОГЛАСНО ПОЛЕЗНОЙ МОДЕЛИ, планки выполнены металлическими, каждая из планок имеет по длине ряд отверстий, планки жестко соединены между собой внахлест с помощью нескольких винтов с возможностью скрепления их между собой на разном расстоянии, круглая площадка каждой планки также имеет несколько отверстий по диаметральной прямой для обеспечения жесткого соединения с помощью винтов планки с подстопником с возможностью установления между подстопником и планкой дополнительного угла 50-55° для возможного изменения положения в горизонтальной плоскости для обеспечения отведения стопы дополнительно на 50-55°.

[21]

При этом элемент для обеспечения возможности отстегивания и пристегивания ботиночка к подстопнику может быть выполнен, например, в виде подпружиненной изнутри кнопки, устанавливаемой в отверстии, выполненном в подстопнике, для присоединения которого к подошве ботиночка в последнюю ввернута с помощью винтов узкая металлическая пластина с двумя разнесенными по ее длине лопатообразными отверстиями для фиксации в них головок винтов, вворачиваемых со стороны подошвы в подстопник.

[22]

Кроме того, элемент для обеспечения возможности отстегивания и пристегивания ботиночка к подстопнику может быть выполнен, например, в виде закрепленных с помощью винтов на подстопнике двух расположенных по его краям перпендикулярно к его продольной оси 췍-образных скоб для фиксации в них ботиночка, при этом каждая из скоб состоит из двух направленных встречно друг к друг полускоб, имеющих в незагнутой части продольный разрез для соединения их между собой с помощью винта.

[23]

Замена шарнирного соединения планок распорки с подстопниками на жесткое соединение их одновременно с помощью нескольких винтов при возможности задания дополнительного промежуточного положения стопы на 50-55° исключает возможность самопроизвольного сдвига ботиночка относительно планки из-за возможного ослабления крепления, что в совокупности с жестким соединением планок между собой внахлест на разном расстоянии с помощью нескольких винтов одновременно обеспечивает надежное соединение всех элементов устройства в нужном для коррекции положении. Выполнение планок металлическими также повышает надежность устройства.

[24]

Технический результат - повышение надежности фиксации при упрощении устройства.

[25]

Полезная модель обладает новизной в сравнении с прототипом, отличаясь от него наличием таких существенных признаков как выполнение планок металлическими, наличие в каждой из планок по длине ряда отверстий, жесткое соединение планок между собой внахлест с помощью нескольких винтов с возможностью скрепления их между собой на разном расстоянии, выполнение круглой площадки каждой планки также с несколькими отверстиями по диаметральной прямой для обеспечения жесткого соединения с помощью винтов планки с подстопником с возможностью установления между подстопником и планкой дополнительного угла 50-55° для возможного изменения положения в горизонтальной плоскости для обеспечения отведения стопы дополнительно на 50-55°, обеспечивающими в совокупности достижение заданного результата.

[26]

Заявляемое устройство может найти широкое применение в травматологии и ортопедии для детей раннего возраста, а потому соответствует критерию «промышленная применимость».

[27]

Полезная модель иллюстрируется чертежами, где показаны на:

[28]

- фиг.1 - вид устройства с одним снятым ботиночком и элементом крепления ботиночка к распорке, выполненным в виде пружинной кнопки;

[29]

- фиг.2 - вид устройства с одним снятым ботиночком и элементом крепления ботиночка к распорке, выполненным в виде скоб;

[30]

- фиг.3 - вид ботиночка с ремешками и пряжками.

[31]

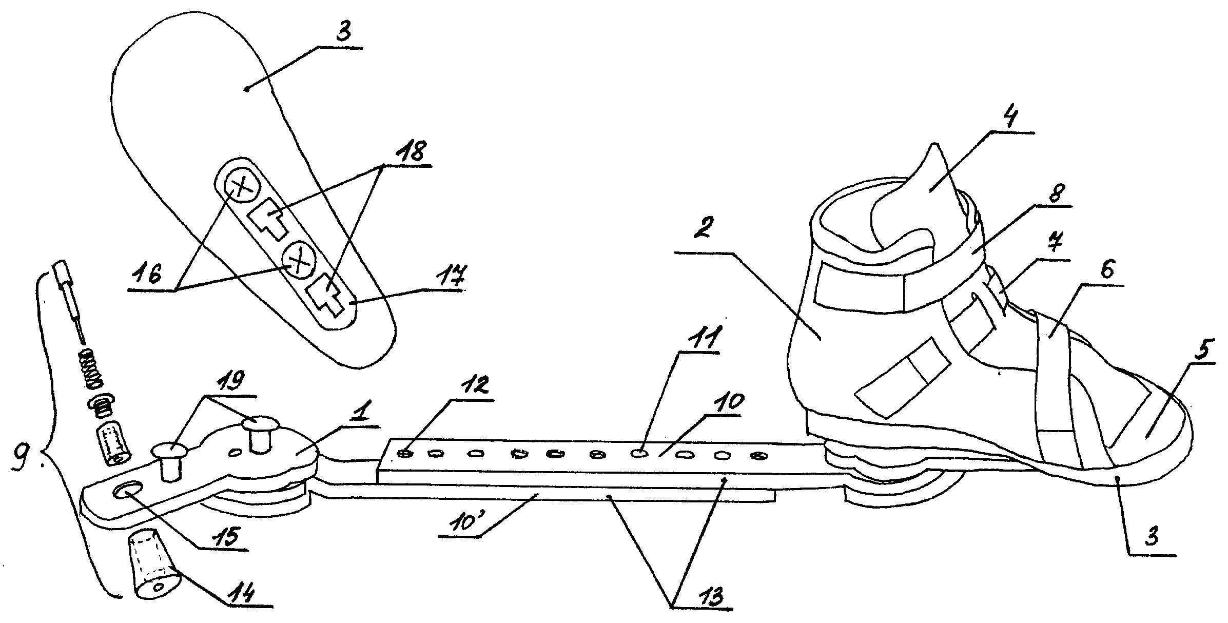
Заявляемое устройство содержит два металлических подстопника 1 и 1' с разъемно прикрепленными к ним элементами 2 и 2' фиксации стопы, которые выполнены в виде пары (правый и левый) кожаных ортопедических ботиночек с подошвой 3, язычком 4 и с открытым носком 5, снабженных тремя фиксирующими ремешками 6-8, прикрепленными с медиальной стороны ботиночек, и пряжками с латеральной стороны. Подстопники 1 и 1' выполнены в виде соразмерных с подошвой 3 ботиночек 2 металлических пластин, имеющих элементы 9 и 9' разъемного крепления их к подошвам 3 ботиночек 2. При этом подстопники 1 и 1' шарнирно прикреплены со стороны пятки каждый к одному концу своей металлической планки 10 и 10' с возможностью установления между подстопником 1 и планкой 10 углов 40°, 50°, 70° для возможного изменения положения в горизонтальной плоскости, обеспечивая отведение стопы на 40°, 50°, 70° соответственно. Каждая из планок 10 и 10' перед местом крепления ботиночка 2 изогнута вверх под углом 10-15°, обеспечивая тыльное сгибание стопы на 10-15°, и снабжена отверстиями 111-11n для скрепления винтами 121- 12n свободных концов планок 10 и 10' между собой на нужном, регулируемом количеством отверстий 11 расстоянии с образованием общей распорки 13 с возможностью ее раздвижения.

[32]

Элемент 9 крепления может быть выполнен, в частности, в виде подпружиненной изнутри кнопки 14, устанавливаемой в отверстии 15, выполненном в подстопнике 1, для присоединения которого к подошве 3 ботиночка 2 в последнюю ввернута с помощью винтов 16 узкая металлическая пластина 17 с двумя разнесенными по ее длине лопатообразными отверстиями 18 для фиксации в них головок винтов 19, вворачиваемых со стороны подошвы 3 в подстопник 2.

[33]

Элемент 9' может быть выполнен и по-другому, например, в виде закрепленных с помощью винтов 20 и 20' на подстопнике 1 двух расположенных по его краям перпендикулярно к его продольной оси 췍-образных скоб 21 и 21' для фиксации в них ботиночка 2. При этом каждая из скоб 21 состоит из двух направленных встречно друг к друг полускоб 22 и 22', имеющих в незагнутой части продольный разрез 23 для соединения их между собой с помощью винта 24.

[34]

При использовании устройства медицинский работник или родитель о с помощью элементов 9 отстегивает ботиночки 2 от подстопников 1, аккуратно надевает их на ножки ребенка и затем прикрепляет ботиночки 2 на ножках ребенка к распорке 13, регулируя при необходимости длину распорки 13 с помощью винтов 12 и отверстий 11, а также подбирает угол между подстопником 1 и планкой 10 для обеспечения нужного положения стопы.

[35]

В сравнении с прототипом заявляемое устройство более надежную фиксацию при более простой конструкции.

Как компенсировать расходы
на инновационную разработку
Похожие патенты