патент
№ RU 95452
МПК A01B45/02

РАБОЧИЙ ОРГАН ПЕШЕХОДНО-ЕЗДОВОГО АГРЕГАТА ДЛЯ АЭРАЦИИ ПОЧВЫ

Авторы:
Фесина Михаил Ильич
Правообладатель:
Номер заявки
2010111042/22
Дата подачи заявки
23.03.2010
Опубликовано
10.07.2010
Страна
RU
Как управлять
интеллектуальной собственностью
Чертежи 
4
Реферат

1. Рабочий орган пешеходно-ездового агрегата для аэрации почвы, содержащий корпус, выполненный в виде кругового пустотелого цилиндра, перфорированного сквозными отверстиями, в которых закреплены рабочие зубья и неразъемно соединенного со ступицей, снабженной приспособлением для установки рабочего органа на приводном валу, отличающийся тем, что рабочие зубья закреплены на корпусе жестко, а приспособление для установки рабочего органа на приводном валу выполнено унифицированным с креплением колеса промышленного мотоблока, например, типа «Нева», «ОКА», «Каскад». ! 2. Рабочий орган пешеходно-ездового агрегата для аэрации почвы по п.1, отличающийся тем, что отверстия перфорации на корпусе расположены в шахматном порядке. ! 3. Рабочий орган пешеходно-ездового агрегата для аэрации почвы по п.1, отличающийся тем, что рабочие зубья выполнены остроконечными и закреплены на корпусе неразъемно посредством сварки. ! 4. Рабочий орган пешеходно-ездового агрегата для аэрации почвы по п.1, отличающийся тем, что рабочие зубья в продольном сечении имеют стреловидную форму, при этом в месте сопряжения стреловидного наконечника с цилиндрической частью рабочего зуба, которой он монтируется на корпусе, выполнена галтель. ! 5. Рабочий орган пешеходно-ездового агрегата для аэрации почвы по п.4, отличающийся тем, что в отверстиях перфорации корпуса закреплены монтажные втулки, в которых съемно посредством фиксирующих приспособлений одно- или многоразового использования смонтированы рабочие зубья. ! 6. Рабочий орган пешеходно-ездового агрегата для аэрации почвы по п.1, отличающийся тем, что рабочие зубья выполнены методом литья. ! 7. Р�

Формула изобретения

1. Рабочий орган пешеходно-ездового агрегата для аэрации почвы, содержащий корпус, выполненный в виде кругового пустотелого цилиндра, перфорированного сквозными отверстиями, в которых закреплены рабочие зубья и неразъемно соединенного со ступицей, снабженной приспособлением для установки рабочего органа на приводном валу, отличающийся тем, что рабочие зубья закреплены на корпусе жестко, а приспособление для установки рабочего органа на приводном валу выполнено унифицированным с креплением колеса промышленного мотоблока, например, типа «Нева», «ОКА», «Каскад».

2. Рабочий орган пешеходно-ездового агрегата для аэрации почвы по п.1, отличающийся тем, что отверстия перфорации на корпусе расположены в шахматном порядке.

3. Рабочий орган пешеходно-ездового агрегата для аэрации почвы по п.1, отличающийся тем, что рабочие зубья выполнены остроконечными и закреплены на корпусе неразъемно посредством сварки.

4. Рабочий орган пешеходно-ездового агрегата для аэрации почвы по п.1, отличающийся тем, что рабочие зубья в продольном сечении имеют стреловидную форму, при этом в месте сопряжения стреловидного наконечника с цилиндрической частью рабочего зуба, которой он монтируется на корпусе, выполнена галтель.

5. Рабочий орган пешеходно-ездового агрегата для аэрации почвы по п.4, отличающийся тем, что в отверстиях перфорации корпуса закреплены монтажные втулки, в которых съемно посредством фиксирующих приспособлений одно- или многоразового использования смонтированы рабочие зубья.

6. Рабочий орган пешеходно-ездового агрегата для аэрации почвы по п.1, отличающийся тем, что рабочие зубья выполнены методом литья.

7. Рабочий орган пешеходно-ездового агрегата для аэрации почвы по п.1, отличающийся тем, что он закреплен на каркасе живосильного привода.

8. Рабочий орган пешеходно-ездового агрегата для аэрации почвы по п.1, отличающийся тем, что он выполнен в виде колесной пары промышленного мотоблока, например, типа «Нева», «ОКА», «Каскад».

9. Рабочий орган пешеходно-ездового агрегата для аэрации почвы по п.7, отличающийся тем, что он выполнен в виде колесной пары каркаса живосильного привода.

10. Рабочий орган пешеходно-ездового агрегата для аэрации почвы по п.1, отличающийся тем, что корпус со ступицей неразъемно соединен посредством сплошного обода.

11. Рабочий орган пешеходно-ездового агрегата для аэрации почвы по п.1, отличающийся тем, что корпус со ступицей неразъемно соединен посредством радиальных спиц.

Описание

[1]

Полезная модель относится к почвообрабатывающим орудиям, предназначенным для поверхностной безотвальной обработки почвы и, в частности, для аэрации дерновых почв сельскохозяйственных полей, садовых и приусадебных участков, городских газонов, спортивных площадок, например, футбольных полей и других аналогичных по ландшафту территорий.

[2]

Из общего уровня техники, представленного как в патентных, так и научно-технических источниках информации, широко известны пешеходно-ездовые агрегаты с прицепными и навесными орудиями, далее - культиваторы, сельскохозяйственные орудия для рыхления почвы, междурядной обработки, уничтожения сорняков, аэрации (насыщения почвы воздухом) и пр.

[3]

Из патента США №3881553, МПК A01B 45/02, опубликованного 06.02.1973 известен культиватор, предназначенный для аэрации почвы, приводящийся в действие мускульной силой человека или животного (живосильный привод). Этот агрегат удобно использовать в том случае, когда необходимо обработать незначительный по площади участок мягкого грунта. Процесс аэрации при этом бесшумный, что очень важно, когда, например, на соседних дачных участках находятся отдыхающие люди. Однако обработка значительных по площади твердых участков грунта требует существенных физических затрат и много времени.

[4]

Применение для культивации почвы, например, ее аэрации, мотоблоков (с силовым агрегатом на базе двигателя внутреннего сгорания, или электродвигателя) позволяет существенно уменьшить долю ручного труда и значительно экономить время. Из зарубежных источников информации, например, заявок на патенты США №2008/0053670 A1 (опубликован 06.03.2008), №2009/0236106 A1 (опубликован 24.09.2009), оба по классу МПК A01B 45/02, известны культиваторы, предназначенные для аэрации грунта и имеющие привод от мотоблоков. При этом в заявке США №2008/0053670 A1 представлено использование навесного орудия - аэратора, а в заявке №2009/0236106 A1 представлено использование прицепного аэратора. Широко известны освоенные отечественной промышленностью и широко применяемые на практике мотоблоки «Ока», «Нева», «Каскад» (см. Пособие для садоводов и огородников, «Мотоблоки типа МБ, устройство, диагностика, ремонт, каталог основных деталей, навесные орудия и агрегаты, составители Петухов А.И., Петухов А.В., Котомин О.Н., изд. 1997 - прилагается к материалам заявки только для информации, как достаточно редкое издание). Названные мотоблоки предназначены для привода в действие многочисленных навесных и прицепных орудий и агрегатов, предназначенных для выполнения самых различных работ, например, на приусадебных участках. В частности, это фрезы-культиваторы, плуги, окучники, выкапыватели корнеплодов, колеса с зацепами, грабли, косилки и др.

[5]

Одно из таких почвообрабатывающих орудий - рабочий орган агрегата для аэрации почвы и является предметом заявляемой полезной модели.

[6]

Из уровня техники известно устройство для аэрации с одновременным инъектированием жидких веществ в почву, авторское свидетельство СССР №1147265, МКИ A01C 23/02, опубликовано 27.05.1983. Недостатком этого устройства является то, что рабочий орган (игла) недостаточно эффективно выполняет аэрацию почвы (особенно дернины лугов и пастбищ). Кроме того конструкция устройства сложная и ненадежна в работе.

[7]

Известны также «Рабочий орган для внесения жидких удобрений в почву», авторское свидетельство СССР №1366090, МКИ A10C 23/02, опубликовано 25.02.1986 и «Устройство для внесения удобрений», авторское свидетельство СССР №1464940, МКИ A10C 23/02, опубликовано 22.05.1986. Главным недостатком их является высокое тяговое сопротивление, а потому их агрегатируют как правило тракторами с гусеничными движителями, которые повреждают корневую систему и растительный слой кормовых угодий. При этом аэрация почвы выполняется указанными устройствами в виде продольных сплошных щелей, приводящих к водной эрозии и удобрения вносятся также локально.

[8]

Общим недостатком всех способов обработки эрозионно-опасных почв является то, что механическое воздействие осуществляется в основном горизонтально установленными рабочими органами в направлении параллельном поверхности почвы, что также увеличивает опасность стока почвенной и поверхностной влаги.

[9]

Известные способы и орудия для безотвальной обработки почвы, такие как чизельные и дисковые плуги, плоскорезы-глубокорыхлители, плуги с вырезными отвалами, которые используют силу тяги трактора, являются энергоемкими и не обеспечивают качество работы. Известно также почвообрабатывающее орудие итальянской фирмы «Falc» и устройство для послойного рыхления почвы, авторское свидетельство SU 1658805, опубликовано в БИ №23, от 23.06.91, содержащее продольную балку с закрепленными в разных ее частях рабочими органами. Посредством шарниров, рычага и кривошипа балка подвешена на раме с возможностью колебаний в продольно-вертикальной плоскости, так что рабочие органы описывают в почве эллипсообразные циклоиды.

[10]

Недостатком указанного устройства является то, что оно производит послойное рыхление, при этом образуются на дне борозды гребни и огрехи между соседними рабочими органами, неоднородность обработки почвы и высокие энергозатраты.

[11]

Дальнейшим развитием рассмотренного выше устройства (SU 1658805) является конструкция секции почвообрабатывающего орудия, патент RU 2074590, C1, опубликован 10.03.1997, включающая раму, на которой установлена приводная звездочка с кривошипом, Г-образный рычаг, ползун, коромысло и штангу. Рабочий орган (стрельчатая лапа) движется в почве, совершая плоскопараллельные движения по траектории грушевидной формы, геометрическая большая ось которых наклонена к горизонту, т.е. траектории движения рабочих органов обоих известных устройств аналогичны (см. фиг.3 RU 2074590) и фиг.2 (SU 1658805). При глубокой обработке известными орудиями неплодородный слой выворачивается на поверхность поля, а верхний плодородный наоборот перемещается на дно борозды и не может активно участвовать в развитии и росте растений и, таким образом, в формировании урожая.

[12]

С целью повышения качества обработки почвы, в патенте России №2321195, опубликован 10.04.2008, безотвальная обработка почвы осуществляется почвообрабатывающим орудием, рабочие органы которого приводятся в движение с помощью кривошипно-коромыслового механизма от вала отбора мощности трактора.

[13]

Известна полезная модель, защищенная патентом №80649, МПК A01C 23/00, опубликован 20.02.2009, является дальнейшим совершенствованием почвообрабатывающего орудия для безотвальной обработки почвы (патент на изобретение RU №2321195 C2, опубликован 13.10.2005). В ней описан аэратор-удобритель, содержащий исполнительные вильчатые рабочие органы и их привод, который выполнен в виде кривошипно-коромыслового механизма. Вильчатый рабочий орган выполнен пустотелым, криволинейной формы с радиусом кривизны, равным длине шатуна и высотой, равной максимально заданной глубине обработки. Здесь аэрация почвы осуществляется за один проход агрегата, с приводом исполнительных вильчатых рабочих органов от вала отбора мощности трактора через редуктор и кривошипно-коромысловый механизм. Аэрация в виде дрен (кротовин) получается путем вертикального ввода в дернину вильчатых рабочих органов на глубину залегания дернового слоя до 25 см. При этом дрены располагаются в шахматном порядке, что исключает появления сплошной линии, по которой мог бы идти поверхностный сток, и возникла бы опасность развития эрозионных процессов. Кривошипно-коромысловый механизм состоит из ведущего звена кривошипа, шатуна, коромысла, редуктора и аэратора вильчатого рабочего органа. При движении аэратора вильчатые рабочие органы совершают циклические движения, за каждый оборот кривошипа, делая дрены почти вертикальными.

[14]

Основным, существенным недостатком рассмотренной полезной модели является то, что являясь навесным орудием трактора, срабатывающим от его вала отбора мощности, ходовые элементы (колеса, гусеницы) трактора осуществляют нежелательное замятие почвы. Можно отметить о недостаточной маневренности такого типа агрегатированной сельскохозяйственной машины. Следует указать на сложность устройства самого аэратора.

[15]

Из описания к полезной модели России №42729, МПК7 A01B 29/04, опубликованной 20.12.2004, известно устройство, относящееся к сельскохозяйственному машиностроению, а именно к почвообрабатывающим орудиям для поверхностной обработки почвы. Устройство представляет собой почвообрабатывающий каток, который содержит вал, по меньшей мере, две секции кольчато-шпоровых дисков с центральными отверстиями для прохода вала, зубчатые диски, жестко закрепленные на концах вала и между секциями кольчато-шпоровых дисков, продольные упругие стержни, установленные равномерно вокруг вала на равном расстоянии от последнего, свободно проходящие через отверстия, выполненные в кольчато-шпоровых дисках, закрепленные, по меньшей мере, на крайних зубчатых дисках. При этом, диаметр центральных отверстий кольчато-шпоровых дисков больше диаметра вала, зубчатые диски, в которых не закреплены упомянутые упругие стержни, выполнены с отверстиями для свободного прохода последних, а каждая секция кольчато-шпоровых дисков снабжена разделительными втулками, установленными на продольных упругих стержнях в промежутках между всеми дисками с возможностью свободного перемещения относительно упомянутых стержней с образованием торцевых зазоров между упомянутыми втулками и смежными с ними кольчато-шпоровыми и зубчатыми дисками с возможностью поворота кольчато-шпоровых дисков на заданный угол в плоскости оси вала без касания шпорами указанных дисков поверхности зубчатых дисков и шпор смежных кольчато-шпоровых дисков и без касания кольчато-шпоровыми дисками вала. Такое конструктивное решение устройства обеспечивает более равномерную и качественную обработку почвы.

[16]

В качестве прототипа выбрано устройство для аэрации дерновых почв, описание которого представлено в свидетельстве на полезную модель России №31902, МПК7 A01B 45/02, опубликовано 10.09.2003 г., патентообладатель Рязанская государственная сельскохозяйственная академия им. проф. П.А.Костычева. В прототипе рассмотрено устройство пешеходно-ездового агрегата, содержащего, в частности, раму, установленный на валу рабочий орган для аэрации почвы, конструктивно составленный из корпуса в виде барабана и механизма измельчения почвы, пустотелые зубья, прикрепленные к барабану посредством пружинных пластин, один конец каждой из которых соединен с барабаном жестко, а другой - через гибкую связь. Для уменьшения смятия почвы и более легкому вхождению зуба в почву, поверхность торца рабочей части зуба выполнена в виде логарифмической кривой.

[17]

Конструктивные особенности рамы предполагают ее использование только под конкретный рабочий орган - барабан с пустотелыми зубьями для аэрации почвы. Иные рабочие органы, например, фрезы для рыхления, требуют дополнительных элементов крепления, фиксации, ориентации и пр. Иными словами, в прототипе пешеходно-ездовой агрегат не отличается универсальностью применения его для различных рабочих органов и предназначен для единственной технологической операции - аэрации почвы. Закрепление зубьев на эластичном элементе является конструктивно и технологически сложным приемом. Даже при незначительной поломке рабочего органа могут возникнуть существенные проблемы с его ремонтом. Применение пустотелых зубьев при отработке задерненной почвы усложнено из-за непременного засорения внутренней поверхности пространства между гибкой пластиной и барабаном после первых же проколов дернины. Остатки корней и кусочки почвы неизбежно попадут под гибкие элементы, что может вызвать заклинивание элементов гибкой связи и барабана.

[18]

Задача полезной модели - создание универсального рабочего органа пешеходно-ездового агрегата для аэрации почвы, практическое использование которого возможно как в составе мотокультиватора, так и в составе культиватора с живосильным приводом, при одновременном существенном упрощении технологии аэрации почвы, повышении ее качества, а также обеспечение возможность аэрации на участках со сложным рельефом и геометрией, за счет обеспечения высокой маневренности пешеходно-ездового агрегата.

[19]

Технический результат, достигаемый полезной моделью, заключается в обеспечении унификации приспособления для установки рабочего органа на приводном валу с креплением колеса промышленного мотоблока, например, типа «Нева», «ОКА», «Каскад» и существенном уменьшении (исключении) засорения межзубового пространства рабочего органа в основном травой.

[20]

Совокупность признаков полезной модели, находящаяся в причинно следственной взаимосвязи с достигаемым техническим результатом представлена в независимом пункте формулы полезной модели. Предметом новизны является то, что в рабочем органе пешеходно-ездового агрегата для аэрации почвы, содержащем корпус, выполненный в виде кругового пустотелого цилиндра, перфорированного сквозными отверстиями, в которых закреплены рабочие зубья и неразъемно соединенного со ступицей, снабженной приспособлением для установки рабочего органа на приводном валу, рабочие зубья закреплены на корпусе жестко, а приспособление для установки рабочего органа на приводном валу выполнено унифицированным с креплением колеса промышленного мотоблока, например, типа «Нева», «ОКА», «Каскад».

[21]

Замена штатных колес промышленного мотоблока на предлагаемые рабочие органы исключает необходимость изготовления специальной ходовой рамы, что имеет место в прототипе, позволяет существенно упростить процесс аэрации, повысить мобильность и маневренность аэратора.

[22]

В частных вариантах конструктивного исполнения отверстия перфорации на корпусе могут быть расположены в шахматном порядке. Рабочие зубья могут быть выполнены литыми, остроконечными, и закреплены на корпусе неразъемно, посредством сварки. Это наиболее простая и высоко технологичная конструкция. Кроме того, существенно уменьшается процесс засорения межзубового пространства полезной травой, или сорняками.

[23]

В другом конструктивном исполнении рабочие зубья в продольном сечении имеют стреловидную форму, при этом в месте сопряжения стреловидного наконечника с цилиндрической частью рабочего зуба, которой он монтируется на корпусе, выполнена галтель. При этом, в отверстиях перфорации корпуса закреплены монтажные втулки, в которых съемно, посредством фиксирующих приспособлений, одно- или многоразового использования монтируются рабочие зубья.

[24]

В этом случае, меняя количество рабочих зубьев на корпусе, можно увеличивать или уменьшать степень перфорации почвы, активно влияя при этом на процесс аэрации. Кроме того, в этом случае возможна замена зубьев на более длинные, или более короткие, с изменяемой геометрией их формы и углами вхождения их в грунт.

[25]

Заявляемый рабочий орган пешеходно-ездового агрегата для аэрации почвы может быть закреплен на каркасе живосильного привода. Это наипростейший вариант практического использования, который предпочтителен для дачников, имеющих небольшие по площади садово-огородные участки. Еще в одном простом конструктивном исполнении он может быть выполнен в виде колесной пары каркаса живосильного привода. Эти два варианта, тем не менее, требуют некоторых затрат физической энергии, однако обладают и целым рядом преимуществ. В частности, при мягком грунте и малом по площади участке не целесообразно приводить в рабочее состояние моторную технику, что сопряжено с повышенным шумом и наличием токсичных отработавших газов бензинового двигателя, необходимостью подключения высоковольтного кабеля для запитки электромотора. Кроме того, возможны нештатные ситуации, например, неисправность мотоблока, временное отсутствие электроэнергии в сети. При установке на каркасе живосильного привода только одного рабочего органа значительно повышается маневренность агрегата, появляется возможность обработки почвы в самых труднодоступных участках.

[26]

Безусловно, что при значительных объемах работ наиболее предпочтительным является конструктивное решение рабочего органа пешеходно-ездового агрегата для аэрации почвы когда он выполнен в виде колесной пары штатного мотоблока, что позволяет при незначительных физических затратах (в основном связанных с управлением мотоблоком) обрабатывать значительные участки почвы.

[27]

Чисто из конструктивных соображений корпус рабочего элемента со ступицей может быть неразъемно соединен посредством сплошного обода (утяжеленный вариант), либо посредством радиальных спиц (облегченный вариант).

[28]

Такие конструктивные изменения, в сравнении с исследуемым прототипом, достигнуты методом интуитивно-логического анализа проблемы, обозначенной представленным выше анализом уровня техники и аналитической работы по формированию наилучшего конструктивного решения эмпирическим путем.

[29]

Сравнение и анализ научно-технической и патентной документации на дату приоритета в основной и смежных рубриках МПК показывает, что совокупность существенных признаков заявленного технического решения ранее не была известна, следовательно, оно соответствует условию патентоспособности «новизна».

[30]

Предложенное техническое решение промышленно применимо, т.к. может быть реализовано промышленным способом, работоспособно, осуществимо и воспроизводимо, следовательно, соответствует условию патентоспособности «промышленная применимость».

[31]

Другие особенности и преимущества полезной модели как технического решения станут понятны из чертежей, и детального описания заявляемого устройства, где:

[32]

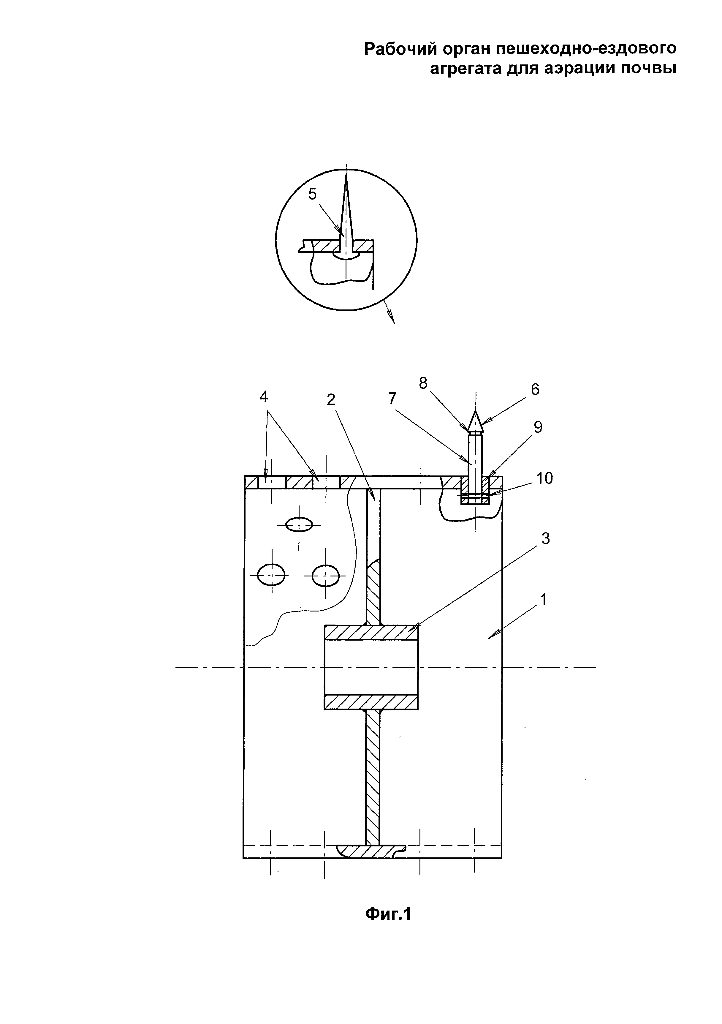
На Фиг.1 изображен рабочий орган пешеходно-ездового агрегата для аэрации почвы;

[33]

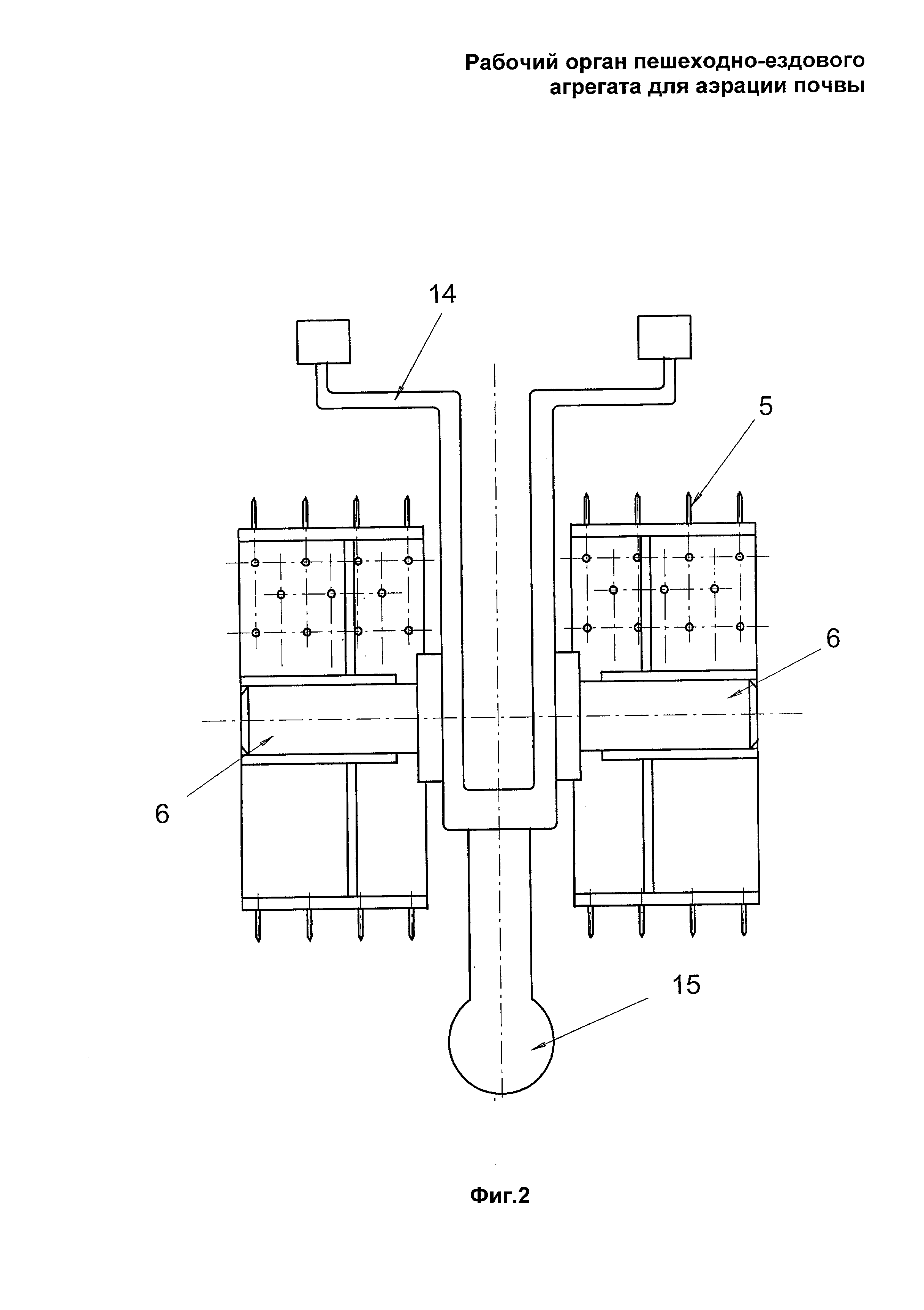
На фиг.2 представлен вариант рабочего органа пешеходно-ездового агрегата для аэрации почвы, выполненного в виде колесной пары каркаса живосильного привода (мускульная сила человека, животного);

[34]

На фиг.3 показан один из рабочих зубьев стреловидной формы рабочего органа пешеходно-ездового агрегата для аэрации почвы и схема его крепления на цилиндрическом корпусе (сечение А-А по фиг.4);

[35]

На фиг.4 показано сечение опорной втулки и цилиндрической части стреловидного рабочего зуба в плоскости их соединения с фиксирующим приспособлением (в данном варианте это шплинтовое соединение);

[36]

На фиг.5 показан вариант практического применения рабочего органа пешеходно-ездового агрегата для аэрации почвы в составе однокорпусного культиватора с ручным (живосильным) приводом. Преимущественно, это вариант для дачников.

[37]

На фиг.6 показан вариант практического применения рабочего органа пешеходно-ездового агрегата для аэрации почвы в составе колесной пары штатного, выпускаемого промышленным образом мотокультиватора, путем простой замены его штатных колес на предлагаемые рабочие органы.

[38]

Рабочий орган пешеходно-ездового агрегата для аэрации почвы, содержит корпус 1 выполненный в виде кругового пустотелого цилиндра, снабженного ободом 2 (либо спицами, на чертежах не показаны) и ступицей 3, перфорированного сквозными отверстиями 4, в которых закреплены рабочие зубья 5. Рабочие зубья 5 закреплены на корпусе жестко, а приспособление для установки рабочего органа на приводном валу 6 выполнено унифицированным с креплением колеса промышленного мотоблока, например, типа «Нева», «ОКА», «Каскад» (см. приложение 1 на 8 листах).

[39]

В частных случаях конструктивного исполнения отверстия 4 перфорации на корпусе 1 могут быть расположены в шахматном порядке. Рабочие зубья 5 могут быть выполнены остроконечными, литыми и закреплены на корпусе 1 неразъемно, посредством сварки. В другом исполнении рабочие зубья в продольном сечении могут иметь стреловидную форму, при этом в месте сопряжения стреловидного наконечника 7 с цилиндрической частью 8 зуба, которой он монтируется на корпусе 1, выполнена галтель 9. В отверстиях 4 перфорации корпуса 1 могут быть закреплены монтажные втулки 10, в которых съемно, посредством фиксирующих приспособлений 11 (например, шплинт), одно- или многоразового использования монтируются рабочие зубья 5. Рабочий орган пешеходно-ездового агрегата для аэрации почвы может быть смонтирован на каркасе 12 живосильного привода. Либо он может быть выполнен в виде колесной пары штатного мотокультиватора 13, либо в виде колесной пары каркаса 14 живосильного привода.

[40]

Технология аэрации почвы предлагаемым рабочим органом пешеходно-ездового агрегата для аэрации почвы осуществляется обычным образом.

[41]

Предлагаемое конструктивное решение предполагает использование в качестве движителя промышленно-выпускаемые культиваторы почвы на базе мотоблока (например, типа «Каскад», см. приложение 2, на 2-х листах). Культиватор перемещается самостоятельно на предлагаемых рабочих органах, которые предварительно были установлены взамен демонтированных штатных колес, обладая при этом достаточным собственным весом для прокалывания сильнозадерненных почв, и имея возможность движения как вперед, так и назад и проведения работ в стесненных условиях (сада, газоны на приусадебных участках и т.д.). При этом предлагаемое техническое решение не требует изменений самого мотоблока, поскольку его рабочие органы закрепляется штатными креплениями на рабочие валы всем комплексом защитных узлов для обеспечения безопасности. Если осуществляется аэрации тяжелых, плотных грунтов и веса агрегата недостаточно, он может быть утяжелен дополнительным грузом-противовесом 15. Место его крепления предусмотрено в штатном мотоблоке, см. приложение 2.

[42]

В одном из конструктивных исполнений предлагаемое конструктивное решение отличает использование тонкостенного цилиндрического корпуса 1 с приварными монтажными втулками 9, обеспечивающими жесткое и надежное крепление рабочего зуба 5. При этом, в зависимости от необходимости частоты перфораций почвы, у пользователя имеется возможность самостоятельно, без применения специального инструмента менять количество рабочих зубов на рабочей части корпуса 1.

[43]

В одном из вариантов конструктивного исполнения рабочего зуба 5 в месте сопряжения стреловидного наконечника 6 с цилиндрической частью 7 зуба, которой он монтируется на корпусе 1, выполнена галтель 8, позволяющая при вхождении в задерненный грунт легко входить, и при обратном ходе захватывать часть корней и кусочки почвы, что необходимо для получения разуплотненного грунта в месте выхода рабочего зуба 5. При повторном рабочем цикле все, что зацепилось за рабочий зуб 5 сдвинется в сторону корпуса 1, тем самым достигается эффект самоочистки зубьев.

[44]

Предложенная конструкция высоко технологична. Все рабочие зубья 5, втулки 9, корпус 1, обод 2 и ступица 3 могут быть выполнены литьем и не требуют механической обработки. Все элементы могут быть соединены сваркой. Левый и правый корпуса в данном проекте унифицированы (см. приложение 3, на 8-и листах). В качестве фиксирующего элемента рабочего зуба 5 используются стандартные шплинты или строительные гвозди подходящего диаметра и длины.

[45]

Предлагаемая конструкции обладает простотой и удобством в эксплуатации, и в сочетании с низкой стоимостью - имеет высокую износостойкость и долговечность.

[46]

Опытный образец, см. фото в приложении 3, прошел четыре сезона интенсивной эксплуатации (пять месяцев в году) в условиях работы как тяжелых грунтов (суглинки Среднего Урала), так и газонов с насыпным черноземом в районе Средней Волги (Самарская область).

[47]

Конкретные иллюстрации вариантов практической реализации заявленного технического решения, описанные выше, являются по своему характеру лишь частными примерами и не ограничивают притязания заявляемой полезной модели, объем которой определяется формулой полезной модели. Для технических специалистов работающих в данной области техники станут очевидными другие возможные конкретные варианты осуществления заявляемого устройства, которые будут находиться в рамках объема притязаний настоящей полезной модели.

Как компенсировать расходы
на инновационную разработку
Похожие патенты