заявка
№ RU 94033105
МПК H05B6/64

МИКРОВОЛНОВАЯ ПЕЧЬ

Авторы:
Гвен-Дзиб Ким[KR]
Номер заявки
94033105/09
Дата подачи заявки
12.09.1994
Опубликовано
20.07.1996
Страна
RU
Дата приоритета
16.12.2025
Номер приоритета
Страна приоритета
Как управлять
интеллектуальной собственностью
Чертежи 
12
Реферат

[84]

Микроволновая печь с применением клистрона для уменьшения веса печи и устранения опасности из-за высокого напряжения, которая содержит клистрон для получения электроэнергии и, таким образом, генерирования микроволн, включающий в себя терминал ввода для получения электроэнергии извне, клистронный блок для генерирования микроволн при получении электроэнергии через терминал ввода и коаксиальную линию для передачи наружу микроволн от клистронного блока, варочную камеру для приема микроволн и осуществления варки пищевого продукта путем использования принятых микроволн и контрольную панель для регулирования клистрона под управлением пользователя.

Формула изобретения

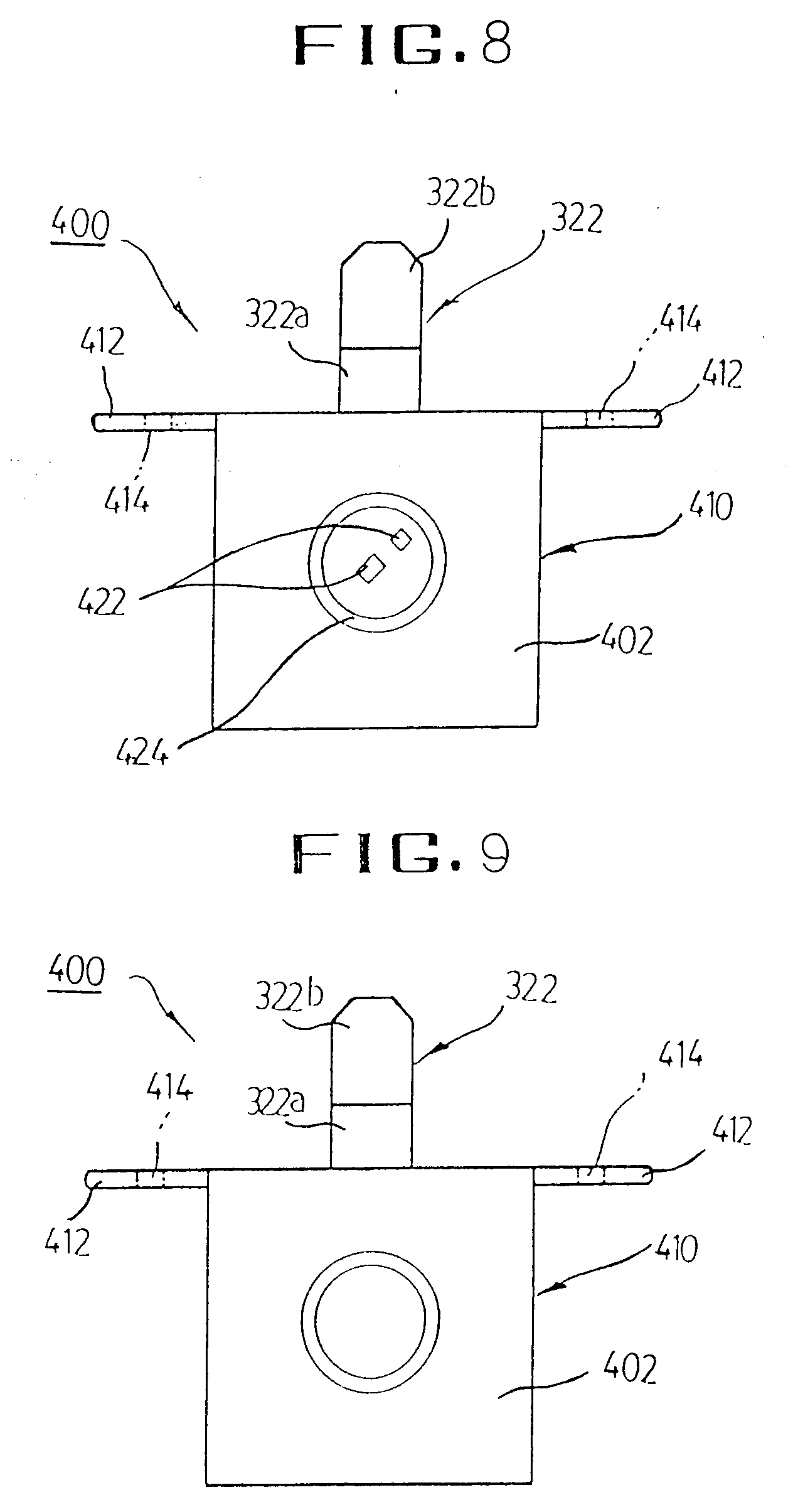
Формула изобретения
1. Микроволновая печь, содержащая камеру для приема микроволн и осуществления готовки пищевого продукта путем использования принятых микроволн, отличающаяся тем, что содержит клистрон для генерирования микроволн и контрольное устройство для регулирования клистрона под управлением пользователя.

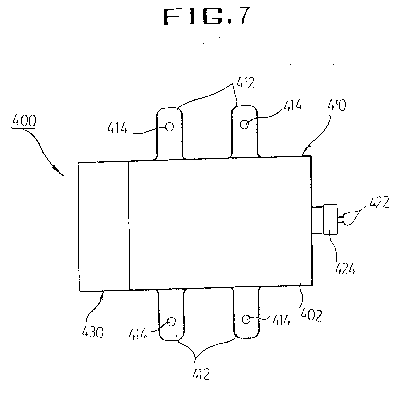
2. Микроволновая печь по п.1, отличающаяся тем, что содержит волновод для направления микроволн от клистрона к камере готовки.

3. Микроволновая печь по п.1 или п.2, отличающаяся тем, что содержит также мешалку для рассеяния микроволн, введенных в камеру готовки.

4. Микроволновая печь по п.1, отличающаяся тем, что содержит также вентилятор для охлаждения клистрона.

5. Микроволновая печь по п.4, отличающаяся тем, что содержит также по меньшей мере одно отверстие для ввода воздушного потока, создаваемого вентилятором и выпускаемого в камеру готовки после охлаждения клистрона.

6. Микроволновая печь по п.5, отличающаяся тем, что содержит также канал для направления к отверстию потока воздуха, выпускаемого после охлаждения клистрона.

7. Микроволновая печь по п.1, отличающаяся тем, что клистрон содержит: терминал ввода для получения электроэнергии извне; клистронный блок для генерирования микроволн при получении электроэнергии через терминал ввода; и выходной блок для передачи наружу микроволн из клистронного блока.

8. Микроволновая печь по п.7, отличающаяся тем, что клистрон содержит также охлаждающее устройство для отвода наружу тепла, образующегося в клистронном блоке.

9. Микроволновая печь по п.8, отличающаяся тем, что охлаждающее устройство содержит: большое количество охлаждающих ребер, примененных для рассеивания образующегося тепла от собирающего электрода, установленного в клистронном блоке; охлаждающий стержень, примененный для поддержки охлаждающих ребер и передачи тепла от собирающего электрода к охлаждающим ребрам; и охлаждающий элемент, окружающий охлаждающие ребра и составляющий кодух охлаждающего устройства.

10. Микроволновая печь по п.9, отличающаяся тем, что охлаждающий стержень припаен к собирающему электроду с тем, чтобы образовывать единое целое с ним.

11. Микроволновая печь по п.7 или п.8, отличающаяся тем, что терминал ввода электрически изолирован от клистронного блока посредством изолятора.

12. Микроволновая печь по п.7 или п.8, отличающаяся тем, что клистронный блок содержит ярмо, составляющее кожух клистронного блока.

13. Микроволновая печь по п.7 или п.8, отличающаяся тем, что клистронный блок содержит также большое количество зажимных средств.

14. Микроволновая печь по п.7 или п.8, отличающаяся тем, что клистрон содержит также пару магнитов, соответственно расположенных вокруг электронной пушки и собирающего электрода, установленных в клистронном блоке, при этом, магниты составляют замкнутую магнитную цепь, служащую для поддержания ориентации электронов, генерированных с электронной пушки, к собирающему электроду и обеспечения подвижного центра электронов.

15. Микроволновая печь по п.14, отличающаяся тем, что собирающий электрод покрыт материалом, показывающим большую работу выхода.

16. Микроволновая печь по п.14, отличающаяся тем, что магниты расположены так, что направления их намагниченности ориентированы перпендикулярно их торцевым поверхностям.

17. Микроволновая печь по п.14, отличающаяся тем, что магниты расположены так, что направления их намагниченности ориентированы радиально, при этом, у одного из магнитов ориентировано радиально внутрь и у другого магнита ориентировано радиально наружу.

18. Микроволновая печь по п.14, отличающаяся тем, что магниты имеют кольцевую форму.

19. Микроволновая печь по п.14, отличающаяся тем, что магниты имеют форму многогранной решетки.

20. Микроволновая печь по п.1, отличающаяся тем, что камера готовки на нижней поверхности снабжена поворотным кругом для вращения пищевого продукта, содержащегося в камере.

21. Микроволновая печь по п.1, отличающаяся тем, что клистрон содержит также трубку с множеством каналов для движения пучка электронов, генерированных с электронной пушки, к собирающему электроду в расщепленном виде, при этом, как электронная пушка, так и собирающий электрод установлены в клистроне.

22. Микроволновая печь по п.21, отличающаяся тем, что количество каналов в трубке меньше 500.

23. Микроволновая печь по п. 21, отличающаяся тем, что трубка также включает в себя 2 8 объемных резонаторов.

24. Микроволновая печь по п.21, отличающаяся тем, что каждый из каналов имеет диаметр от 0,3 мм до 5 мм.

25. Микроволновая печь по п.21, отличающаяся тем, что трубка имеет передний конец и задний конец, каждый из которых представляет собой магнитное тело, позволяющее получить однородную плотность магнитного потока в трубке.

26. Микроволновая печь по п.25, отличающаяся тем, что магнитное тело покрыто медью.

27. Микроволновая печь по п.21, отличающаяся тем, что трубка изготовлена из меди.

28. Микроволновая печь по п.1, отличающаяся тем, что клистрон включает в себя коаксиальную линию, соединенную с объемным резонатором, расположенным у собирающего электрода, установленного в клистроне, при этом, коаксиальная линия служит для передачи наружу микроволн от клистрона.

Описание

[1]

Настоящее изобретение относится к микроволновой печи, а конкретнее, к микроволновой печи, в которой применен клистрон для уменьшения веса печи и устранения опасности из-за высокого напряжения.

[2]

В микроволновых печах обычно применяют магнетрон, к которому подводится высокое напряжение, например 4 кВ. Для использования такого магнетрона в микроволновых печах в них необходим высоковольтный трансформатор, что создает проблему в отношении безопасности, увеличения веса и повышения стоимости изготовления микроволновых печей.

[3]

На фиг.1 показан пример такой микроволновой печи, в которой используется магнетрон.

[4]

На фиг.1 цифрой 10 обозначен блок питания, включающий в себя высоковольтный трансформатор и высоковольтный конденсатор. Когда пользователь печи воздействует на панель управления (не показана), расположенную в правой части передней поверхности микроволновой печи, блок питания подает электроэнергию к магнетрону, обозначенному цифрой 20 на фиг.1, и охлаждающему вентилятору (не показан). Магнетрон 20 включается при поступлении электроэнергии высокого напряжения в 4 кВ от блока питания 10. Во включенном состоянии магнетрон 20 испускает микроволны через антенну 22. Микроволны, испускаемые от антенны 22 магнетрона 20, направляются в камеру для готовки 50 через волновод 30 и затем распределяются в камере для готовки 50 мешалкой 40. Распределенные микроволны падают на пищевой продукт, содержащийся в камере 50 с тем, чтобы можно было вести процесс готовки.

[5]

С другой стороны, позади магнетрона 20 (фиг.1) обычно находится охлаждающий вентилятор (не показан). Охлаждающий вентилятор создает поток воздуха для охлаждения магнетрона 20. При охлаждении магнетрона 20 потоком воздуха происходит повышение его температуры. Нагретый поток воздуха по каналу (не показан) направляется к входу 70 с тем, чтобы он мог быть введен в камеру 50.

[6]

Вход 70 представляет собой по меньшей мере одно отверстие диаметром 1 меньше 1/4 длины λ микроволн (1<λ/4) с тем, чтобы предотвратить рассеяние падающих микроволн через отверстие.

[7]

На фиг.1 цифрой 60 обозначен корпус микроволновой печи.

[8]

На фиг. 2 дан поперечный разрез магнетрона 20 микроволновой печи, показанной на фиг.1. Как показано на фиг.2, магнетрон 20 представляет собой цилиндрический двухполюсный электровакуумный прибор. В центре магнетрона 20 расположен катод 22. Если приложить рабочее напряжение к терминалу ввода 21, катод 22 нагревается с испусканием электронов. Вокруг катода 22 расположен анод 23, который воспринимает электроны, испускаемые с катода 22.

[9]

Наверху и внизу магнетрона 20 расположена пара цилиндрических магнитов 24а и 24b. Магниты 24а и 24b генерируют магнитные потоки, которые, в свою очередь, направляются магнитопроводами 25а и 25b в объемный резонатор 26, имеющийся между катодом 22 и анодом 23 и находящийся под вакуумом.

[10]

Таким образом, электроны, испускаемые с катода 22, отклоняются магнитным полем, образованным в объемном резонаторе 26, с тем, чтобы они могли вращаться между катодом 22 и анодом 23.

[11]

Когда большое количество электронов группами вращается в объемном резонаторе 26, в аноде 23 создается резонансный контур. Благодаря этому резонансному контуру генерируются микроволны. Анод 23, температура которого повышается из-за ударения электронов, охлаждается посредством охлаждающих ребер 29. Микроволны излучаются антенной 27, одним концом соединенной с анодом 23.

[12]

Антенна 27 выступает вверх через отверстие в центре верхнего магнита 24а. Выступающая часть антенны 27 закрыта колпачком 28, при этом колпачок 28 установлен вокруг антенны 27.

[13]

Микроволны, а именно, волны радиочастоты, испускаемые от антенны 27, достигают камеры готовки через волновод и входное отверстие, которыми, как правило, снабжены обычные микроволновые печи, и затем нагревают пищевой продукт, содержащийся в этой камере.

[14]

Однако, так как в магнетроне, имеющем вышеупомянутую конструкцию, необходимо прикладывать высокое напряжение в 4 кB между катодом 22 и анодом 23, то обычная микроволновая печь ставит проблему ее безопасности. Кроме того, для создания высокого напряжения необходимы тяжелые трансформатор и конденсатор. В результате обычная микроволновая печь является громоздкой и тяжелой. Кроме того, увеличивается стоимость ее изготовления.

[15]

Следовательно, задачей, положенной в основу данного изобретения, является решение вышеупомянутых проблем, имеющих место при предшествующем уровне технике, и, таким образом, создание микроволновой печи, в которой можно использовать низковольтную генераторную лампу, благодаря чему устраняется опасность, вследствие использования высокого напряжения, и получается легкая конструкция.

[16]

Согласно настоящему изобретению эта задача может быть достигнута путем создания микроволновой печи, содержащей: клистрон для получения электроэнергии и, тем самим, для генерирования микроволн; камеру для готовки, для приема микроволн и приготовления пищевого продукта посредством воспринятых микроволн, и контрольного устройства для регулирования клистрона под управлением пользователя.

[17]

В дальнейшем изобретение поясняется конкретным вариантом его осуществления со ссылкой на прилагаемые чертежи, на которых:
фиг.1 изображает схематически обычную микроволновую печь,
фиг.2 схематически магнетрон микроволновой печи, показанной на фиг.1,
фиг. 3 схематически микроволновую печь в соответствии с вариантом осуществления настоящего изобретения,
фиг.4 вид сбоку микроволновой печи, показанной на фиг.3,
фиг.5 показывает аксонометрическое изображение клистрона, примененного в микроволновой печи на фиг.3 в соответствии с настоящим изобретением,
фиг.6 изображает вид сверху клистрона, показанного на фиг.5,
фиг.7 вид снизу клистрона, показанного на фиг.5,
фиг.8 вид справа клистрона, показанного на фиг.5,
фиг.9 вид слева клистрона, показанного на фиг.5,
фиг. 10 изображает разрез, показывающий внутреннее устройство клистрона, примененного в микроволновой печи согласно настоящему изобретению,
фиг. 11 представляет аксонометрическое изображение полюсного наконечника клистрона, примененного в микроволновой печи согласно настоящему изобретению,
фиг. 12 аксонометрическое изображение магнита клистрона, примененного в микроволновой печи согласно настоящему изобретению, фиг.13 вид сверху каналов дрейфа в клистроне, примененном в микроволновой печи согласно настоящему изобретению,
фиг.14 разрез, поясняющий принцип действия клистрона, примененного в микроволновой печи согласно настоящему изобретению.

[18]

На фиг.3 14 показана микроволновая печь согласно варианту осуществления настоящего изобретения.

[19]

На фиг. 3 схематически показана микроволновая печь согласно варианту осуществления настоящего изобретения. На фиг.3 микроволновая печь обозначена цифрой 300. На фиг. 4 дан вид сбоку микроволновой печи 300, показанной на фиг.3.

[20]

На фиг.3 и 4 цифрой 310 обозначен блок питания. Когда пользователь воздействует на панель управления 500, расположенную в правой части передней поверхности микроволновой печи, блок питания 310 начинает подавать электроэнергию к клистрону 400 и охлаждающему вентилятору 380. Клистрон 400 включается при подводе рабочего напряжения от блока питания 310. Во включенном состоянии клистрон 400 излучает микроволны через антенну 322. Микроволны, излучаемые от антенны 322 клистрона 400, направляются к камере готовки 350 по волноводу 330. Микроволны, введенные в варочную камеру 350, распределяются в ней мешалкой 340 и падают на пищевой продукт в камере 350 с тем, чтобы можно было проводить процесс готовки.

[21]

С другой стороны, охлаждающий вентилятор 380 расположен позади клистрона 400 при виде на фиг.4. Охлаждающий вентилятор 380 создает воздушный поток для охлаждения клистрона 400. Во время охлаждения клистрона 400 происходит повышение температуры воздушного потока. Нагретый воздушный поток по каналу 390 направляется к входу 370 с тем, чтобы его можно было ввести в камеру готовки 350.

[22]

Вход 370 состоит по меньшей мере из одного отверстия диаметром L менее 1/4 длины λ микроволн (l<λ/4/4) с тем, чтобы предотвратить рассеивание падающих микроволн через отверстие.

[23]

На фиг.3 и 4 цифрой 332 обозначен крепежный элемент для жесткого крепления клистрона 400 к волноводу 330, а цифрой 360 корпус микроволновой печи.

[24]

На фиг.5 дано аксонометрическое изображение клистрона 400, который согласно настоящему изобретению применен в микроволновой печи, показанной на фиг.3 и 4.

[25]

Как показано на фиг.5, клистрон 400 включает в себя терминал ввода 422 для получения электроэнергии; клистронный блок 410 для генерирования энергии, а именно, микроволны определенной частоты при получении энергии через терминал ввода 422; антенну 322 для передачи энергии от клистронного блока 410 к внешнему устройству (в показанном случае к волноводу 330 на фиг.3 и 4) и охлаждающее устройство 430 для охлаждения клистронного блока 410.

[26]

Терминал ввода 422 электрически изолирован от клистронного блока 410 посредством изолятора 424.

[27]

Клистронный блок 420 включает в себя ярмо 402 в качестве кожуха, пару магнитов 450а и 450b, расположенных с интервалом в ярме 402, и трубку 440 между магнитами 450а и 450b.

[28]

С противоположных сторон верхней части клистронного блока 410 выступает несколько зажимных частей 412. Каждое из зажимных частей 412 имеет зажимное отверстие 414. Зажимные части 412 предпочитается располагать таким образом, чтобы уравновешивать клистрон 400.

[29]

От клистронного блока 410 выступает вверх антенна 322, которая включает в себя коаксиальную линию, которая будет описана позже, изолирующий элемент 322а и колпачок 322b. Изолирующий элемент 322а изготовлен из изоляционного материала, как например, керамики и предназначен для изолирования от ярма 402 клистронного блока 410. Колпачок 322b изготовлен, например, из нержавеющей стали.

[30]

Охлаждающее устройство 430 включает в себя множество охлаждающих ребер 432 для рассеивания тепла, образуемого клистронным блоком 410, охлаждающий стержень для передачи тепла от клистронного блока 410 к охлаждающим ребрам 432 и охлаждающий элемент 434, окружающий охлаждающие ребра 432 и составляющий кожух охлаждающего устройства 430.

[31]

На фиг. 6 дан вид сверху клистрона 400, показанного на фиг.5. На фиг.7 дан вид снизу клистрона 400. Вместе с тем, на фиг.8 и 9 даны виды соответственно справа и слева клистрона 400. Как показано на фиг.6 9, терминал ввода 422 расположен на правой стороне клистрона 400. Терминал ввода 422 электрически изолирован от ярма 402, составляющего кожух клистронного блока 410. Как упоминалось выше, зажимные части 412, каждая из которых имеет зажимное отверстие 414, выступают с противоположных краев верхней части клистронного блока 410 и предпочтительно располагаются таким образом, чтобы уравновешивать клистрон 400. Антенна 322, выступающая вверх от клистронного блока 410, включает в себя изолирующий элемент 322а и колпачок 322b.

[32]

Охлаждающее устройство 430 расположено с левой стороны клистронного блока 410.

[33]

На фиг. 10 дан разрез клистрона 400, примененного в микроволновой печи согласно варианту осуществления настоящего изобретения.

[34]

Как упоминалось выше в связи с фиг.5, клистрон 400 включает в себя терминал ввода 422, предназначенный для получения электроэнергии; клистронный блок 410 для генерирования энергии, а именно, микроволны определенной частоты при получении электроэнергии через терминал ввода 422; антенну 322, предназначенную для передачи энергии от клистронного блока 410 к внешнему устройству (в показанном случае к волноводу 330 на фиг. 3 и 4), и охлаждающее устройство 430, предназначенное для охлаждения клистронного блока 410.

[35]

Как показано на фиг. 10, клистронный блок 410 включает в себя электронную пушку 460 для получения электроэнергии извне через терминал ввода 422 и генерирования электронов посредством полученной электроэнергии; трубку 440 с множеством объемных резонаторов (предпочтительно 2 8 по количеству, а в иллюстрируемом случае четыре объемных резонатора 440a 440d) и с множеством каналов, которые будут описаны ниже, и анод, а именно, собирающий электрод 490 для собирания электронов, выходящих из трубки 440. Вокруг электронной пушки 46 и собирающего электрода 490 расположена пара магнитов соответственно 450a и 450b. Магниты 450a и 450b служат для сохранения ориентации электронов к собирающему электроду 490 и движущегося центра пучков электронов. Клистронный блок 410 включает в себя также пару полюсных наконечников 470a и 470b для направления магнитных потоков, создаваемых магнитами 450a и 470b, внутрь трубки 440 и равномерного распределения магнитных потоков в трубке 440, и ярмо 402, служащее в качестве магнитопровода для образования замкнутого контура магнитами 450a и 450b, полюсными наконечниками 470a и 470b, трубкой 440 и магнитными потоками.

[36]

Магниты 450а и 450b расположены таким образом, чтобы направления их намагниченности были ориентированы вдоль оси, а именно, перпендикулярно их торцевым поверхностям. Магниты 450а и 450b также могут быть расположены таким образом, что направления их намагниченности будут ориентированы радиально. В последнем случае один из магнитов 450а и 450b имеет направление намагниченности, ориентированное радиально внутрь, тогда как другой магнит имеет направление намагниченности, ориентированное радиально наружу.

[37]

Как упоминалось выше, антенна 322 включает в себя коаксиальную линию 424, изолирующий элемент 322а и колпачок 322b. Коаксиальная линия 424 имеет связь петлей 424а, расположенную в объемном резонаторе 440d трубки 440. Связь летели 424а получает микроволновую энергию от магнитного поля, образованного в объемном резонаторе 440d.

[38]

Изолирующий элемент 322а изготовлен из изоляционного материала, как например керамики, и предназначен для изолирования от ярма 402 клистронного блока 410. Колпачок 322b изготовлен, например, из нержавеющей стали.

[39]

Как упоминалось выше, охлаждающее устройство 430 включает в себя охлаждающие ребра 432, предназначенные для рассеивания тепла, создаваемого собирающим электродом 490 клистронного блока 410; охлаждающего стержня 436, предназначенного для поддержания охлаждающих ребер 432 и передачи тепла от собирающего электрода 490 к охлаждающим ребрам 432, и охлаждающего элемента 434, расположенного вокруг охлаждающих ребер 432 и предназначенного для образования кожуха охлаждающего устройства 430. Охлаждающий стержень 436 припаен к собирающему электроду 490 и образует с ним одно целое.

[40]

Чтобы уменьшить отражение электронов собирающим электродом 490, этот электрод может быть покрыт материалом, например молибденом, обладающим высокой работой выхода. Собирающий электрод 490 также может иметь такую конструкцию, что его центр расположен вдали от трубки 440, тогда, как его периферия примыкает к трубке 440. Для замедления химической реакции на трубке 440 ее желательно изготавливать из меди.

[41]

Предпочитается также, чтобы противоположные концевые части трубки 440, расположенные вблизи соответственно электронной пушки 460 и собирающего электрода 490, были изготовлены из магнитного материала для сохранения однородной плотности магнитного потока в трубке 440. В этом случае магнитные тела покрывают медью, с тем, чтобы предотвратить их коррозию и сохранить их вакуумную характеристику.

[42]

На фиг. 11 дано аксонометрическое изображение одного из полюсных наконечников 470а и 470b kлистрона 400, примененного в микроволновой печи 300 согласно настоящему изобретению. На фиг.11 полюсный наконечник обозначен цифрой 470. Полюсный наконечник 470 имеет форму цилиндра с закрытым концом. В закрытом конце полюсного наконечника 470 имеется множество отверстий 472. Эти отверстия 472 образуют каналы дрейфа для прохождения электронных пучков через них, как это будет описано ниже.

[43]

На фиг. 12 дано аксонометрическое изображение одного из магнитов 450а и 450Ь клистрона 400, примененного в микроволновой печи 300 согласно настоящему изобретению. На фиг.12 магнит обозначен цифрой 450. Магнит 450 имеет многоугольную форму с заранее заданной толщиной t. В центральное отверстие 452 вставляется полюсный наконечник 470, как это показано на фиг.10. Магниты 450 расположены вокруг электронной пушки 460 и собирающего электрода 490.

[44]

На фиг. 13 дан вид сверху каналов дрейфа клистрона 400, примененного в микроволновой печи 300 в соответствии с настоящим изобретением. На фиг.13 каналы дрейфа обозначены цифрой 600. Каналы дрейфа 600 являются отверстиями для прохождения пучков электроном, испускаемых от электронной пушки 460. Каналы дрейфа 600 проходят вдоль полюсного наконечника 470а, трубки 440 и полюсного наконечника 470b. Каждый канал дрейфа предпочтительно имеет диаметр от 0,3 мм до 5 мм.

[45]

На фиг.14 дан разрез, поясняющий принцип действия клистрона 400, примененного в микроволновой печи 300 согласно настоящему изобретению.

[46]

При подводе электроэнергии к терминалу ввода 422 клистрона 400 "горячие" электроны испускаются с электронной пушки 460 и концентрируются в точках, таким образом, образуя электронные пучки 462. Эти электронные пучки 462 затем ускоряются со скоростью V под действием разности потенциалов VO между электронной пушкой 460 и собирающим электродом 490. Скорость V соответствуют (2eVO/N)1/2 т.е. 5.93х105(VO)1/2м/с.

[47]

Электроны, проходящие через первые зазоры 442а, соответственно сообщающиеся с каналами дрейфа 600, в разное время имеют различные скорости в каналах дрейфа 600. На основании этого факта электроны, покидающие первые зазоры 442а, могут нагонять электроны, которые ранее с меньшей скoростью, чем средняя скoрость, покинули зазоры 442b, 442с и 442d, расположенные после первых зазоров 442а в направлении электронного потока. В результате этого, образуются группы электронов в электронных пучках 462.

[48]

Тем временем, в первом объемном резонаторе 440a поддерживается заданный уровень напряжения переменного тока. Первые зазоры 442а, сообщающиеся с первым резонатором 440а, находятся в состоянии короткого замыкания на своей одной стороне и включенном состоянии на своей другой стороне в момент времени непосредственно перед вводом в них произвольной электронной группы.

[49]

Параметр, полученный вследствие наложения электрических полей, присутствующих в зазорах 442а 442d, имеет форму напряжения . Благодаря этому напряжению электроны, образующие электронные пучки, ускоряются и замедляются при прохождении через зазоры 442а 442d.

[50]

Это явление называется модуляцией по скорости. Периодическое изменение напряжения в зазорах 442а 442d означает периодическое изменение скорости электронов, составляющих электронные пучки 462. На основании этой скорости электронные пучки 462 образуют электронные группы. Когда электроны, сгруппированные посредством модуляции по скорости в первом резонаторе 440а, достигают следующих зазоров 442b, находящихся под напряжением V•ejωt, группирование электронов в электронных пучках происходит более интенсивно вследствие взаимодействия между электронными пучками и зазорами 442b. В это время, группы плотно собранных электронов имеют высокую энергию, а группы неплотно собранных электронов низкую энергию.

[51]

Теперь будет описана кинетика электронов, образующих электронные пучки 462. Хотя электроны, введенные в трубку 440, движутся с постоянной скоростью, электронные пучки 462 стремятся рассеиваться в трубке 440. Это происходит вследствие взаимного отталкивания многих электронов, присутствующих в трубке 440. Когда происходит рассеивание электронных пучков 462, они ударяют о стенку трубки 440, в результате чего кинетическая энергия электронов потребляется в виде тепловой энергии.

[52]

Чтобы воспрепятствовать подобному явлению, создается электромагнитное поле в пространствах, через которые проходят электронные пучки 462. Для образования электромагнитного поля в пространствах для прохождения электронных пучков клистрон 400 снабжен магнитной системой.

[53]

Магнитная система включает в себя следующие четыре части:
1) Магниты 450а и 450b, которые являются постоянными магнитами и служат в качестве источника магнитного потока.

[54]

2) Полюсные наконечники 470а и 470b, которые применяются для направления магнитных потоков, создаваемых магнитами 450а и 450b, в пространствa, где присутствуют электронные пучки 462, и для обеспечения равномерного распределения магнитных потоков в каналах трубки 440.

[55]

3) Каналы трубки 440, которые являются пространствами для присутствия электронных пучков 462 и в которых должна поддерживаться заданная плотность магнитного потока.

[56]

4) Ярмо 402, которое служит в качестве магнитопровода для получения замкнутого контура магнитного потока.

[57]

Так как вышеуказанные четыре части составляют магнитную цепь, то в пространствах для прохождения электронных пучков поддерживается однородная и надлежащая плотность магнитного потока.

[58]

Вышеупомянутая конструкция весьма полезна для уменьшения ее объема, так как позволяет упростить магнитную систему.

[59]

К факторам, определяющим электромагнитное поле, относятся первеaнс, радиус электронного пучка и количество электронных пучков. Плотность магнитного потока B в многопучковом клистроне может быть выражена следующим уравнением:
B = {(1/2 rb)(μP•VO/N)}1/2
где "rb" радиус электронного пучка,
"μP" микро-первеанс,
"VO" напряжение возбуждения между электронной пушкой 460 и собирающим электродом 490
"N " количество электронных пучков.

[60]

При использовании однопучкового клистрона необходимая плотность магнитного потока составляет около 14.082 Гаусса. Эта величина по существу в 12 раз больше той, которая требуется при использовании многопучкового клистрона.

[61]

Когда электромагнитное поле, создаваемое вышеупомянутой магнитной системой, наведено таким образом, что направление его наведения соответствует направлению распространения электронных пучков 462, постоянно и поступательно перемещающиеся электроны движутся без приложения какой-либо силы. Однако электроны, стремящиеся рассеиваться радиально наружу, находятся под действием тангенциальной силы так, что они могут поступательно перемещаться, двигаясь по спирали. Следовательно, сдерживается рассеивание электронного пучка 462.

[62]

Электронные пучки 462, поступательно перемещающиеся вышеупомянутым образом, затем достигают первого объемного резонатора 440а. Когда электромагнитное поле небольшой энергии подводится или отводится от внешнего или другого объемного резонатора в первый объемный резонатор 440а, электроны модулируются по скорости вследствие налагаемых на них электромагнитных волн.

[63]

Модулирование по скорости определяется временем прохождения электронов через первый объемный резонатор 440а и интенсивностью электромагнитного поля в зазорах 442а первого объемного резонатора 440а. Интенсивность электромагнитного поля изменяется в соответствии с синусоидальной функцией. Количество падающих электронов изменяется с определенной скоростью. Таким образом, цикл группирования электронов соответствует циклу электромагнитных волн.

[64]

Следовательно, электронные пучки, выходящие из первого объемного резонатора 440а, имеют неоднородную плотность электронов. Хотя электронные пучки и принимают более или менее сгруппированную форму, это недостаточно для удовлетворительного выхода энергии при такой сгруппированной форме. Поэтому для увеличения плотности электронов требуется повторить вышеуказанный процесс.

[65]

Другими словами, в тот момент, когда группа более или менее сгруппированных электронов достигает второго объемного резонатора 440b, ведущие электроны в электронной группе теряют свою энергию, кoторая, в свою очередь, передается электронам, следующим за ведущими электронами. В результате электронная группа имеет более увеличенную плотность.

[66]

Этот результат может быть получен в третьем объемном резонаторе 440с. В конце концов может быть достигнуто достаточное группирование электронов.

[67]

Когда электронные пучки 462, подвергшиеся многократному группированию электронов, достигают четвертого объемного резонатора 440d, генерируется индуктивный ток. Такой индуктивный ток повторно генерируется вышеупомянутым образом, когда группы электронов, подвергшихся группированию, последовательно вводятся в четвертый объемный резонатор 440d.

[68]

Индукционный ток служит для возбуждения и распределения электромагнитного поля в противоположных широких пространствах каждого из объемных резонаторов 440а 440d. В центральных зазорах 442а 442d индукционный ток служит для повторного изменения электромагнитного поля.2 Энергия электромагнитных волн (в иллюстрируемом случае электромагнитные волны имеют частоту f около 2450 МГц) может выделяться наружу из четвертого объемного резонатора 440d по коаксиальной линии 424, которая имеет связь петлей 424а, электрически соединенную с электромагнитным полем в четвертом объемном резонаторе 440d.

[69]

С другой стороны, плотность электрического заряда каждой группы электронов должна увеличиваться для достижения высокой энергии электромагнитной волны. Однако такое возрастание плотности электрического заряда приводит к большому увеличению взаимного отталкивания электронов. Поэтому, необходимы увеличение плотности магнитного потока и повышение напряжения в соответствии с увеличенной плотностью электрического заряда.

[70]

Однако для получения необходимой плотности магнитного потока необходима громоздкая магнитная система. Более того, при использовании повышенного напряжения не ожидается больше низковольтная генерация клистроном.

[71]

По этим причинам при настоящем изобретении применяется многопучковый клистрон.

[72]

Хотя при использовании многопучкового клистрона возможно уменьшение первеaнса каждого электрона, можно улучшить эффективность и добиться высокого выхода при низком напряжении, так как первеaнс всей системы соответствует сумме первеaнсов отдельных электронов и, таким образом, имеет большую величину.

[73]

Следовательно, при использовании многопучкового клистрона микроволновая печь может работать с простой магнитной системой и при низком рабочем напряжении, при этом первеaнс каждого электрона поддерживается на низком уровне. Одновременно микроволновая печь может генерировать высокий выход, при этом первеaнс всей системы поддерживается на высоком уровне.

[74]

Минимальное количество N электронных пучков в многопучковом клистроне соответствует (Vom/Vos)215("Vom " рабочее напряжение многопучкового клистрона и "Vos" рабочее напряжение однопучкового клистрона, соответствующее 4 кВ). На практике количество электронных пучков в многопучковом клистроне должно определяться геометрическим расположением каналов дрейфа (обозначены цифрой 600 на фиг.13). Таким образом, предпочитается, чтобы количество каналов дрейфа в многопучковом клистроне было меньше 500. Например, когда многопучковый клистрон действует при рабочем напряжении в 600 В, требуется 127 электронных пучков. Для работы многопучкового клистрона при рабочем напряжении в 400 В требуется 337 электронных пучков.

[75]

В соответствии с настоящим изобретением радиус каждого электронного пучка 462 определяется заданной величиной радиуса каждого канала дрейфа 600. Когда электронные пучки 462 имеют определенный радиус, они отчасти теряются в каналах дрейфа 600, что вызывает потерю энергии.

[76]

Электронные пучки 462 образуются при концентрировании в точках электронов, генерируемых с поверхности электронной пушки 460. После прохождения через каналы дрейфа 600 эти электронные пучки 462 исчезают при падении на собирающий электрод 490.

[77]

Электронные пучки 462, испускаемые с электронной пушки 460, ускоряются под действием напряженности электромагнитного поля до тех пор, пока они не достигнут полюсного наконечника 470b. После этого, электронные пучки 462 движутся с постоянной скоростью.

[78]

Как упоминалось выше, многопучковый клистрон расщепляет электронный пучок на множество электронных пучков, которые никак не взаимодействуют между собой, таким образом, позволяя электронам действовать независимо. Когда в результате расщепления в итоге получается большое количество электронных пучков, то соответственно уменьшается количество зарядов в каждом электронном пучке. В результате отталкивание электронном не такое сильное даже несмотря на группирование электронов в электронных пучках. Следовательно, можно значительно уменьшить напряженность электромагнитного поля и напряжение на собирающем электроде 490.

[79]

Как ясно из вышеизложенного, при использовании клистрона в микроволновой печи для приготовления пищи отпадает необходимость в высоковольтном трансформаторе. Результатом этого является упрощение конструкции и, таким образом, уменьшение веса и размеров. Для получения напряжения необходимого уровня вместо высоковольтного трансформатора можно использовать простую цепь обратного напряжения.

[80]

Хотя предпочтительные варианты осуществления изобретения сообщены в иллюстративных целях, специалисты поймут, что возможны различные изменения, добавления и замены без отступления от пределов и сущности изобретения, изложенных в прилагаемой формуле изобретения.

[81]

В частности, хотя настоящее изобретение описано в связи с микроволновой печью, где в камере готовки установлена мешалка, оно в равной степени может относиться к микроволновой печи с поворотным кругом.

[82]

Магниты могут иметь кольцевую форму, хотя они описаны как имеющие многоугольную форму. Они могут также иметь форму многогранной решетки.

[83]

Хотя и не описывалось выше, пространства, через которые проходят электронные пучки, поддерживаются в состоянии резонанса, как и в обычных магнетронах, где состояние резонанса создается по образовании антенны. ЫЫЫ2 ЫЫЫ4 ЫЫЫ6 ЫЫЫ8 ЫЫЫ10 ЫЫЫ12

Как компенсировать расходы
на инновационную разработку
Похожие патенты