патент
№ RU 92837
МПК B61D5/00

ЗАПОРНОЕ УСТРОЙСТВО ЖЕЛЕЗНОДОРОЖНОЙ ЦИСТЕРНЫ

Авторы:
Грошев Геннадий Никандрович Дубинкина Татьяна Александровна Иконников Евгений Александрович
Все (6)
Номер заявки
2009147718/22
Дата подачи заявки
23.12.2009
Опубликовано
10.04.2010
Страна
RU
Как управлять
интеллектуальной собственностью
Чертежи 
5
Реферат

Запорное устройство железнодорожной цистерны, содержащее основной затвор, размещенный в нижней части цистерны в зоне выходного окна сливного патрубка и связанный с поворотной штангой, имеющей рукоятки управления в зоне наливной горловины цистерны, и дополнительный затвор, расположенный в конце сливного патрубка цистерны и имеющий средства управления, нижняя крышка сливного патрубка установлена с возможностью вертикального перемещения внутри откидной скобы, которая установлена на шарнирах, закрепленных на сливном патрубке, отличающееся тем, что оно оснащено пломбой, закрепленной на сливном патрубке, на шарнирах которого установлены бобышки со скосами, обеспечивающие закрытие шарниров в рабочем положении запорного устройства, а на головке винта установлена шайба с проушиной с возможностью свободного поворота до совмещения ее отверстия с отверстием на откидной скобе при закручивании винта рукояткой и последующей фиксацией пломбой при затягивании винта. ! 2. Устройство по п.1, отличающееся тем, что пломба выполнена из двух шарнирно соединенных частей, на свободных концах которых соответственно установлено по втулке с возможностью размещения одна в другой, причем во внутренней втулке закреплены на опоре с гибкой перекладиной два захвата, а в наружной втулке жестко закреплены два валика с возможностью размещения в захватах внутренней втулки при вхождении ее в наружную втулку.

Формула изобретения

Запорное устройство железнодорожной цистерны, содержащее основной затвор, размещенный в нижней части цистерны в зоне выходного окна сливного патрубка и связанный с поворотной штангой, имеющей рукоятки управления в зоне наливной горловины цистерны, и дополнительный затвор, расположенный в конце сливного патрубка цистерны и имеющий средства управления, нижняя крышка сливного патрубка установлена с возможностью вертикального перемещения внутри откидной скобы, которая установлена на шарнирах, закрепленных на сливном патрубке, отличающееся тем, что оно оснащено пломбой, закрепленной на сливном патрубке, на шарнирах которого установлены бобышки со скосами, обеспечивающие закрытие шарниров в рабочем положении запорного устройства, а на головке винта установлена шайба с проушиной с возможностью свободного поворота до совмещения ее отверстия с отверстием на откидной скобе при закручивании винта рукояткой и последующей фиксацией пломбой при затягивании винта.

2. Устройство по п.1, отличающееся тем, что пломба выполнена из двух шарнирно соединенных частей, на свободных концах которых соответственно установлено по втулке с возможностью размещения одна в другой, причем во внутренней втулке закреплены на опоре с гибкой перекладиной два захвата, а в наружной втулке жестко закреплены два валика с возможностью размещения в захватах внутренней втулки при вхождении ее в наружную втулку.

Описание

[1]

Полезная модель относится к запорным устройствам цистерн и может быть использована в устройствах для закрытия котлов цистерн на железнодорожном транспорте.

[2]

Известно запорное устройство железнодорожной цистерны, содержащее основной затвор, размещенный в нижней части цистерны в зоне выходного окна сливного патрубка и связанный с поворотной штангой, имеющей рукоятки управления в зоне наливной горловины цистерны, и дополнительный затвор, расположенный на конце сливного патрубка цистерны и имеющий средства управления, основной затвор выполнен в виде шарового крана, имеющего соединенные между собой во внутреннем объеме цистерны, в зоне выходного окна, наружный и расположенный в его полости внутренний корпуса, полости которых имеют входные отверстия, продольные оси которых перпендикулярны к продольной оси сливного патрубка и параллельны продольной оси цистерны, а во входных отверстиях внутреннего корпуса герметично установлены втулки, на выходе из которых установлены неметаллические уплотнительные седла, между которыми размещена шаровая пробка крана с двумя входными и одним выходным отверстиями, при этом по меньшей мере одна из втулок подвижна в осевом направлении и со стороны, противолежащей размещению уплотнительного седла, подпружинена тарельчатой пружиной, имеющей средства регулирования, причем продольные оси входных отверстий наружного корпуса расположены выше осей втулок внутреннего корпуса, а нижняя часть внутренней поверхности втулок расположена ниже нижней части внутренней поверхности цистерны, при этом наружный корпус шарового крана соединен со сливным патрубком с наружной стороны цистерны (RU 2185982, B61D 5/00, 2001).

[3]

Запорное устройство не обладает средствами против несанкционированного открытия цистерны и защитой сливного патрубка.

[4]

Наиболее близким по технической сущности и достигаемому результату является железнодорожная цистерна, включающая котел, установленный на ходовой части посредством рамы, загрузочный люк с крышкой, защитный колпак для сливно-наливной арматуры и защитные экраны, у которой кожух защитного колпака выполнен в виде многогранника со скошенными гранями, вытянутого вдоль оси цистерны, высота которого превышает в 0,03-0,04 раза наибольшую высоту сливно-наливной арматуры, и установлен на дополнительно введенный ограждающий сливно-наливную арматуру желоб, причем на нижних торцевых гранях кожуха защитного колпака и ограждающего желоба установлены петли, через которые посредством оси они соединены друг с другом, а на противоположных нижних торцевых их гранях установлены скобы, через которые с помощью откидного болта кожух защитного колпака закреплен к ограждающему желобу, при этом кожух защитного колпака снабжен ручками, жестко закрепленными на его боковых поверхностях, при этом в скобах кожуха защитного колпака и ограждающего желоба выполнены отверстия для установки в них запорно-пломбировочного устройства (RU 2154588, B61D 5/00, 2000).

[5]

Недостаток известного технического решения состоит в ненадежной работе запорного устройства из-за возможности открытия сливной горловины.

[6]

Технический результат заключается в повышении надежности работы, а также исключения возможности несанкционированного открытия сливной горловины цистерны.

[7]

Указанный технический результат достигается тем, что запорное устройство железнодорожной цистерны, содержащее основной затвор, размещенный в нижней части цистерны в зоне выходного окна сливного патрубка и связанный с поворотной штангой, имеющей рукоятки управления в зоне наливной горловины цистерны, и дополнительный затвор, расположенный в конце сливного патрубка цистерны и имеющий средства управления, нижняя крышка сливного патрубка установлена с возможностью вертикального перемещения внутри откидной скобы, которая установлена на шарнирах, закрепленных на сливном патрубке, согласно предложению оснащено пломбой, закрепленной на сливном патрубке, на шарнирах которого установлены бобышки со скосами, обеспечивающие закрытие шарниров в рабочем положении запорного устройства, а на головке винта установлена шайба с проушиной с возможностью свободного поворота до совмещения ее отверстия с отверстием на откидной скобе при закручивании винта рукояткой и последующей фиксацией пломбой при затягивании винта.

[8]

Кроме того, пломба выполнена из двух шарнирно соединенных частей, на свободных концах которых соответственно установлено по втулке с возможностью размещения одна в другой, причем во внутренней втулке закреплены на опоре с гибкой перекладиной два захвата, а в наружной втулке жестко закреплены два валика с возможностью размещения в захватах внутренней втулки при вхождении ее в наружную втулку.

[9]

Сущность предлагаемой полезной модели поясняется чертежами, где на фиг.1 - показан общий вид; на фиг.2 - поворотная скоба, на фиг.3 - узел А; на фиг.4 - бобышка со скосами, на фиг.5 - вид Б на фиг.4; на фиг.6 - пломба; на фиг.7 - сечение по В-В на фиг.6; на фиг.8 - незакрытое положение пломбы; на фиг.9 - захват валиков пломбы и на фиг.10 - закрытое положение пломбы.

[10]

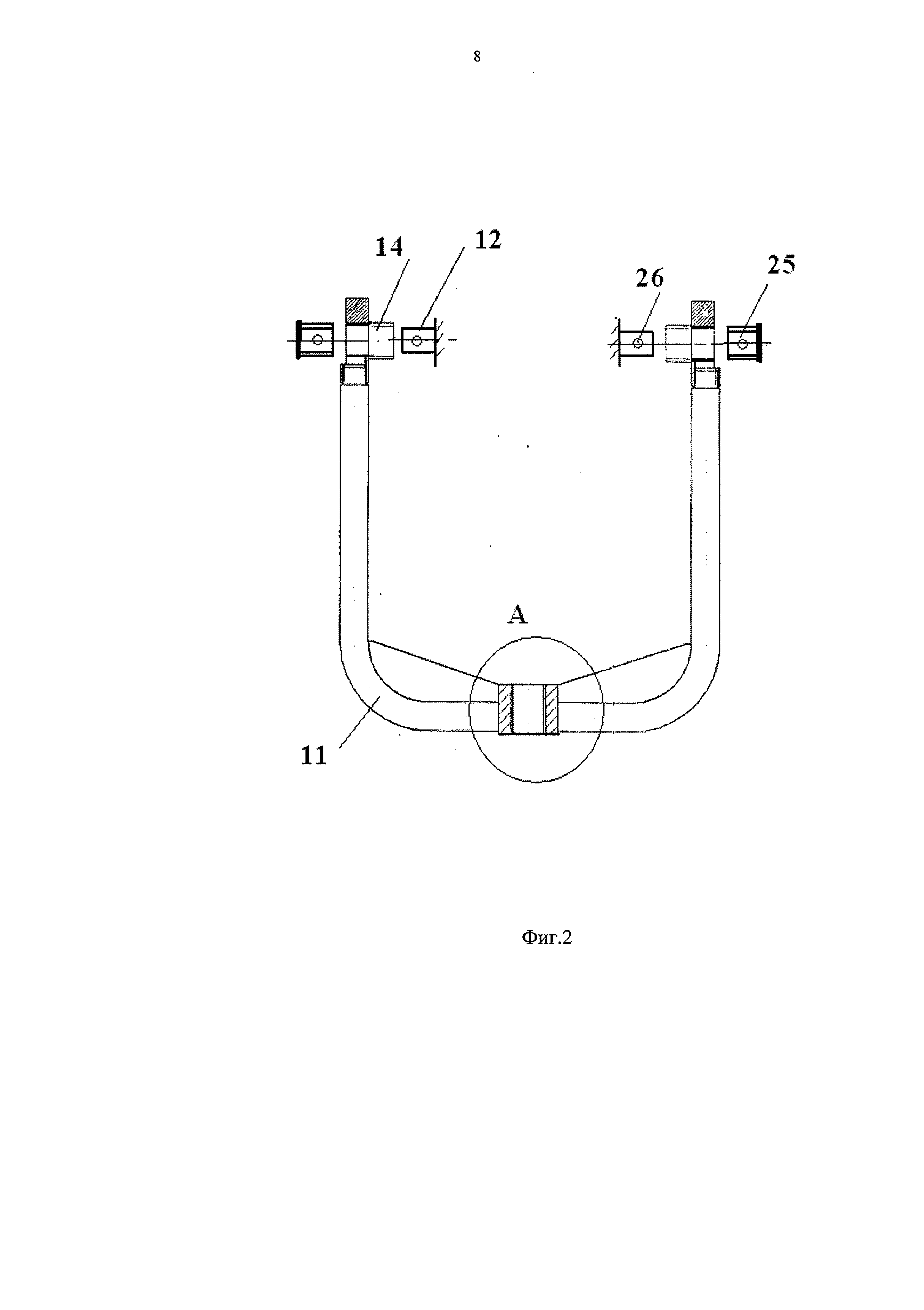
Запорное устройство железнодорожной цистерны содержит основной затвор 1, размещенный в нижней части цистерны в зоне выходного окна сливного патрубка 2 и связанный с поворотной штангой 3. Штанга 3 имеет рукоятки управления 4 в зоне наливной горловины 5 цистерны. Дополнительный затвор 6 расположен в конце сливного патрубка 2 цистерны и имеет средства управления 7 в виде винта 8 с рукояткой 9. Нижняя крышка 10 сливного патрубка 2 установлена с возможностью вертикального перемещения внутри откидной скобы 11, которая установлена на шарнирах 12, закрепленных на сливном патрубке 2. Устройство оснащено пломбой 13, закрепленной на сливном патрубке 2, на шарнирах 12 которого установлены бобышки 14 со скосами.

[11]

На головке винта 8 установлена шайба 15 с проушиной с возможностью свободного поворота до совмещения ее отверстия с отверстием на откидной скобе 11 при закручивании винта 8 рукояткой 9 и последующей фиксацией пломбой 13 при затягивании винта 8.

[12]

Пломба 13 выполнена из двух шарнирно соединенных частей 16 и 17, на свободных концах которых соответственно установлено по втулке 19 и 20 с возможностью размещения одна в другой. Во внутренней втулке 19 закреплены на опоре 21 с гибкой перекладиной 22 два захвата 23, а в наружной втулке 20 жестко закреплены два валика 24 с возможностью размещения в захватах 23 внутренней втулки 19 при вхождении ее в наружную втулку 20.

[13]

Бобышки 14 на откидной скобе 11 установлены таким образом, чтобы обеспечить закрытие фланцев 25 со штифтами 26 в шарнирах 12 в рабочем положении.

[14]

Запорное устройство железнодорожной цистерны работает в следующей последовательности. Приводят в действие средство управления 7 на дополнительном затворе 6. Для чего рукояткой 9 отворачивают винт 8 до полного открытия. При этом отпускают нижнюю крышку 10 по направляющим откидной скобы 11 и отводят дополнительный затвор 6 в сторону от сливного патрубка 2. Подсоединяют технологический шланг или трубу к сливному патрубку 2. Затем осуществляют открытие основного затвора 1 рукояткой управления 4, которой производят вручную вращение поворотной штанги 3, осуществляя поворот шаровой пробки основного затвора 1 из положения "закрыто" в положение "открыто". При этом происходит перетекание жидкости из котла цистерны в открытый сливной патрубок 2 и далее в шланг или трубу.

[15]

Режим работы основного затвора 1 для положения шарового крана "закрыто" осуществляется при вращении в наливной горловине 5 поворотной штанги 3 в положение "закрыто" и с последующим закрытием дополнительного затвора 6. При такой работе запорного устройства железнодорожной цистерны уменьшаются утечки жидкости из цистерны, что соответствует требованиям сохранности при ее перевозке железнодорожным транспортом.

[16]

Установка откидной скобы 11 на шарнирах 12 производится с использованием трубчатых элементов. Эти элементы, имеющие с внешней стороны фланцы 25, которые продеваются через отверстия в верхних концах откидной скобы 11, надеваются на шарниры 12 и закрепляются на них штифтами 26 (рис.2).

[17]

На шарнирах 12 устанавливаются бобышки 14 со скосами, обеспечивающие закрытие штифтов 26 в рабочем положении нижней части запорного устройства (вид Б на фиг.5).

[18]

В нерабочем положении откидная скоба 11 повернута и скосы на бобышках 14 открывают штифты 26 для разборки и снятия нижней крышки 10 со сливного патрубка 2.

[19]

После закручивания винта 8 и установки нижней крышки 10 в проушину шайбы 15 и в проушину откидной скобы 11 устанавливают пломбу 13.

[20]

Пломба 13 из двух соединенных на шарнире 18 частей 16 и 17 цепляется на указанные проушины откидной скобы 11 и шайбы 15 и защелкивается вручную одной рукой. При этом наружная втулка 20 с жестко закрепленными двумя валиками 24 одевается на внутреннюю втулку 19, имеющую на опоре 21 с гибкой перекладиной 22 два захвата 23 (фиг.8-10). Захваты 23 охватывают и зацепляют валики 24 наружной втулки 20, удерживая их при закрытом положении.

[21]

Открыть щупом пломбу 13 нельзя из-за того, что при его введении во втулку 20 он упрется в стенки второй втулки 19 и не дойдет до захватов 23. Таким образом, валики 24 будут надежно захвачены и без видимых следов данную пломбу не вскрыть.

[22]

Преимущества полезной модели заключаются в следующем:

[23]

- герметичность дополнительного затвора предотвращает течь жидкости при неисправном основном затворе;

[24]

- надежная работа запорного устройства при вибрациях и ударах, возникающих в процессе эксплуатации цистерн;

[25]

- закрытия основного затвора во время перестановки цистерны в другое место возможно без установки нижней крышки, что существенно сокращает время слива цистерны;

[26]

- пломба для защиты сливного патрубка цистерны предотвращает несанкционированное ее вскрытие.

[27]

Эффективность запорного устройства заключается в надежной работе и защите сливного патрубка от несанкционированного вскрытия.

Как компенсировать расходы
на инновационную разработку
Похожие патенты