патент
№ RU 92478
МПК F02B3/00

КРЕЙЦКОПФНЫЙ ДВИГАТЕЛЬ ВНУТРЕННЕГО СГОРАНИЯ

Авторы:
Писаров Владимир Константинович
Номер заявки
2009142272/22
Дата подачи заявки
16.11.2009
Опубликовано
20.03.2010
Страна
RU
Как управлять
интеллектуальной собственностью
Чертежи 
1
Реферат

Крейцкопфный двигатель внутреннего сгорания, содержащий остов, включающий фундаментную раму, картер, цилиндры с цилиндровыми втулками и кривошипно-шатунный механизм, состоящий из поршня, штока, крейцкопфа, шатуна и коленчатого вала, а также механизма газораспределения и систем - топливной, воздухоснабжения, газоотвода, охлаждения, смазки и управления, отличающийся тем, что рабочий цилиндр с камерой сгорания и два коленчатых вала расположены в нижней части остова, при этом шатунные шейки коленчатых валов связаны шарнирно с нижними головками шатунов, верхние концы которых посредством шарниров соединены с коромыслом, связанным с крейцкопфом, который представляет собой пустотелый барабан, закрепленный на полом штоке, и поршень, закрепленный в нижней части штока; в головке поршня имеются аккумулятор воздуха и сопло, направленные по оси цилиндра.

Формула изобретения

Крейцкопфный двигатель внутреннего сгорания, содержащий остов, включающий фундаментную раму, картер, цилиндры с цилиндровыми втулками и кривошипно-шатунный механизм, состоящий из поршня, штока, крейцкопфа, шатуна и коленчатого вала, а также механизма газораспределения и систем - топливной, воздухоснабжения, газоотвода, охлаждения, смазки и управления, отличающийся тем, что рабочий цилиндр с камерой сгорания и два коленчатых вала расположены в нижней части остова, при этом шатунные шейки коленчатых валов связаны шарнирно с нижними головками шатунов, верхние концы которых посредством шарниров соединены с коромыслом, связанным с крейцкопфом, который представляет собой пустотелый барабан, закрепленный на полом штоке, и поршень, закрепленный в нижней части штока; в головке поршня имеются аккумулятор воздуха и сопло, направленные по оси цилиндра.

Описание

[1]

Полезная модель относится к двигателям внутреннего сгорания, а именно, к двигателям крейцкопфного типа.

[2]

Известен крейцкопфный двигатель внутреннего сгорания (Фомин Ю.Я. и др. Судовые двигатели внутреннего сгорания, Ленинград, «Судостроение» 1989 г. стр.31-72. Прототип). Он состоит из двух монтажных узлов: остова и кривошипно-шатунного механизма. При этом остов содержит фундаментную раму, картер, цилиндры с установленными в них цилиндровыми втулками и крышек цилиндров, причем детали остова соединены длинными анкерными связями. Кривошипно-шатунный механизм включает поршень, шток, крейцкопф, шатун и коленчатый вал. Кроме того в состав двигателя входят механизм газораспределения и следующие системы: топливная, воздухоснабжения, газоотвода, охлаждения, смазки и управления.

[3]

Недостатки прототипа: несовершенство отдельных конструктивных элементов остова двигателя и кривошипно-шатунного механизма, высокая удельная металлоемкость - от 30 до 48 кг/кВт.

[4]

Поставлена задача - улучшить условия работы двигателя и его эксплуатационные показатели.

[5]

Эта задача решена следующим образом.

[6]

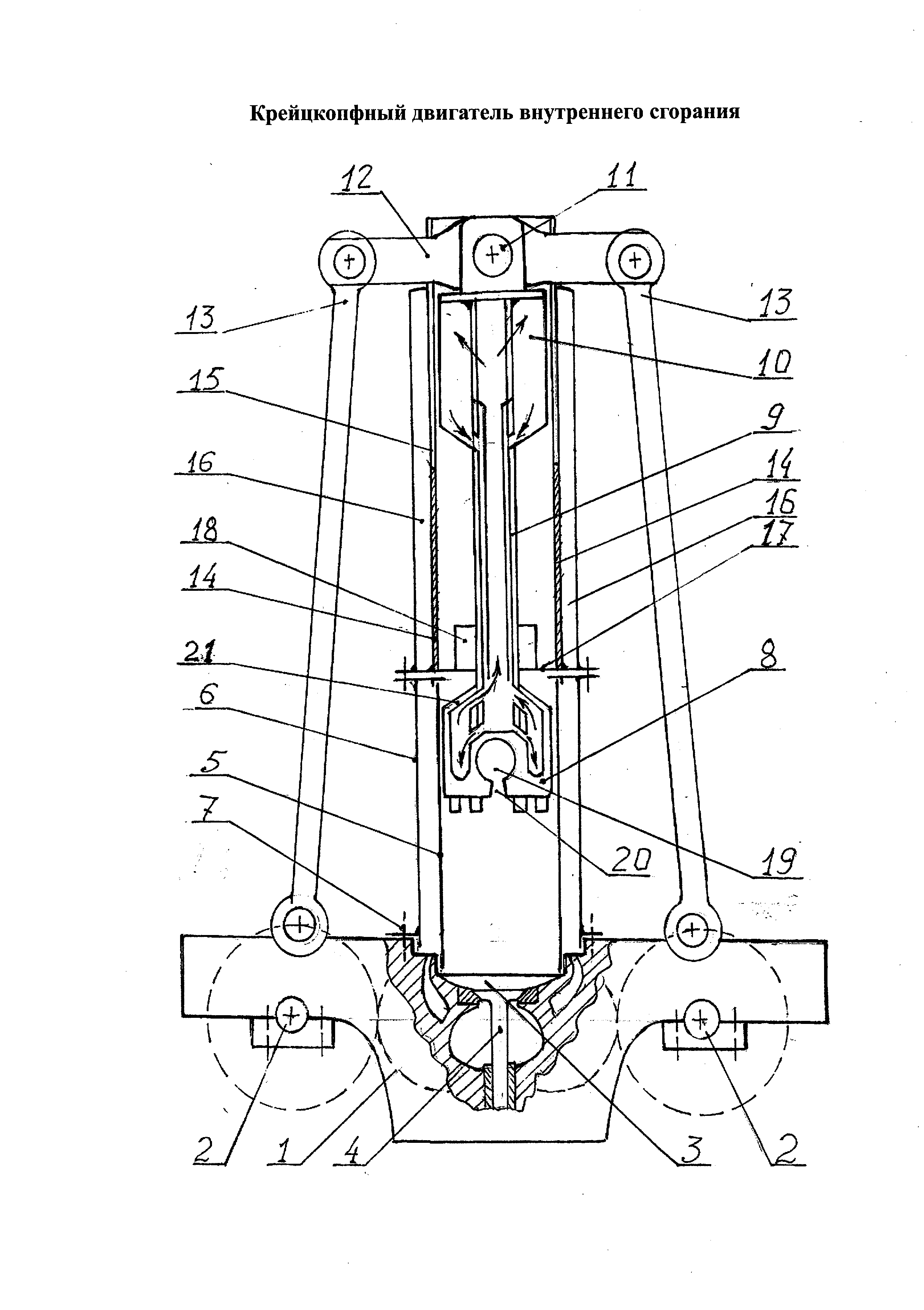
Крейцкопфный двигатель внутреннего сгорания содержит остов, включающий фундаментную раму, картер, цилиндры с цилиндровыми втулками, кривошипно-шатунный механизм состоящий из поршня, штока, крейцкопфа, шатуна и коленчатого вала, а также механизм газораспределения. Кроме, того двигатель содержит системы - топливную, воздухоснабжения, газоотвода, охлаждения, смазки и управления. Рабочий цилиндр с камерой сгорания и два коленчатых вала расположены в нижней части остова, при этом шатунные шейки коленчатых валов шарнирно связаны с нижними головками шатунов, верхние концы которых посредством шарниров соединены с коромыслом связанным с крейцкопфом. Крейцкопф представляет собой пустотелый барабан, закрепленный на полом штоке и поршень, закрепленный в нижней части штока. В головке поршня имеются аккумулятор воздуха и сопло, направленные по оси цилиндра. Далее сущность изобретения поясняется чертежом, на котором в поперечном разрезе схематично изображена конструкция двигателя.

[7]

Двигатель внутреннего сгорания содержит остов 1, на котором снизу закреплены два коленчатых вала 2 с возможностью вращения навстречу друг другу. По центру остова сверху имеется камера сгорания 3, а снизу выпускной клапан 4. Рабочий цилиндр 5 и рубашка охлаждения 6 крепятся к остову 1 болтами 7. Поршень 8 жестко соединен с полым штоком 9, на котором вверху закреплен крейцкопф 10, представляющий из себя цилиндрический короткий барабан. Шток 9 проходит сквозь крейцкопф 10 и заканчивается вверху двумя проушинами, через которые пальцем 11 соединен с коромыслом 12. На концах коромысла 12 имеются пальцы, с которыми подвижно соединены верхние головки двух шатунов 13, а нижние головки шатунов 13 подвижно соединены с шатунными шейками двух коленчатых валов 2. Крейцкопф 10 размещен в двух полуцилиндрических направляющих 14, вдоль направляющих 14 имеются две сквозные прорези 15, в которых перемещается коромысло 12. Направляющие 14 имеют водяные рубашки 16, через которые прогоняется вода для охлаждения крейцкопфа 10. Внутренняя полость рабочего цилиндра 5 и полость направляющих крейцкопфа 14 разделены диафрагмой 17, по центру которой установлен сальник штока 18. В головке поршня 8 имеется аккумулятор воздуха 19 в виде шаровой полости соединенной с камерой сгорания 3 соплом 20, ось которого направлена по центру камеры сгорания 3. Поршень 8 имеет сверху крышку 21, которая герметично закрывает внутренний объем поршня и внутреннюю полость штока 9.

[8]

Двигатель внутреннего сгорания работает следующим образом.

[9]

Когда поршень 8 находится в верхней мертвой точке, в цилиндре 5 открыты продувочные окна, и в камере сгорания 3 открыт выпускной клапан 4, в цилиндре происходит прямоточная продувка. В начале хода поршня 8 вниз сначала перекрываются продувочные окна и в это же время закрывается выпускной клапан 4. При дальнейшем ходе поршня 8 вниз в рабочем цилиндре 5 воздух сжимается, температура сжатого воздуха повышается до температуры обеспечивающей воспламенение топлива, которое распыляется форсункой в камере сгорания 3 от насоса высокого давления в конце хода сжатия. При этом часть воздуха запасается в аккумуляторе воздуха 19 через сопло 20. Сгоревшее топливо повышает температуру и давление в камере сгорания 3. Поршень 8 переходит нижнюю мертвую точку и получает импульс для движения вверх - начинается рабочий ход. По мере удаления поршня 8 от камеры сгорания 3 давление в рабочем цилиндре 5 падает и наступает момент, когда давление в аккумуляторе воздуха 19 станет выше, чем давление в рабочем цилиндре 5. При этом начнется истечение через сопло 20 аккумулированного воздуха по центру рабочего цилиндра 5, струя воздуха дойдет до клапана 4 и создает кольцевой вихрь по стенкам цилиндра 5, обеспечивая этим вихрем хорошее перемешивание несгоревшего топлива с воздухом, процесс этот будет идти на протяжении всего рабочего хода. Усилие от поршня 8 передается на шток 9 затем через палец 11 коромыслу 12 на два шатуна 13, которые при рабочем ходе работают на растяжение, от шатунов 13 усилие передается на шатунные шейки двум коленчатым валам 2 и далее по коленчатым валам 2 на нагрузку двигателя. При рабочем ходе поршень 8 не испытывает нормальной силы, так как сочленен со штоком 9, а не с шатуном, как это делается, например, в тронковом двигателе. Крейцкопф 10 так же не испытывает нормальной силы, так как передает усилие через палец 11 и коромысло 12 на два шатуна 13. Нормальная сила от обоих шатунов направлена навстречу друг другу и замкнувшись на коромысле 12 не воздействуют на крейцкопф 10 и на его направляющие 14.

[10]

При подходе поршня 8 к верхней мертвой точке открываются продувочные окна в цилиндре 5 и в это же время в камере сгорания 3 открывается выпускной клапан 4 и в рабочем цилиндре 5 происходит прямоточная продувка: из рабочего цилиндра 5 удаляются отработанные газы и поступает свежий заряд воздуха для следующего цикла сжатия и рабочего хода. Форсированный двигатель с увеличенным диаметром поршня нуждается в охлаждении поршня 8, так как охлаждаемые стенки рабочего цилиндра 5 не могут обеспечить в достаточной мере охлаждение головки поршня.

[11]

По данному изобретению охлаждение поршня 8 осуществляется испарительным способом изнутри поршня 8. Для этого двигатель скомпонован так, что камера сгорания 3 расположена ниже поршня 8, а поршень 8 и шток 9 соединены не только через центральную часть поршня 8, но и юбка поршня 8, имеющая крышку 21, герметично закрывает внутреннюю полость поршня 8 и внутреннюю полость полого штока 9. В верхней части штока 9 установлен крейцкопф 10, выполненный в виде цилиндрического барабана, нижняя часть крейцкопфа 10 имеет конус, при этом внутренняя часть крейцкопфа 10 герметично соединена со штоком 9, в котором имеются отверстия для объединения полости крейцкопфа 10 и полости поршня 8 в одну герметичную систему. Внутри пустотелого штока 9 установлена трубка для разделения потока пара по центру штока 9, идущего вверх и потока конденсата между трубкой и стенкой штока 9, стекающего из крейцкопфа 10 вниз. Система охлаждения поршня 8 работает по принципу испарения незначительного количества воды в закрытом объеме поршня 8, то есть в головке поршня 8, которая является самой нижней частью системы охлаждения поршня 8. Образовавшийся пар поднимается по трубке 9 в крейцкопф 10 и отдает свою теплоту направляющим 14 и проточной воде в рубашке 16. Пар конденсируется, а конденсат стекает по штоку 9 в полость поршня 8, где конденсат снова отнимает у поршня 8 часть тепла в виде теплоты испарения и в виде пара передает теплоту крейцкопфу 10. Система охлаждения поршня работает автоматически без насоса, но требуется проточная вода для охлаждения направляющих 14 крейцкопфа 10. Технический результат полезной модели - уменьшена высота двигателя, так как шатуны не являются продолжением штока, отсутствуют массивные детали остова двигателя и анкерные связи за ненадобностью, а двухвальная система кривошипно-шатунного механизма избавляет двигатель от нормальной силы и поэтому крейцкопф и направляющие крейцкопфа могут быть предельно облегчены, а двигатель избавлен от поперечной вибрации. Наличие аккумулятора воздуха в поршне обеспечивает полноту сгорания топлива, что позволит уменьшить избыток воздуха в камере сгорания. Таким образом, улучшаются условия работы двигателя и его эксплуатационные показатели.

Как компенсировать расходы
на инновационную разработку
Похожие патенты