патент
№ RU 91773
МПК G06K9/00

СИСТЕМА ПЕРЕДАЧИ ЭЛЕКТРОННЫХ СООБЩЕНИЙ РУКОПИСНЫМ ШРИФТОМ ПОЧЕРКОМ ОТПРАВИТЕЛЯ

Авторы:
Седых Евгений Михайлович
Правообладатель:
Номер заявки
2009109891/22
Дата подачи заявки
18.03.2009
Опубликовано
27.02.2010
Страна
RU
Как управлять
интеллектуальной собственностью
Чертежи 
1
Реферат

Система передачи электронных сообщений рукописным шрифтом почерком отправителя, содержащая средство пользователя отправителя сообщения в виде персонального компьютера или сотового телефона с устройством преобразования и отправки сообщений, включающим соединенные между собой устройство ввода информации с алфавитно-цифровой клавиатурой, устройство обработки данных, устройство отображения информации, например, в виде дисплея, почтовый сервер и сервер сотовой телефонной сети, соединенные со средствами пользователя соответственно в виде персонального компьютера или сотового телефона посредством информационного канала сети обмена электронной информацией отправителя и адресата-получателя электронной корреспонденции или сотовой телефонной сети, отличающаяся тем, что устройство преобразования и отправки сообщений обрабатывает информацию, вводимую с алфавитно-цифровой клавиатуры в соответствии с установленной программой клиента, загруженной информацией о рукописном шрифте, выполненном персональным почерком пользователя, и настроенной таким образом, чтобы вводимая информация отображалась на дисплее и передавалась адресату-получателю в виде сообщения рукописным шрифтом почерком отправителя.

Формула изобретения

Система передачи электронных сообщений рукописным шрифтом почерком отправителя, содержащая средство пользователя отправителя сообщения в виде персонального компьютера или сотового телефона с устройством преобразования и отправки сообщений, включающим соединенные между собой устройство ввода информации с алфавитно-цифровой клавиатурой, устройство обработки данных, устройство отображения информации, например, в виде дисплея, почтовый сервер и сервер сотовой телефонной сети, соединенные со средствами пользователя соответственно в виде персонального компьютера или сотового телефона посредством информационного канала сети обмена электронной информацией отправителя и адресата-получателя электронной корреспонденции или сотовой телефонной сети, отличающаяся тем, что устройство преобразования и отправки сообщений обрабатывает информацию, вводимую с алфавитно-цифровой клавиатуры в соответствии с установленной программой клиента, загруженной информацией о рукописном шрифте, выполненном персональным почерком пользователя, и настроенной таким образом, чтобы вводимая информация отображалась на дисплее и передавалась адресату-получателю в виде сообщения рукописным шрифтом почерком отправителя.

Описание

[1]

Настоящая полезная модель относится к системам электронных сообщений и может быть использована для отправления почтовых корреспонденции по электронным информационным сетям типа Интернет.

[2]

Известна система электронных сообщений по патенту на ПМ RU №47543 для наглядного воспроизведения процесса доставки почтовой корреспонденции адресату-получателю, содержащая средство пользователя-отправителя в виде персонального компьютера с устройством преобразования алфавитно-цифровой информации в виде клавиатуры и средство формирования блока электронного сообщения в виде информационного окна на рабочем столе персонального компьютера и, соединенные между собой посредством информационного канала сети обмена электронной информацией, почтовые серверы отправителя и адресата-получателя электронной корреспонденции.

[3]

Известная система позволяет расширить функциональные возможности электронной почты за счет наглядного воспроизведения процесса доставки корреспонденции адресату-получателю. Однако рассмотренная система не обеспечивает формирование, набор текстового сообщения рукописным шрифтом почерком отправителя на стандартной клавиатуре персонального компьютера или мобильного телефона.

[4]

Известна система передачи и приема аудио/видео и рукописной информации в режиме реального времени по заявке на ИЗО RU №2005120037, включающая средство пользователя-отправителя в виде персонального компьютера со средством формирования блока электронного сообщения в виде информационного окна на рабочем столе персонального компьютера и, соединенные между собой посредством информационного канала сети обмена электронной информацией, почтовые серверы отправителя и адресата-получателя электронной корреспонденции. Известная система обеспечивает передачу рукописной текстовой информации по сети Интернет, но только по типу факсимильного сообщения после сканирования рукописи и последующей ее обработки. Однако известная система не предусматривает формирование текстового сообщения рукописным шрифтом почерком отправителя с использованием для его набора стандартной клавиатуры персонального компьютера или сотового телефона.

[5]

Наиболее близкой по технической сущности является система передачи и приема сообщений по патенту на ПМ RU №48086, содержащая средство пользователя отправителя в виде персонального компьютера с устройством преобразования и отправки сообщений, включающим соединенные между собой устройство ввода информации с алфавитно-цифровой клавиатурой, устройство обработки данных, устройство отображения информации, например, в виде дисплея и, соединенные между собой посредством информационного канала сети обмена электронной информацией, почтовые серверы отправителя и адресата-получателя электронной корреспонденции.

[6]

Известная система обеспечивает сокращение времени передачи изобразительной и графической информации, но не позволяет сформировать текстовое сообщение рукописным шрифтом почерком отправителя, используя стандартную алфавитно-цифровую клавиатуру персонального компьютера.

[7]

Задачей, на решение которой направлена заявляемая полезная модель, является создание системы передачи электронных сообщений рукописным шрифтом почерком отправителя, сформированных с помощью стандартной клавиатуры персонального компьютера или сотового телефона.

[8]

Указанный результат достигается тем, что в системе передачи электронных сообщений, содержащей средство пользователя отправителя сообщения в виде персонального компьютера или сотового телефона с устройством преобразования и отправки сообщений, включающим соединенные между собой устройство ввода информации с алфавитно-цифровой клавиатурой, устройство обработки данных, устройство отображения информации, например, в виде дисплея, почтовый сервер и сервер сотовой телефонной сети, соединенные со средствами пользователя соответственно в виде персонального компьютера или сотового телефона посредством информационного канала сети обмена электронной информацией отправителя и адресата-получателя электронной корреспонденции или сотовой телефонной сети. Устройство преобразования и отправки сообщений обрабатывает информацию, вводимую с алфавитно-цифровой клавиатуры в соответствии с программой клиента, установленной у пользователя. В программу загружена информация о рукописном алфавите, выполненном персональным почерком пользователя.

[9]

Преобразование и передача адресату-получателю сообщений рукописным шрифтом почерком отправителя осуществляется файлом TTF (True Type Font), который отвечает за представление текста в операционной системе Windows или других системах при инсталляции на другой персональный компьютер. Или в виде «Plug In» к Microsoft Offise, Microsoft Word и других аналогичных систем и программ. Также с помощью «ATM» в виде голосового слота по обычным голосовым каналам передаются SMS-сообщения стандарта GSM и др. стандартов на мобильные телефоны и др. устройства.

[10]

Образец индивидуального рукописного почерка в виде текста, составленного с использованием всего алфавита, всевозможных знаков, символов и цифр (так называемый «тестовый образец почерка») сканируется с высоким разрешением. Затем, в полуавтоматическом режиме разбирается по буквам, знакам, символам и цифрам. Далее, в том же режиме, с помощью известной программы «Font Lab» преобразуется (моделируется) из растрового изображения, состоящего из точек и соединений между ними, во всевозможные буквы, знаки, символы и цифры с различными типами их соединения в векторном представлении. Это называется «оцифровка» или «векторизация». В результате получаем набор «векторных примитивов». На основе этого набора «векторных примитивов» программа «Font Lab» позволяет сформировать TTF-файл со шрифтом, знаками и символами, выполненными персональным рукописным почерком в стандартном формате, который может быть открыт в любой стандартной программе ПК. В результате, получается шрифт, с которым можно работать в любом приложении под управлением операционной системы «Windows». Далее шрифт через панель управления устанавливается в ПК в ОС «Windows», в «шрифты» под своим оригинальным названием.

[11]

Предлагаемая система передачи электронных сообщений рукописным шрифтом почерком отправителя позволяет расширить возможности электронной почты, оперативно передавая информацию, содержащую индивидуальные особенности отправителя, выраженные в характерном для его почерка начертании букв и символов. Наиболее вероятная предпочтительная область использования заявляемой системы - это поздравительные сообщения и личная переписка.

[12]

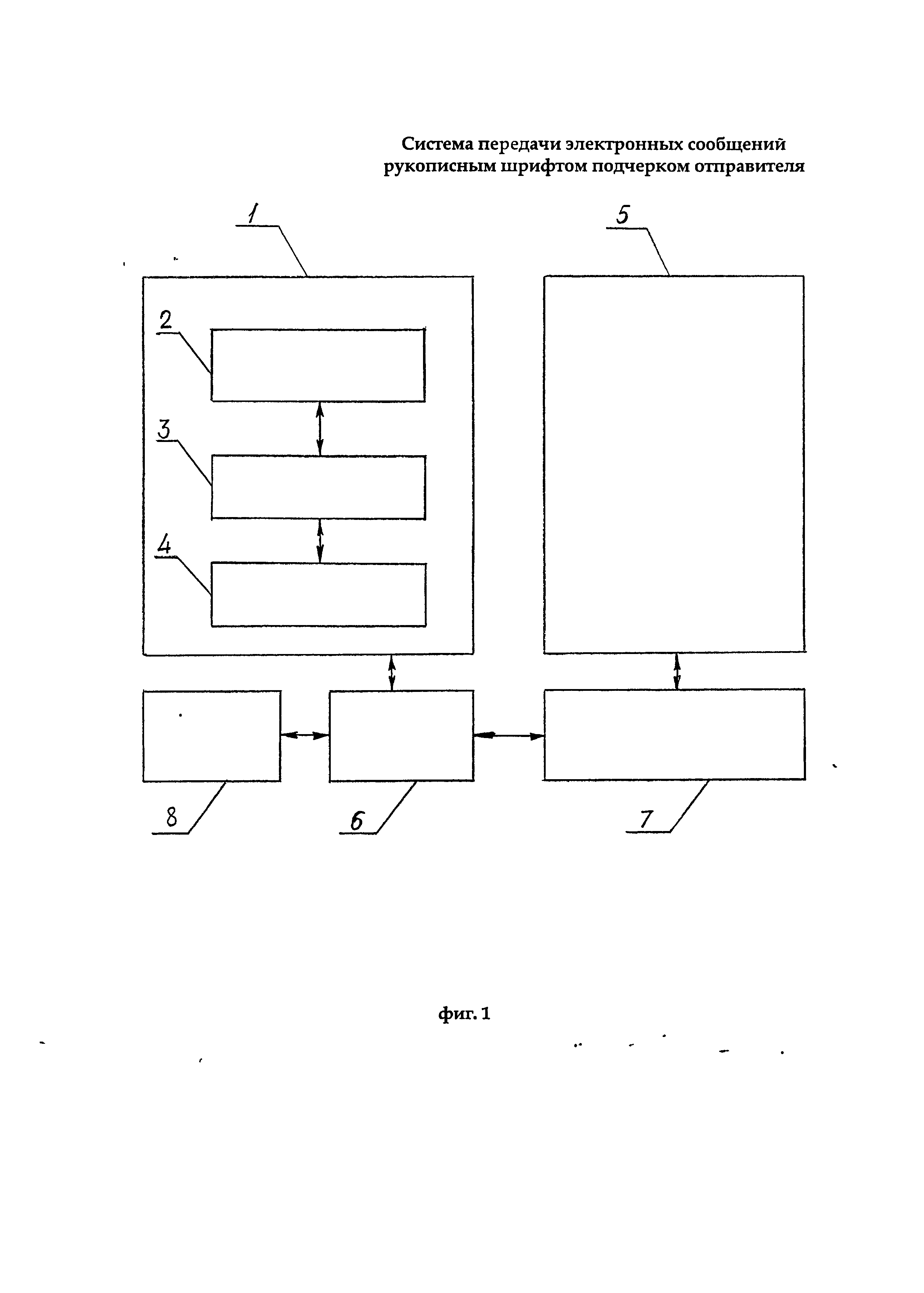
Сущность заявляемой полезной модели поясняется чертежом, на котором показана структурная схема предлагаемой системы электронных сообщений, где фиг.1 - общий вид.

[13]

Система передачи электронных сообщений рукописным шрифтом почерком отправителя содержит средство пользователя отправителя сообщения в виде персонального компьютера или сотового телефона с устройством преобразования и отправки сообщений 1, включающим соединенные между собой устройство ввода информации 2 с алфавитно-цифровой клавиатурой, устройство обработки данных 3, устройство отображения информации 4, например, в виде дисплея, почтовый сервер 5 и сервер сотовой телефонной сети 6, соединенные со средствами пользователя соответственно, в виде персонального компьютера или сотового телефона посредством информационного канала сети 7 обмена электронной информацией отправителя и адресата-получателя электронной корреспонденции или сотовой телефонной сети 8.

[14]

Любой пользователь, желающий отправлять текстовые сообщения личным почерком, устанавливает на своем компьютере или сотовом телефоне программу, позволяющую обрабатывать вводимую с помощью клавиатуры информацию, отображать ее на дисплее и передавать адресату-получателю в виде сообщения рукописным шрифтом почерком отправителя.

[15]

Система передачи электронных сообщений рукописным шрифтом почерком пользователя работает следующим образом.

[16]

Вариант 1.

[17]

Открываем любой растровый редактор, например, "Fotoshop", выбираем «индивидуальный» шрифт, набираем текст этим шрифтом и сохраняем его в виде растрового файла в любом месте, например, на «рабочем столе». Затем отправляем его получателю в письме как обычный прикрепленный файл, в виде «jpeg», «pnd» или «pdf». Получатель открывает этот файл с помощью любой программы, позволяющей просматривать графические файлы. Что защищает письмо от подделки и исправлений в нем.

[18]

Вариант 2.

[19]

Письмо передается любым документом в формате HTML, DOC или «CorelDRAW» получателю, у которого в ПК в ОС «Windows» установлен «индивидуальный» шрифт отправителя, полученный в виде прикрепленного «attach»-файла.

[20]

Пользователь с помощью алфавитно-цифровой клавиатуры вводит передаваемую информацию в устройство преобразования и отправки сообщений 1, где эта информация обрабатывается в соответствии с программой клиента, установленной у пользователя. В программу загружена информация о рукописном алфавите, выполненном персональным почерком пользователя. После обработки введенной с помощью клавиатуры информации, она отображается на дисплее и передается адресату-получателю в виде сообщения рукописным шрифтом почерком отправителя.

Как компенсировать расходы
на инновационную разработку
Похожие патенты