патент
№ RU 89946
МПК A61B17/34

НАБОР ИГЛ ДЛЯ СПИНАЛЬНО-ЭПИДУРАЛЬНОЙ АНЕСТЕЗИИ

Авторы:
Кобрин Виктор Викторович Кобрин Виктор Пантейлемонович Глущенко Владимир Анатольевич
Все (4)
Номер заявки
2009126709/22
Дата подачи заявки
13.07.2009
Опубликовано
27.12.2009
Страна
RU
Как управлять
интеллектуальной собственностью
Чертежи 
4
Реферат

Набор игл для спинально-эпидуральной анестезии, включающий эпидуральную и спинальную иглы, эпидуральная игла состоит из павильона, фиксатора и полого стержня, на дистальной части которого выполнен срез и имеющего сквозное отверстие для проведения спинальной иглы; спинальная игла состоит из павильона, фиксатора и полого стержня с центрирующей муфтой, на дистальной части полого стержня выполнен срез, отличающийся тем, что в качестве сквозного отверстия для проведения спинальной иглы использовано отверстие полого стержня эпидуральной иглы, образуемого срезом под углом 37º, срез спинальной иглы выполнен под углом 35º, спинальная игла снабжена градуированным выступом, расположенным на павильоне иглы параллельно полому стержню в дистальном направлении, причем ширина градуированного выступа - не менее 1 мм, толщина - не более 1 мм, а длина его участка, выходящего за пределы фиксатора эпидуральной иглы в рабочем состоянии игл, равна максимальной длине полого стержня спинальной иглы, выступающего из среза эпидуральной в рабочем состоянии игл, на павильоне эпидуральной иглы и ее фиксаторе выполнены соосные прорези для прохождения градуированного выступа; плоскости среза спинальной иглы и градуированного выступа расположены взаимно перпендикулярно.

Формула изобретения

Набор игл для спинально-эпидуральной анестезии, включающий эпидуральную и спинальную иглы, эпидуральная игла состоит из павильона, фиксатора и полого стержня, на дистальной части которого выполнен срез и имеющего сквозное отверстие для проведения спинальной иглы; спинальная игла состоит из павильона, фиксатора и полого стержня с центрирующей муфтой, на дистальной части полого стержня выполнен срез, отличающийся тем, что в качестве сквозного отверстия для проведения спинальной иглы использовано отверстие полого стержня эпидуральной иглы, образуемого срезом под углом 37º, срез спинальной иглы выполнен под углом 35º, спинальная игла снабжена градуированным выступом, расположенным на павильоне иглы параллельно полому стержню в дистальном направлении, причем ширина градуированного выступа - не менее 1 мм, толщина - не более 1 мм, а длина его участка, выходящего за пределы фиксатора эпидуральной иглы в рабочем состоянии игл, равна максимальной длине полого стержня спинальной иглы, выступающего из среза эпидуральной в рабочем состоянии игл, на павильоне эпидуральной иглы и ее фиксаторе выполнены соосные прорези для прохождения градуированного выступа; плоскости среза спинальной иглы и градуированного выступа расположены взаимно перпендикулярно.

Описание

[1]

Полезная модель относится к области медицины, а именно медицинской технике и может использоваться при выполнении пункций и катетеризации эпидурального и субарахноидального пространств.

[2]

В настоящее время для пункции эпидурального и субарахноидального пространств в основном используются иглы типа «Tuohy» (Туохи) (Medical Products B/BRAUN, 1998, стр.161); набор игл для спинально-эпидуральной анестезии «Espocan» (Medical Products B/BRAUN, 1998, p.156).

[3]

Недостаток иглы Туохи для проведения комбинированной спинально-эпидуральной анестезии состоит в том, что спинальная игла выходит из эпидуральной иглы под углом 13-15 градусов, что повышает риск неудач пункции субарахноидального пространства. Недостатком также является то, что диаметр среза ее дистальной части значительно превышает диаметр используемой спинальной иглы, что приводит к вращению спинальной иглы вокруг своей оси и за счет чего продвижение спинальной иглы к твердой мозговой оболочке становится неуправляемым с развитием непредусмотренных повреждений анатомических образований на ее пути, а также рассечение спинальной иглой волокон твердой мозговой оболочки в поперечном направлении, следствием чего являются постпункционные головные боли.

[4]

В качестве прототипа по наиболее близкой технической сущности нами выбран набор «Espocan», в состав которого входят эпидуральная и спинальная иглы. (Medical Products B/BRAUN, 1998, p.156).

[5]

Набор предназначен для комбинированной спинально-эпидуральной анестезии. Эпидуральная игла состоит из павильона, фиксатора и полого стержня, на дистальной части которого выполнен срез типа Туохи. В нижней части дистального отдела эпидуральной иглы выполнено сквозное отверстие для проведения спинальной иглы. Спинальная игла состоит из павильона, фиксатора и полого стержня с центрирующей муфтой, на дистальной части иглы выполнен срез в виде карандашной заточки.

[6]

Недостатками прототипа являются:

[7]

- Срез типа Туохи эпидуральной иглы, а также наличие сквозного отверстия в нижней части дистального отдела эпидуральной иглы (для проведения спинальной иглы) приводят к такой глубине ее введения в эпидуральное пространство, что приближает режущую кромку иглы к твердой мозговой оболочке, и увеличивает риск ее случайной перфорации, что, в свою очередь, является риском непреднамеренной катетеризации субарахноидального пространства.

[8]

- Карандашная заточка спинальной иглы приводит к необходимости введения значительной части дистального отдела спинальной иглы в субарахноидальное пространство, что повышает риск повреждения его структур.

[9]

- Возможность вращения спинальной иглы вокруг своей оси и создание условий для дополнительного повреждения тканей.

[10]

Отсутствует возможность объективизации длины спинальной иглы, выступающей за просвет эпидуральной, что повышает риск повреждения спинного мозга.

[11]

Задачей полезной модели является:

[12]

- снижение риска перфорации внутреннего листка твердой мозговой оболочки эпидуральной иглой с последующей непреднамеренной катетеризацией субарахноидального пространства;

[13]

- уменьшение травматизации анатомических структур эпидурального пространства при продвижении иглы и катетера в эпидуральное пространство,

[14]

- снижение риска повреждения структур субарахноидального пространства при использовании спинальной иглы;

[15]

- повышение точности прохождения спинальной иглы при продвижении ее в субарахноидальное пространство по изначально заданному ей направлению;

[16]

Техническим результатом полезной модели является:

[17]

- устранение близкого приближения режущей кромки эпидуральной иглы к твердой мозговой оболочке за счет уменьшения глубины введения дистальной части иглы в эпидуральное пространство;

[18]

- обеспечение введения среза спинальной иглы параллельно расположению волокон твердой мозговой оболочки;

[19]

- создание возможности объективного определения длины части спинальной иглы, выступающей за пределы эпидуральной иглы.

[20]

Поставленный технический результат достигается тем, что набор игл для комбинированной спинально-эпидуральной анестезии включает эпидуральную и спинальную иглы. Эпидуральная игла состоит из павильона, фиксатора и полого стержня. В качестве сквозного отверстия для проведения спинальной иглы использовано отверстие полого стержня эпидуральной иглы, образуемого срезом под углом 37 градусов. Спинальная игла состоит из павильона, фиксатора и полого стержня с центрирующей муфтой, на дистальной части иглы выполнен срез под углом 35°. Спинальная игла снабжена градуированным выступом, расположенным на ее павильоне и параллельно полому стержню в дистальном направлении. Ширина градуированного выступа, - не менее 1 мм, толщина - не более 1 мм, а длина его участка, выходящего за пределы фиксатора эпидуральной иглы в рабочем состоянии игл, равна максимальной длине полого стержня спинальной иглы, выступающего из среза эпидуральной, в рабочем состоянии игл. На павильоне эпидуральной иглы и ее фиксаторе выполнены соосные прорези для прохождения градуированного выступа. Плоскости среза спинальной иглы и градуированного выступа расположены взаимно перпендикулярно.

[21]

Отличительными существенными признаками заявляемой полезной модели являются:

[22]

1. В качестве сквозного отверстия для проведения спинальной иглы использовано отверстие полого стержня эпидуральной иглы, образуемого срезом под углом 37 градусов.

[23]

2. Срез спинальной иглы выполнен под углом 35 градусов.

[24]

3. Спинальная игла снабжена градуированным выступом, расположенным на ее павильоне и параллельно полому стержню в дистальном направлении, причем, ширина градуированного выступа, - не менее 1 мм, толщина - не более 1 мм, а длина его участка, выходящего за пределы фиксатора эпидуральной иглы в рабочем состоянии игл, равна максимальной длине полого стержня спинальной иглы, выступающего из среза эпидуральной, в рабочем состоянии игл.

[25]

4. Выполнение на павильоне эпидуральной иглы и ее фиксаторе соосных прорезей для прохождения градуированного выступа.

[26]

5. Расположение среза спинальной иглы и градуированного выступа во взаимно перпендикулярных плоскостях.

[27]

Причинно-следственная связь между отличительными существенными признаками и достигаемым результатом:

[28]

1. Выполнение среза полого стержня эпидуральной иглы под углом 37 градусов, используемого для проведения спинальной иглы, уменьшает глубину введения эпидуральной иглы в эпидуральное пространство, что снижает риск перфорации внутреннего листка твердой мозговой оболочки с последующей непреднамеренной катетеризацией субарахноидального пространства и уменьшает травматизацию анатомических структур эпидурального пространства при проведении иглы и катетера в эпидуральное пространство, а также структур субарахноидального пространства при проведении спинальной иглы.

[29]

Зона безопасности (S) определяется расстоянием от вершины среза дистальной части иглы, введенной в эпидуральное пространство, до твердой мозговой оболочки по линии пункции эпидурального пространства. В общем виде S=L-1 (формула 1), где: L - расстояние от наружного до внутреннего листка твердой мозговой оболочки по линии пункции, 1 - длина перфорирующей части эпидуральной иглы в миллиметрах, находящейся в эпидуральном пространстве. Перфорирующая часть (1) иглы - минимальная часть иглы, полностью открывающаяся своим выходным отверстием в эпидуральном пространстве. Величина L зависит от абсолютной ширины (а) и угла пункции (α) эпидурального пространства. Эта зависимость может быть выражена в виде: L=a/sinα мм. Подставив значение L в формулу (1), получаем выражение: S=(а/sinα-1) мм (формула 2). Величина перфорирующей части полезной модели эпидуральной иглы (1) изменяется в зависимости от наружного диаметра (d) иглы, угла ее заточки (β) и угла пункции эпидурального пространства (α).Эта зависимость выражается формулой: 1=[d·sin(α-β)]/(sinβ·sinα) мм. Таким образом, зона безопасности для полезной модели эпидуральной иглы в развернутом виде приобретает выражение: S=(а/sinα -[d·sin(α-β)]/(sinβ·sinα) мм (формула 3). Приведенная формула позволяет оценивать вероятность возможных осложнений при пункции эпидурального пространства полезной моделью эпидуральной иглы на различных его уровнях.

[30]

На Фиг.1 представлена схема пункции эпидурального пространства заявляемой полезной моделью и расчета зоны безопасности, где: 1 - наружный листок твердой мозговой оболочки; 2 - внутренний листок твердой мозговой оболочки; 3 - перфорирующая часть (1) полезной модели; 4 - зона безопасности (S); 5 - расстояние от наружного до внутреннего листка (L) твердой мозговой оболочки по линии пункции эпидурального пространства; 6 - ширина (а) эпидурального пространства; 7 - диаметр (d) эпидуральной иглы; 8 - угол (β) заточки эпидуральной иглы; 9 - угол пункции (α) эпидурального пространства.

[31]

В случае, когда угол заточки полезной модели эпидуральной иглы (β) равен углу пункции (α) эпидурального пространства, выражение [d·sin(α-β)]/(sinβ·sinα)=0 и S=a/sinα, т.е. зона безопасности в таких случаях будет равна расстоянию от наружного до внутреннего листка твердой мозговой оболочки по линии пункции (L) эпидурального пространства, и, следовательно, будет максимальна. Во всех остальных случаях пункции эпидурального пространства выражение [d·sin (α-β)]/(sinβ·sinα) будет увеличиваться, а зона безопасности, соответственно, уменьшаться.

[32]

На Фиг.2 представлены сравнительные схемы зон безопасностей аналога, прототипа и заявляемой полезной модели, где: 1 - наружный листок твердой мозговой оболочки; 2 - внутренний листок твердой мозговой оболочки; 3 - зона безопасности заявляемой полезной модели; 4 - зона безопасности аналога; 5 - зона безопасности прототипа; 6 - заявляемая полезная модель; 7 - игла аналог; 8 - игла - прототип; 9 - эпидуральное пространство.

[33]

2. Выполнение среза спинальной иглы под углом 35 градусов приводит к уменьшению глубины введения дистального отдела спинальной иглы в субарахноидальное пространство, что снижает риск травматизации его структур.

[34]

3. Наличие градуированного выступа, расположенного на павильоне спинальной иглы параллельно полому стержню в дистальном направлении, позволяет определять длину полого стержня спинальной иглы, выступающего из среза эпидуральной в рабочем состоянии игл.

[35]

Ширина градуированного выступа должна быть не менее 1 мм, а толщина - не более 1 мм, что необходимо для удобства использования.

[36]

Для того чтобы контролировать максимально допустимую длину полого стержня спинальной иглы, выступающего из среза дистальной, в рабочем состоянии игл, длина участка градуированного выступа, выходящего за пределы фиксатора эпидуральной иглы в рабочем состоянии игл, равна максимальной длине полого стержня спинальной иглы, выступающего из среза дистальной, в рабочем состоянии игл.

[37]

4. Наличие на павильоне эпидуральной иглы и ее фиксаторе соосных прорезей для прохождения градуированного выступа предотвращает вращение спинальной иглы вокруг своей оси и направляет плоскость ее среза в дистальном отделе параллельно волокнам твердой мозговой оболочки.

[38]

5. Расположение среза спинальной иглы и градуированного выступа во взаимно перпендикулярных плоскостях создает условие движению среза спинальной иглы параллельно волокнам твердой мозговой оболочки;

[39]

Совокупность отличительных существенных признаков является новой и обеспечивает:

[40]

- устранение близкого приближения режущей кромки эпидуральной иглы к твердой мозговой оболочке за счет уменьшения глубины введения дистальной части иглы в эпидуральное пространство;

[41]

- введение среза спинальной иглы параллельно расположению волокон твердой мозговой оболочки;

[42]

- возможность объективного определения длины полого стержня спинальной иглы, выступающего за пределы полого стержня эпидуральной иглы.

[43]

Все вышеперечисленное позволяет;

[44]

- снизить риск перфорации внутреннего листка твердой мозговой оболочки эпидуральной иглой с последующей непреднамеренной катетеризацией субарахноидального пространства;

[45]

- уменьшить травматизацию анатомических структур эпидурального пространства при продвижении иглы и катетера в эпидуральное пространство;,

[46]

- повысить точность прохождения спинальной иглы при продвижении ее в субарахноидальное пространство по изначально заданному ей направлению;

[47]

- снизить риск повреждения структур субарахноидального пространства при использовании спинальной иглы;

[48]

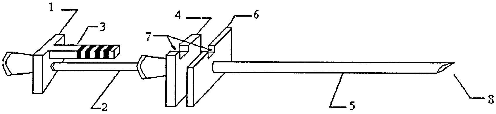
Сущность полезной модели поясняется чертежом, где на Фиг.3 схематично изображен общий вид набора игл для спинально - эпидуральной анестезии в рабочем состоянии:

[49]

1. - павильон спинальной иглы

[50]

2. - полый стержень спинальной иглы

[51]

3. - градуированный выступ

[52]

4. - павильон эпидуральной иглы

[53]

5. - полый стержень эпидуральной иглы

[54]

6. - фиксатор эпидуральной иглы

[55]

7. - соосные прорези в павильоне и фиксаторе эпидуральной иглы

[56]

8. - срез полого стержня эпидуральной иглы

[57]

На Фиг.4 схематично изображена спинальная игла полезной модели, где:

[58]

1 - павильон спинальной иглы

[59]

2 - полый стержень спинальной иглы

[60]

3. градуированный выступ

[61]

9 - срез дистальной части спинальной иглы

[62]

10 - центрирующая муфта

[63]

Заявляемая полезная модель работает следующим образом:

[64]

После обработки кожи спины в области намеченной пункции эпидурального пространства анестезиолог обезболивает кожу («лимонная корочка»), подкожную клетчатку и связки. Фиксирует эпидуральную иглу (5) ведущей рукой на расстоянии 2-3 см от ее дистального конца между указательным и большим пальцами с упором павильона эпидуральной иглы (4) в ладонь ведущей руки и вводит ее по средней линии между двумя соседними остистыми отростками. Прокол кожи осуществляет по верхнему краю каудально расположенного остистого отростка до межостистой связки. Изначально дистально расположенный срез эпидуральной иглы (8) обращен в каудальном направлении. Предлагаемая модель иглы до начала ее продвижения должна располагаться в тканях таким образом, чтобы полый стержень эпидуральной иглы

[65]

(5) относительно спины во фронтальной плоскости находился под прямым углом, а в сагиттальной приближалась к углу наклона остистых отростков. Перед началом продвижения иглы необходимо проверить правильность ее расположения в тканях. Указательным пальцем отклоняем павильон иглы вниз на 1 см. При отпускании павильона (5), игла должна занять исходное положение. Затем производим смену положения рук. Ведомая рука удерживает павильон иглы, к которому ведущей рукой присоединяется шприц, заполненный физиологическим раствором с пузырьком воздуха. Кисть ведомой руки своей тыльной поверхностью упирается в спину пациента, захватывая указательным и большим пальцами полый стержень (5) эпидуральной иглы. Ведущая рука создает поршнем шприца избыточное давление, посылая перед дистальным концом иглы физиологический раствор с одновременным продвижением иглы к эпидуральному пространству. В момент потери сопротивления продвижение иглы останавливается, а пузырек приобретает прежний вид. Ведущей рукой захватывается павильон (1) полого стержня (2) спинальной иглы, которая вставляется своей дистальной частью с центрирующей муфтой (10) в просвет павильона эпидуральной иглы. При этом градуированный выступ (3) продвигается в соосную прорезь (7) павильона (4) и фиксатора (6) заявляемой полезной модели, с одновременной фиксацией ее у кожи ведомой рукой анестезиолога. При вхождении градуированного выступа (3) спинальной иглы в соосные прорези (7) павильона (4) и фиксатора (6) заявляемой полезной модели срез (9) спинальной иглы занимает положение параллельное направлению волокон внутреннего листка твердой мозговой оболочки. Спинальная игла продвигается вперед с одновременным сочетанным тактильным контролем момента пункции твердой мозговой оболочки и визуальным контролем длины продвигаемой спинальной иглы по меткам градуированного выступа (3) выдвигающегося в дистальном направлении за фиксатор (6) эпидуральной иглы. Периодическим извлечением мандрена спинальной иглы и экспозиции проверяется наличие ликвора. При получении свободно выделяемого ликвора продвижение спинальной иглы прекращается с визуальной регистрацией длины субдурально введенной ее части. Фиксируется спинальная игла ведомой, к павильону (1) которой осторожно присоединяется ведущей рукой шприц с необходимой дозой местного анестетика для достижения спинальной анестезии. После введения лекарства субдурально, ведомая рука фиксирует эпидуральную иглу у места кожного вкола. Шприц со спинальной иглой удаляется, а через просвет эпидуральной иглы по общепринято методике проводится эпидуральный катетер. Эпидуральная игла удаляется из тканей. Место кожного прокола смазывается антисептиком. Эпидуральный катетер после его коррекции фиксируется к коже. Проксимальная часть эпидурального катетера помещается в стерильную емкость и также фиксируется к коже. В зависимости от применяемой методики местный анестетик вводится в эпидуральное пространство в необходимом объеме и в требуемое время через проксимальный конец эпидурального катетера с соблюдением правил асептики и антисептики либо ручным, либо автоматическим способом.

[66]

Цена деления градуированного выступа равна 1 мм.

[67]

Заявляемая полезная модель является новой и обеспечивает:

[68]

- устранение близкого приближения режущей кромки эпидуральной иглы к твердой мозговой оболочке за счет уменьшения глубины введения дистальной части иглы в эпидуральное пространство;

[69]

- введение среза спинальной иглы параллельно расположению волокон твердой мозговой оболочки;

[70]

- возможность объективного определения длины полого стержня спинальной иглы, выступающего за пределы полого стержня эпидуральной иглы.

[71]

Все вышеперечисленное позволяет:

[72]

- снизить риск перфорации внутреннего листка твердой мозговой оболочки эпидуральной иглой с последующей непреднамеренной катетеризацией субарахноидального пространства;

[73]

- уменьшить травматизацию анатомических структур эпидурального пространства при продвижении иглы и катетера в эпидуральное пространство;

[74]

- уменьшить травматизацию субарахноидального пространства при проведении спинальной иглы;

[75]

- повысить точность прохождения спинальной иглы при продвижении ее в субарахноидальное пространство по изначально заданному ей направлению;

Как компенсировать расходы
на инновационную разработку
Похожие патенты