патент
№ RU 84501
МПК F17C5/06

ДВУСТОРОННЯЯ СТАНЦИЯ ЗАПРАВКИ АВТОМОБИЛЕЙ КОМПРИМИРОВАННЫМ ПРИРОДНЫМ ГАЗОМ "ВНИИГАЗ"

Авторы:
Мкртычан Яков Сергеевич
Номер заявки
2008147576/22
Дата подачи заявки
02.12.2008
Опубликовано
10.07.2009
Страна
RU
Как управлять
интеллектуальной собственностью
Чертежи 
1
Реферат

1. Газонаполнительная станция для заправки газобаллонных автомобилей, а также другой автотракторной техники компримированным природным газом, включающая линию подачи газа из магистрального газопровода, установленные в производственном помещении блок входных кранов, блок подготовки газа, блок компримирования с приводом, аккумуляторы газа и блок управления, а также газораздаточные колонки, отличающаяся тем, что станция содержит дополнительные газораздаточные колонки, размещенные на противоположной стороне автодороги и соединенные с аккумуляторами газа газопроводами, а с блоком управления - линиями связи и электроснабжения. ! 2. Газонаполнительная станция по п.1, отличающаяся тем, что дополнительные газораздаточные колонки оборудованы задатчиками выдачи требуемого объема газа и средствами расчета за получаемый объем газа.

Формула изобретения

1. Газонаполнительная станция для заправки газобаллонных автомобилей, а также другой автотракторной техники компримированным природным газом, включающая линию подачи газа из магистрального газопровода, установленные в производственном помещении блок входных кранов, блок подготовки газа, блок компримирования с приводом, аккумуляторы газа и блок управления, а также газораздаточные колонки, отличающаяся тем, что станция содержит дополнительные газораздаточные колонки, размещенные на противоположной стороне автодороги и соединенные с аккумуляторами газа газопроводами, а с блоком управления - линиями связи и электроснабжения.

2. Газонаполнительная станция по п.1, отличающаяся тем, что дополнительные газораздаточные колонки оборудованы задатчиками выдачи требуемого объема газа и средствами расчета за получаемый объем газа.

Описание

[1]

Полезная модель относится к области газоснабжения транспортных средств, использующих компримированный природный газ (КПГ) в качестве моторного топлива.

[2]

Наиболее близкой к заявленной полезной модели является газонаполнительная станция для заправки газобаллонных автомобилей, а также другой автотракторной техники компримированным природным газом, включающая линию подачи газа из магистрального газопровода, установленные.в производственном помещении блок входных кранов, блок подготовки газа, блок компримирования с приводом, аккумуляторы газа и блок управления, а также газораздаточные колонки (патент РФ №2244205, приоритет 2004.02.16).

[3]

Практически создание системы газоснабжения транспорта из таких станций, размещенных по ту или иную сторону автодороги, то есть односторонних, по существу приводит к увеличению капитальных вложений почти вдвое, а при строительстве станций вдоль одной стороны дороги - к повышению непроизводительных (холостых) пробегов автомобилей на газозаправку.

[4]

Наряду с этим следует учесть, что любая такая односторонняя станция заправки автомобилей КПГ даже при выходе на проектную производительность загрузки использует установленную мощность компрессорных установок примерно наполовину.

[5]

Технической задачей, поставленной при создании данной полезной модели, является повышение эффективности работы станции заправки автомобилей компримированным природным газом путем повышения ее загрузки автомобилями и снижения непроизводительных (холостых) пробегов автомобилей на газозаправку.

[6]

Поставленная задача решается тем, что газонаполнительная станция для заправки газобаллонных автомобилей, а также другой автотракторной техники компримированным природным газом, включающая линию подачи газа из магистрального газопровода, установленные в производственном помещении блок входных кранов, блок подготовки газа, блок компримирования с приводом, аккумуляторы газа и блок управления, а также газораздаточные колонки, согласно полезной модели, содержит дополнительные газораздаточные колонки, размещенные на противоположной стороне автодороги и соединенные с аккумуляторами газа газопроводами, а с блоком управления - линиями связи и электроснабжения, при этом дополнительные газораздаточные колонки оборудованы задатчиками выдачи требуемого объема газа и средствами расчета за получаемый объем газа.

[7]

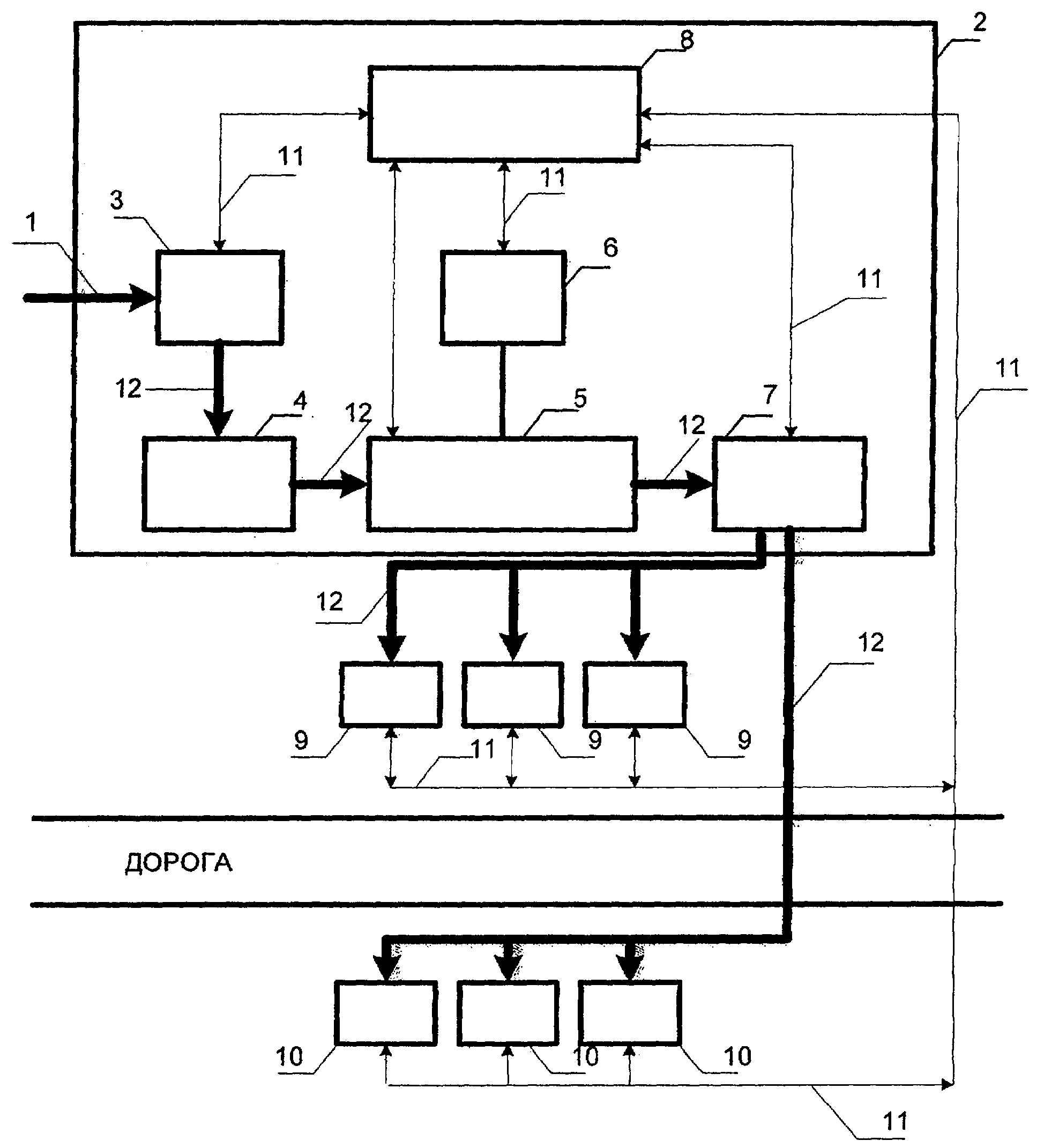
Полезная модель поясняется чертежом, на котором показана блок-схема газонаполнительной станции.

[8]

Газонаполнительная станция содержит линию подачи газа из магистрального газопровода 1, производственное помещение 2 с размещенными в нем блоком входных кранов 3, блоком подготовки газа 4, блоком компримирования 5 с приводом 6, аккумуляторами газа 7 и блоком управления 8.

[9]

Газонаполнительная станция включает также основные газораздаточные колонки 9 и дополнительные газораздаточные колонки 10.

[10]

Все функциональные агрегаты полезной модели соединены с блоком управления 8 линиями 11 связи и электроснабжения. Блоки входных кранов 3, подготовки газа 4, компримирования 5, аккумуляторы газа 7 и газораздаточные колонки 9 и 10 соединены трубопроводами 12.

[11]

Линия подачи газа из магистрального газопровода 1, производственное помещение и основные газораздаточные колонки 9 примыкают к одной из сторон дороги, а дополнительные газораздаточные колонки 10 примыкают к другой из сторон дороги.

[12]

Трубопроводы, питающие дополнительные газораздаточные колонки 10, и линии 11 связи и электроснабжения этих колонок могут быть проложены как под, так и над дорожным полотном.

[13]

Газонаполнительная станция работает следующим образом. Газ из газопровода или газораспределительной сети поступает в блок входных кранов 3, затем в блок подготовки газа 4, в котором производится его очистка от примесей и глубокая осушка. Затем газ подается под давлением 0,2-1,2 МПа в блок компримирования 5 с приводом 6 и после сжатия до давления 25-32 МПа поступает в аккумуляторы газа 7, а от них по газопроводам 12 к газораздаточным колонкам 9 и 10.

[14]

Управление функциональными агрегатами полезной модели осуществляется из блока управления 8 по линиям 11 связи и электроснабжения.

[15]

Предпроектные проработки и расчеты показали, что реализация предлагаемой полезной модели позволит ускорить и снизить расходы в целом на создание газозаправочной системы автотранспорта в стране за счет снижения капитальных вложений на 60-65%, эксплуатационных затрат на 25-30% в результате сокращения численности обслуживающего персонала и увеличения объема реализации КПГ, а также снижения непроизводительных пробегов автомобилей для заправки газомоторным топливом.

Как компенсировать расходы
на инновационную разработку
Похожие патенты