патент
№ RU 83003
МПК A61B5/16

УСТРОЙСТВО ДЛЯ ОПРЕДЕЛЕНИЯ ПРОФЕССИОНАЛЬНОЙ НАДЕЖНОСТИ СПЕЦИАЛИСТА ЭКСТРЕМАЛЬНОГО ПРОФИЛЯ ДЕЯТЕЛЬНОСТИ

Авторы:
Гриценко Геннадий Николаевич
Правообладатель:
Все (3)
Номер заявки
2009100135/22
Дата подачи заявки
12.01.2009
Опубликовано
20.05.2009
Страна
RU
Как управлять
интеллектуальной собственностью
Чертежи 
3
Реферат

1. Устройство для определения профессиональной надежности специалиста, содержащее блок датчика фотоплетизмограммы (ФПГ), выполненного в виде инфракрасной оптической пары на основе светодиода и фотодиода, выход блока датчика ФПГ подключен к входу измерительного блока сигналов датчика ФПГ, который содержит последовательно соединенные шумоподавляющий фильтр, усилитель сигналов и аналого-цифровой преобразователь (АЦП) и блок обработки сигналов с блока датчика ФПГ, подключенный к выходу измерительного блока и содержащий последовательно соединенные цифровой фильтр, дифференциатор, компаратор, вариометр кардиоинтервала и анализатор состояния сердечно-сосудистой системы (ССС), отличающееся тем, что оно содержит средство фиксации устройства на руке специалиста, а также снабжено блоком управления и автономным источником питания, при этом блок управления содержит процессор, подключенный двунаправленной многоразрядной шиной к блоку оперативной памяти, который через многоразрядный разъем подключен к многоразрядному выходу анализатора состояния ССС, цифроаналоговый преобразователь, многоразрядный вход которого подключен ко второму многоразрядному выходу процессора, а выход через исполнительный элемент, например реле, подключен ко входу светодиода блока ФПГ, блок визуализации, многоразрядный выход которого подключен к второму многоразрядному входу процессора, многоразрядный разъем, соединенный с первым многоразрядным выходом процессора для подключения патентуемого устройства к персональному компьютеру, а автономный блок питания подключен соответственно к входу процессора, входу блока оперативной п

Формула изобретения

1. Устройство для определения профессиональной надежности специалиста, содержащее блок датчика фотоплетизмограммы (ФПГ), выполненного в виде инфракрасной оптической пары на основе светодиода и фотодиода, выход блока датчика ФПГ подключен к входу измерительного блока сигналов датчика ФПГ, который содержит последовательно соединенные шумоподавляющий фильтр, усилитель сигналов и аналого-цифровой преобразователь (АЦП) и блок обработки сигналов с блока датчика ФПГ, подключенный к выходу измерительного блока и содержащий последовательно соединенные цифровой фильтр, дифференциатор, компаратор, вариометр кардиоинтервала и анализатор состояния сердечно-сосудистой системы (ССС), отличающееся тем, что оно содержит средство фиксации устройства на руке специалиста, а также снабжено блоком управления и автономным источником питания, при этом блок управления содержит процессор, подключенный двунаправленной многоразрядной шиной к блоку оперативной памяти, который через многоразрядный разъем подключен к многоразрядному выходу анализатора состояния ССС, цифроаналоговый преобразователь, многоразрядный вход которого подключен ко второму многоразрядному выходу процессора, а выход через исполнительный элемент, например реле, подключен ко входу светодиода блока ФПГ, блок визуализации, многоразрядный выход которого подключен к второму многоразрядному входу процессора, многоразрядный разъем, соединенный с первым многоразрядным выходом процессора для подключения патентуемого устройства к персональному компьютеру, а автономный блок питания подключен соответственно к входу процессора, входу блока оперативной памяти, цифроаналогового преобразователя, реле, блока визуализации и к схемотехническим элементам измерительного блока, блока обработки сигналов и светодиоду датчика ФПГ.

2. Устройство по п.1, отличающееся тем, что блок управления содержит клавиатуру, первый многоразрядный выход которой подключен к первому многоразрядному входу процессора, второй многоразрядный выход - к многоразядному входу блока визуализации, а вход соединен с выходом автономного блока питания.

3. Устройство по п.1, отличающееся тем, что средство фиксации устройства на руке специалиста выполнено в виде манжеты, на концах которой соответственно с наружной и внутренней стороны размещены элементы крепления в виде застежки типа «велькро», при этом на внутренней стороне манжеты закреплен блок датчика ФПГ, а на наружной стороне размещены измерительный блок сигналов датчика ФПГ, блок обработки сигналов с блока датчика ФПГ, блок управления и автономный источник питания.

4. Устройство по п.3, отличающееся тем, что в полости манжеты за блоком датчика ФПГ установлена пневмокамера с нагнетательной трубкой и запирающим вентилем.

5. Устройство по п.4, отличающееся тем, что манжета содержит съемный нагнетатель давления в полость воздушной камеры, выполненный, например, в виде резиновой груши.

Описание

[1]

Патентуемая полезная модель относится к устройствам для отбора персонала и определения профессиональной надежности специалистов экстремального профиля деятельности. Разработанное устройство может быть эффективно использовано для решения разнообразных прикладных и научных задач в медицине, психологии и гигиене труда, психофизиологии, социологии, профессиологии, акмеологии и т.п. видах профессиональной деятельности, в частности, для контроля операторской деятельности человека, выполняющего ответственную работу в различных областях практической деятельности, связанных с большими психофизиологическими нагрузками, например, при обслуживание и эксплуатации систем ядерной энергетики, опасных производств по переработке углеводородов, химической промышленности, при локализация чрезвычайных ситуаций, связанных с природными катаклизмами и нарушениями нормальной жизнедеятельности людей, при обеспечении боевой службы систем управления и эксплуатации современных вооружений, при обслуживании высокотехнологичных транспортных средств в области освоения космического пространства, авиации, в море и т.п.

[2]

Известно устройство для определения психофизиологического состояния и функциональных возможностей человека (патент РФ на изобретение №2286090, А61В 5/16; патент РФ на полезную модель №42411, А61В 5/16).

[3]

Запатентованное устройство относится к техническим средствам для определения психофизиологического состояния человека и может быть использовано для контроля операторской деятельности человека на авиационном, железнодорожном, автомобильном транспорте, на предприятиях энергетического комплекса страны, а также для индивидуального самоконтроля функциональных возможностей человека. Устройство содержит блок датчиков, имеющий размещенные с возможностью контакта с пальцами рук человека датчик электрокожного сопротивления и датчик фотоплетизмограммы, соединенные выходами со входами соответствующих каналов преобразования сигналов измерительного блока, подключенных своими выходами через соответственно первый канал обработки сигналов блока обработки сигналов, соответствующий каналу преобразования сигналов для регистрации электрокожного сопротивления, второй канал обработки сигналов блока обработки сигналов, соответствующий каналу преобразования сигналов для регистрации фотоплетизмограммы. Блок датчиков имеет размещенный на руке человека датчик артериального давления крови, выход которого подключен ко входу, по меньшей мере, одного дополнительного канала преобразования сигналов измерительного блока, соединенного выходом со входом дополнительного канала обработки сигналов блока обработки сигналов, Устройство позволяет получать оперативную и достоверную информацию о психофизиологическом состоянии специалиста и его функциональных возможностях.

[4]

Существенным конструктивным недостатком данных устройств является их громоздкость, большие габаритные размеры, схемотехническая сложность, а также необходимость постоянного подключения устройства к персональному компьютеру. Проведение исследований в подобных сложных и «искусственных» условиях

[5]

отвлекает и «сбивает» специалиста от выполнения им своих прямых профессиональных обязанностей и тестовых заданий, что приводит к необоснованным и, естественно, неточным выводам относительно его профессиональной надежности и пригодности.

[6]

Известно также устройство для определения психофизиологического состояния человека (патент РФ №2214166, А61В 5/16), наиболее близкое по технической сущности к патентуемой полезной модели и которое выбрано в качестве прототипа.

[7]

Устройство, описанное в патенте РФ №2214166, содержит последовательно соединенные между собой блок датчиков электрокожного сопротивления (ЭКС) и фотоплетизмограммы (ФПГ), двухканальный измерительный блок, двухканальный блок обработки сигналов, анализатор психофизиологического состояния (ПФС) человека, блок выбора комбинации тест-стимулов, воздействующих на человека-оператора. Измерительный блок содержит в каждом канале шумоподавляющий фильтр, усилитель и аналого-цифровой преобразователь. Блок обработки сигналов выполнен по числу каналов на цифровых фильтрах, дифференциаторах и компараторах, а также блоках определения психоэмоционального состояния человека, накопления и определения параметров R-R интервалов и анализаторе состояния сердечно-сосудистой системы. В запатентованном устройстве для размещения блока датчиков используются поверхности компьютерной мыши, штурвала, джойстика, поверхности руля автомобиля, или поверхности клавиатуры.

[8]

Устройство позволяет получать оперативную и достоверную информацию о психофизиологическом состоянии исследуемого специалиста, при этом на основании полученных результатов диагностики принимаются решения и заключения относительно надежности профессиональной деятельности данного специалиста.

[9]

Вместе с тем, полученная в процессе исследований специалиста оперативная информация о его психофизиологическом состоянии, не позволяет сделать объективные и достоверные выводы о профессиональной надежности того или иного специалиста, поскольку диагностическая информация получена в лабораторных условиях, которые значительно отличаются от реальных условий места работы специалиста. Использование для размещения блока датчиков поверхности компьютерной мыши, или поверхности штурвала, или поверхности джойстика, или поверхности руля автомобиля, или поверхности клавиатуры отвлекает внимание специалиста и держит его в напряжении, поскольку для снятия, например, фотоплетизмограммы необходимо остановиться в контрольное время, прекратить выполняемую работу и фиксировать руки на предмете, где размещены датчики, что, естественно, приводит к значительным погрешностям измерения и неадекватным выводам относительно его профессиональной пригодности.

[10]

Кроме того, к существенным недостаткам известного устройства следует отнести его увеличенные габаритные размеры, а также необходимость постоянного подключения к персональному компьютеру, что обуславливает возможность его использования только в стационарных условиях специализированной лаборатории.

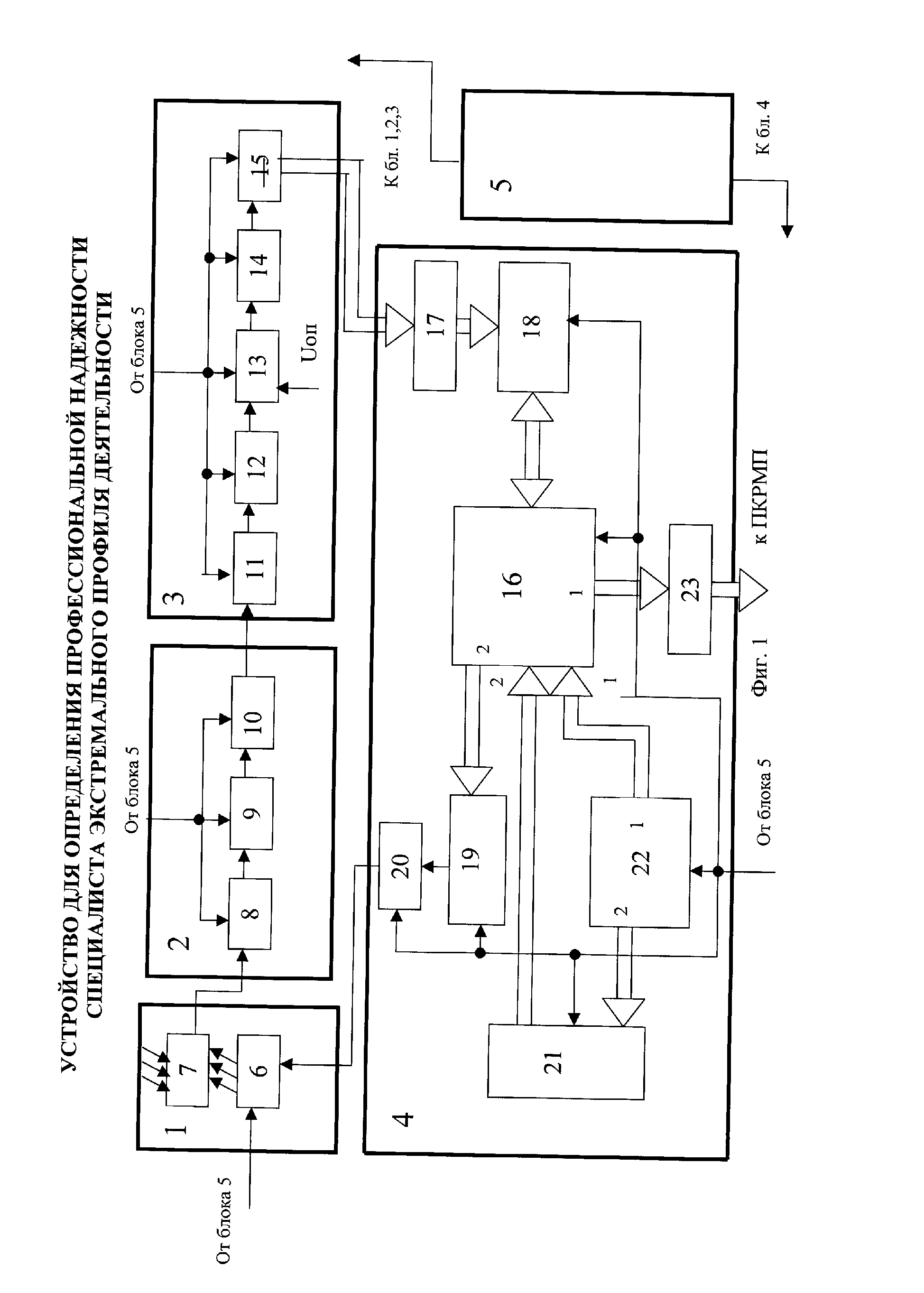
[11]

Настоящая полезная модель решает задачу:

[12]

- повышения точности оценки реального уровня профессиональной готовности специалиста СЭПД и исключения (сокращения) субъективных показателей и характеристик при оценке уровня профессиональной надежности специалиста;

[13]

- получения объективных расчетных показателей уровня профессиональной надежности специалиста;

[14]

- повышения точности выявления специалистов, непригодных для работы в экстремальных ситуациях;

[15]

- повышения достоверности и объективности показателей результативности труда специалиста и величины его психофизиологических затрат в процессе труда;

[16]

- аппаратного обеспечения физиологичного снятия показаний плетизмограммы специалиста в условиях максимально приближенных к реальным условиям работы исследуемого специалиста;

[17]

- упрощения схемотехнической реализации устройства для осуществления патентуемого способа, достижения компактности, автономности его работы, высокой надежности и информативности съема информации о психофизиологическом состоянии исследуемого специалиста.

[18]

Решение поставленной задачи достигается следующим образом.

[19]

Устройство для определения профессиональной надежности специалиста, аналогичное устройству, описанному в патенте РФ №2214166, содержащее:

[20]

- блок датчика фотоплетизмограммы (ФПГ), выполненного в виде инфракрасной оптической пары на основе светодиода и фотодиода, выход блока датчика ФПГ подключен к входу измерительного блока сигналов датчика ФПГ,

[21]

- который содержит последовательно соединенные шумоподавляющий фильтр, усилитель сигналов и аналого-цифровой преобразователь (АЦП)

[22]

- и блок обработки сигналов с блока датчика ФПГ, подключенный к выходу измерительного блока и содержащий последовательно соединенные цифровой фильтр, дифференциатор, компаратор, вариометр кардиоинтервала и анализатор состояния сердечнососудистой системы (ССС) - согласно патентуемой полезной модели,

[23]

введено средство фиксации устройства на руке специалиста, а также снабжено блоком управления и автономным источником питания.

[24]

Патентуемая полезная модель предусматривает, что блок управления содержит процессор, подключенный двунаправленной многоразрядной шиной к блоку оперативной памяти, который через многоразрядный разъем подключен к многоразрядному выходу анализатора состояния ССС, цифроаналоговый преобразователь, многоразрядный вход которого подключен ко второму многоразрядному выходу процессора, а выход через исполнительный элемент, например, реле подключен ко входу светодиода блока ФПГ, блок визуализации, многоразрядный выход которого подключен к второму многоразрядному входу процессора, многоразрядный разъем, соединенный с первым многоразрядным выходом процессора для подключения патентуемого устройства к персональному компьютеру.

[25]

Предусмотрено, что автономный блок питания подключен соответственно к входу процессора, входу блока оперативной памяти, цифро-аналогового преобразователя, реле, блока визуализации и к схемотехническим элементам измерительного блока, блока обработки сигналов и светодиоду датчика ФПГ.

[26]

Согласно патентуемому решению блок управления содержит клавиатуру, первый многоразрядный выход которой подключен к первому многоразрядному входу процессора, второй многоразрядный выход - к многоразядному входу блока визуализации, а вход соединен с выходом автономного блока питания.

[27]

В полезной модели предусмотрено, что средство фиксации устройства на руке специалиста выполнено в виде манжеты, на концах которой соответственно с наружной и внутренней стороны размещены элементы крепления в виде застежки типа «велькро».

[28]

На внутренней стороне манжеты закреплен блок датчика ФПГ, а на наружной стороне размещены измерительный блок сигналов датчика ФПГ, блок обработки сигналов с блока датчика ФПГ, блок управления и автономный источник питания.

[29]

Согласно полезной модели в полости манжеты за блоком датчика ФПГ, установлена пневмокамера с нагнетательной трубкой и запирающим вентилем. Манжета содержит съемный нагнетатель давления в полость воздушной камеры, выполненный, например, в виде резиновой груши.

[30]

Технический результат патентуемого технического решения заключается в том, что разработанная полезная модель позволяет:

[31]

- обеспечить высокую точность определения профессиональной надежности специалистов экстремального профиля деятельности (СЭПД) за счет получения объективных показателей психофизиологического состояния и психофизиологических затрат специалиста СЭПД и результатов его трудовой деятельности,

[32]

- преобразования этих показателей в конкретные расчетные данные, которые позволяют получить объективные параметры и характеристики профессиональной надежности специалиста, с учетом сферы его практической деятельности;

[33]

- проводить обследования, практически, на рабочем месте специалиста и получать максимально адекватные и точные результаты его профессиональной надежности;

[34]

- реализовать на практике оптимальные физиологичные методы исследования параметров психофизиологического состояния (в частности, ритма сердца) и психофизиологических затрат специалистов СЭПД, которые позволяют получать точные и объективные показатели состояния организма специалиста не только в начале работы, в процессе работы, после ее завершения, но и в периоды ее наибольшей напряженности;

[35]

-объективно исследовать и оценивать «запас прочности» конкретного специалиста в конкретных условиях его профессиональной деятельности;

[36]

- существенно повысить объективную независимость конечных результатов и выводов, относительно уровня профессиональной надежности специалиста, от ошибок обусловленных «человеческим фактором» и специфики места проведения обследования;

[37]

- разработать устройство компактное по схемотехнике, автономности работы и обеспечению высокой информативности получаемой медико-технической информации для проведения исследования специалистов СЭПД.

[38]

Сущность полезной модели поясняется описанием патентуемого устройства и графическими материалами, на которых представлены:

[39]

Фиг.1 - блок-схема устройства для определения профессиональной надежности специалиста экстремального профиля деятельности;

[40]

Фиг.2 - конструктивная схема размещения блоков на внешней поверхности манжеты для фиксации устройства на руке специалиста;

[41]

Фиг.3 - схема размещения блока датчика ФПГ на внутренней поверхности манжеты;

[42]

Фиг.4 - укрупненная блок-схема алгоритма работы процессора блока управления.

[43]

Патентуемая полезная модель представляет собой компактный автономный носимый блок, который осуществляет регистрацию психофизиологического состояния, основанную на анализе серий кардиоинтервалов специалиста в условиях максимально приближенных к реальным условиям рабочей деятельности и программного обеспечения, которое позволяет осуществить:

[44]

- оценку вариабельности сердечного ритма (ВСР) по методу Баевского P.M. в соответствии со стандартом Рабочей группы Европейского Кардиологического Общества и Северо-Американского общества стимуляции и электрофизиологиии;

[45]

- расчет профессиональной надежности СЭПД по способу выявления канонических корреляционных связей между результативностью работы и величинами затрат организма, полученных из оценки ВСР в процессе работы;

[46]

- проведение проверочных мероприятий по определению надежности работы СЭПД путем предъявления ему специальных (по профилю работы - интеллектуальных, психомоторных и др.) компьютерных тестовых заданий с одновременной регистрацией ВСР и принятия решения о прогнозе его надежности;

[47]

- ввод экспертных оценок результативности трудовой деятельности;

[48]

- вывод оценки вариабельности сердечного ритма и величины надежности в различные периоды работы специалиста для принятия оперативного решения.

[49]

Блок-схема устройства для определения профессиональной надежности СЭПД содержит (фиг.1) соединенные между собой блок датчика фотоплетизмограммы (ФПГ) 1, измерительный блок 2 сигналов с блока датчика ФПГ, блок обработки сигналов с блока датчика ФПГ 3, блок управления 4 и автономный источник питания 5.

[50]

Блок датчика фотоплетизмограмы (ФПГ) 1 выполнен в виде опто-электронной пары инфракрасного диапазона и содержит светодиод 6 (СД) инфракрасного диапазона излучения и фотодиод 7 (ФД).

[51]

Блок датчика ФПГ 1 воспринимает отраженный световой поток пропорциональный кровенаполнению периферических сосудов

[52]

человека и преобразует его в пульсирующий электрический ток, пропорциональный пульсации сердца. Электрический сигнал от фотодиода 7, представляет собой вторичную электрокардиограмму сердца. Подключение процессора 16 блока управления 4 (через реле 20 и цифро-аналоговый преобразователь 19) к блоку датчика ФПГ 1 позволяет осуществлять регулировку блока датчика ФПГ 1 для обеспечения учета индивидуальных особенностей кожного покрова исследуемого специалиста, исключения из обработки кардиоимпульсов низкой амплитуды, а также других помеховых сигналов, возникающих за счет перемещения чувствительного элемента блока датчика ФПГ 1 при физической активности работника.

[53]

Измерительный блок 2 сигналов с блока датчика ФПГ включает последовательно соединенные шумоподавляющий фильтр 8, вход которого подключен к выходу фотодиода 7, усилитель сигналов 9 и аналого-цифровой преобразователь (АЦП) 10.

[54]

Аналого-цифровой преобразователь (АЦП) 10 необходим для преобразования электрических сигналов фотодиода 7 в цифровые. АЦП 10 должен иметь не менее 8 разрядов и быстродействие порядка 1 мс. В патентуемом устройстве может быть использован, например, стандартный по схемотехнике АЦП Analog Devices AD7810YN (каталог Чип Дип).

[55]

Блок обработки сигналов с блока датчика ФПГ 3 содержит последовательно соединенные цифровой фильтр 11, вход которого подключен к выходу АЦП 10, дифференциатор 12, компаратор 13, вариометр кардиоинтервала 14 и анализатор состояния сердечнососудистой системы (ССС) 15.

[56]

Компаратор 13 обеспечивает сравнение амплитуды сигнала ФПГ с опорным значением Uoпop. Выход компаратора 13 соединен с вариометром кардиоинтервала 14, накапливающим массив их значений и определяющим их вариабельность (степень изменчивости).

[57]

Выход вариометра 14 соединен с анализатором состояния сердечно-сосудистой системы (ССС) 15, определяющим уровень напряжения регуляторных механизмов ССС.

[58]

С помощью анализатора состояния сердечно-сосудистой системы (ССС) 15 осуществляют оценку уровня напряжения регуляторных механизмов ССС человека на основе расчета параметров вариабельности сердечного ритма (ВСР), в том числе:

[59]

- определение статистических характеристик динамического ряда кардиоинтервалов: математическое ожидание /М/, дисперсия /Д/, среднее квадратическое отклонение /СКО/, коэффициент вариации /V/;

[60]

- оценка вариационной пульсометрии в виде гистограммы с обозначением Мо (моды), АМо (амплитуды моды), ВАР (вариационного размаха);

[61]

- расчет корреляционной ритмографии (КРГ) по методу графического представления динамического ряда кардиоинтервалов в виде скатерграммы;

[62]

- вычисление и построение автокорреляционной функции динамического ряда кардиоинтервалов;

[63]

- оценка результатов спектрального анализа, с помощью которого оценивается взаимодействие отдельных уровней управления ритмом сердца.

[64]

Анализатор состояния сердечно-сосудистой системы (ССС) 15 для решения вышеприведенных задач может быть выполнен на процессоре Intel Pentium II 450 MHz, который может быть реализован, например, на микросхеме SL2WB или SL2U7.

[65]

Блок управления 4 осуществляет программное управление работой устройством и содержит:

[66]

- процессор 16, обеспечивающий процесс управления съемом и анализом ФПГ;

[67]

- блок оперативной памяти 18, многоразрядный вход которого, через многоразрядный разъем 17 соединен с многоразрядным выходом анализатора состояния сердечно-сосудистой системы (ССС) 15, подключен двунаправленной многоразрядной шиной к процессору 16;

[68]

- цифро-аналоговый преобразователь (ЦАП) 19, многоразрядный вход которого подключен к второму многоразрядному выходу процессора 16, а выход через исполнительный элемент, например, реле 20 к входу светодиода 6, тем самым обеспечивается возможность программного управления СД 6 (включение и выключение, регулировка яркости свечения). ЦАП 19 обеспечивает преобразование цифровых сигналов в аналоговые и может быть реализован, например, в виде микросхемы Analog Devices AD7224KN (каталог Чип Дип).

[69]

- блок визуализации 21 виде жидкокристаллического дисплея, многоразрядный выход которого подключен к второму многоразрядному входу процессора 16, а многоразрядный вход подключен к второму многоразрядному выходу клавиатуры 22;

[70]

- клавиатуру 22, первый многоразрядный выход которой подключен к первому многоразрядному входу процессора 16;

[71]

Блок визуализации 21 в виде жидкокристаллического дисплея и клавиатура 22 предназначены для обеспечения возможности программирования процессора 16, контроля работы блока датчика ФПГ 1 и внесения, при необходимости, программных поправок в работу устройства без использования стационарного персонального компьютера.

[72]

- многоразрядный разъем 23 служит для подключения патентуемого устройства к персональному компьютеру (ПК);

[73]

Клавиатура 22 и блок визуализации 21 могут быть реализованы в одном блоке тачскрина КПК, например, марки HP iPAQ hx4700.

[74]

Блок управления 4 в зависимости от функциональных задач может иметь различную конечную схемотехническую реализацию.

[75]

В простейшей схемотехнической реализации блок управления 4 содержит процессор 16, многоразрядный разъем 17, блок оперативной памяти 18, ЦАП 19, реле 20 и блок визуализации 21. В качестве процессора 16 может быть использован, например, микроконтроллер ATMEGA8535, микропроцессор или другие устройства, аналогичные по функциям программируемой логической интегральной схеме (ПЛИС). В данной схемотехнической редакции блока управления 4 программирование процессора 16 осуществляется непосредственно с клавиатуры персонального компьютера, подключенного через многоразрядный разъем 23.

[76]

Возможна схемотехническая реализация блока управления 4 с персональной клавиатурой 22, которая обеспечивает возможность непосредственного программирования процессора 16, как перед началом исследования состояния специалиста СЭПД, так и в процессе проведения исследований и внесения каких-либо изменений в характер работы блока датчика ФПГ 1.

[77]

Блок оперативной памяти 18 обеспечивает хранение сравнительно больших объемов информации. В качестве оперативной памяти 18 используют, например, микросхему AM29F010.

[78]

Многоразрядный разъем 17, 23 (порт USB) предназначен для подключения различных внешних устройств и может быть реализован, например, на базе разъема ВН1.27-40 (каталог ЧипДип). Возможна и другая схемотехническая реализация многоразрядного разъема. В частности, многоразрядный разъем 23 служит для подключения, например, персонального компьютера рабочего места

[79]

психофизиолога (ПКРМП). Для этих целей может быть использован, например, разъем RJ 45.

[80]

Блок 19, выполняющий функцию цифроаналогового преобразования сигналов управления работой СД 6 от процессора 16, может быть реализован на схеме ATMEGA8 (каталог фирмы «ATMEL»).

[81]

Блок управления 4 (в частности) может быть реализован на базе карманного персонального компьютера (КПК), например, марки HP JPAQ hx4700 (оперативная система - Microsoft Windows Mobile 2003 SE, процессор Intel PXA270, 624 МГц, RAM 64 мб, ROM 128 мб).

[82]

Клавиатура 22 и блок визуализации 21 (ЖК дисплей) могут быть реализованы как конструктивные устройства КПК.

[83]

Автономный блок питания 5 обеспечивает работоспособность энергопотребляющих элементов устройства. Автономный блок питания 5 подключен соответственно к входу процессору 16, блоку оперативной памяти 18, ЦАП 19, реле 20, блоку визуализации 21, клавиатуре 22, а также к схемотехническим элементам 6, 8-15 устройства. Автономный блок питания 5 может быть реализован, например, в виде источника питания марки Mean Well АП 6121, а также на основе аккумуляторной батарейки, или комплекта «пальчиковых» батареек.

[84]

Позитивным отличием и существенным достоинством патентуемой полезной модели является наличие средства фиксации устройства на руке исследуемого специалиста. Фиксацию разработанного устройства осуществляют на наружной поверхности верхней трети плеча левой или правой (для праворуких и леворуких людей, соответственно) руки.

[85]

Средство фиксации патентуемого устройства позволяет обеспечить максимальную физиологичность и удобство процесса съема

[86]

фотоплетизмограммы в ходе проведения исследований, проводить обследование специалиста, практически, на его рабочем месте и получать максимально адекватные и точные результаты его профессиональной надежности, не отвлекая специалиста от выполнения соответствующих тестовых заданий.

[87]

Средство фиксации устройства на руке специалиста выполнено в виде манжеты 24, на концах которой соответственно с наружной и внутренней стороны размещены элементы крепления 25 в виде застежки типа «велькро».

[88]

Конструктивно блоки устройства закреплены на манжете следующим образом (фиг.2, 3).

[89]

На внутренней стороне манжеты 24 закреплен блок датчика ФПГ 1 (фиг.3), а на наружной стороне размещены измерительный блок 2 сигналов датчика ФПГ, блок обработки сигналов 3 с блока датчика ФПГ, блок управления 4 и автономный источник питания 5. Возможна различная взаимная комбинация размещения блоков устройства на внешней поверхности манжеты 24.

[90]

Для улучшения качества получаемого сигнала с датчиков блока ФПГ 1 и надежности контакта этих датчиков с кожным покровом специалиста в полости манжеты 24 за блоком датчика ФПГ 1, установлена пневмокамера 26 с нагнетательной трубкой 27 и запирающим вентилем 28. При этом, для нагнетания воздуха в пневмокамеру 26 предусмотрен съемный нагнетатель давления, выполненный, например, в виде резиновой груши (на фиг. не показан).

[91]

Учитывая, что существуют значительные различия антропометрических параметров рук мужчин и женщин (т.е. места фиксации патентуемого устройства), а также факт наличия определенных индивидуальных особенности их кожного покрова в патентуемой полезной модели предусмотрены различные варианты геометрических

[92]

размеров манжеты, это позволяет обеспечить высокую точность и надежность съема сигналов с датчика ФПГ 1.

[93]

В частности, для проведения обследования мужчин предусмотрено изготовление манжеты при ширине - 15 см и длиной следующих трех вариантов: 45-48 см; 50-53 см; и 55-58 см. Для проведения обследования женщин манжеты изготавливают размерами, соответственно: 30-33 см; 35-38 см и 40-43 см при ширине - 15 см.

[94]

Для изготовления манжеты используют специальные виды ткани, которые мало деформируются, имеют высокую прочность и долговечность, например, ткань «Ортон», нейлон медицинский, ткань х/б «Диагональ» (упрочненная).

[95]

Выбор материала для изготовления манжеты должен предусматривать возможность ее санитарно-гигиенической обработки после использования одним лицом и перед очередным использованием.

[96]

Заявитель считает необходимым отметить, что специалисты, работающие в области медицинской радиоэлектронной аппаратуры, располагают соответствующими знаниями о наличии многообразных комплектующих элементов для конечной реализации патентуемого устройства, помимо тех элементов, что приведены в качестве возможных вариантов реализаций.

[97]

Конкретная техническая реализация и идентификация всех возможных исходных компонентов и комплектующих элементов для производства патентуемого устройства не представляет труда для специалистов, поскольку вытекает из уровня техники на основе практических данных и включает в себя известные стандартные комплектующие элементы и компоненты, зафиксированные в различных научно-технических изданиях и справочниках, в силу чего более подробное раскрытие этих исходных компонентов и комплектующих элементов нецелесообразно.

[98]

Изготовление всего устройства не требует применения специальных технологий и может быть реализовано по стандартной схеме изготовления радиоэлектронной аппаратуры. Вся элементная база выпускается серийно и доступна для свободного приобретения.

[99]

Разработанное устройство работает следующим образом.

[100]

Перед каждым очередным обследованием осуществляют настройку и калибровку светотехнических параметров светодиода. Для этого манжета предварительно закрепляется на руке обследуемого лица, осуществляется включение питания. После этого производится пробный замер ФПГ. Контроль производится по форме сигнала, стабильности регистрации на блоке визуализации. В случае выявления нестабильности сигнала производится коррекция соприкосновения оптопары с участком кожи.

[101]

При необходимости для повышения качества контакта блока датчиков ФПГ 1 с кожным покровом исследуемого специалиста осуществляют незначительное накачивание пневмокамеры 26 с помощью съемного нагнетателя резиновой груши, который затем убирают, а достигнутый уровень накачки пневмокамеры 26 фиксируют с помощью запорного вентиля 28. Запорный вентиль 28 используют в конце исследований для сброса давления в пневмокамере 26.

[102]

Затем производят программирование процессора 16 блока управления 4. В результате процессор 16 формирует, согласно заложенной программе, 15 сеансов съема выборок из 100 кардиоинтервалов (всего 1500 кардиоинтервалов) на протяжении четырех часов рабочего времени. Укрупненная блок-схема алгоритма работы процессора 16 приведена на фиг.4. Заявителем для расчета профессиональной надежности СЭПД разработано соответствующее полное и подробное программное обеспечение.

[103]

Процессор 16 позволяет при начальной настройке реализовать следующие варианты работы устройства:

[104]

а). При известном графике трудовых операций и прогнозируемом времени наступления критических или сложных действий:

[105]

- запись начальных, фоновых параметров ССС перед началом работы в спокойной обстановке (одна выборка из 100 кардиоинтервалов);

[106]

- периодическая запись ФПГ перед наступлением критического этапа работы (с интервалом от 15 до 5 минут);

[107]

- регулярная запись ФПГ в течение критического этапа с интервалом в пять минут (время записи одной выборки из 100 кардиоинтервалов составляет 90 секунд);

[108]

- запись ФПГ после завершения сложных действий, периодичность определяется объемом устройства (15 выборок - использованные ранее).

[109]

б). При непрогнозируемом ритме работы запись ФПГ планируется равномерно на четыре часа, то есть 15 выборок через 15 минут работы.

[110]

После программирования процессора 16 блока управления 4 устройство фиксируют (закрепляют) на наружной поверхности верхней трети плеча левой или правой руки.

[111]

Оптоэлектронная пара инфракрасного диапазона, состоящая из светодиода 6 (СД) подсветки кровеносных сосудов и фотодиода 7 (ФД) воспринимают отраженный световой поток пропорциональный кровенаполнению периферических сосудов человека и преобразуют его в пульсирующий электрический ток, пропорциональный пульсации сердца. Электрический сигнал от ФД 7, представляющий собой вторичную электрокардиограмму сердца, поступает на вход измерительного блока сигналов ФПГ 2. Шумоподавляющий фильтр 8 для выделения полезного сигнала кардиоимпульсов,

[112]

превышающих определенный пороговый уровень, устанавливаемый при калибровке и настройке прибора для исключения из обработки кардиоимпульсов низкой амплитуды, а также других помеховых сигналов, возникающих при физической активности СЭПД. После прохождения шумоподавляющего фильтра 8 сигналы усиливают усилителем 9 до величины, обеспечивающей нормальную работу аналого-цифрового преобразователя (АЦП) 10. Аналого-цифровой преобразователь 10 измерительного блока 2 преобразует сигнал кардиоимпульсов в цифровую форму.

[113]

С выхода измерительного блока 2 цифровые коды кардиоритмов поступают на вход блока обработки сигналов с блока датчика ФПГ 3 - в цифровой фильтр 11. После цифровой фильтрации в блоке 11 (понижение частоты дискретизации и избирательная фильтрация), преобразованный сигнал через дифференциатор 12 блока обработки сигналов 3, в котором выделяются передние фронты кардиоимпульсов, характеризующие временные параметры измеряемых сигналов, поступает через компаратор 13 на вход вариометра 14, который определяет степень изменчивости кардиоинтервалов и накапливает статистические параметры массива выборки интервалов. Полученные данные подаются на анализатор состояния ССС испытуемого 15, в котором определяется психофизиологическое состояние человека в процессе выполнения им необходимых трудовых действий.

[114]

Полученная информация о состоянии ССС специалиста с многоразрядного выхода блока обработки сигналов ФПГ 3 поступает через многоразрядный разъем 17 на многоразрядный вход блока оперативной памяти 18 блока управления 4.

[115]

Накопленная информация о состоянии ССС сохраняется в блоке оперативной памяти 18 до конца рабочей смены в виде цифровых файлов, содержащих рассчитанные параметры вариабельности

[116]

сердечного ритма (ВСР). Максимально может быть создано 15 файлов по 25 параметров каждый, то есть (15×25=375). В патентуемом устройстве за величину рабочей смены принято четыре часа рабочего времени (смена, вахта).

[117]

Собранная, обработанная и накопленная таким образом комбинированная информация в виде параметров, характеризующих функциональный ответ ССС человека на трудовую нагрузку, после завершения работы с многоразрядного выхода блока управления 4 через многоразрядный разъем 23 передается на персональный компьютер рабочего места психофизиолога (ПКРМП) для расчета надежности СЭПД.

[118]

Проведенные Заявителем тестовые испытания патентуемой полезной модели подтвердили:

[119]

- высокую индивидуальную точность и объективность, получаемых в реальном масштабе времени результатов расчета профессиональной надежности специалистов экстремального профиля деятельности;

[120]

- а также компактность, высокую надежность работы и эксплуатационное удобство разработанного устройства для проведения мониторинга специалиста в условиях максимально приближенных к реальным условиям его рабочего места.

Как компенсировать расходы
на инновационную разработку
Похожие патенты