патент
№ RU 82755
МПК E21B43/14

ДВУХЛИФТОВАЯ ВИНТОВАЯ НАСОСНАЯ УСТАНОВКА

Авторы:
Исаев Анатолий Андреевич
Правообладатель:
Номер заявки
2008147294/22
Дата подачи заявки
01.12.2008
Опубликовано
10.05.2009
Страна
RU
Как управлять
интеллектуальной собственностью
Чертежи 
1
Реферат

Двухлифтовая винтовая насосная установка, содержащая привод, два насоса, две подвески колонн насосных штанг, две колонны насосно-компрессорных труб различной длины, параллельный двухканальный якорь, двухканальную устьевую арматуру и пакер для разобщения продуктивных пластов, отличающаяся тем, что в качестве привода для вращения двух колонн насосных штанг использована приводная головка, связанная с помощью ременной или зубчатой передачи с электродвигателем или газовым двигателем, при этом в качестве насосов использованы винтовые штанговые насосы.

Формула изобретения

Двухлифтовая винтовая насосная установка, содержащая привод, два насоса, две подвески колонн насосных штанг, две колонны насосно-компрессорных труб различной длины, параллельный двухканальный якорь, двухканальную устьевую арматуру и пакер для разобщения продуктивных пластов, отличающаяся тем, что в качестве привода для вращения двух колонн насосных штанг использована приводная головка, связанная с помощью ременной или зубчатой передачи с электродвигателем или газовым двигателем, при этом в качестве насосов использованы винтовые штанговые насосы.

Описание

[1]

Полезная модель относится к нефтедобывающей промышленности, в частности к двухлифтовым установкам для одновременно-раздельной эксплуатации и может найти применение для подъема вязких и эмульсионных жидкостей из двух пластов через один ствол скважины.

[2]

Из практики известны однорядные установки с двумя винтовыми насосами.

[3]

Недостатком известных насосных установок является непригодность в скважинах, в которых хотя бы один из объектов является девонский пласт, т.к. в их продукции содержится парафин.

[4]

Известна двухлифтовая установка для одновременно-раздельной эксплуатации, включающая основной и дополнительный приводы, пакер, два штанговых насоса, две подвески колонн насосных штанг, две колонны короткая и длинная насосно-компрессорных труб, параллельный двухканальный якорь, двухканальную устьевую арматуру (П.м. РФ 72720 Е21В 43/14, опубл. 27.04.08 г). Указанная установка по технической сущности более близка к предлагаемой двухлифтовой винтовой насосной установке, и ее можно взять в качестве прототипа.

[5]

Недостатком известной насосной установки является максимальные массогабаритные показатели приводов, необходимость в возведении фундаментов, узкий диапазон откачки жидкостей, особенно касается жидкостей с высокой вязкости и повышенного газосодержания.

[6]

Технической задачей заявляемой полезной модели является возможность эксплуатации двух пластов скважины, имеющих девонский пласт, учет добываемой продукции каждого пласта, достижение запроектированных темпов разработки, откачка жидкостей широкого

[7]

диапазона, регулирование добычи жидкости каждого пласта в соответствии с их характеристиками.

[8]

Поставленная техническая задача решается описываемой двухлифтовой винтовой насосной установкой, содержащая привод, два насоса, две подвески колонн насосных штанг, две колонны насосно-компрессорных труб различной длины, параллельный двухканальный якорь, двухканальную устьевую арматуру и пакер для разобщения продуктивных пластов.

[9]

Новым является то, что в качестве привода для вращения двух колонн насосных штанг использована приводная головка, связанная с помощью ременной или зубчатой передачи с электродвигателем или газовым двигателем, при этом в качестве насосов использованы винтовые штанговые насосы.

[10]

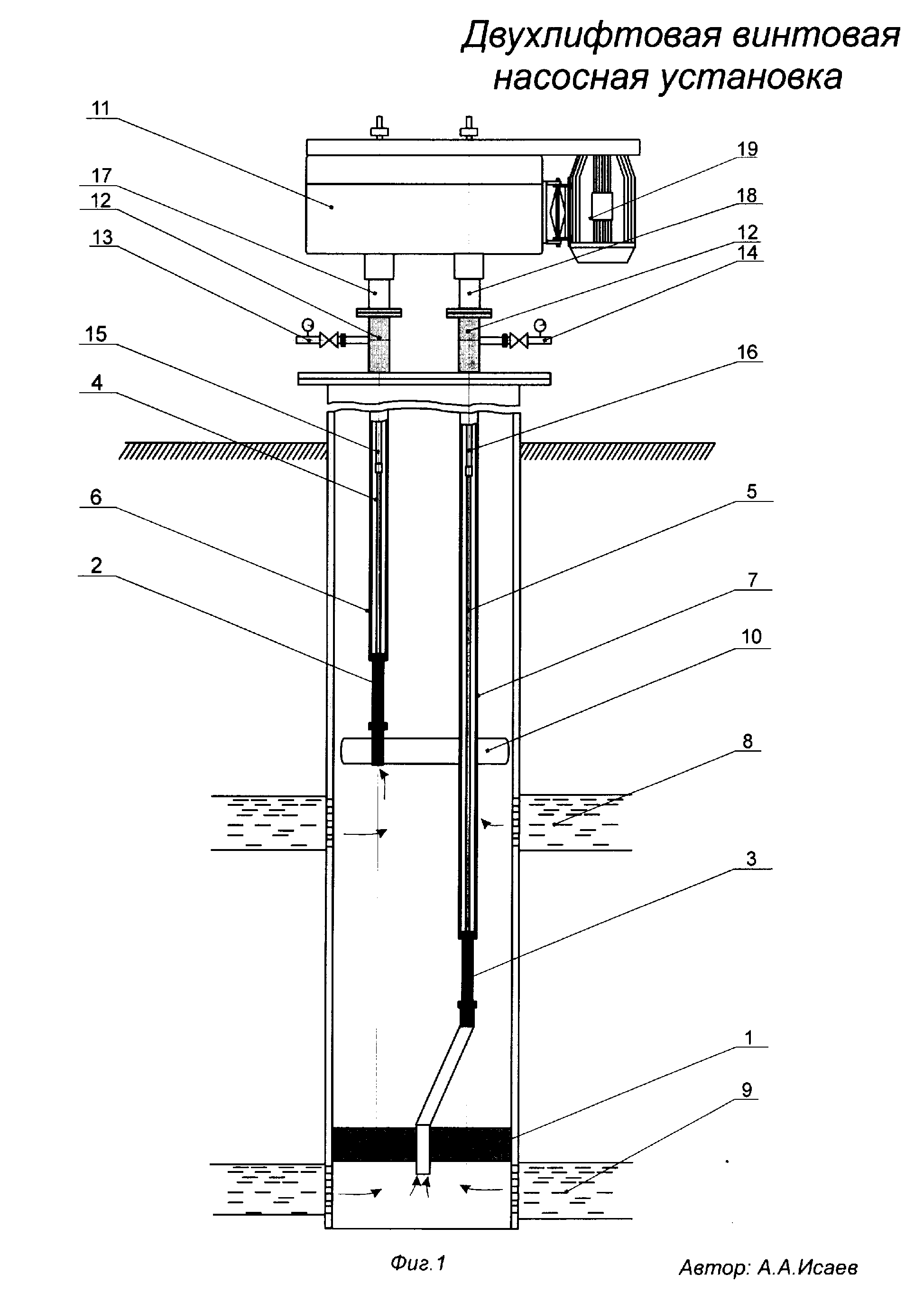
На фиг.1 представлена описываемая двухлифтовая винтовая насосная установка, общий вид.

[11]

Двухлифтовая винтовая насосная установка состоит из подземного оборудования и наземного оборудования. В состав подземного оборудования установки входит пакер 1 для разобщения продуктивных пластов, два винтовых штанговых насоса 2 и 3 с подвесками колонн насосных штанг 4 и 5, две колонны насосно-компрессорных труб (НКТ) различной длины -короткая (КК) 6 и длинная (ДК) 7 для раздельного подъема жидкости пластов 8 и 9, параллельный двухканальный якорь 10 для ограничения относительного перемещения колонн насосно-компрессорных труб (НКТ) 6 и 7. Наземная часть содержит приводную головку 11 винтовых штанговых насосов 2 и 3, двухканальную устьевую арматуру 12 и две линии 13 и 14 перекачки жидкости скважины. Приводная головка 11 устанавливается на двухканальную устьевую арматуру 12. Приводная головка 11 контролирует накопленную энергию при остановке винтовых штанговых насосов 2 и 3. Приводная головка 11 соединяется с полированными штоками 15 и 16, которые соединяются с колоннами насосных штанг 4 и 5. Герметичность

[12]

соединения приводной головки 11 и двухканальной устьевой арматуры 12 обеспечивается сальниковыми коробками 17 и 18.

[13]

Двухлифтовая винтовая насосная установка работает следующим образом.

[14]

При включении электродвигателя 19 или гидравлического двигателя через систему ремней и шкивов или зубчатых колес (на фигуре не показаны) приводной головки 11 начинают вращаться полированные штоки 15 и 16 и соединенные с ними колонны насосных штанг 4 и 5. При этом соединенные с колоннами насосных штанг 4 и 5 роторы (на фигуре не показаны) винтовых штанговых насосов 2 и 3 приводятся во вращение и в результате чего жидкость пласта 9 поднимается до устья скважины по ДК 7, а жидкость пласта 8 - по КК 6. После подъема жидкости каждого пласта 8 и 9 через двухканальную устьевую арматуру 72 поступает в отдельные две линии 13 и 14 перекачки жидкости скважины.

[15]

Преимущества двухлифтовой винтовой насосной установки:

[16]

- способность перекачивать жидкости более широкого диапазона физико-химических свойств (вязкие, содержащие газ и механические примеси);

[17]

- простота конструкции и минимальные массогабаритные показатели привода;

[18]

- отсутствие необходимости возведения фундамента;

[19]

- простота монтажа и обслуживания;

[20]

- снижение затрат на транспортные расходы;

[21]

- отсутствие возвратно-поступательного движения рабочего органа, что обеспечивает уравновешенность привода;

[22]

- постоянство нагрузок, действующих на штанги;

[23]

- равномерность потока жидкости;

[24]

- снижение энергозатрат.

[25]

Двухлифтовая винтовая насосная установка позволит использовать одну скважину как периодически, так и непрерывно, как раздельно, так и одновременно.

Как компенсировать расходы
на инновационную разработку
Похожие патенты