патент
№ RU 81564
МПК F24D19/06

ДЕКОРАТИВНАЯ РЕШЕТКА ДЛЯ РАДИАТОРОВ ОТОПЛЕНИЯ

Авторы:
Шамрай Виктор Павлович
Правообладатель:
Номер заявки
2008115040/22
Дата подачи заявки
21.04.2008
Опубликовано
20.03.2009
Страна
RU
Как управлять
интеллектуальной собственностью
Чертежи 
2
Реферат

[1]

Полезная модель относится к области теплотехники, а именно, к декоративной решетке для радиаторов систем отопления, и может быть использовано при создании средств декоративного украшения или защиты радиаторов систем водяного отопления жилых, производственных и культурно-бытовых помещений различного назначения.

[2]

Задача полезной модели - создание декоративной решетке для радиаторов систем отопления, техническим результатом при использовании которой является высокая технологичность изготовления, сборки, монтажа и демонтажа декоративной решетки, обеспечение заданного уровня теплоизлучения и конвекции тепловой мощности от поверхности радиатора системы отопления в окружающий воздух обогреваемого помещения, а также высокие экологические свойства и эстетический вид решетки.

[3]

Для решения задачи предложена декоративная решетка для радиаторов систем отопления, содержащая фронтальную металлическую декоративную пластину, обращенную к обогреваемому помещению и верхнюю металлическую декоративную пластину, выполненные под прямым углом друг к другу с возможностью размещения экрана своей верхней пластиной на верхней части радиатора, при этом фронтальная и верхняя металлические декоративные пластины выполнены перфорированными из металлического листа толщиной от 0,5 до 2,0 мм из углеродистой стали, нержавеющей стали или алюминиевого сплава, при этом перфорация фронтальной и верхней пластин решетки выполнена с использованием отверстий круглой, овальной, эллиптической, квадратной, прямоугольной, ромбовидной или звездообразной формы, а также в форме крестообразного цветка с расстоянием между внутренними стенками перфорационных отверстий от 3 до 8 мм и перемычкой между перфорационными отверстиями от 2 до 6 мм, фронтальная и верхняя металлические декоративные пластины обрамлены по своим краям выполненным из металла уголком, закрепленным сваркой по всему периметру фронтальной и верхней пластины, переход фронтальной пластины в верхнюю

[4]

пластину дополнительно выполнен скругленным с радиусом изгиба от 10 до 65 мм, соотношение ширины верхней пластины декоративной решетки к высоте ее фронтальной пластины выбрано в зависимости от высоты радиатора системы отопления в пределах 1:(1,00 - 6,5). При этом на фронтальной пластине декоративной решетки дополнительно вставлена обрамленная уголком декоративная перфорированная решетка квадратной, прямоугольной или ромбической формы. При этом решетка выполнена составной из двух или трех отдельных решеток в зависимости от длины радиатора системы отопления. При этом решетка дополнительно оснащена левой и/или правой боковыми перфорированными и/или сплошными металлическим пластинами. При этом решетка дополнительно оснащена средствами ее крепления на несущей поверхности любым известным способом. При этом в качестве углеродистой стали металлического листа решетки используют холоднокатаную сталь марки 08пс. При этом в качестве нержавеющей стали металлического листа решетки используют сталь марки 08Х18Н10. При этом в качестве алюминиевого сплава металлического листа решетки используют сплав марки Д16Т. При этом на поверхности решетки нанесены известные декоративно-защитные покрытия, например полиэфирная краска любой цветовой гаммы.

Формула изобретения

1. Декоративная решетка для радиаторов систем отопления, содержащая фронтальную металлическую декоративную пластину, обращенную к обогреваемому помещению, и верхнюю металлическую декоративную пластину, выполненные заодно под прямым углом друг к другу с возможностью размещения экрана своей верхней пластиной на верхней части радиатора, отличающаяся тем, что фронтальная и верхняя металлические декоративные пластины выполнены перфорированными из металлического листа толщиной от 0,5 до 2,0 мм из углеродистой холоднокатаной стали 08 пс, нержавеющей стали марки 08Х18Н10 или алюминиевого сплава марки Д16Т, при этом перфорация фронтальной и верхней пластин решетки выполнена с использованием отверстий круглой, овальной, эллиптической, квадратной, прямоугольной, ромбовидной или звездообразной формы, а также в форме крестообразного цветка с расстоянием между внутренними стенками перфорационных отверстий от 3 до 8 мм и перемычкой между перфорационными отверстиями от 2 до 6 мм, фронтальная и верхняя металлические декоративные пластины обрамлены по своим краям выполненным из металла уголком, закрепленным сваркой по всему периметру фронтальной и верхней пластин, переход фронтальной пластины в верхнюю пластину дополнительно выполнен скругленным с радиусом изгиба от 10 до 65 мм, соотношение ширины верхней пластины декоративной решетки к высоте ее фронтальной пластины выбрано в зависимости от высоты радиатора системы отопления в пределах 1:(1,00-6,5), при этом решетка дополнительно оснащена левой и/или правой боковыми перфорированными и/или сплошными металлическими пластинами, а также средствами ее крепления на несущей поверхности любым известным способом.

2. Декоративная решетка по п.1, отличающаяся тем, что на ее фронтальной пластине дополнительно вставлена обрамленная уголком декоративная перфорированная решетка квадратной, прямоугольной или ромбической формы.

3. Декоративная решетка по п.1, отличающаяся тем, что на ее поверхности нанесены известные декоративно-защитные покрытия, например полиэфирная краска любой цветовой гаммы.

Описание

[1]

Полезная модель относится к области теплотехники, а именно, к декоративной решетке для радиаторов систем отопления, и может быть использовано при создании средств декоративного украшения или защиты радиаторов систем водяного отопления жилых, производственных и культурно-бытовых помещений различного назначения.

[2]

Известен экран для радиаторов систем отопления, содержащий облицовку объемной формы, окружающую радиатор, по меньшей мере, с фронтальной стороны, обращенной к обогреваемому помещению, и с боковых сторон и имеющую установочные отверстия и отверстия для циркуляции воздуха (см. Патент РФ №2133919, МПК F24D 19/06,1999 г.).

[3]

Однако известный экран для радиаторов систем отопления при своем использовании имеет следующие недостатки:

[4]

- обладает высокой сложностью изготовления элементов конструкции, связанной с необходимостью использования сложного технологического оборудования,

[5]

- обладает высокой сложностью сборки и последующего монтажа на радиаторе отопления,

[6]

- не обеспечивает необходимого уровня теплопередачи от поверхности радиатора системы отопления в окружающий воздух обогреваемого помещения.

[7]

Известен экран для радиаторов систем отопления, содержащий фронтальную металлическую декоративную пластины, обращенную к обогреваемому помещению и верхнюю металлическую декоративную пластину, выполненные под прямым углом друг к другу с возможностью размещения экрана своей верхней пластиной на верхней части радиатора, (см. патент РФ №37804 на полезную модель, МПК F24D 19/06, 2004 г.).

[8]

Однако известный экран для радиаторов систем отопления при своем использовании имеет следующие недостатки:

[9]

- обладает высокой сложностью изготовления элементов конструкции, связанной с необходимостью использования сложного технологического оборудования,

[10]

- обладает высокой сложностью сборки и последующего монтажа на радиаторе отопления,

[11]

- не обеспечивает необходимого уровня теплопередачи от поверхности радиатора системы отопления в окружающий воздух обогреваемого помещения.

[12]

В основу полезной модели положена задача создания декоративной решетки для радиаторов систем отопления.

[13]

Техническим результатом при использовании предложенной декоративной решетки для радиаторов систем отопления является высокая технологичность изготовления, сборки, монтажа и демонтажа декоративной решетки, обеспечение заданного уровня теплоизлучения и конвекции тепловой мощности от поверхности радиатора системы

[14]

отопления в окружающий воздух обогреваемого помещения, а также высокие экологические свойства и эстетический вид решетки.

[15]

Технический результат достигается тем, что предложена декоративная решетка для радиаторов систем отопления, содержащая фронтальную металлическую декоративную пластину, обращенную к обогреваемому помещению и верхнюю металлическую декоративную пластину, выполненные под прямым углом друг к другу с возможностью размещения экрана своей верхней пластиной на верхней части радиатора, при этом фронтальная и верхняя металлические декоративные пластины выполнены перфорированными из металлического листа толщиной от 0,5 до 2,0 мм из углеродистой стали, нержавеющей стали или алюминиевого сплава, при этом перфорация фронтальной и верхней пластин решетки выполнена с использованием отверстий круглой, овальной, эллиптической, квадратной, прямоугольной, ромбовидной или звездообразной формы, а также в форме крестообразного цветка с расстоянием между внутренними стенками перфорационных отверстий от 3 до 8 мм и перемычкой между перфорационными отверстиями от 2 до 6 мм, фронтальная и верхняя металлические декоративные пластины обрамлены по своим краям выполненным из металла уголком, закрепленным сваркой по всему периметру фронтальной и верхней пластины, переход фронтальной пластины в верхнюю пластину дополнительно выполнен скругленным с радиусом изгиба от 10 до 65 мм, соотношение ширины верхней пластины декоративной решетки к высоте ее фронтальной пластины выбрано в зависимости от высоты радиатора системы отопления в пределах 1: (1,00 - 6,5). При этом на фронтальной пластине решетки дополнительно вставлена обрамленная

[16]

уголком декоративная перфорированная решетка квадратной, прямоугольной или ромбической формы. При этом решетка выполнена составной из двух или трех отдельных решеток в зависимости от длины радиатора системы отопления. При этом решетка дополнительно оснащена левой и/или правой боковыми перфорированными и/или сплошными металлическим пластинами. При этом решетка дополнительно оснащена средствами ее крепления на несущей поверхности любым известным способом. При этом в качестве углеродистой стали металлического листа решетки используют холоднокатаную сталь марки 08пс. При этом в качестве нержавеющей стали металлического листа решетки используют сталь марки 08Х18Н10. При этом в качестве алюминиевого сплава металлического листа решетки используют сплав марки Д16Т. При этом на поверхности решетки нанесены известные декоративно-защитные покрытия, например полиэфирная краска любой цветовой гаммы.

[17]

Среди признаков, характеризующих предложенную декоративную решетку для радиаторов систем отопления, существенными являются:

[18]

- выполнение фронтальной и верхней металлических декоративных пластин перфорированными из металлического листа толщиной от 0,5 до 2,0 мм из углеродистой стали, нержавеющей стали или алюминиевого сплава,

[19]

- выполнение перфорации фронтальной и верхней пластин решетки с использованием отверстий круглой, овальной, эллиптической, квадратной, прямоугольной, ромбовидной или звездообразной формы, а также в форме крестообразного цветка,

[20]

- выбор расстояния между внутренними стенками перфорационных отверстий от 3 до 8 мм и перемычкой между перфорационными отверстиями от 2 до 6 мм,

[21]

- обрамление фронтальной и верхней металлических декоративных пластин по своим краям выполненным из металла уголком, закрепленным сваркой по всему периметру фронтальной и верхней пластины,

[22]

- дополнительное выполнение перехода фронтальной пластины в верхнюю пластину скругленным с радиусом изгиба от 10 до 65 мм,

[23]

- выбор соотношения ширины верхней пластины декоративной решетки к высоте ее фронтальной пластины в зависимости от высоты радиатора системы отопления в пределах 1: (1,00-6,5),

[24]

- дополнительное размещение на фронтальной пластине решетки обрамленной уголком декоративной перфорированной решетки квадратной, прямоугольной или ромбической формы,

[25]

- выполнение решетки составной из двух или трех отдельных решеток в зависимости от длины радиатора системы отопления,

[26]

- дополнительное оснащение решетки левой и/или правой боковыми перфорированными и/или сплошными металлическими пластинами,

[27]

- дополнительное оснащение решетки средствами ее крепления на несущей поверхности радиатора отопления любым известным способом,

[28]

- использование в качестве углеродистой стали металлического листа решетки холоднокатаной стали марки 08 пс,

[29]

- использование в качестве нержавеющей стали металлического листа решетки стали марки 08Х18Н10,

[30]

- использование в качестве алюминиевого сплава металлического листа решетки сплава Д16Т,

[31]

- нанесение на поверхности решетки известных декоративно-защитных покрытий, например полиэфирной краски любой цветовой гаммы.

[32]

Экспериментальные исследования предложенной декоративной решетки для радиаторов систем отопления показали ее высокую эффективность. Было установлено, что предложенная декоративная решетка для радиаторов систем отопления обладает высокой технологичностью своего изготовления, сборки, монтажа и демонтажа, обеспечивает заданный уровень теплоизлучения и конвекции тепловой мощности от поверхности радиатора системы отопления в окружающий воздух обогреваемого помещения, а также обладает высокими экологическими свойствами и имеет декоративный вид высокой эстетичности.

[33]

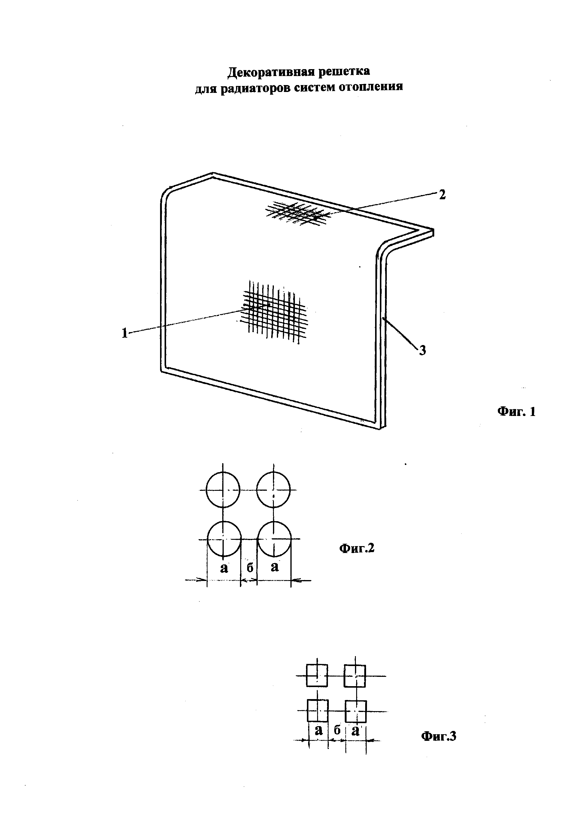
Сущность предложенного технического решения поясняется чертежом, где на фиг.1 показан общий вид предложенной декоративной решетки для радиаторов систем отопления, на фиг.2 и 3 показаны некоторые виды выполнения перфорации на фронтальной и верхней пластинах декоративной решетки, на фиг.4 представлена решетка с декоративной вставкой, а на фиг.5 фрагмент решетки с отверстиями в виде крестообразного цветка.

[34]

Предложенная декоративная решетка для радиаторов систем отопления содержит фронтальную перфорированную металлическую декоративную пластину 1, обращенную к обогреваемому помещению и верхнюю перфорированную металлическую декоративную пластину 2. Фронтальная 1 и верхняя 2 перфорированные металлические

[35]

декоративные пластины выполнены под прямым углом друг к другу или скругленными с радиусом изгиба от 10 до 65 мм из металлического листа толщиной от 0,5 до 2,0 мм из углеродистой стали, нержавеющей стали или алюминиевого сплава. При этом в качестве углеродистой стали металлического листа декоративной решетки используют холоднокатаную сталь марки 08пс, в качестве нержавеющей стали металлического листа декоративной решетки используют сталь марки 08Х18Н10, а в качестве алюминиевого сплава металлического листа декоративной решетки используют сплав марки Д16Т. Перфорация фронтальной 1 и верхней 2 перфорированных пластин декоративной решетки выполнена с использованием отверстий круглой, овальной, эллиптической, квадратной, прямоугольной, ромбовидной или звездообразной формы, а также в форме крестообразного цветка. При этом расстояние «а» между внутренними стенками перфорационных отверстий выбрано от 3 до 8 мм, а размер перемычки «б» между перфорационными отверстиями выбран от 2 до 6 мм. Фронтальная и верхняя металлические перфорированные пластины обрамлены по своим краям выполненным из металла уголком 3, закрепленным любым известным способом, например сваркой, по всему периметру фронтальной 1 и верхней 2 перфорированных пластин. Соотношение ширины верхней перфорированной пластины 2 декоративной решетки к высоте ее фронтальной перфорированной пластины 1 выбрано в зависимости от высоты радиатора системы отопления в пределах 1:(1,00 - 6,5). Длина декоративной решетки определяется практически по длине радиатора отопления. При этом декоративная решетка выполняется составной из двух или трех отдельных решеток в зависимости от

[36]

длины радиатора системы отопления. Декоративная решетка дополнительно оснащена левой и/или правой боковыми перфорированными и/или сплошными металлическим пластинами. При этом декоративная решетка дополнительно оснащена средствами ее крепления на несущей поверхности любым известным способом (на фиг.1 не показаны). На поверхности декоративной решетки нанесены известные декоративно-защитные покрытия, например полиэфирная краска любой цветовой гаммы.

[37]

Использование предложенной декоративной решетки для радиаторов систем отопления является традиционным и не требует дополнительных технических пояснений.

[38]

Практическое использование предложенной декоративной решетки для радиаторов систем отопления показало, что решетка обладает высокой технологичностью изготовления, сборки, монтажа и демонтажа декоративной решетки, обеспечивает заданный уровень теплоизлучения и конвекции тепловой мощности от поверхности радиатора системы отопления в окружающий воздух обогреваемого помещения, а также обладает высокими экологическими свойствами и имеет декоративный вид высокой эстетичности.

Как компенсировать расходы
на инновационную разработку
Похожие патенты