Полезная модель относится к сельскохозяйственному машиностроению и может использоваться при определении размерной характеристики, преимущественно клубней картофеля. Клубнемер представляет собой четырехзвенный шарнирный параллелограммный механизм, включающий стойку 1, станину 2, коромысло 3 и кривошип 4 с хвостовиком, к которым шарнирно присоединена тяга 5, заканчивающаяся пластиной 6, параллельной станине 2, причем на пластине 6 закреплена стрелка 7, параллельная станине 2, а на стойке 1, перпендикулярно станине 2 закреплена измерительная шкала 8, по которой при размещении клубня между станиной и пластиной определяется размер исследуемого клубня.
Клубнемер, включающий стойку, закрепленную перпендикулярно к станине и шарнирно соединенные со стойкой коромысло и кривошип с хвостовиком, к которым шарнирно присоединена тяга, заканчивающаяся пластиной параллельной станине, отличающийся тем, что на пластине закреплена параллельно станине стрелка, а на стойке перпендикулярно станине закреплена измерительная шкала (миллиметровая линейка), по которой стрелкой отмечается расстояние между станиной и пластиной при установке между ними клубня, то есть размер клубня.
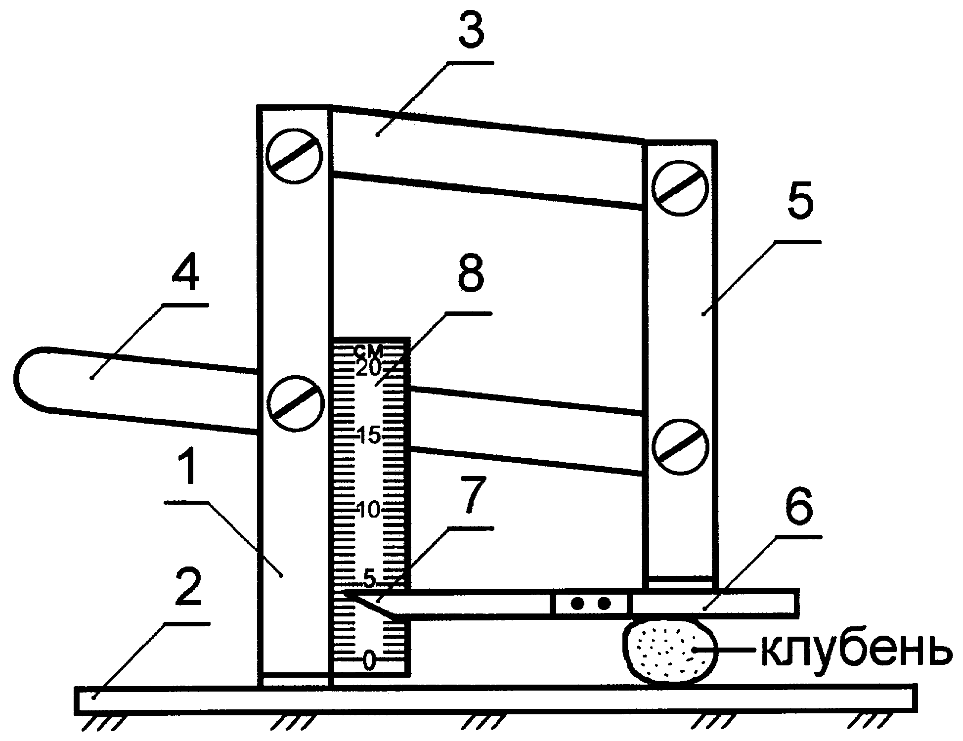
Полезная модель относится к сельскохозяйственному машиностроению и может использоваться при определении размерной характеристики, преимущественно клубней картофеля. Известно, что академик В.П.Горячкин предложил характеризовать форму клубня приближенно равную форме эллипсоида с тремя основными взаимно перпендикулярными размерами: а - длиной, b - шириной и с - толщиной / Горячкин В.П. О сортировании картофеля. Собр. Соч. в трех томах. Том третий М.: Колос. - 1965. - 384 с./. В настоящее время определение размерной характеристики клубней картофеля производится в основном с использованием штангенциркуля ШЦ-1. Недостатком применения штангенциркуля ШЦ-1 является то, что исследователю не всегда правильно удается замерить размеры «b» и «с» во взаимно перпендикулярных плоскостях, что искажает результаты размерной характеристики исследуемой партии клубней. Для более точного измерения применяют клубнемеры / например клубнемер, описанный в книге: «Результаты исследований по механизации картофелеводства» М.: НИИКХ, 1960. - 300 с./. Клубнемер представляет собой четырехзвенный механизм, имеющий стойку, закрепленную перпендикулярно на столе - основании и шарнирно соединенную с ней коромысло и кривошип с хвостовиком, к которым шарнирно присоединена тяга, заканчивающаяся пластиной параллельной станине, стрелку закрепленную на кривошипе и дугообразную измерительную шкалу, жестко закрепленную на стойке, при этом, когда клубень размещают между пластиной и станиной стрелка на дугообразной шкале отмечает зафиксированный размер клубня. Недостатком указанного клубнемера является наличие дугообразной шкалы, что приводит к не точному показанию зафиксированного размера клубня из-за криволинейности шкалы. Задачей, на решение которой направлена заявляемая полезная модель является повышение качества и точности измерения клубней. Указанная задача решается тем, что клубнемер представляет собой четырехзвенный шарнирный параллелограммный механизм, включающий стойку, закрепленную перпендикулярно к станине и шарнирно соединенные с ней коромысло и кривошип с хвостовиком, к которым шарнирно присоединена тяга, заканчивающаяся пластиной, параллельной станине, причем на пластине параллельно станине закреплена стрелка, а на стойке перпендикулярно станине закреплена измерительная шкала (миллиметровая линейка), по которой отмечается расстояние между станиной и плоскостью пластины, то есть фиксированный размер клубня. Сущность полезной модели поясняется чертежом, на котором изображена принципиальная схема клубнемера. Клубнемер представляет собой четырехзвенный шарнирный параллелограммный механизм, включающий стойку 1, закрепленную перпендикулярно к станине 2 и шарнирно соединенные со стойкой коромысло 3 и кривошип 4 с хвостовиком, к которым шарнирно присоединена тяга 5, заканчивающаяся пластиной 6, параллельной станине 2, причем на пластине 6 параллельно станине 2 закреплена стрелка 7, а на стойке 1 перпендикулярно станине 2 закреплена измерительная шкала 8 (миллиметровая линейка), по которой отмечается расстояние между станиной 2 и плоскостью пластины 6 то есть размер клубня. Клубнемер работает следующим образом: клубнемер устанавливается станиной 2 на ровную поверхность стола, исследователь нажимает на хвостовик кривошипа 4, при этом коромысло 3 и кривошип 4 поворачиваются, поднимая тягу 5 и пластину 6 со стрелкой 7. После этого исследователь помещает клубень длинной стороной параллельно станине 2, опускает пластину на клубень и стрелка 7 показывает на шкале 8 зафиксированную толщину клубня, повернув клубень на 90°, фиксируется размер ширины клубня, а при установке клубня длинной стороной вертикально фиксируется длина клубня. Таким образом, полезная модель - клубнемер позволяет повысить качество и точность при исследовании размерной характеристики клубней картофеля.