патент
№ RU 79879
МПК B66C1/48

ГРУЗОПОДЪЕМНАЯ ТРАВЕРСА ДЛЯ ТРАНСПОРТИРОВКИ МЕТАЛЛИЧЕСКИХ ЛИСТОВ

Авторы:
Зайцева Ольга Дмитриевна
Номер заявки
2008131868/22
Дата подачи заявки
05.08.2008
Опубликовано
20.01.2009
Страна
RU
Как управлять
интеллектуальной собственностью
Чертежи 
2
Реферат

[1]

Полезная модель относится к грузозахватным устройствам, используемым с механизмами для подъема, опускания или перемещения груза, в частности, к грузоподъемным устройствам для транспортировки листовых материалов.

[2]

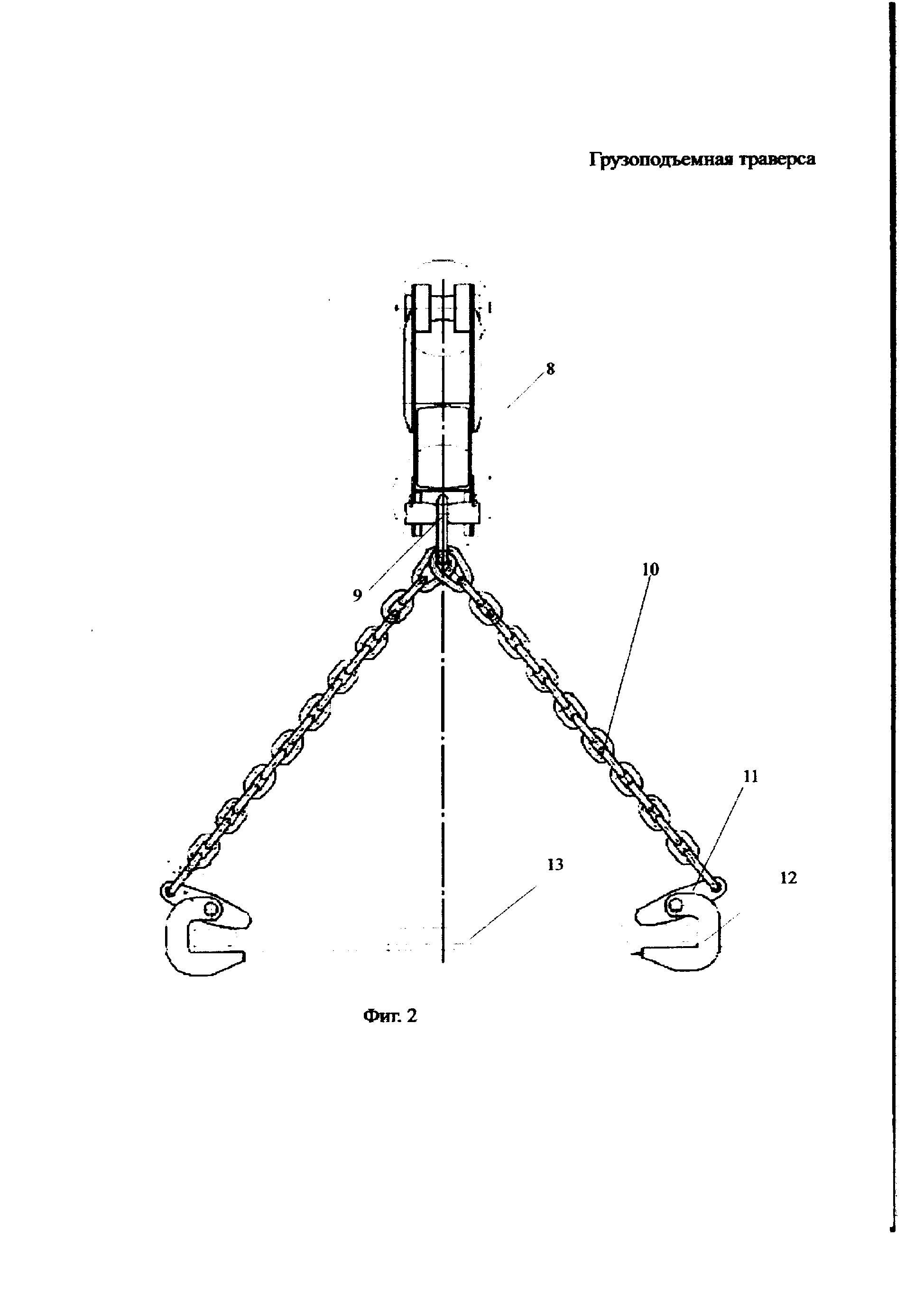
Грузоподъемная траверса содержит балку 1, на которой сверху в центре установлена проушина 2 для навешивания на крюк грузоподъемного устройства. Снизу на балке закреплены проушины 3, 4 и 5, в которых через устройство крепления 6 установлено грузозахватное приспособление, содержащее строп, состоящий из цепной ветви 7, соединенной через другой узел 8 с двумя, связанными одним кольцом 9 цепными ветвями 10, свободные концы которых заканчиваются рычагом 11, соединенным с С-образной скобой 12. 1 п.ф., 2 фиг.

Формула изобретения

Грузоподъемная траверсе, выполненная в виде балки, на которой в центре ее установлены: сверху проушина для навешивания на крюк грузоподъемного устройства, а снизу не менее трех проушин, одна из которых установлена в центре балки, а две других - на ее концах на одинаковом расстоянии от центра, при этом в каждой проушине через соединительный узел закреплено грузозахватное приспособление, содержащее строп, состоящий из цепной ветви, соединенной через другой соединительный узел с двумя связанными одним кольцом цепными ветвями, свободные концы которых заканчиваются рычагом, соединенным с возможностью поворота с верхней полкой С-образной скобы.

Описание

[1]

Полезная модель относится к грузозахватным устройствам, используемым с механизмами для подъема, опускания или перемещения груза, в частности, к грузоподъемным устройствам для транспортировки листовых материалов.

[2]

Известны грузозахватные устройства, содержащие навешиваемую тся на крюк крана траверсу, с закрепленными на ней стропами, снабженными захватным механизмом [см. SU 1377238, кл. В66С 1/48, 1990, А1 и SU 1789495, кл. В66С 1/10, 1986, А1].

[3]

Общим недостатком этих грузозахватных устройств является повреждение поверхности изделий, например, при установке и снятии захватов с транспортируемого листового материала в горизонтальном положении.

[4]

Известно грузоподъемное устройство в виде траверсы [RU 2173294, кл. В66С 1/14, 1997, С 1], содержащее грузовую балку с блоками по концам, посредством которых смонтирован подъемный строп, снабженный фиксатором,

[5]

на нижней стороне каждого блока выполнен грузовой держатель, взаимосвязанный с грузовым стропом

[6]

Это устройство довольно надежно в использовании, но при перемещении металлических листов возможна их деформация при транспортировке

[7]

Известна траверса [RU 14575, кл. В66С1/10, 1999, U1], содержащая металлоконструкцию, навешиваемую на крюк грузоподъемной машины, состоящую из трубы, проушины, смонтированной в верхней части по центру трубы, заглушек и узлов крепления стропов, расположенных по торцам трубы, а также двух опор, расположенных симметрично в нижней части трубы, и являющихся как бы продолжением проушины, стропов с установленными на концах захватами, снабженными вкладышами для захвата труб за торцы.

[8]

Такая траверса удобна для перемещения труб, но при транспортировке длинномерных металлических листов возможна деформация листов, особенно при их горизонтальном перемещении.

[9]

Задачей заявленного решения является обеспечение сохранности, транспортируемого листового материала.

[10]

Поставленная задача решается тем, что в грузоподъемной траверсе, выполненной в виде балки, на которой в центре ее установлены - сверху проушина для навешивания на крюк грузоподъемного устройства, а

[11]

снизу - не менее трех проушин, одна из которых установлена в центре балки, а две других - на ее концах на одинаковом расстоянии от центра, при этом в каждой проушина через соединительный узел закреплено грузозахватное приспособление, содержащее строп, состоящий из цепной ветви, соединенной через другой соединительный узел с двумя, связанными одним кольцом цепными ветвями, свободные концы которых заканчиваются рычагом, соединенным с возможностью поворота с верхней полкой С-образной скобы.

[12]

От известного решения заявляемая полезная модель отличается тем, что траверса дополнена третьим грузозахватным приспособлением, а также тем, грузозахватное приспособление содержит строп, состоящий из цепной ветви, соединенной через другой соединительный узел с двумя, связанными одним кольцом цепными ветвями, свободные концы которых заканчиваются рычагом, соединенным с верхней полкой С-образной скобы, что позволяет судить о соответствии критерию «новизна».

[13]

Устройство поясняется рисунками, где на фиг.1 - схематическое изображение грузоподъемной траверсы, на фиг.2. - фрагмент грузозахватного приспособления.

[14]

Грузоподъемная траверса содержит балку 1, на которой сверху в центре установлена проушина 2 для навешивания на крюк грузоподъемного устройства. Снизу на балке закреплены проушины 3, 4 и 5, в которых

[15]

через устройство крепления 6 установлено грузозахватное приспособление, содержащее строп, состоящий из цепной ветви 7, соединенной через другой узел 8 с двумя, связанными одним кольцом 9 цепными ветвями 10, свободные концы которых заканчиваются рычагом 11, соединенным с С-образной скобой 12.

[16]

Работает устройство следующим образом.

[17]

Траверса проушиной 2 одевается на крюк подъемного устройства. В зевы скоб 12 вставляется металлический лист 13, который поворотом рычагов 11 прижимается к нижней полке скобы 12. Металлический лист, таким образом крепится в 6 точках: в четырех по углам и в двух - по середине, что не позволяет ему прогибаться в средней части, а значит и деформироваться. После этого лист можно поднимать.

Как компенсировать расходы
на инновационную разработку
Похожие патенты