патент
№ RU 78414
МПК A61B1/07
Номер заявки
2008126657/22
Дата подачи заявки
30.06.2008
Опубликовано
27.11.2008
Страна
RU
Как управлять
интеллектуальной собственностью
Чертежи 
2
Реферат

[1]

Полезная модель относится к медицине и может быть использована для оториноскопии. Состоит из оптической трубки длиной 175 мм для риноскопии с углом направления зрения 0 или 30 градусов и стандартным местом присоединения волоконного световода, а также телескопической насадки, состоящей из подвижного и неподвижного корпусов, перемещаемых друг относительно друга с помощью регулировочной втулки, расположенной соосно с корпусами, которые выполнены полыми, входят один в другой и надеваются на оптическую трубку по всей ее рабочей длине, соединяются с баянетным замком для присоединения к оптической трубке через переходник, установленный на неподвижном корпусе насадки; при этом дистальный конец подвижного корпуса насадки, снабженный впускным и выпускным клапанами, заканчивается конусным наконечником для надевания ушной воронки. Оториноскоп значительно повышает диагностические возможности эндоскопии в выявлении различных заболеваний уха.

Формула изобретения

Оториноскоп, состоящий из оптической трубки длиной 175 мм для риноскопии с углом направления зрения 0 или 30° и стандартным местом присоединения волоконного световода, а также телескопической насадки, состоящей из подвижного и неподвижного корпусов, перемещаемых относительно друг друга с помощью регулировочной втулки, расположенной соосно с корпусами, которые выполнены полыми, входят один в другой и надеваются на оптическую трубку по всей ее рабочей длине, соединяются с баянетным замком для присоединения к оптической трубке через переходник, установленный на неподвижном корпусе насадки; при этом дистальный конец подвижного корпуса насадки, снабженный впускным и выпускным клапанами, заканчивается конусным наконечником для надевания ушной воронки.

Описание

[1]

Полезная модель относится к медицине и может быть использована для оториноскопии.

[2]

Для осмотра барабанной перепонки традиционно используется ушная воронка, освещение через которую подается от лобного рефлектора.

[3]

Известные преимущества дает ушная воронка Зигле [Методы эндоскопии в оториноларингологии. Пособие для студентов медицинских вузов и врачей под ред. М.С.Плужникова. Санкт-Петербург. СПбГМУ, 2005 г. С.6], снабженная увеличительной линзой, позволяющей более детально осмотреть слуховой проход и тимпанальную мембрану, а так же пневматическим отводом для баллона Политцера. При нагнетании или разрежении давления в слуховом проходе баллоном Политцера удается оценить подвижность барабанной перепонки.

[4]

Наибольшее увеличение может быть достигнуто применением микроскопической техники [Методы эндоскопии в оториноларингологии. Пособие для студентов медицинских вузов и врачей под ред. М.С.Плужникова. Санкт-Петербург. СПбГМУ, 2005 г. С.15-16]. Микроскоп позволяет не только осмотреть ухо, но и провести бимануальные манипуляции, что так же в ряде случаев имеет большое диагностическое значение.

[5]

Общим недостатком перечисленных средств отоскопии является «прямое» изображение и, следовательно, невозможность полноценного осмотра некоторых отделов барабанной перепонки, расположенных под углом, а также осмотра

[6]

барабанной полости через перфорацию. При прямом взгляде через перфорацию может быть оценена только медиальная стенка барабанной полости в проекции дефекта.

[7]

Известен отоскоп зарубежного производства, который представляет собой обычный эндоскоп с углом зрения 0 и 30 градусов, отличающийся меньшей длиной световолокна [STORZ. KARL STORZ - ENDOSKOPE], [ENDOSKOPE UND INSTRUMENTE FUR UNO 7. Ausgabe 1/2004. P.23, 24]. Этот отоскоп принят авторами за прототип.

[8]

Главный недостаток данного отоскопа отсутствие фиксации и возможность травмирования наружного слухового прохода и барабанной перепонки при проведении осмотра. Этот недостаток устраняется снабжением такого эндоскопа насадкой для укрепления ушной воронки. Но в таком случае теряется преимущество обычного эндоскопа - возможность максимального приближения дистального конца эндоскопа к перепонке. В связи с небольшой длиной, данный эндоскоп также невозможно применить для осмотра носоглотки. А осмотр глоточного устья слуховой трубы является важным эндоскопическим методом диагностики заболеваний уха. Появляется необходимость в использовании еще одного эндоскопа, обычно применяемого для эндоскопии носоглотки. Осмотр носоглоточного устья евстахиевой трубы важен, прежде всего, потому, что патологические изменения в этой зоне чаще всего оказываются первопричиной хронических заболеваний уха.

[9]

Задачей изобретения является расширение диагностических возможностей эндоскопа для отоскопии при проведении комплексной оценки состояния носоглоточного устья слуховой трубы и отоскопической картины за счет возможности регулировки глубины погружения дистального конца эндоскопа.

[10]

Указанный технический результат обеспечивается тем, что авторы предлагают оториноскоп, состоящий из оптической трубки длиной 175 мм для риноскопии с углом направления зрения 0 или 30 градусов и стандартным местом присоединения волоконного световода, а также телескопической насадки, состоящей из подвижного и неподвижного корпусов, перемещаемых друг относительно друга с помощью регулировочной втулки, расположенной соосно с корпусами, которые выполнены полыми, входят один в другой и надеваются на оптическую трубку по всей ее рабочей длине, соединяются с баянетным замком для присоединения к оптической трубке через переходник, установленный на неподвижном корпусе насадки; при этом дистальный конец подвижного корпуса

[11]

насадки, снабженный впускным и выпускным клапанами, заканчивается конусным наконечником для надевания ушной воронки.

[12]

Насадка с ушной воронкой позволяет осуществлять отоскопию безопасно, без риска повреждения слухового прохода и барабанной перепонки дистальным концом оптической трубки. Воронка служит своеобразным ограничителем продвижения корпуса оториноскопа вглубь, даже в случае непредвиденных неосторожных движений больного или врача.

[13]

При необходимости оценки подвижности барабанной перепонки изменение давления в наружном слуховом проходе осуществляют с помощью пневматического нагнетателя через впускной и выпускной клапаны. Главное преимущество предложенной нами модели состоит в возможности выдвижения дистального конца оптической трубки из воронки внутрь слухового прохода. За счет телескопического исполнения насадки может изменяться глубина погружения дистального конца оптической трубки оториноскопа в слуховой проход, к барабанной перепонке. Степень увеличения изображения прямо зависит от приближения дистального конца оптической трубки оториноскопа к барабанной перепонке. Возможна так же оценка состояния барабанной полости через перфорацию. Насадка может использоваться с оптическими трубками с различным углом направления зрения, что существенно повышает возможности пространственного представления получаемого изображения. Телескопическое исполнение насадки позволяет исследовать состояние носоглоточного устья слуховой трубы, не прибегая к другому эндоскопу.

[14]

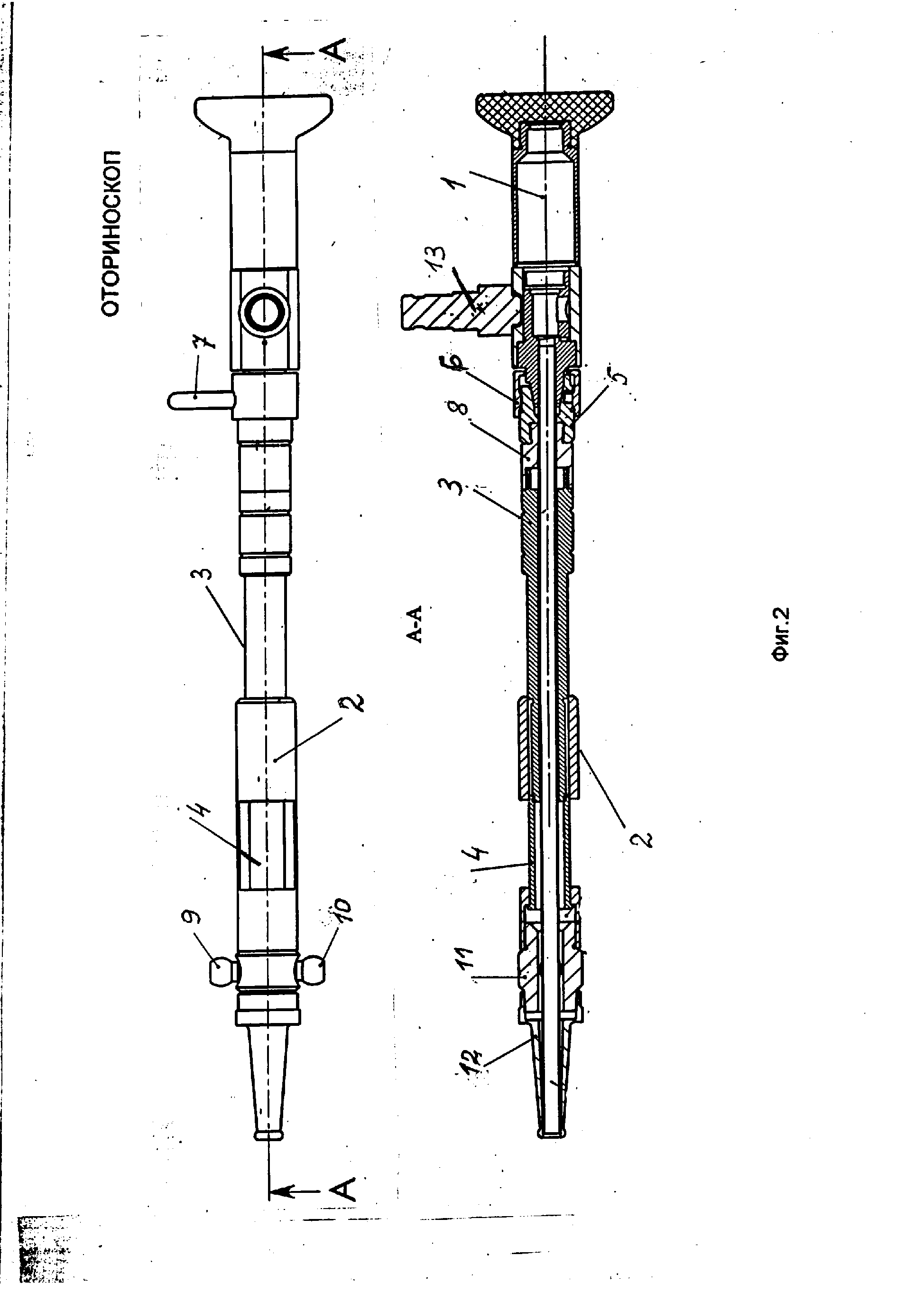
Сущность полезной модели поясняется чертежами на фиг.1-2:

[15]

На фиг.1 изображен чертеж оториноскопа с минимально выдвинутой оптической трубкой.

[16]

На фиг.2 изображен чертеж оториноскопа с максимально выдвинутой оптической трубкой.

[17]

Оториноскоп содержит оптическую трубку 1 длиной 175 мм для риноскопии с углом направления зрения 0 или 30 градусов, телескопическую насадку, состоящую из подвижного корпуса 2 и неподвижного корпуса 3, перемещаемых друг относительно друга с помощью регулировочной втулки 4, расположенной соосно с корпусами 2 и 3, которые выполнены полыми, входят один в другой и надеваются на оптическую трубку 1 по всей ее рабочей длине и соединяются с ней баянетным замком, включающим корпус 5, кольцо баянетное 6 и ручку 7. Корпус баянетного замка 5 соединяется с неподвижным корпусом насадки 3 через

[18]

переходник 8. Дистальный конец подвижного корпуса 2 насадки, снабженный впускным 9 и выпускным 10 клапанами, заканчивается конусным наконечником 11 для надевания ушной воронки 12. Место присоединения волоконного световода к оптической трубке 1 оборудовано стандартным разъемом 13.

[19]

Устройство работает следующим образом.

[20]

Для осмотра барабанной перепонки на дистальный конец подвижного корпуса 2 насадки, заканчивающийся наконечником 11, надевают ушную воронку 12 диаметром, соответствующим диаметру слухового прохода пациента, но с внутренним диаметром не менее диаметра дистального конца оптической трубки. Отоскопическая картина анализируется глазом через окуляр оптической трубки 1 либо на экране монитора в случае применения эндоскопической видеокамеры. При необходимости путем нагнетания или разрежения давления в слуховом проходе с помощью впускного клапана 9 и выпускного клапана 10 оценивают подвижность барабанной перепонки. Глубину погружения оптической трубки в слуховой проход регулируют с помощью регулировочной втулки 4. Степень увеличения изображения прямо зависит от приближения дистального конца оптической трубки 1 к барабанной перепонке. Для повышения возможности пространственного представления получаемого изображения используют оптические трубки 1 с различными углами направления поля зрения (0 или 30 градусов). Осмотр носоглоточного устья евстахиевой трубы производят, увеличивая глубину погружения оптической трубки 1 с помощью регулировочной втулки 4.

[21]

Преимущества оториноскопа подтверждаются клиническими примерами.

[22]

Пример 1: Больная Н., 35 лет обратилась с жалобами на заложенность правого уха, заложенность носа, слизистые выделения из носа, беспокоящие в течении 2х недель. С помощью оториноскопа произведен осмотр правого уха: наружный слуховой проход свободен, отделяемого нет, барабанная перепонка серого цвета втянута, при эндоскопическом исследовании полостей носа и носоглотки тем же оториноскопом: слизистая оболочка умеренно гиперемирована, нижние носовые раковины и слизистая в области устья слуховой трубы справа отечны, при пробе Вальсальвы просвет слуховой трубы открывается. Таким образом комплексный осмотр с использованием только одного инструмента позволил выявить причину предъявляемых жалоб. Правосторонний тубоотит развился на фоне отека слизистой в области устья слуховой трубы.

[23]

Пример 2. Больная М., 42 лет, обратилась с жалобами на снижение слуха на левое ухо более 1 месяца. При обычной отоскопии патологических изменений не обнаружено. По данным акуметрического и аудиологического исследований выявлено: снижение слуха на левое ухо по типу нарушения звукопроведения, при импедансобарометрии подвижность барабанной перепонки не нарушена. При использовании оториноскопа, за счет выдвижения торца эндоскопа из воронки внутрь слухового прохода, снимая кольца ручки-держателя, произведен полноценный осмотр барабанной перепонки и выявлена точечная перфорация не видимая через ушную воронку. Таким образом оториноскоп позволил произвести диагностику перфоративного отита.

[24]

Предложенная модель оториноскопа значительно повышает диагностические возможности эндоскопии в выявлении различных заболеваний уха. Комплексная оценка состояния носоглоточного устья слуховой трубы и отоскопической картины выполняется быстро, по сути одним эндоскопом и позволяет получить максимально полное представление о характере патологических изменений.

Как компенсировать расходы
на инновационную разработку
Похожие патенты